автордың кітабын онлайн тегін оқу Дождевые черви для повышения урожая
Виктор Владимирович Горбунов
Дождевые черви для повышения урожая
Предисловие
Дождевых червей видели все. Но многие ли знают, что это гаранты нашего благополучия и здоровья? В умах большинства людей до сих пор бытует невежественное представление, что черви достойны лишь презрения – их можно давить, уничтожать, травить, в лучшей случае использовать как наживку при ловле рыбы.
Дождевые (земляные) черви – крупные беспозвоночные почвенные животные – сапрофаги, питающиеся растительными остатками. В почвах нашей страны их насчитывается около 97 видов. Пропуская через свой кишечник большую массу отмерших растительных тканей, сапрофаги их разрушают, переваривают и перемешивают с землей. Им же принадлежит заслуга в переработке компостов, которые через некоторое время превращаются в сыпучий, рыхлый, состоящий почти исключительно из гранулированных экскрементов червей материал.
Это – водопрочные, водоемкие, гидрофильные структуры, которые составляют в почве наиболее ценные формы гумуса и являются центрами микробиологической активности. Дело в том, что в кишечнике червей развиваются процессы полимеризации низкомолекулярных продуктов распада органических веществ и формируются молекулы гуминовых кислот, образующие комплексные соединения с минеральными компонентами почвы, прежде всего с кальцием (гуматы кальция). Последние долго сохраняются, делают почву структурной, что предупреждает ветровую и водную эрозии.
Роясь в земле, черви поглощают не только перегной, но и бактерии, водоросли, грибы с их спорами, простейшие организмы животного мира и нематод.
Количество бактерий в почве огромно. Один грамм подзолистой почвы на целине содержит их 300–600 млн., а один грамм окультуренных черноземов и сероземов – до 3 млрд. Общая живая масса их на одном гектаре пахотного слоя составляет 5–10 т. В навозных компостах или хорошо удобренной навозом почве количество микроорганизмов еще больше. Почвенная микрофлора и микрофауна являются основным источником белкового питания дождевых червей. Она почти полностью переваривается в их пищеварительном канале и практически отсутствует в копролитах. Зато там содержится огромное количество собственной кишечной флоры.
Почвенная микрофлора и микрофлора копролитов – это не пассивная биомасса. Она содержит много самых разнообразных ферментов, антибиотиков, аминокислот, витаминов, других биологически активных веществ, которые взаимодействуют и саморегулируются, обеззараживая патогенную микрофлору. Этому способствуют не только черви, но они доминируют, составляя 50–72 % всей биомассы почвенных беспозвоночных. На одном гектаре хорошо ухоженных лугов или пастбищ общее их количество (до химизации) составляло от 1 до 200 млн. особей (в среднем около 20 млн.), вес же биомассы – от 2 до 5 т/га, что почти в 100 раз превышает биомассу наземных животных на данной площади.
Почва – это живой организм, где микроорганизмы закрепляют химические элементы в своих клетках, тогда как дождевые черви (и другие почвенные беспозвоночные) способствуют выведению этих элементов из органического вещества растений и микробной биомассы. В этом круговороте веществ они выступают как регуляторы деятельности микроорганизмов, как санитары и дезодораторы почвы, которая при этом обогащается азотом, фосфором, калием, сбалансированными между собой по природной технологии. При высокой численности червей в компостах они перерабатывают его в высокоэффективное гумусное удобрение. В копролитах червей естественных популяций содержание гумуса составляет 11–15 %, а у выведенных искусственно – до 35 %. Такое удобрение – «хлеб» для растений. Оно восстанавливает и повышает плодородие почвы лучше, чем навоз, гарантируя более весомую прибавку урожая.
Есть у червей и другая специфическая особенность, весьма полезная для сельского хозяйства. Связана она с уникальной их способностью образовывать, мелиорировать и структурировать почву, что можно проиллюстрировать следующими примерами. За лето популяция из 100 червей на одном квадратном метре прокладывает в почве километр ходов, делая ее рыхлой, водо– и воздухопроницаемой. Установлено, что червь за сутки пропускает через пищеварительный канал количество земли с органикой, равное весу своего тела. Если принять средний вес червя в 0,5 г, а количество их на 1 м2 – 100 штук (1000000 особей/га), то за сутки они пропустят 50 г на 1 м2, или 0,5 т/га. Активная деятельность червей продолжается в средней полосе 200 дней в году, значит, количество почвы, прошедшей через их пищеварительный канал, выразится массой в 10 кг/м2 (100 т/га). Если же плотность популяции червей больше, то соответственно больше и гумуса.
Какими современными средствами можно создать и переместить на поля в течение года столько гумусных удобрений? Никакие другие животные и даже агромелиоративные приемы не могут в полной мере сравниться здесь с червями. Это они, утилизируя ежегодно несметные количества органической биомассы растений и животных, создавали самые благоприятные условия для всего живущего на земле. В основном их деятельностью сотворены некогда знаменитые наши черноземы.
Из сказанного выше видно, что наличие дождевых червей является самым естественным показателем здоровья и плодородия почвы.
Важная роль дождевых червей в жизни биосферы земли признана совсем недавно. А до этого им была объявлена тотальная химическая война. Суть этой войны обусловлена возможностью резкого повышения урожайности с помощью химических удобрений. На каждый килограмм таких удобрений, внесенных в почву, стали получать по 10 кг зерновых. Так был сделан опаснейший вывод: чем больше минеральных удобрений, тем больше хлеба, овощей, кормов, мяса и молока. Придумали чудо-лозунг: «Коммунизм – это советская власть плюс электрификация, плюс химизация народного хозяйства». И началось! Чем меньше земля с годами давала прибавки урожая (в середине 80-х годов прошлого века только по 2,5 кг зерна на каждый килограмм внесенных химических удобрений), тем больше требовалось вносить химических удобрений. Было предложено удобрять поля обезвоженным аммиаком, аммиачной водой, углекислым аммонием и другими вредными для почвы химическими удобрениями – сильнейшими ядами для всего живого. Стоит заметить, что врачи-хирурги используют 0,25 %-ный раствор аммиака для дезинфекции кожи рук перед операцией. Уже этот слабый раствор практически моментально губит микрофлору и делает руки стерильными.
Такой же стерильной стала почва на полях, обработанных аммиаком. А что урожайность? Она едва окупает затраты. Положение усугубилось с началом широкого использования пестицидов. В результате мы пришли к разрушению почвы, потере гумуса, к уничтожению всего живущего в этих, искусственно созданных зонах бедствия.
Более ста лет назад основоположник научного почвоведения В. Докучаев, называя чернозем величайшей силой и богатырем, предупреждал, что этот богатырь однажды может надорваться. К сожалению, все так и случилось, как и с другими почвами, находящимися длительное время под воздействием химических удобрений, пестицидов и плуга. Страна очутилась в продовольственном кризисе, выйти из которого было крайне трудно, так как почва восстанавливается медленно – около одного сантиметра за сто лет.
Сравнительно быстро могут восстановить или повысить плодородие земли садоводы-любители и владельцы приусадебных участков. Они сегодня дают со своих небольших участков около 30 % овощей и фруктов. Могут давать и больше. Для этого нужно научиться разводить дождевых червей и готовить с их помощью гумусное удобрение из компостов. А ускорить воссоздание плодородия отравленных полей можно путем реконструкции жизни почвенного сообщества животных в почвах.
Роль дождевых червей в сельском хозяйстве
Дождевые черви живут везде, где есть отмершее органическое вещество и подходящая влажность почвы. Они различаются не только по семействам, родам и видам, но и по типам питания и месту обитания в почве.
1. Питающиеся органическим веществом на поверхности почвы, среди них:
– живущие в напочвенной подстилке из опавших листьев, отмерших трав, полуперегнивших веток;
– живущие в подстилке и верхней части почвы;
– роющие глубокие норы (до 1 м и более);
2. Питающиеся почвенным перегноем или собственно почвой, среди них:
– живущие в верхней части почвы;
– живущие на средних глубинах (20–40 см);
– роющие глубокие норы.
В естественных условиях дождевые черви ведут роющий образ жизни, выползая из почвы ночью или днем, но в сырую погоду. Так как черви населяют все ярусы почвы, следовательно, все отмершее растительное органическое вещество проходит не один раз через пищеварительный тракт червей, и при этом само превращается в плодородную почву благодаря удивительным свойствам дождевых червей.
Черви стимулируют процесс гумусообразования в 52–56 раз. Им свойственна высокая активность потребления растительных остатков (185 % к своей массе).
Почвы, населенные дождевыми червями, обычно очень обильно пронизаны их ходами. Это происходит благодаря тому, что один червь может прорыть целую систему ходов (которая может составить 4000–7000 км/га), сообщающихся друг с другом и выходящих в нескольких местах на поверхность. На одном акре земли может быть до 500 тыс. земляных червей, которые могут перерабатывать до 5 тонн и более почвы в год.
Уже само наличие ходов дождевых червей в почве изменяет ее свойства. Проделывая разветвленную сеть ходов, они увеличивают площадь соприкосновения почвы с воздухом, что обеспечивает проникновение кислорода и воды в глубокие слои почвогрунта. И то, и другое обязательно для ряда химических процессов, а главное, воздух и вода составляют непременные условия для жизни почвенных организмов, в первую очередь бактерий и грибков, деятельность которых играет выдающуюся роль в снабжении корневых систем высших растений необходимыми для них веществами. Воздух в почве является еще и источником получения азотистых соединений.
Кроме того, полости в почве различного происхождения и всевозможных размеров представляют собой основные места обитания разных групп мелких почвенных организмов, принимающих участие как в изготовлении перегноя, так и в его дальнейшей обработке. Ходы червей служат проводниками жизни в глубь почвы.
Железистые клетки дождевых червей выделяют большое количество слизистых веществ, что увеличивает легкость их скольжения по субстрату, предохраняет тело от высыхания. Кроме того, слизистые вещества покрывают стенки ходов червей внутри почвы. Вода их не размывает, а только намачивает и просачивается дальше внутрь почвы. Это придает им гораздо большую прочность по сравнению со случайными трещинами в почве.
Специальные железы внутри пищеварительного тракта червей вырабатывают известь, которая нейтрализует кислоты, образующиеся при разложении органического вещества. Переваривая его, черви перемешивают его с минеральной частью почвы, делают его реакцию нейтральной и создают копролиты.
Так, гигантские дождевые черви эйзениа магнифика (северо-западный Алтай) откладывают огромные массы копролитов только на поверхности почвы: на светло-серых лесных – до 22 т/га, на черноземных типичных – до 15 т/га. А на почвах верещатников в нижнем течении Одера (Польша) черви ежегодно откладывают 6–7 т/га копролитов, на гумусированных песчаных почвах в Саарской области (Германия) – до 24–44 т/га, а в горных саваннах Камеруна – не менее 210 т/га.
Копролиты содержат повышенное количество азота, фосфора и калия. Черви переводят эти необходимые растениям элементы из недоступной формы в доступную. Так черви создают рыхлую, насыщенную воздухом, влагой и доступными растениям питательными веществами плодородную почву. Кроме того, копролиты сбалансированы таким образом, чтобы питательные вещества высвобождались постепенно, обеспечивая тем самым на протяжении длительного периода времени питание растениям.
По наличию дождевых червей в почве, их состоянию и активности легко определить степень ее плодородия. Если при вскапывании земли в ней обнаруживаются черви ярко-красного цвета в большом количестве, активные и крупные, то это верный признак того, что почва высокоплодородна и можно рассчитывать на высокий урожай. Если же червей в почве мало, надо принимать срочные меры по внесению навоза и других органических удобрений в почву.
Чем больше червей в почве, тем больше неразрушенных копролитов, тем рыхлее и плодороднее земля. Червей же будет много, если у них будет в достаточном количестве пища. Такая проблема полностью отсутствует в лесу, где пища есть всегда.
В то же время на пашне, где почвенная структура разрушается тяжелыми машинами и питательные вещества вымываются из почвы, внесение органических удобрений, прежде всего навоза и компоста, совершенно необходимо.
Однако если вносить удобрение на пашню, где черви уничтожены человеком, это не даст желаемого эффекта, так как внесенное удобрение просто некому будет превратить в почву. При этом условия пашни особенно тяжелы для червей: посевы обрабатываются ядохимикатами, что приводит к массовой гибели дождевых червей и другой почвенной фауны. В жару незатененная перепаханная почва легко пересыхает, в результате черви гибнут от недостатка воды. Весной тракторы выворачивают землю с червями на съедение птицам, а поздней осенью вскрывают норки, когда черви уже улеглись на зимовку. Пашня, где уже не живут дождевые черви, состоит из плотных глыб, которые даже после боронования разбиваются на куски, больше напоминающие сланцы, чем комья земли. Почва внутри них плотная, слитая, без каких-либо признаков жизни.
Таким образом, деятельность червей обеспечивает важнейшие факторы почвенного плодородия – аэрацию и дренаж. Невентилированные и недренируемые почвы лишены червей и агрономически очень низкого качества.
Вермитехнология
Вермикомпостирование, вермикомпост и вермикультура – эти новые слова являются наиболее часто употребляемыми терминами среди садоводов, огородников и тех, кто занимается фермерством или рециклингом органических отходов как в промышленном масштабе, так и домашних условиях. В связи с этим возникла необходимость в обеспечении современной научной информацией об основах и аспектах использования дождевых червей в человеческой практике
Вермитехнология – система организационно-технических мероприятий по культивированию дождевых компостных червей на разных субстратах в конкретных экологических условиях, обработке и применению копролита и биомассы червей в сельском хозяйстве. Это новое направление сельскохозяйственной науки. Ее применение позволяет повышать продуктивность, экологическую устойчивость и саморегулирующую способность агроэкосистем. В мировой литературе вермитехнологию рассматривают как элемент экологически чистого сельскохозяйственного производства.
Вермитехнология имеет два направления:
– вермикультивирование, при котором размножают дождевых компостных червей или получают их биомассу;
– вермикомпостирование, главной целью которого является экологически безопасная переработка различных органических отходов и получение массы экскрементов дождевых компостных червей – копролита (биогумуса, вермикомпоста) – ценного органического удобрения.
Несмотря на важную роль дождевых червей в обеспечении почвенного плодородия, до 60-х годов прошлого века проблема искусственного их разведения, получения биогумуса и использования биомассы не ставилась перед сельскохозяйственной практикой.
Появление этого направления вызвано неблагоприятными изменениями в окружающей среде, связанными с интенсификацией производства в сельском хозяйстве и промышленности. Так, при создании крупных промышленных комплексов по производству мяса возникла проблема утилизации навозных стоков, которые являются источником загрязнения окружающей среды. Растущие города дают массу бытовых отходов, состоящих большей частью из органических веществ и так называемого канализационного ила, получаемого из отстойников городских сточных вод. Вокруг лесоперерабатывающих комплексов скапливается много опилок. Существуют и другие производства, являющиеся местами образования органических отходов, при наличии которых ухудшается качество почвы, воды и пищи.
Все больше людей сейчас понимают, что продукты питания должны быть экологически чистыми. На Западе овощи, выращенные на биогумусе, стоят намного дороже, чем полученные на навозе или минеральных удобрениях. Известно, что в Арабских Эмиратах на безжизненные пески укладывают до 50 см биогумуса, привезенного из Европы, и, используя искусственное орошение, получают до трех и более урожаев в год экологически чистой продукции, что позволило странам этого региона превратиться из стран-импортеров сельскохозяйственной продукции в страны-экспортеры. Рекордные урожаи собирают в Израиле, где также применяют биогумус.
Широкое применение минеральных удобрений, пестицидов, химической мелиорации приводит к потере почвой гумуса и снижению почвенного плодородия. Чрезмерная химизация ведет к перенасыщению сельскохозяйственных продуктов вредными для человека веществами. Негативное влияние на почву этих процессов успешно преодолевается с помощью внесения биогумуса (вермикомпоста).
Применение технологии переработки навоза и органических отходов промышленных предприятий с помощью дождевых червей поможет восстановить плодородие почв, вернуть им устойчивость к водной и ветровой эрозии.
Вермикомпост может использоваться в почвосмесях для комнатных растений и в качестве добавки для улучшения внешнего вида газонов, а также для любых сельскохозяйственных культур. Вермикомпост, смешанный с различными смесями или с почвой, представляет собой идеальную среду для проращивания растений, а также их роста практически на всех стадиях. Вермикомпост можно также применять в качестве мульчи, поскольку он не содержит семян сорняков, а также как отличный кондиционер для сада.
Развитие вермитехнологии
Еще земледельцы Древнего Египта видели в дождевых червях залог будущих урожаев. Здесь с успехом использовали переработанный дождевыми червями наносной ил реки Нил для выращивания сельскохозяйственных культур. Древние египтяне обожествляли дождевого червя, считали его святым животным и запрещали вывозить из страны.
Аристотель называл червей «кишечником земли». И это действительно так: пропуская через свой кишечник землю и растительные остатки, черви обогащают почву.
В 30-е годы XX столетия в Калифорнии были предприняты первые научные попытки по выращиванию червей промышленным способом. Они увенчались успехом лишь 20 лет спустя, когда в США были созданы первые хозяйства по культивированию червей на отходах. Выращенных червей использовали как наживку для рыбной ловли, как корм для рыб (главным образом аквариумных), комнатных животных и животных в зоопарках, а также лабораторных животных. Позднее многие из этих хозяйств перешли на товарное производство биогумуса и биомассы червя.
Именно этот этап исследований дождевого червя можно назвать началом зарождения вермикультивирования как биотехнологического направления сельскохозяйственной науки.
В настоящее время в США насчитывается около 700 хозяйств промышленного типа, в которых различные органические отходы перерабатываются в биогумус с помощью дождевых червей. В Европу красный калифорнийский дождевой червь был завезен в 1978 году незадолго до введения в США запрета на вывоз червей и их коконов.
Наибольшее распространение в европейских странах культивирование дождевых червей на отходах получило в Италии. В начале 80-х годов прошлого века в этой стране из отходов вырабатывали около 18 тысяч тонн биогумуса в год. Самое крупное из хозяйств, использующих вермикультуру, занимает площадь 16 га. Кормом служат отходы бумаги, целлюлозы, древесины, листья и стебли растений. Методом вермикомпостирования перерабатываются в компост отходы в Капри: из 60 тысяч тонн твердых бытовых отходов и 25 тысяч тонн ила сточных вод на площадке 600 м2 получают около 30 тысяч тонн вермикомпоста.
Во Франции, которая одной из первых в Европе занялась вермикультивированием и достигла при этом больших успехов, насчитывается свыше 2 тысяч хозяйств по переработке отходов этим методом. В их числе отдельные фермы и кооперативные объединения, включая и сбытовые. Вырабатываемый компост используется как для собственных нужд, так и для продажи. Отходы подвергают предварительному разложению в специальных биореакторах, а затем заселяют коконами червей. По сравнению с традиционными методами при компостировании в биореакторах ускоряется созревание компоста. В производимой продукции (вермикомпосте) отмечено повышенное содержание доступных для растений азота и фосфора.
В Тулузе черви использовались для переработки жировых отходов, содержащих большое количество воды, что исключало возможность их сжигания. Захоронение указанных отходов на специально оборудованных полигонах требует больших затрат. Были проведены опыты, показавшие, что после смешивания с илом сточных вод жировые отходы вполне пригодны для разведения червей. Однако в полученном таким образом компосте содержится большое количество тяжелых металлов, что исключает возможность его последующего применения в качестве удобрения под овощи и другие продовольственные культуры; им можно подкармливать цветы.
Есть товарные хозяйства по производству биогумуса в Великобритании, Нидерландах, ФРГ и других странах Западной Европы. Переработкой отходов на биогумус с помощью дождевых червей занимаются и в странах Восточной Европы: в Польше, Венгрии, Чехии.
В Великобритании (например, на Ротамстедтской опытной станции) ведутся интенсивные исследования в области экологии и физиологии дождевых червей, а также использования их для переработки различных отходов, в частности ила, накапливающегося на очистных сооружениях. При этом вермикомпостирование рассматривается как один из способов быстрой переработки осадка на удобрения. Создана компания, которая поставляет фермерам маточную культуру червей, дает консультации по вопросам разведения, организует сбыт вермикомпоста и корма для червей.
Накоплен большой опыт вермикультивирования в странах Азии (Япония, Китай, Филиппины, Тайвань), Южной Америки и Австралии. За рубежом созданы фирмы, которые поставляют предпринимателям оборудование и маточную культуру червей, оказывают консультативную помощь по их разведению, организуют сбыт биогумуса и корма из червей.
В России приемы земледельческой культуры, называемой теперь органическим земледелием, начали использоваться давно. В Псковской губернии, например, удобрение почвы навозом стало постоянным еще в XVII веке. Если крестьянин не вывозил навоз на поля, это воспринималось соседями как знак скорого бегства.
В наше время в Америке и Европе после бума сельскохозяйственной химизации взоры обратились к органическому земледелию, основанному на внимании к обитателям почвы и их роли в ее создании. В США идея органического земледелия широко пропагандируется, превратившись уже в подобие философской системы, включающей в себя стремление к жизни в максимально возможной гармонии с природой, внимательное отношение ко всем природным компонентам и их взаимосвязям.
Продовольственная и сельскохозяйственная организация ООН (ФАО) в 1980 году установила, что дождевые черви могут сыграть существенную роль в разрешении актуальных продовольственных проблем современного мира.
В результате перехода на новую биотехнологию в сельскохозяйственном производстве в развитых и многих развивающихся странах резко возросли производство экологически чистой сельскохозяйственной и животноводческой продукции, урожайность полей. На полях, удобряемых червекомпостом (биогумусом), урожайность зерновых достигает 56–70 ц/га (Англия, Голландия, ФРГ), а картофеля – 500–800 ц/га (Голландия, Англия). Новая биотехнология производства червекомпоста позволяет в кратчайшие сроки повысить плодородие почв в 5–10 раз и во столько же сократить посевные площади.
Что такое вермикомпост (биогумус)
Увеличение народонаселения при ограниченном пространстве суши, которым располагает человечество, неминуемо должно привести к недостатку питания, если последнему не противопоставить интенсификацию сельского хозяйства. Одним из неиспользованных резервов в этом отношении является искусственное разведение дождевых червей и контроль над их биологией.
В целом процесс переработки органических отходов с использованием дождевых червей называется вермикомпостированием, а полученный продукт – вермикомпостом, или биогумусом. Характерной чертой этой биотехнологии является возможность переработки красным калифорнийским червем широкого ассортимента органических отходов: навоз всех видов животных, помет, осадки очистных сооружений, отходы сельскохозяйственного и перерабатывающих производств.
Биогумус – это экологически чистое, живое удобрение, полезное для земли и безвредное для получаемой с нее продукции. Биогумус – основной источник энергии для процессов превращения в почве минеральных соединений, биосинтетических реакций, жизнедеятельности микроорганизмов, роста и формирования растений и т. д. Он активизирует биохимические и физиологические процессы, повышает обмен веществ и общий энергетический уровень процессов в растительном организме, способствует усиленному поступлению в него элементов питания, что сопровождается повышением урожая и улучшением его качества.
Вермикомпост содержит не только копролиты червя, но и органические отходы в различных стадиях разложения, червей в различной стадии развития (если предварительно не был просеян) и целый комплекс микроорганизмов, которые принимают активное участие в компостировании органики. Копролиты земляного червя в саду часто содержат в 5–11 раз больше азота, фосфора и калия, чем окружающая почва. Выделения кишечного тракта земляных червей, наряду с почвой, через них проходящей, делают питательные вещества более концентрированными и доступными для потребления растением, а также включают питательные микроэлементы, которые достаточно сложно произвести обычным способом. Одним словом, черви разлагают сложные органические соединения на более простые, доступные растениям.
По сравнению с традиционными компостами биогумус содержит большое количество ферментов, витаминов, почвенных антибиотиков, гормонов роста растений и других биологически активных веществ. Макро– и микроэлементный состав является важной характеристикой вермикомпоста как экологически чистого удобрения.
Химический состав биогумуса значительно варьирует, что связано с широким набором органического сырья, из которого он получается, а также от суточной температуры, влажности и других параметров вермикультивирования. Химический состав компоста и вермикомпоста, произведенных из пищевых отходов и органических отходов из сада, приведены в таблице. При этом качественные характеристики обоих субстратов, произведенных из навоза животных, гораздо лучше указанных в таблице. Кроме того, тенденция к содержанию вермикомпостом большего количества питательных микро– и макроэлементов сохраняется.
По содержанию гумуса вермикомпост в 4–8 раз превосходит навоз и компосты. В отличие от них он не обладает инертностью действия (то есть растения реагируют сразу на него) и способствует резкому повышению урожайности (до 30 %), вегетационный период у растений при этом сокращается на две-три недели. Так, например, добавление биогумуса по сравнению с перегноем увеличивает урожай свеклы на 27 %, картофеля – на 19,7 %, а в сравнении с торфом – на 15 %.
Применение биогумуса ускоряет развитие растений («биогумусный» картофель проходит все фазы развития раньше картофеля, выращенного с использованием стандартных минеральных удобрений, на 3–5 дней), усиливает их рост, способствует развитию более мощной корневой системы, формированию большего количества стеблей у картофеля, увеличению площади листовой поверхности. Это является определяющим фактором для формирования урожая.
Биогумус увеличивает продуктивность салатных культур на 30 %, свеклы – на 45 % и картофеля – более чем на 50 %. При этом улучшаются качественные показатели урожайной продукции, усиливается синтез ценных питательных веществ: сахаров, крахмала, аскорбиновой кислоты. До 50 % снижается содержание нитратов в свежей продукции.
При этом доказано, что гуматы, содержащиеся в биогумусе, нетоксичны, неканцерогенны и немутагенны. Весьма существенно отличие биогумуса от простых органических удобрений: в нем содержится большое количество водорастворимых форм азота, фосфора и калия – самых необходимых веществ. Микроэлементы тоже переходят в более подвижную форму. Содержание доступных водорастворимых фракций в биогумусе также очень высокое. Это особенно важно в первый период роста и развития растений. Однако повышенное содержание азота, если использовать биогумус в чистом виде, может отрицательно повлиять на проростки, то есть задержать и даже угнетать их развитие. Таким образом, биогумус надо смешивать с торфом либо с почвой.
Таблица
Химические характеристики компоста и вермикомпоста
Биогумус обладает также полезными технологическими свойствами: не горит, имеет оптимальные параметры порозности и водоудержания, не имеет запаха, его приятно держать в руках. Механическая структура позволяет обращаться с ним так, как с сыпучим сухим веществом. Когда биогумус попадает в почву, даже если она глинистая, плотная и тяжелого механического состава, происходит ее ускоренное структурирование. Создается благоприятный водно-воздушный режим для развития корневой системы. Продолжительность действия биогумуса – 5 лет. При этом за время хранения биогумус может даже высохнуть, но не потеряет своих качеств.
Кроме того, биогумус обладает бактерицидными свойствами и отличается биологической чистотой, так как при его использовании картофель меньше поражается проволочником и инфекционными заболеваниями. И еще одно важное качество биогумуса: он не засоряет почву. Черви способны не только перерабатывать органическое вещество, но и семена сорняков, которые находятся в навозе. В процессе вермикомпостирования семена проходят через организм червя и теряют свою всхожесть. Кроме того, в биогумусе уменьшается содержание тяжелых металлов. В процессе вермикомпостирования тяжелые металлы переходят в комплексные труднорастворимые соединения и становятся практически недоступными для растений.
Биогумус используется без ограничений как удобрение для выращивания овощных и плодовых культур, цветов, кустарников и деревьев на дачных и садовых участках, в тепличных хозяйствах, питомниках; в городском природоохранном комплексе – для озеленения парков, зон отдыха.
Применение биогумуса в сельском хозяйстве резко сокращает использование минеральных макро– и микроудобрений, снижает засоренность полей, улучшает экологическую обстановку, дает возможность получить здоровую и экологически чистую продукцию.
Вермикультура играет положительную роль в сохранении и оздоровлении окружающей среды. В Нидерландах и США широко изучают вермикультуру в качестве средства утилизации бытовых отходов, осадков сточных вод. Полученный в этом случае компост используют для удобрения почв парков, газонов, цветочных хозяйств.
В Италии переработку городских отходов на удобрения осуществляют вместе с илом сточных вод в стальном конусообразном бункере высотой 10 м, диаметром в верхней части 2 м и в нижней – 0,5 м. Отходы, заселенные червями, загружают в бункер. В верхней части бункера их перемешивают с помощью шнека для улучшения аэрации и создания благоприятных условий жизнедеятельности червей. В нижней неаэрируемой части бункера собирается готовый компост. Производительность такой установки – 1 т копролита в сутки.
Во Франции для вермикомпостирования отходов сконструирована установка в виде цилиндрической башни, состоящей из 24 пластиковых поддонов диаметром 230 см, поставленных один на другой. Поддоны заполняют субстратом и заселяют червями.
Кроме того, биогумус более конкурентоспособен по сравнению с любыми другими искусственными минеральными удобрениями, тем более с подстилочным навозом и компостом. Это удобрение не теряет рентабельности при перевозках на многие сотни километров от мест производства и поэтому может являться предметом экспорта-импорта.
Под влиянием биогумуса возрастает полевая всхожесть озимой пшеницы, кукурузы, огурцов, моркови, ускоряется развитие растений, интенсивно накапливаются зеленая масса и сухое вещество, увеличивается содержание микроэлементов, наблюдается улучшение фитосанитарного состояния посевов и посадок. Внекорневые подкормки растений жидким биогумусом (водная вытяжка) оказывают прямой «терапевтический» эффект на пораженные мучнистой росой, бурой ржавчиной, ложной мучнистой росой органы растений и дают хороший оздоровительный эффект. Кроме того, в перечисленных культурах повышается содержание белковых веществ и аскорбиновой кислоты.
Дробное внесение под овощные культуры дает более высокие прибавки урожая, особенно сильный эффект отмечен на капусте, огурцах и картофеле. Внесение биогумуса в почву под основную обработку улучшает ее физические свойства, при этом возрастает количество гумусовых веществ, усиливается деятельность нитрифицирующих и целлюлозоразрушающих бактерий.
Отличительные особенности дождевых червей
Польза и вред дождевых червей
Естественно, что столь распространенные и столь многочисленные животные, как дождевые черви, не могут не иметь отношения к человеческой культуре.
Поговорим сначала о вреде, который могут наносить дождевые черви.
В первую очередь это распространение некоторых паразитов домашних животных. Так, люмбрициды являются промежуточными хозяевами опасных паразитов свиней, червей из класса нематод – так называемых метастронгилид (три вида рода Metastrongylus). Во взрослом состоянии эти черви паразитируют в легких свиней, где часто насчитываются тысячи этих мелких червячков. В таких случаях животные заболевают, так как у них расстраивается функция дыхания и, кроме того, червями выделяются ядовитые вещества, отравляющие организм хозяев. Борьба с этим заболеванием свиней (метастронгилезом) очень трудна. Особенно опасны эти паразиты для поросят, уже начавших самостоятельно питаться. Для них заражение метастронгилидами часто оказывается гибельным.
Личинки метастронгилид развиваются в дождевых червях, которые проглатывают вместе с почвой яйца и личинок этих червей, попавших туда с мокротой и испражнениями зараженных свиней. В пищеводе червей крошечные личинки метастронгилид (длина их 0,2–0,3 мм) задерживаются и, прободая его стенку, попадают в сосуды кровеносной системы червя, где очень скоро вырастают до 0,60–0,65 мм. Однако половой зрелости они могут достигнуть только в легких свиней. В кровеносных сосудах червей личинки могут жить годами. Свиньи и поросята заражаются метастронгилидами, поедая дождевых червей. Таким образом, черви содействуют расселению этих паразитов.
Зараженность червей зависит от количества свиней, больных метастронгилезом. В очагах заболевания свиней от 20 до 90 % червей могут содержать личинок метастронгилид. По-видимому, все распространенные виды люмбрицид фауны могут быть промежуточными хозяевами метастронгилид, но наиболее легко подвергаются заражению ими виды рода Lumbricus и навозный червь.
Дождевые черви являются также промежуточными хозяевами паразитов птиц – сингамид (род Syngamus с шестью видами, в пределах – преимущественно Syngamus trachea), также относящихся к классу нематод. Сингамиды паразитируют в организме разных птиц, в том числе и домашних (курица, утка, индейка).
Цикл развития их очень сходен с таковым у метастронгилид. Они также живут в легких и в дыхательных путях своих хозяев.
Яйца этих паразитов с мокротой и пометом попадают в почву и проходят дальнейшее развитие в теле дождевых червей (Eisenia foetida, Lumbricus terrestris). Из яиц сингамид, проглоченных дождевыми червями, вылупляются подвижные личинки, которые прободают стенку кишечника, попадают в полость тела, живут там некоторое время, а потом проникают в мускулатуру и там переходят в состояние покоя, окружаясь капсулами. В таком виде они могут жить в теле червя несколько лет. Половозрелости же сингамиды достигают только в случае заглатывания их птицами. Из кишечника они пробираются в кровяное русло, с током крови разносятся по телу и, попав в легкие, задерживаются там. Паразиты вызывают у кур болезнь, называемую сингамозом. Особенно опасно это заболевание для цыплят, которые погибают при симптомах удушья, при этом они часто раскрывают рот, как бы зевая. Поэтому англичане и называют сингамоз «зевательной болезнью». Очень страдают от этих паразитов индюшата.
Главную роль в заражении дождевых червей сингамидами играют скворцы, легкие которых очень часто поражаются ими. Как известно, эти птицы прилетают ранней весной, и чаще всего роются в земле в поисках корма (их излюбленной пищей являются дождевые черви). Но они не только уничтожают червей, но и наносят им другой вред: расхаживая по земле и роясь в ней клювом, они разбрасывают яйца сингамид, которые черви проглатывают. А несколько позже, к тому времени, когда куры-наседки выведут потомство и цыплята начинают рыться клювами в земле, в теле червей их ждут уже готовые инкапсулированные личинки сингамид. Глотая таких червей, цыплята подвергаются смертельной опасности заражения этими паразитами.
Еще одним паразитом домашних и охотничьих промысловых птиц, которым они заражаются, поедая дождевых червей, является нематода Capillaria. Образ жизни ее, равно как и поражения, наносимые ею птицам (капилляриоз), в целом сходны с таковыми у сингамид.
Болезнь домашних уток – порроцекоз – вызывается нематодой порроцеком (Porrocaecum crassum), паразитирующей в тонких кишках различных видов уток (Мозговой, 1952). Массовое заражение этими паразитами может привести к непроходимости кишечника уток. Промежуточными хозяевами порроцека служат дождевые черви (Lumbricus terrestris). Личинки, вылупляющиеся из яиц, проникают в кровеносные сосуды дождевых червей, где встречаются иногда массами.
Дождевые черви служат промежуточными хозяевами для некоторых ленточных червей.
Личинки порроцека в спинном кровеносном сосуде дождевого червя (по А. А. Мозговому)
Так, в навозном черве (Eisenia foetida) нередко встречаются финны (стадия развития ленточных глистов в виде пузырька) цепеня Amoebotaenia sphenoides, паразитирующего в половозрелом состоянии в кишечнике домашних кур, не принося им особенного вреда.
А большой красный червь (Lumbricus terrestris) и длинная аллолобофора (Allolobophora longa) служат промежуточными хозяевами для ленточного червя Dilepis undula, попавшего из кишечника разных птиц (вороны, грачи, скворцы, дрозды и др.).
Следует отметить, что хотя некоторый вред, приносимый человеку дождевыми червями, как промежуточными хозяевами паразитов свиней и птиц, несомненен, но все меры борьбы с этими заболеваниями домашних животных должны быть направлены на уничтожение паразитов внутри животных, а также на охрану пастбищ от заражения паразитами. Борьба с метастронгилидами, сингамидами и другими перечисленными выше паразитами имеет значение и как освобождение от них численности дождевых червей, что не может в конечном счете благоприятно не сказаться на растительности. Охрана пастбищ от сингамид имеет значение и как защита страдающих от них диких птиц, так как червей едят преимущественно полезные птицы, уничтожающие вредных насекомых. В итоге, как ни полезна почвообразовательная деятельность дождевых червей, все же вполне допустимо пожертвовать некоторым их количеством для сохранения здоровья птиц, особенно скворцов.
Не исключена возможность, что дождевые черви могут приносить вред очень молодым растениям, корневая система которых может пострадать в результате перекапывания червями подземных ходов возле поверхности. Например, некоторые кустики только что пикированной цветочной или огородной рассады, а также отдельные всходы после посева и посадки семян могут быть повреждены или уничтожены проползающими люмбрицидами. Но в целом вред этого рода ничтожен.
Что же касается вреда, якобы приносимого червями хорошо укоренившимся растениям, – научных данных по этому вопросу не имеется (Heuschen, 1956). Указания А. О. Лаврентьева (1958) на вред, наносимый дождевыми червями огородным культурам и садам, нуждаются в проверке. Например, бытует мнение, что трава под деревьями не растет потому, что там водится много дождевых червей. Однако это связано с совершенно иными причинами. Вымышленным является также мнение о вреде, наносимом люмбрицидами грядковым культурам. Изобретено даже несколько способов для уничтожения червей в садах. Дарвин пишет об «уничтожении дождевых червей садовниками» как о регулярном бытовом явлении: «Когда садовники намереваются уничтожать дождевых червей, то прежде всего они сгребают с поверхности земли упомянутые куски извержений для того, чтобы раствор негашеной извести получил возможность свободно проникнуть в ходы червей». Дарвин ссылается при этом на изданные инструкции по уничтожению дождевых червей. Эти инструкции издавались за границей еще совсем недавно.
Департамент сельского хозяйства США опубликовал популярную брошюру в серии «Бюллетень фермера» под названием «Дождевые черви как наш бич и прочие их свойства» (Walton, 1928), в которой описываются способы борьбы с этими «вредителями» при помощи поливки земли раствором извести, табачным настоем и даже сулемой. Правда, там в качестве вреда, наносимого дождевыми червями, на первом месте приводятся неровности, возникающие на площадках для игры в гольф, на местах кучек извержений червей, а далее следуют сомнительные данные о повреждении цветов на клумбах. И тем более странно, что Министерство сельского хозяйства в Америке нашло возможным пропагандировать среди фермеров уничтожение дождевых червей, т. е. проведение борьбы с их лучшими союзниками в обработке почв!
Методы уничтожения дождевых червей можно найти также в брошюрах по культуре комнатных растений (см., например, Шипчинский, 1949). В горшечных культурах крупные черви могут приносить некоторый вред растениям; однако в общем, как показали многочисленные опыты, черви оказывали положительное влияние на рост растений и в этих условиях.
Пастер указывал на возможность разнесения спор бактерий сибирской язвы дождевыми червями с трупов животных, павших от этой болезни и зарытых в землю.
Такое мнение – образец ошибок, в которые иногда впадают даже великие люди. Пастер думал, что люмбрициды питаются трупами. Разумеется, возможность попадания спор бактерий сибирской язвы в кишечник червя после того, как трупы окончательно разложатся и превратятся в гумус почвы, не исключена, но трудно назвать животных, которые имели бы меньшее отношение к разделке трупов, попавших в почву, нежели дождевые черви. Этой работой занято множество совсем иных животных. Но и им в цивилизованных странах не удается разносить бактерии сибирской язвы, так как повсюду закапывание в землю трупов животных, павших от этой болезни, производится только после дезинфекции.
Более серьезны данные о значении дождевых червей в распространении эпидемий вирусного гриппа. После эпидемии этого заболевания в 1918 г. в США возникла гриппозная эпидемия у свиней. Полагают, что свиньи получают вирус от дождевых червей, в теле которых действительно он был обнаружен в межэпидемические периоды (Гражуль, 1957). Однако этот вопрос нуждается в дальнейшем исследовании.
Говоря о положительном значении дождевых червей для человека, прежде всего следует отметить, что использование дождевых червей в быту и народной медицине известно давно. В Новой Зеландии, например, туземцы раньше употребляли их в пищу. Использовались черви и как лекарственное средство в народной медицине в разных странах, однако рациональных оснований для применения их с целью лечения не имеется.
Общеизвестно использование дождевых червей в качестве приманки для рыбной ловли. По-видимому, ужение рыбы на червя представляет один из древнейших способов рыбной ловли. В XV в. в Англии появилось руководство по рыбной ловле на удочку. В настоящее время ловля рыбы на крючки с приманкой имеет не только спортивное, но и серьезное промысловое значение. На Средней Волге, например, ловля переметом занимает важное место в промысловой добыче рыбы. При этом лучшей приманкой считается большой красный червь (Lumbricus terrestris).
Все народные названия дождевые черви получили от рыбаков. Особенно многочисленны они в Англии, где очень развита спортивная ловля рыбы на удочку. Английский исследователь Фрэнд (Friend, 1924) приводит 53 народных названия дождевых червей! Это не означает, однако, что английские рыбаки различают 53 вида люмбрицид. В народной номенклатуре один и тот же вид может иметь много разных наименований, и, наоборот, разные виды носят одно и то же наименование. Некоторые из названий очень любопытны: например, «беличий хвост» (Lumbricus terrestris), «лососевый червь» (Lumbricus rubellus) и др.
Черви являются кормом для аквариумных рыб и комнатных птиц. Поэтому в Западной Европе и в США дождевые черви – обычный товар на рынке. Появились промышленники, занимающиеся сбором и разведением дождевых червей. Так, например, город Ноттингам (Англия) издавна известен как центр промышленности и оптовой торговли дождевыми червями. В последнее время, когда уже научно доказано значение дождевых червей в почвообразовании, вопрос о их разведении стал привлекать серьезное внимание.
Не так давно дождевыми червями начали интересоваться птицеводы. На многих птицефермах стали применять кормление птиц дождевыми червями и разводить их с этой целью. По-видимому, это начинание имеет серьезные хозяйственные перспективы. Следует только иметь в виду, что, прежде чем давать червей в корм птицам, необходимо проверять их на наличие в них сингамид.
Наконец, получены современные данные о возможной роли дождевых червей в самоочистке почв от загрязнения радиоактивными изотопами.
Как известно, такое загрязнение может происходить в результате неосторожного обращения с радиоактивными веществами при мирном их использовании. Растения, выросшие на такой почве, становятся опасными для человека и животных, так как питание ими может иметь грозное последствие в виде лучевой болезни; хозяйственное же использование такой почвы становится невозможным.
Искусственные приемы очистки почв неизвестны, но автоматическая их очистка происходит путем промывания дождевой водой, путем эрозии и, главное, путем накопления радиоактивных веществ в теле растений, произрастающих на загрязненных почвах. Опыты показали, что поглощение радиоактивных веществ растениями совершается несравненно интенсивнее в почвах с дождевыми червями, нежели в почвах, лишенных червей (Передельский, 1958; Передельский и др., 1958).
И все же приведенные выше примеры практического значения дождевых червей говорят о весьма небольшой его ценности по сравнению с участием их в почвообразовании.
Строение и основные функции дождевых червей
Строение тела – основа знаний о животных. Хотим ли мы разобраться в разнообразии форм интересующей нас группы животных или ознакомиться с образом их жизни, связью со средой обитания, или подойти к решению тех или иных практических вопросов, связанных с этими животными, – вопрос о строении тела является основной предпосылкой для решения любых других. В частности, что касается дождевых червей, то для того, чтобы определить род и вид какого-либо их представителя, недостаточно знать его наружные признаки, а необходимо путем вскрытия установить ряд особенностей строения внутренних органов.
Lumbricus terrestris (вид сбоку): 1 – головная лопасть; 2 – поясок; 3 – мужское половое отверстие
В теле дождевого червя можно отличить передний (или головной) конец тела, более толстый, с более сильной мускулатурой и обычно темнее окрашенный, и задний (или хвостовой), более тонкий и более бледный. Задний конец червя часто бывает плоским. На головном конце тела помещается рот, на хвостовом – заднепроходное отверстие. Хорошо отличаются друг от друга также спинная сторона, более выпуклая и обычно более темная, и брюшная – более светлая и более плоская. У червей, законсервированных в спирту или формалине, брюшная сторона может быть вогнутой местами или по всей длине.
Все тело дождевого червя поделено поперечными перетяжками на отдельные участки, которые называются члениками, или сегментами. Эта кольчатость, или сегментация, – ведущая черта их организации: каждый из сегментов в принципе имеет одно и то же строение и содержит в основном весь комплекс органов, свойственных этим животным. В передней части тела сегменты более крупные, по направлению кзади их размер постепенно убывает.
Число сегментов у обычных видов варьирует в пределах от 90 до 300; оно подвержено значительным колебаниям у разных экземпляров одного и того же вида, но с возрастом в отличие от многих их водных родичей не меняется. Только у некоторых тропических видов число сегментов достигает 600.
Внимательно приглядевшись к поверхности тела, можно увидеть, что каждый сегмент подразделен на три части двумя неглубокими бороздками. Это так называемая вторичная кольчатость, которая также отражает некоторые черты внутренней организации каждого сегмента. Сегменты тела нумеруются, причем первым сегментом считается головной.
Формы головной лопасти: а – эпилобическая; б – танилобическая
У дождевых червей головной сегмент может быть двоякого рода: либо головная лопасть, вдаваясь на спинной стороне в область первого сегмента, отделена от него поперечной бороздкой, либо она доходит до борозды между первым и вторым сегментами. В первом случае головной сегмент называют эпилобическим, во втором – танилобическим. Эти различия в форме головной лопасти имеют важное значение при определении видов червей. Головная лопасть – орган осязания и обоняния; ею червь исследует встречающиеся на его пути предметы.
В передней части тела у взрослых особей имеется так называемый поясок, Х– утолщение, охватывающее от 5 до 12 сегментов, обычно иначе окрашенное по сравнению с остальной частью тела. Кожные покровы в области пояска содержат большое количество желез, выделяющих питательное вещество для яиц при откладке яйцевых коконов. Поэтому в период размножения поясок выглядит сильно набухшим, а тогда, когда откладки коконов нет, область пояска отличается от соседних участков только цветом и иным характером поверхности тела. Форма пояска может быть кольцевой, если он развит одинаково сильно со всех сторон, или седлообразной, если с брюшной стороны он мало развит.
По бокам брюшной стороны пояска находятся удлиненные утолщения, которые называют валиками зрелости. У некоторых видов эти валики заменены несколькими парами бугорков зрелости. Форма, длина, цвет и расположение пояска, валиков и бугорков служат существенными видовыми признаками дождевых червей.
Передний отдел тела дождевого червя Lumbricus terrestris со спинной стороны: 1 – спинные поры; 2 – поясок
По всей длине тела червя можно заметить маленькие щетинки, которые хорошо видны через лупу. Они находятся на всех сегментах тела, кроме первого. У дождевых червей фауны щетинки расположены по восемь на каждом сегменте, попарно или поодиночке. Щетинки образуют с каждой стороны тела червя по четыре продольных ряда, которые принято обозначать буквами латинского алфавита – а, b, с, d. Их расположение имеет большое значение при определении червей. Ряды щетинок а и b, с и d обычно сближены попарно. Степень их сближения у разных видов различна. При определении червей обязательно учитывается также отношение расстояний между рядами щетинок. Эти расстояния обозначаются буквами аа, ab, be, cd и dd (как принято обозначать отрезки линий в геометрии). Имеет значение также отношение расстояний между щетинками к величине наружного контура поперечного разреза через червя.
Щетинки – важные органы движения: червь может зацепляться ими за частицы грунта или отталкиваться от них при передвижении в почвенных норках и на поверхности земли. Можно также убедиться в их наличии, проведя пальцем вдоль брюшной стороны тела от хвостового конца к головному. Если живого червя поместить на лист бумаги, то будет хорошо слышен характерный шорох при его перемещении, обусловленный трением твердых щетинок. На некоторых сегментах щетинки видоизменены в особые половые щетинки, имеющие значение при спаривании червей.
На брюшной стороне тела, впереди от пояска, помещаются половые отверстия. Сюда относится пара мужских половых пор, обычно находящихся на возвышениях – так называемых железистых подушках, и пара женских половых пор, снаружи плохо различимых.
Схема типов расположения щетинок на поперечных разрезах через сегменты: 1 – щетинки не сближены попарно; 2 – щетинки слабо сближены попарно; 3 – щетинки сильно сближены попарно; а – брюшные щетинки; b – брюшно-боковые; с – спинно-боковые; d – спинные; аа – брюшной интервал; ab – брюшно-боковой; bс – боковой; cd – спинно-боковой; dd – спинной
Кроме того, у большинства видов имеется 2–3 пары пор семеприемников. О значении всех этих отверстий будет сказано далее.
На спинной стороне у консервированных червей хорошо видны в межсегментных бороздах спинные поры, передняя граница расположения которых имеет значение при определении видов червей.
Цвет тела дождевых червей зависит, с одной стороны, от цвета их крови, с другой – от кожных пигментов. Следует строго различать окраску тела червей, о которой можно говорить только в отношении живых особей и которая зависит от комбинации кожного пигмента и цвета крови, от пигментации кожи, которая обусловлена только наличием пигментов. Черви, лишенные пигмента, имеют при жизни розовую или красную окраску тела, а в консервированном состоянии становятся белыми или сероватыми; пигментированные же виды могут быть красных, бурых, коричневых, желтых и синих тонов.
Длина тела дождевых червей колеблется от 2 до 30 см при толщине от 2 до 12 мм. В тропических странах есть виды, достигающие в длину 3 м. Основная масса червей, населяющих почвы во всем мире, представлена видами, имеющими в длину 5–20 см.
Все дальнейшее изложение относится к дождевым червям семейства люмбрицид (Lumbricidae). Черви других семейств (если не считать ботанических садов, куда черви иногда заносятся вместе с тропическими растениями) могут встретиться только в Уссурийском крае, Средней Азии и в южной части Черноморского побережья Кавказа.
Строение кишечника и функция пищеварения
Рот, находящийся на переднем конце тела, ведет в небольшую ротовую полость со складчатыми стенками, за которой следует мускулистая глотка. Благодаря тому, что глотка соединена сложным переплетом мышечных волокон со стенкой тела, она не только совершает глотательные движения и прессует заглатываемые вещества, но может также выворачиваться наружу через широко открытый рот. Эти движения допускают захватывание таких предметов, как листья, камешки и пр., употребляемых для питания или для других целей.
В толще глоточной стенки и за ее пределами находятся многочисленные глоточные железы, протоки которых открываются непосредственно в глотку или в особый карман в спинной утолщенной части ее стенки. Глоточные железы выделяют слизистую жидкость, обволакивающую заглатываемые пищевые частицы. В этом отношении их функция сходна с деятельностью слюнных желез у других животных. Но, кроме того, глоточные железы вырабатывают вещество, переваривающее белки; оно активно в щелочной среде и сходно по своему действию с ферментом, поступающим в кишечник из поджелудочной железы у позвоночных. Таким образом, химическая обработка белков начинается у дождевых червей уже в ротовой полости, что, вероятно, связано с необходимостью возможно более полного извлечения белковых веществ из пищи (как правило, исключительно бедной этими веществами).
Схема строения переднего конца тела дождевого червя: 1 – надглоточный ганглий; 2 – рот; 3 – глотка; 4 – брюшная нервная цепочка: 5 – пищевод с отверстиями известковых желез в 9–11-м и 13 сегментах; 6 – зоб; 7 – мышечный желудок; 8 – средняя кишка; 9 – брюшной; 10 – спинной сосуд; 11 – кожный эпителий; 12 – мышцы стенки тела; 13 – места ответвлений кольцевых сосудов от спинного сосуда в 7–11 сегментах; 14 – глоточный карман (половая система не изображена)
Глотка переходит в пищевод. Это довольно узкая цилиндрическая трубка, стенки которой обладают хорошо развитой мускулатурой. По бокам пищевода имеются 1–3 пары боковых карманов – так называемые известковые железы. У некоторых видов они расположены в толще стенки пищевода и потому снаружи незаметны. Эти железы называются известковыми вследствие того, что в них под микроскопом находят кристаллы углекислой извести. То, что эти железы вырабатывают известь, доказывает факт значительного обогащения ею пищевых масс при прохождении их через кишечник (количество углекислой извести в содержимом кишечника может возрастать от 0,8 до 1,3–1,8 %). Предполагалось, что роль этих желез состоит в нейтрализации кислот, содержащихся в заглатываемом грунте. Это предположение основано на хорошем соответствии с указанной выше необходимостью наличия щелочной среды для деятельности пищеварительных ферментов. Однако вряд ли этим исчерпывается роль известковых желез. Относительно их функции существует много других предположений, притом самых разнообразных; уже это показывает, что функцию известковых желез приходится считать невыясненной.
За пищеводом находится объемистое расширение кишечной трубки – так называемый зоб, занимающий 2–3 сегмента. В нем накапливается заглоченная пища, которая оттуда порциями поступает в следующие отделы кишечника. При отсутствии такого приспособления организм не успевал бы справиться с переработкой поступающего материала. Зоб имеет довольно тонкие эластичные стенки, благодаря чему он хорошо растягивается.
Непосредственно сзади зоба находится другое расширение кишечной трубки – мышечный желудок. Внутри он выстлан эпителием с толстой кутикулой, а стенка его состоит из кольцевого и продольного слоев мускулатуры, причем особенно сильно развит внутренний кольцевой слой, имеющий «перистую» структуру, наподобие продольного слоя мускулатуры стенки тела. Задача желудка – растирание пищи; в этом процессе главную роль играет, так же как у кур и других зерноядных птиц, трение друг о друга минеральных частиц грунта, между которыми находятся органические пищевые вещества. Дарвин наблюдал, что песчинки и кусочки кирпича, прошедшие через кишечник дождевых червей, принимают вместо угловатой окатанную форму. Имеются новые наблюдения и опыты, доказывающие значение минеральных частиц грунта для перетирания пищи в кишечнике червей; при их отсутствии (например, если поместить червей в торф) они голодают, несмотря на обильный корм в виде листьев.
За мышечным желудком следует средняя кишка, которая идет до заднего конца тела.
Поперечный разрез через спинную часть кишечника дождевого червя с тифлозолом (из Штольте): 1 – хлорагогенная ткань; 2 – продольная мускулатура кишечника; 3 – кольцевая мускулатура кишечника; 4 – эпителий кишечника; 5 – кровеносный сосуд; 6 – мелкие кровеносные сосуды; 7 – спинной кровеносный сосуд; 8 – кольцевые сосуды
По всей длине средней кишки тянется глубокая спинная складка, или тифлозол, благодаря которой на поперечных разрезах контур полости кишечника принимает подковообразные очертания. Физиологическое значение этой своеобразной черты организации кишечника ясно: таким путем достигается увеличение всасывающей поверхности кишечника.
Стенка кишечника содержит большое количество железистых клеток, вырабатывающих слизистый секрет и пищеварительные ферменты. Среди последних, как и в глотке, имеются ферменты, переваривающие белки и, кроме того, ферменты, превращающие крахмал в сахара (мальтозу и глюкозу); в кишечнике происходит также превращение жиров в растворимое состояние.
Таким образом, у червей, как и у позвоночных, питательные вещества в виде растворов всасываются стенкой кишечника. Продвижение пищи совершается действием мускулатуры кишечника, которая состоит из внутреннего кольцевого и наружного продольного слоев мышц (следует обратить внимание на то, что расположение слоев здесь обратное таковому в стенке тела). У некоторых видов имеется несколько слоев мышц в стенке кишечника.
На последних 10–15 сегментах тела кишечник лишен спинной складки, а его эпителий приобретает реснички. Эта часть называется задней кишкой. Всасывания в ней уже не происходит, а только совершается процесс формирования комочков испражнений, т. е. тех копролитов, которые имеют столь важное значение для почвенной структуры. На последнем сегменте тела кишечник открывается наружу заднепроходным отверстием, имеющим вид вертикальной щели.
Интересен спор двух знаменитых натуралистов прошлого века по вопросу о пище дождевых червей – Этьена Клапареда (Франция), превосходного знатока беспозвоночных (в частности, кольчатых червей), и Чарльза Дарвина (Англия). Клапаред нашел в разных частях кишечника дождевых червей остатки измельченных листьев, перемешанных с землей, и на этом основании полагал, что землю черви заглатывают только с той целью, чтобы заглоченные ими растительные остатки лучше растирались. Дарвин, не отрицая того, что черви питаются опавшими листьями и другими растительными остатками, в то же время утверждал, что и заглатываемая земля используется ими для питания. Он наблюдал, что обильно заселены червями и те места, где они могут питаться только землей, богатой органическими веществами (например, аккуратно выметаемые дворы). Все дальнейшие исследования подтвердили правильность наблюдений Дарвина.
Большое значение имеет количество земли, поглощаемой и перерабатываемой в кишечнике дождевых червей. Оно оказалось огромным: взвешиванием копролитов установлено, что черви, населяющие культурные почвы, пропускают через кишечник за 24 часа количество грунта, равное весу их тела.
Следует также упомянуть о характерной ткани, облекающей снаружи всю среднюю кишку и спинной кровеносный сосуд и заполняющей спинную складку кишечника. При вскрытии живого или только что убитого дождевого червя привлекают внимание желтый цвет и рыхлая бархатистая поверхность средней кишки, на которой контрастно выступают красные кровеносные сосуды. Эта ткань называется хлорагогенной, или желтой. Связь ее с кишечником чисто топографическая: она – измененная часть выстилки полости тела (перитонеального эпителия), прилегающая к кишечнику.
Желтая ткань состоит из крупных клеток, плазма которых заполнена каплями веществ, имеющих желтоватую окраску. Происхождение и природа этого вещества, а вместе с тем и функция самой ткани, не вполне ясны. Некоторые исследователи считают эту ткань местом накопления запасных питательных материалов, наподобие жировой ткани позвоночных. И действительно, включения клеток желтой ткани содержат жир, белок и вещество, сходное с гликогеном (животным крахмалом). В то же время известно, что эта ткань содержит большое количество мочевой кислоты, что инородные вещества, введенные в виде растворов в полость тела (краски), скапливаются в клетках хлорагогенной ткани, и что конечные азотистые продукты обмена веществ, подлежащие выведению из организма, обычно имеют желтый или бурый цвет. Все это заставляет думать о выделительной функции этой ткани.
Очень вероятно, что наряду с накапливанием запасных питательных веществ клетки желтой ткани имеют способность извлекать из циркулирующей в ней крови и жидкости, заполняющей полость тела, отбросы, образующиеся в процессе обмена веществ. Попадая внутрь клеток желтой ткани, эти вещества выключаются из тока крови и делаются безвредными. Постепенно накапливаясь в клетках этой ткани, они могут длительно там оставаться. Но могут и выделяться из организма, так как клетки желтой ткани часто отрываются и попадают в полость тела, а оттуда выводятся наружу вместе с выбрызгиванием полостной жидкости через спинные поры.
Органы выделения
Функция выделения выполняется у дождевых червей (как у всех кольчецов) трубчатыми органами, расположенными попарно в каждом сегменте, кроме самых передних. Эти органы называются нефридиями, что означает по-гречески «орган, подобный почке». Нефридии расположены в полости тела по бокам от кишечника. Каждый из них представляет собой извитую трубку, начинающуюся внутри тела отверстием в полость тела, расположенным на головчатом расширении, клетки которого снабжены ресничками. Это расширение называют, по аналогии со сходными образованиями у более примитивных кольчецов, воронкой. Почти непосредственно за воронкой нефридий прободает межсегментную перегородку и проникает в следующий сегмент тела.
Там он сначала образует сильно извитую тонкую трубку, которая переходит в более широкую среднюю часть нефридия, снабженную ресничками. Затем нефридий, делая несколько петель, переходит в выводную часть, которая кончается на брюшной стороне тела наружным отверстием, или нефридиальной порой. Снаружи ее найти очень трудно, так как края ее всегда плотно сомкнуты. Недалеко от нефридиальной поры имеется расширение нефридиальной трубки, представляющее собой нечто вроде мочевого пузыря. Нефридии снабжены очень богатой сетью кровеносных сосудов. Кровь, выходящая из нефридия, поступает в поперечный, а из него – в спинной сосуд.
Строение нефридия дождевого червя: 1 – воронка; 2 – диссепимент; 3 – извитая часть трубки нефридия; 4 – ресничная часть трубки нефридия; 5 – «мочевой пузырь»; 6 – пора нефридия; 7 – наружная петля
Следует заметить, что у одного из дождевых червей (Allolobophora autipae) нефридиальные трубки не открываются независимыми друг от друга порами, а их наружные части впадают в продольные выделительные каналы, которые проходят справа и слева вдоль всего тела и на заднем его конце впадают в кишечник недалеко от анального отверстия. Таким образом, здесь намечается соединение выделительного аппарата в одно анатомическое целое и устанавливается связь с задним отделом кишечника.
Клетки тонкой части нефридиальной трубки улавливают из крови, циркулирующей вне сети нефридиальных капилляров, продукты азотистого обмена, подлежащие выведению из организма.
Эти вещества попадают в полость нефридиальной трубки и здесь смешиваются с полостной жидкостью, поступающей через воронку на внутреннем конце нефридия. Полостная жидкость также содержит продукты выделения, отмершие клетки, туда попадают сношенные щетинки и т. д. Жидкость нефридиальной трубки биением ресничек гонится по направлению к выводному концу, откуда периодически выбрасывается через наружную пору сокращением мускулатуры стенки тела (Roots, 1955).
Имеются данные о том, что опорожнение концевого пузыря нефридия происходит один раз в три дня. Другие наблюдения говорят о том, что за сутки червь весом в 1–1,8 г выделяет 0,82 см экскрета. Такие количества его должны выделяться из тела несколько раз в сутки.
В экскрете содержатся в общем те же вещества, что и у млекопитающих, а именно: мочевина, аммиак, креатинин, соли и пр., но в значительно более низких концентрациях. Однако нормальный экскрет червей содержит 0,3 % белка, тогда как у высших животных белок в продуктах выделения отсутствует.
Клетки средней части нефридиальной трубки обладают способностью к фагоцитозу, т. е. к активному заглатыванию из полости тела нерастворимых в воде веществ (отмершие клетки, свернувшийся белок, бактерии и пр.). Эти вещества накапливаются там неопределенно долгое время. Санитарную службу этого рода несут и другие клетки внутри организма: амебоидные клетки крови, клетки полости тела и вышеупомянутые клетки хлорагогенной, или желтой, ткани.
Особенно много амебоидных клеток, наглотавшихся посторонних телец, встречается в полости тела. Сюда они попадают, активно выползая из сосудов, протискиваясь между клетками сосудистой стенки. Из полости тела эти клетки удаляются разными путями. Во-первых, они проползают через стенку кишечника и, попадая в его полость, выводятся наружу вместе с испражнениями (это наблюдалось много раз). Во-вторых, как уже упоминалось, они могут с полостной жидкостью выходить через нефридии. И, в-третьих, могут выходить вместе с полостной жидкостью, выбрызгиваемой через спинные поры.
Кровеносные сосуды нефридия дождевого червя: 1 – воронка; 2 – брюшной кровеносный сосуд; 3 – диссепимент; 4 – брюшная нервная цепочка; 5 – поднервный сосуд; 6 – трубка нефридия с кровеносными сосудами
Вообще можно предположить, что полостная жидкость довольно быстро сменяется. Поэтому она и приобретает у червей такое большое значение в процессе выделения.
Вода в тело червей непрерывно поступает и выводится обратно в наружную среду указанными выше путями. Таким образом, тело червя и, в частности, полость тела все время прополаскиваются водой. Поэтому для нормального протекания этих физиологических функций червям необходимы условия среды, которые обеспечивали бы поступление в их тело воды в значительно большем количестве, чем у большинства наземных животных.
Каким образом вода поступает в тело червей?
Необходимо отметить, что черви никогда не пьют. Они поглощают воду всей поверхностью тела; вода проходит сквозь покровы и мускулатуру, накапливаясь в полости тела. При этом черви могут использовать воду только в жидком состоянии. Червь в среде, содержащей пары воды, может погибнуть от высыхания, если не имеет иного источника влаги.
При нормальных условиях тело червей содержит около 84 % воды. Несмотря на столь значительный запас воды, это далеко не предел. Если червю предоставить возможность еще больше увеличить запас воды в своем теле, он это тотчас же сделает. В этом легко убедиться, если положить дождевых червей в воду. Через несколько часов вес их значительно возрастет за счет воды, всасываемой поверхностью тела. После извлечения из воды червь возвращается к исходному весу, причем это происходит за очень короткий срок (1–2 часа). Удаление избыточной воды из организма происходит очень своеобразным путем: она всасывается клетками кишечника, из них поступает в полость последнего и удаляется главным образом через заднепроходное отверстие, а отчасти и через ротовое.
При нормальных условиях жизни в почве функцию удаления избытка воды выполняют нефридии. Наличие постоянного тока воды через организм путем всасывания ее поверхностью тела и выделения ее в избытке почками – явление, весьма обычное среди водных животных. Оно, несомненно, унаследовано дождевыми червями от их водных предков.
Обмен веществ водных животных совершается при усиленной циркуляции воды через их тело. Им не может угрожать недостаток воды, тогда как в почвенных условиях при таком типе водного обмена достаточное количество влаги становится основным фактором, обеспечивающим возможность существования. Поэтому влажность почв имеет важное значение при заселении их теми или иными видами дождевых червей.
Известно также о способности дождевых червей терять воду в периоды засухи и зимовки, что связано с переходом их в состояние скрытой жизни.
Органы внутренней секреции
Следует упомянуть о наличии у дождевых червей особых веществ, вырабатываемых в определенных участках тела и служащих химическими возбудителями различных проявлений жизнедеятельности организма. Эти вещества называются гормонами, а процесс их образования – внутренней секрецией. У позвоночных выработка гормонов происходит частично в специальных железах внутренней секреции (например, надпочечники, щитовидная железа, гипофиз), а также в органах, выполняющих одновременно и другую функцию (например, половые железы, поджелудочная железа, клетки мозга).
У дождевых червей специальных желез внутренней секреции нет, но гормоны вырабатываются в разных частях нервной системы. Уже давно было известно, что в ганглиях брюшной нервной цепочки червей имеются так называемые хромаффинные клетки, которые выделяют адреналин, т. е. вещество, вырабатываемое центральной частью надпочечников высших позвоночных. Это вещество, как известно, является специфическим возбудителем нервных аппаратов, приводящих в движение мускулатуру стенок кровеносных сосудов и служащих важным средством для регулирования ширины просветов сосудов кровеносной системы, а тем самым и кровяного давления. У дождевых червей это вещество играет такую же роль.
В ходе исследований обнаружено, что значительная часть нервных клеток надглоточного ганглия также несет внутрисекреторную функцию.
Различают два типа таких нервносекреторных клеток: одни из них – с однородной протоплазмой, другие – с зернистой.
Первые, как полагают, служат регуляторами деятельности половых желез, причем вещество, вырабатываемое ими, по-видимому, тормозит деятельность половых желез: они начинают функционировать в те месяцы, когда заканчивается размножение червей, и исчезают в периоды размножения. Зернистые клетки имеют значение при заживлении ран и восстановлении утраченных частей тела (регенерации): во время этих процессов секреция в них особенно усиливается.
Деятельность пояска дождевых червей, которая заключается в выработке оболочек и питательного содержимого яйцевых коконов, также несомненно регулируется гормонами. Одно время считалось, что гормоны, возбуждающие деятельность железистых клеток пояска, вырабатываются мужскими половыми клетками, созревающими в семенных мешках. Однако это оказалось неверным. Но деятельность пояска несомненно регулируется какими-то гормонами: если пересадить кусок пояска от червя с неактивным пояском к червю, находящемуся в разгаре половой активности, то пересаженный кусок быстро приобретает свойства пояска последнего. Место выработки гормонов, регулирующих деятельность желез пояска, пока неизвестно.
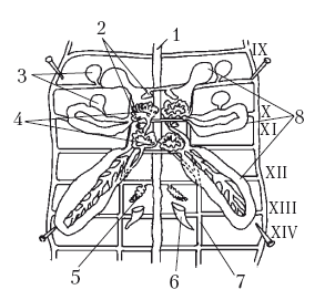
Органы размножения
Дождевые черви размножаются только путем откладки яиц, заключенных в особые яйцевые коконы. Рассмотрим, как устроены у них органы, обеспечивающие образование яиц, их оплодотворение и откладку. Совокупность этих органов образует половой аппарат. Мужские и женские половые органы находятся у дождевых червей в одной и той же особи; таким образом, среди них нет мужских и женских особей, но все они – обоеполые существа, или, как их принято называть, гермафродиты.
Яйца образуются в яичниках, которые укреплены на перегородке между 12 и 13 сегментами с брюшной стороны. Яичники устроены очень просто. Они представляют собой комплексы развивающихся яиц; наиболее ранние стадии развития находятся в части, прилегающей к межсегментной перегородке, где яичник состоит из мелких клеток.
Наиболее крупные клетки находятся на свободном заднем конце яичника, обращенном в полость тела. Здесь яйцевые клетки достигают своих окончательных размеров (около 0,1 мм в поперечнике) и падают в полость тела. Яйца дождевых червей сферические или слегка вытянутые. Они почти прозрачные, так как в их протоплазме имеется лишь очень небольшое количество зерен питательного материала – желтка. Отсутствие достаточного количества питательного материала для развивающегося зародыша внутри яйца вызывает необходимость снабжения его питанием извне при помощи белка яйцевого кокона.
Схема строения половой системы дождевого червя: 1 – нервная система; 2 – семенники; 3 – семеприемники; 4 – передняя и задняя семенные воронки; 5 – яичник; 6 – яйцевая воронка и яйцевод; 7 – семепровод, 8 – семенные мешки; IX–XIV – 9–14 сегменты
Яйца заканчивают созревание в так называемых яйцевых мешках. Это – слепые мешковидные выступы межсегментных перегородок, в которые попадают яйца, оторвавшиеся от задней части яичника.
Яйца выводятся наружу через короткие яйцеводы, которые начинаются яйцевыми воронками в 13 сегменте, затем прободают перегородку между 13 и 14 сегментами и открываются на брюшной стороне 14 сегмента. Яйцевые воронки снабжены ресничками, с помощью которых яйца улавливаются из яйцевых мешков и в нужный момент (во время образования яйцевого кокона) выводятся по яйцеводу наружу.
Мужские половые железы – семенники – также очень малы. В числе двух пар они помещаются на перегородках между 9 и 10 сегментами и между 10 и 11. Мужские половые клетки – сперматозоиды – только начинают развитие в этих крошечных маленьких тельцах. Комплексы будущих сперматозоидов в виде микроскопических комочков округлых клеток падают в полость тела и оттуда попадают в семенные мешки, представляющие собой объемистые разрастания межсегментных перегородок. Количество, форма, расположение и относительные размеры семенных мешков варьируют и служат важным признаком при определении червей.
У некоторых видов дождевых червей (в родах Octolasium и Lumbricus) брюшная часть полости тела возле семенников отгорожена особой стенкой от основной полости сегмента; получаются так называемые семенниковые капсулы. Благодаря их наличию формирующиеся комочки сперматозоидов не могут распространяться по всей полости сегмента и им создается более прямой путь в семенные мешки.
Для выведения сперматозоидов наружу служат семенные воронки и семепроводы. Семенные воронки обычно крупные; они хорошо заметны при вскрытии червей. Семепроводы, в которые поступают сперматозоиды из семенных воронок, представляют собой очень тонкие цилиндрические трубки, направляющиеся по брюшной стенке тела кзади. Семепроводы от воронок 10 и 11 сегментов в 12 сегменте сливаются друг с другом, и общая трубка семепровода с каждой стороны тела тянется обычно до 15 сегмента, где переходит через толщу стенки тела и кончается мужским половым отверстием (порой), обычно имеющим вид вертикальной щели.
Мужские половые отверстия сидят на более или менее сильно развитых железистых подушках. Эти подушки, кроме железистых клеток, содержат большое количество сосудов, которые во время спаривания наполняются кровью.
Оригинальной особенностью полового аппарата малощетинковых кольчецов, к которым принадлежат дождевые черви, являются семеприемники – небольшие сферические полые мешочки, плотно прижатые к стенке полости тела. Протоки семеприемников проходят сквозь толщу стенки тела и открываются наружными порами, располагающимися в межсегментных бороздах. Стенки семеприемников содержат мускулатуру, действием которой семенная жидкость может всасываться в семеприемник и, наоборот, выбрызгиваться из него наружу. Эта мускулатура действует наподобие резинового колпачка пипетки.
Семеприемников бывает две или три пары; они могут быть расположены сбоку, на брюшной стороне, или могут быть (как в роде Eisenia) сдвинуты на спинную сторону, вплоть до средней линии.
Но нужно иметь в виду, что у некоторых видов дождевых червей семеприемник отсутствуют.
К органам, обеспечивающим размножение, следует отнести поясок дождевых червей. У червей, достигших половой зрелости, поясок всегда заметен, но его вид зависит от сезона и состояния упитанности. В периоды размножения поясок сильно набухает. Его функция – формирование яйцевых коконов.
Кожный эпителий в области пояска: 1 – кутикула; 2 – слизистые клетки; 3 – кровеносные сосуды; 4 – крупнозернистые железы; 5 – мелкозернистые железы; 6 – соединительнотканная перегородка; 7 – ядра соединительнотканных клеток; 8 – кольцевая мускулатура Поясок представляет собой видоизменение наружного эпителия. В области пояска наружный эпителий очень сильно утолщен.
Все клетки приобретают железистый характер; среди них можно наметить три типа:
1) относительно мелкие клетки, не содержащие зерен, – слизистые клетки;
2) клетки средней величины, содержащие крупные зернышки, образующие оболочку яйцевого кокона;
3) огромные мелкозернистые клетки, вырабатывающие белковое вещество, составляющее содержимое яйцевого кокона и служащее питанием для развивающихся эмбрионов.
Помимо железистых клеток, в пояске можно видеть большое количество кровеносных сосудов и нервных окончаний.
В функции размножения участвует также ряд других желез на брюшной стороне тела между пояском и передним концом тела. Особенно заметны железы на 10-м и 11-м сегментах, которые придают этой части поверхности тела у половозрелых червей беловатый оттенок. Кроме того, около брюшных щетинок в указанной части тела на некоторых сегментах, иногда только с одной стороны тела, бывают развиты железы, заметные в виде небольших припухлостей.
Форма щетинок: а – двигательная; б – половая; в – она же в поперечном разрезе; г – другая форма половой щетинки
Часто сами щетинки изменены, превращены в так называемые половые щетинки, функционирующие при спаривании для удерживания партнера и для раздвигания пор семеприемников. Иногда половые щетинки отличаются от обычных только большими размерами, но у некоторых видов они очень сильно отличаются и по форме. Образуются, с одной стороны, острые стилеты, очевидно вкалываемые при спаривании в кожные покровы партнера, а с другой – щетинки, вводимые в поры семеприемников.
