автордың кітабын онлайн тегін оқу Illustrated Catalogue of Cotton Machinery
[Transcriber's notes]
Page numbers in this book are indicated by numbers enclosed in curly braces, e.g. {99}. They have been located where page breaks occurred in the original book.
Obvious spelling errors have been corrected but "inventive" and inconsistent spelling is left unchanged.
Material suitable for searching has been converted to text. Complex tables that would not provide useful search targets and would be prone to transcription errors have been left as images.
[End Transcriber's notes]
{2}
PLANT OF
HOWARD & BULLOUGH AMERICAN MACHINE COMPANY LTD.
PAWTUCKET, R. I.
{3}
ILLUSTRATED CATALOGUE
of
COTTON MACHINERY
Built by
HOWARD & BULLOUGH
AMERICAN MACHINE COMPANY, LTD.
PAWTUCKET, R. I., U. S. A.
OPENING, PICKING, CARDING, DRAWING, ROVING, SPINNING, TWISTING AND WINDING MACHINERY
WARPERS AND SLASHERS
Containing Also Floor Spaces, Speeds, Productions, Gearing Diagrams, Useful Tables and Other Information
1909
BOSTON OFFICE, 65 FRANKLIN STREET
C. E. RILEY, TREASURER
SOUTHERN OFFICE, EMPIRE BUILDING, ATLANTA, GA.
{4}
INTRODUCTION.
We take pleasure in presenting this book, trusting that the information it contains will be of interest and service.
In compiling this catalogue we have included such descriptive matter as will set forth the main features and advantages of our machinery, also outline drawings, gearing diagrams, floor spaces, speeds, production and other tables, and information of use to all those interested in Cotton Mills.
Some of the information contained in this book has hitherto been presented in circular and book form, but at the request of numerous friends and users of our machinery we now issue this complete catalogue which contains considerable additional information, besides which it is in a compact and convenient form.
Our machinery is extensively used, and is well and favorably known.
It will be our endeavor in the future to continue to make improvements and maintain the high standard which has characterized our machinery in the past.
{5}
INDEX.
OPENING AND PICKING MACHINERY
PAGE
Hopper Bale Opener
8General Description
9Floor Plans and Elevations
12Automatic Hopper Feeder
14Self-feeding Opener
16Trunking
20Breaker Lappers
24Combination Machines
30Intermediate and Finisher Lappers
32Production Tables
36Gearing Diagrams
38Calculations
43Floor Plans and Elevations
52REVOLVING FLAT CARDS
General Description
61Patent Setting Arrangement for Flats
67Williams' Patent Stripping Motion
68Floor Plan
72Gearing Diagram
72Calculations
75Production Tables
75Gearing Tables
77Clothing
80DRAWING FRAMES
General Description
82Floor Plans
88Table of Lengths
90Production Tables
91Gearing Diagram
92Calculations
94Gearing and General Tables
96Electric Stop Motions
98SLUBBING, INTERMEDIATE, ROVING AND JACK FRAMES
General Description
103Improved Differential Motion
107Improved Lay Gearing
109Speed Tables
111Floor Plans
118Tables of Lengths
119Production Tables
113Gearing Diagrams
123 {6}Calculations
127Gearing Tables
130Roving Tables
136RING SPINNING FRAMES
General Description
141Improved Builder
151H. & B. Separator
152Floor Plan
154Table of Lengths
155Production Tables
156Gearing Diagrams
160Calculations
164Gearing Tables
166Yarn Twist Tables
176Table for Numbering Cotton Yarn
179Breaking Weights of American Yarns
184SPOOLERS
Table of Lengths and Productions
186REELS
187TWISTERS
General Description
188Floor Plan
193Table of Lengths
195Production Tables
198Gearing Diagrams
203Calculations
206Gearing Tables
208Twist Tables
210CONE AND TUBE WINDERS
General Description
222Floor Plan
225WARPERS
226SLASHERS
227MISCELLANEOUS
Shipping Weights
232Table of English Weights and Measures
233Classification of Cotton
237General Rules with Examples
234Power Required by Cotton Machinery
238Belting Required for Various Machines
240Horse-power Tables of Shafting
242Horse-power Tables of Belting
246Data on Manila Transmission Rope
250Spindles in U. S.
252World's Cotton Spindles
253{7}
OPENING AND PICKING MACHINERY.
The Opening and Picking of cotton should have the same careful attention as the Carding and Spinning, although the latter processes may seem to some to be more important. Much more attention is being given to this Department everywhere to-day than formerly, and better equipments of machinery are being used. The same equipment is not equally good for all classes of work, as the machinery must be designed and adjusted for the particular kind of stock to be used.
Unless the cotton is well opened and cleaned, and good even laps are made, the Carding will suffer, and the Card Clothing will soon be damaged, which means poor and costly work.
We invite with every confidence all possible investigation into the construction and improved design of our Opening and Picking machinery, and the work it is doing in the mills. This entire line of machinery is substantially built, very simple, and contains many valuable improvements.
{8}
PATENT HOPPER BALE OPENER
{9}
HOPPER BALE OPENER.
An investigation of the present methods of handling cotton before it reaches the Pickers shows that in a large percentage of mills there are opportunities for greatly reducing the labor cost and at the same time improving in a marked degree the quality of opening and mixing. The saving which can be effected in labor, and the better results obtained by a more thorough opening of the cotton and a more even mixing, can hardly be appreciated except by those who have seen it demonstrated by the use of our Hopper Bale Opener.
This machine is extensively used in England and on the Continent, where it is giving most satisfactory results. It is filling a need which has long existed.
LABOR SAVING—A bale of cotton can be thoroughly opened without damage to the staple in six to ten minutes, which means that one hand can open upwards of 150,000 to 200,000 lbs. per week and still have time for taking care of bagging, ties, etc. Even when the weekly consumption of cotton is very much less than this there is a saving in labor, as the quick completion of the work means that the attendant can give his attention to something else.
QUALITY OF WORK—The fluffy condition of the cotton as it is delivered from the Hopper Bale Opener shows the very thorough manner in which it is opened. Although the cotton is fed to the machine in large matted sections taken directly from the bales as they lie around the horizontal feeding apron, no bunches come through. When cotton is opened and mixed by hand the result is not what is generally supposed. The stock is still in large bunches and matted to such an extent that when fed into the Hoppers of ordinary Openers it is impossible to obtain an even or thorough mixing.
{10}
THE FEEDING APRON of the Hopper Bale Opener usually extends four feet back of the Hopper which enables the operator to group a number of bales around the machine so as to take cotton first from one and then from another. This gives an even mixing of the stock from the various bales. If it is desired this idea can be carried still further by making the Feeding Apron longer, so as to allow of taking cotton from a greater number of bales.
METHOD OF WORKING—The matted sections taken direct from the bale and placed on the slowly driven Horizontal Feeding Apron move forward into the Hopper and are taken by the more rapidly moving Spiked Elevating Apron, which subjects the cotton to a sort of combing action. At the top of this Apron there is a spiked Cylinder which further combs the cotton and throws back into the Hopper any unopened pieces. A Stripping Beater with stiff leather blades strips the stock from the Spiked Apron and delivers it onto the short delivery Apron at the front of the machine.
DELIVERY ARRANGEMENTS—The ordinary or standard delivery arrangement is shown in the cut, page 8, and in the outline drawing, page 12. We have recently designed a double apron delivery for use with Condenser and Blower systems, where the cotton has to be carried quite a distance. This arrangement does away with the necessity of passing the stock through a fan and is approved by the Insurance Companies.
The cotton being delivered into the conveying pipe ahead of the "Blower Fan," there is no fire risk due to hard substances passing through or stock getting caught in the fan. We have designed many special delivery arrangements to meet the various conditions which present themselves, including a suitable delivery for use with either lattice distributing systems or blowing systems.
{11}
DISTRIBUTING SYSTEMS—The installation of this Hopper Bale Opener makes a distributing system more advantageous and satisfactory. We have equipped many Opening Rooms with Distributing Lattices which deliver the cotton directly into the Hoppers of the Self-feeding Openers, thus saving another handling.
When the Hopper Bale Opener is located some distance from the distributing lattice, the latter may be fed by a blower and condenser system, and when the distance is very short an elevating lattice is used, dropping the cotton directly on the distributing lattice. We are always glad to take up special cases and make recommendations in connection with the conveying and distribution of cotton either for short or long distances.
An advantage which is not usually thought of or appreciated is the more even Breaker laps obtained where a Hopper Bale Opener and distributing system are used. The Hoppers of the Feeders are more evenly fed and the stock is in a much better condition than when mixed and fed by hand.
CONSTRUCTION—The machine is very strongly built throughout. An extra large Hopper is an advantage possessed by this Opener. The Spiked Elevating Lattice is made on a new patented system and the slats on same are of heavy selected stock.
DRIVING PULLEYS AND SPEEDS—The Driving Pulleys are on the right hand side when facing the Hopper or Feed and are 11 in. dia., 3 in. face, tight and loose, and should be driven at about 582 revs. per minute.
PRODUCTION—150,000 to 200,000 lbs. per week of 60 hours.
FLOOR SPACE—The machine with short Feeding Lattice, as shown on the illustration, page 8, is 13 ft. 1-1/4 in. x 6 ft. 10 in.
{12}
HOPPER BALE OPENER
WITH STANDARD SHORT APRON DELIVERY
{13}
HOPPER BALE OPENER WITH DOUBLE APRON DELIVERY
{14}
AUTOMATIC HOPPER FEEDER
{15}
AUTOMATIC HOPPER FEEDER.
HOPPER—This is extra large and capable of holding 400 to 450 pounds of cotton.
SPIKED ELEVATING APRON runs over large flanged blocks and is extra strong.
STRIPPING COMB OR ROLLER—This works in conjunction with the Spiked Apron, and is very simple and durable. It is self-cleaning and is easily adjusted by means of a handle on one side of the machine. This handle can be locked in position after an adjustment is made, and the arrangement, although operated from one side of the Feeder, gives a positive parallel motion, and consequently a true setting of the Stripping Comb.
PIN BEATER takes the cotton from the Spiked Apron. The stock, after passing over the cleaning grids, drops on the Delivery Apron.
KNOCK-OFF ARRANGEMENT—This is simple and durable, and is so designed as to be easily connected to the knock-off on the Breaker Lapper or other machine which follows.
APRONS all have strong and easily adjusted tightening devices.
SIMPLICITY—Our Feeder is reduced to the simplest design possible consistent with even and good work, and has no troublesome cone drums.
COMBINATIONS of this Feeder with the various Opening and Picking Machines are made to suit any special requirements of the mill. The Feeder when combined with an Opener is driven from a pulley on the Cylinder or Beater shaft, and when feeding on to the Apron of a Lapper is driven from the Lapper Countershaft.
DRIVING PULLEY AND SPEED—The Driving Pulley is 10 in. dia., 2-1/4-in. face, and should be driven at about 550 revs. per minute.
FLOOR SPACE—Length, 10 ft. 5 in.; width, 5 ft. 6 in.
FLOOR PLAN AND ELEVATION—See page 52.
{16}
SELF-FEEDING OPENER WITH 30-IN. CYLINDER
{17}
SELF-FEEDING OPENER.
This is a combination of the Automatic Hopper Feeder with an Opener Section built as one machine. The Beater in the Opener Section may be a two-blade rigid Beater, 18 in. dia., or a 30-in. dia. Special Cylinder, which is shown and described on page 18.
This machine may be arranged for trunking connections, as shown in the cut on the opposite page, or it may be attached directly to a Breaker Lapper, forming a Combined Self-feeding Opener and Breaker Lapper (see page 30 for cut of this machine).
DRIVING PULLEY—Self-feeding Opener with 18 in. Beater, 9 in. dia., 4-1/4 in. face; with 30-in. Cylinder, 16 in. dia., 4-1/4 in. face. Other sizes can be furnished.
SPEEDS—1,450 revs. per minute for 18-in. Beater and 550 revs. per minute for 30-in. Cylinder when running with ordinary cotton. For long staple cottons the Beater speed is reduced to 800 to 1,050 revs. per minute and the Cylinder speed to 300 to 450 revs. per minute.
PRODUCTION—See Breaker Lappers.
FLOOR PLANS AND ELEVATIONS— See pages 56 and 57.
{18}
30-IN. SPECIAL CYLINDER
{19}
30-INCH SPECIAL CYLINDER.
This 30-inch Cylinder is specially designed for use in Self-Feeding Openers where these machines are arranged for trunk connection or combined with Breaker Lappers.
The large diameter makes it possible to use more grid bars than with the blade beaters. The main points considered in the design of this 30-inch cylinder were, more thorough opening of the cotton, greater production without injury to the staple, and better cleaning.
These Cylinders are made from steel boiler plates, and the steel fingers are fastened on by rivets. These fingers are so arranged that in one revolution they strike all points along the entire width of the feed rolls. In case of accident to fingers, caused by some hard substance getting into the machine, the damaged fingers can be easily replaced.
We have adopted the 30-inch Special Cylinder, believing it to be preferable to those of larger diameter.
{20}
AUTOMATIC CLEANING TRUNK (10-FT. SECTION)
{21}
CLEANING TRUNK.
On the opposite page is shown a 10-ft. section of Automatic Cleaning Trunk. It is usual to install two of these sections, making 20 ft., and to suspend same from the ceiling.
The cotton passes over Transverse Grids A and the leaf and dirt drop between the Grids into a series of compartments B, which are automatically cleaned out by air draft from a Fan. Each compartment has a hinged door or bottom C, which when dropped leaves an opening into the exhaust air pipe D. The hinged doors are dropped one at a time, and the openings are shown at G.
The Fan is connected to the exhaust air pipe D, and is only running while the Trunk is being cleaned.
The removable doors E give access to the top of the Trunk, and the brackets F are for the supporting rods.
One of the advantages of this Trunk is that it can be hung from the ceiling out of the way and not occupy valuable floor space. It is carefully built and the joints of the doors are covered with leather to prevent leaks.
Page 59 shows a system where 20 ft. of Automatic Cleaning Trunk is used together with the necessary Conducting Trunk; the Opener being on the first floor and the Breaker Lapper with Gauge Box and Condenser on the second.
{22}
ENGLISH PATTERN CLEANING TRUNK (TWO 4-FT. SECTIONS)
{23}
Cleaning Trunk is of special advantage to mills using low grade stock. All cotton contains more or less light dirt and leaf, which it is difficult to entirely remove in the Lappers, on account of the fan draft essential to the formation of a good sheet on the screens carrying some of the lighter impurities along with the cotton. The passing of the stock over the transverse Grids in the Cleaning Trunk at a low velocity provides an efficient means for removing this dirt and leaf.
We also build an English pattern Trunk, which is shown in the illustration on page 22. This Trunk is supported by stands which rest on the floor, and is built in 4-ft. sections, several of these being coupled together. Although not automatic, it is easily cleaned by dropping the doors which cover the entire bottom of the Trunk and carry the Grids. In the illustration one of these doors is shown down, and the sheet iron Grids are plainly visible.
{24}
SINGLE BEATER BREAKER LAPPER WITH GAUGE BOX AND CONDENSER
{25}
BREAKER LAPPERS.
On page 24 is shown our Single Beater Breaker Lapper with Gauge Box and Condenser, and on page 28 the same machine with a Cage Section.
GAUGE BOX AND CONDENSER—We strongly recommend the use of Gauge Boxes and Condensers when the Breaker Lappers and Openers are on different floors, or the stock has to be carried any distance. Under these conditions there is a considerable quantity of cotton passing between the Opener and Lapper, which on account of the stopping and starting of the latter is liable to make thick and thin places in the lap.
The use of the Condenser and Gauge Box overcomes this difficulty as the cotton is received under these varying conditions and the Gauge Box acts as an Evener and delivers a uniform supply to the Feed Rolls behind the Beater. When the connection between the Opener and Breaker Lapper is short the Cage Section can be used without difficulty.
The Condenser Fan, which is of extra large size, is conveniently placed under the Gauge Box and Condenser Section. The Gauge Box has glass panels on the two sides and front, so that the cotton can be seen and the feed regulated.
BEATERS—Although the cuts show Single Beater machines, we build them with two Beaters if required or with one Cylinder and one Beater.
IMPROVED CALENDER HEAD—Our Lappers have many valuable special features, including our improved Calender Head, which allows the machine to be stopped by the Drop Handle without breaking the lap. When the lap is of the required length and the machine knocks off, the large Lap Rolls as well as the Calender Rolls, Feed Apron and Cages stop, and the lap is not broken.
If the lap continues to revolve after the machine has knocked off, it becomes sticky and there is likely to be trouble from split laps back of the Cards. Our arrangement prevents this and also enables the machine to be stopped at any time during the formation of a lap without breaking the lap.
{26}
FEED ROLLS, TOP CAGE AND COVER
Showing Bushed Bearings and Easy Method of Removing the Top Cage
{27}
GEARS EASILY REMOVED—All the large gears are fastened by an improved method. Instead of driving them onto keys, which makes their removal difficult, we use with each large gear a square key let into the shaft, and two set screws. The gears fit the keys, but not tightly enough to prevent their easy removal after loosening the set screws.
CLUTCH GEARS—The Calender Rolls are stopped and started by large Clutch Gears which are a great improvement over the common Drop Shaft and Gear. With this method the starting strain is distributed over all the teeth in the Clutch Gears, entirely doing away with the frequent breakages under the old system.
BEARINGS—Where it is possible the bearings are made in bush form, as shown in cut page 26, thus reducing to a minimum the time taken to make replacements and the cost of same. Our bearings are very easy to adjust, and their special form prevents oil from getting to the inside of the machine. All high speed Shafts, viz., Fan, Side and Beater Shafts, have ring oiling bearings.
{28}
{29}
TOP CAGES AND COVERS—The Top Cages of our Lappers are easily removed, as will be seen by referring to the cut, page 26. The sides of the cage cover or bonnet fit snugly over the bushed bearings. To remove the cage or bushings, it is only necessary to turn back the cover. These covers are all made with oil holes directly over the bearing, so it is not necessary to raise the cover for the purpose of oiling.
NO TILTING OF LAP RACKS—The Lap Racks slide up and down on steel shafts, which entirely prevent the tilting of the Racks and consequent breakages.
SHAFTS—Our Beater and Fan shafts are made from a very hard iron specially mixed to give long life to these high speed shafts.
A countershaft complete with pulleys is attached to each Lapper.
DRIVING PULLEYS—One-beater Breaker Lappers 16 in. dia., 4-1/4 in. face, T. & L.
Two-beater Breaker Lappers or One-beater Breaker Lappers with extra Cage Section or Condenser and Gauge Box Section 16 in. dia., 5-1/4 in. face, T. & L.
In combinations which have 3 beaters to be driven from one countershaft of machine, 16 in. dia., 6-1/4 in. face, T. & L.
Other sizes can be furnished.
SPEEDS—The usual speed of all lapper countershafts is 435 revs. per minute, which gives 1,450 revs. per minute of the Beaters, and 550 revs. per minute of Cylinders, for ordinary cotton. For long staple cottons the beater speed is reduced to 800 to 1,050 revs. per minute and the Cylinder speed to 300 to 450 revs. per minute.
PRODUCTION—On ordinary cotton 15,000 to 20,000 lbs. per week of 60 hours. In some cases the production is far in excess of these figures. For long staple cottons, 10,000 to 15,000 lbs.
See production table, page 36.
FLOOR PLANS AND ELEVATIONS-See pages 54 to 57. These plans are for 40-in. or 41-in. machines, and 45-in. machines are 4 in. wider.
{30}
SELF-FEEDING OPENER (30-IN. CYLINDER) AND SINGLE BEATER BREAKER LAPPER
{31}
COMBINATION MACHINES.
On the opposite page is shown a Self-feeding Opener with 30-in. Cylinder combined with a Single Beater Breaker Lapper. This is a very popular combination and, it will be noted, is built as one straight machine. A floor plan and elevation are shown on page 54. This same combination with an 18-in. Beater instead of the 30-in. Cylinder in the Opener Section is shown in plan and elevation on page 55.
We also build a Self-feeding Opener with Cage Section and Calender Head, which is well adapted to work Egyptian and Sea Island cottons. (See page 53 for plan and elevation.)
Self-feeding Openers when built as separate machines can be placed on any floor above or below the Breaker Lappers, or on the same floor, the connections being made by Automatic Cleaning Trunks, Conducting Trunks, and galvanized iron pipe, as the conditions may require.
On pages 56 and 57 we show Single Beater Breaker Lappers with Gauge Boxes and Condensers connected to Self-feeding Openers by short sections of Conducting Trunk. The Breakers are on the floor above the Openers. One drawing shows the Self-feeding Opener with 18-in. Beater, and the other with 30-in. Cylinder.
{32}
SINGLE BEATER FINISHER LAPPER
{33}
{8}
{9}
{12}
{14}
{16}
{20}
{24}
{30}
{32}
{36}
{38}
{43}
{52}
{61}
{67}
{68}
{72}
{75}
{77}
{80}
{81}
{82}
{88}
{90}
{91}
{92}
{94}
{96}
{98}
{103}
{107}
{109}
{111}
{118}
{119}
{113}
{123}
{127}
{130}
{136}
{141}
{151}
{152}
{154}
{155}
{156}
{160}
{164}
{166}
{176}
{179}
{184}
{186}
{187}
{188}
{193}
{195}
{198}
{203}
{206}
{208}
{210}
{221}
{222}
{225}
{226}
{227}
{228}
{232}
{233}
{237}
{234}
{238}
{240}
{242}
{246}
{250}
{252}
{253}
{57}
INTERMEDIATE AND FINISHER LAPPERS.
These machines have our improved Calender Head, which has already been described in connection with Breaker Lappers. Each machine has a countershaft and pulleys complete with stands as shown.
BEATER BOXES—All our beater boxes are fixed and our feed rolls adjustable, which we consider superior to having the beaters adjustable. After thorough investigation and long practice we have found that adjustable beaters are liable to get out of line, causing them to heat and wear quickly.
DRAFT REGULATION—The air chamber from fan to cage section on each side of the machine is supplied with a damper, operated from the outside of the machine. With this arrangement the air can be drawn through the top and bottom cages in any desired proportion, and the operator can regulate the drafts to give the best results.
BEATERS—Two-blade (18 in. dia.) beaters are mostly used, but we furnish the Houghton patent beater with corrugated teeth, or carding beaters, when specified.
OUTSIDE HANDLES FOR DUST DOORS—We have recently added handles on the outside of the machine for dropping the cut-off board under the grids. The dirt and leaf which collect on this board are liable to fill up the grids if not regularly removed. The outside handles make the dropping of the cut-off boards very convenient and much reduce the liability of neglect on the part of the attendant.
DRIVING PULLEYS
One-beater machines, 16 in. dia., 4-1/4 in. face, T. & L.
Two-beater machines, 16 in. dia., 5-1/4 in. face, T. & L. Other sizes can be furnished.
SPEEDS—The usual speed of countershafts is 435 revs. per minute, which gives 1,450 revs. of the two-blade beaters and 1,063 revs. of carding beaters. For long staple cottons the beater speed is reduced to 800 to 1,050 revs. per minute.
PRODUCTION—On ordinary cotton 12,000 to 15,000 pounds per week of sixty hours. These productions are often exceeded. For long staple cottons, 8,000 to 10,000 pounds. For production table, see page 37.
FLOOR PLANS AND ELEVATIONS— See page 58 for floor plan of 40-inch one-beater Intermediate or Finisher Lapper. 45-inch machines are 4 inches wider.
{34}
IMPROVED EVENER FOR INTERMEDIATE AND FINISHER LAPPERS
{35}
IMPROVED EVENER.
The obtaining of even laps is a matter of prime importance. The demand for more perfect work has emphasized the need for better picking, and for laps which are even not only in total weight, but throughout. Our improved design fills the following essential qualifications of a good Evener.
1st—Sensitiveness and prompt action, so that any variation in the weight passing under the Evener Plates will be taken care of immediately.
2d—Steadiness of running and action, so that there is no tendency to "hunt," i. e., the cone belt will at once take its new position without traveling up and down.
3d—Simplicity and few moving parts.
4th—Small amount of attention required.
The direct method of communicating any movement of the Evener Plates to the cone belt, the multiplication of this movement and the short cones are features which help to secure sensitiveness and prompt action.
The small amount of lost motion between the Evener Plates and the cone belt, and the free movement of the belt shipper rod, which runs on rollers, make the action positive and steady.
The cut on page 34 shows our Evener and indicates the simplicity of same. The number of moving parts has been reduced to a minimum. The Evener Plates and feed roll give great cleaning capacity on account of the bite of the Plates being close to the Beater. The Evener Plates are on top of a 3-in. dia. steel feed roll, which gives a very rigid support and ensures all the variation in the thickness of the cotton under the plates being communicated to the Evener belt.
The cones are conveniently placed under the feeding apron, and the lower cone runs in an adjustable cradle which allows the belt to be made endless and keeps it at an even tension at all times.
{36}
BREAKER LAPPER.
PRODUCTION IN POUNDS PER TEN HOURS
NOTE—Ten per cent. has been deducted in the above table for stops, etc. 1,450 revolutions per minute of beater.
{37}
INTERMEDIATE AND FINISHER LAPPER.
PRODUCTION IN POUNDS PER TEN HOURS
NOTE—Ten per cent. has been deducted in the above table for stops, etc. 1,450 revolutions per minute of beater.
{38}
BREAKER LAPPER WITH CAGE SECTION.
SIDE VIEW OF GEARING 1
{39}
BREAKER LAPPER WITH CAGE SECTION,
SIDE VIEW OF GEARING
{40}
BREAKER LAPPER WITH CAGE SECTION
PLAN VIEW OF GEARING
{41}
BREAKER LAPPER.
ALPHABETICAL REFERENCES TO DRAWINGS.
A
Main Driving Pulley, 16 in. dia. x 4-1/4 in. face; 5-1/4 in. face for Two-beater Machine.
A
1Beater Driving Pulley, 30 in. dia. x 4-1/4 in. face.
B
Beater Pulley, 9 in. dia. x 4-1/4 face (occasionally 10 in. dia.)
B
1Feed Pulley, 3 in. to 13 in. dia. x 2-1/4 in. face; advancing by 1/2 in. increments.
B
2Calender Section Fan Driving Pulley, 6 in. dia.x 2-1/4 in. face.
B
3Calender Fan Pulley, 8 in. dia. x 2-1/4 in. face.
B
4Cage Section Fan Driving Pulley, 6 in. dia. x 2-1/4 face for Straight Machine or direct connected Opener and Breaker Lapper. If with Trunking Connection, B
4is 8 in. dia. and B
5is 6 in. dia., to give higher speed of Fan.
B
5Cage Fan Pulley, 8 in. dia. x 2-1/4 in. face for Straight Machine or direct connected Opener and Breaker Lapper. If with Trunking Connection, B
4is 8 in. dia. and B
5is 6 in. dia., to give higher speed of Fan.
C
Driving Pulley for Bottom Cross Shaft, etc., 18 in. dia. x 2-1/4 in. face.
C
1Clutch Driving Gear, 15 T.
D
Large Clutch Gear, 35 T.
D
1Small Clutch Gear, or Bottom Shaft Driving Gear, 17 T.
E
Bottom Cross Shaft Driven Gear, 96 T.
E
1Front Lap Calender Roll Driving Gear, 12 T.
E
2Bottom Cross Shaft Gear, driving Calender Rolls and Top Cross Shaft, 14 T.
F
Large Double Intermediate, driving Top Cross Shaft, 50 T.
F
1Small Double Intermediate, driving Bottom Calender Roll, 27 T.
F
2Bottom Calender Roll, 7 in. dia.
G
Top Cross Shaft Gear, 30 T.
G
1Side Shaft Driving Bevel Gear, 24 T.
H
Side Shaft Bevel Gear, Calender End, 24 T.
H
1Side Shaft Bevel Gear, Feed End, 28 T.
I
Compound Intermediate Bevel Gear, 28 T.
I
1Compound Intermediate Gear, driving Bottom Feed Roll, 37 T.
J
Bottom Feed Roll, 2 in. dia.
{42}J
1Bottom Feed Roll Gear, 33 T.
J
2Cage Section Top Stripping Roll Driving Gear, 9 T.; 8 T. Gear may be used to vary speed.
K
Cage Section Top Stripping Roll Intermediate Gear, 52 T.
L
Cage Section Top Stripping Roll Gear, 14 T.
M
Cage Section Bottom Stripping Roll Gear, 14 T.
M
1Cage Section Bottom Cage Driving Gear, 23 T.
N
Cage Section Bottom Cage Intermediate Gear, 20 T.
O
Cage Section Bottom Cage Gear, 181 T.
O
1Cage Section Top Cage Gear, 181 T.
P
Front Lap Calender Roll, 9 in. dia.
P
1Front Lap Calender Roll Gear, 53 T.
P
2Back Lap Calender Roll Driving Gear, 24 T.
Q
Back Lap Calender Roll Intermediate Gear, 22 T.
R
Back Lap Calender Roll Gear, 24 T.
R
1Back Lap Calender Roll, 9 in. dia.
S
3d Calender Roll Gear, 21 T.
S
13d Calender Roll, 5-1/2 in. dia.
T
2d Calender Roll Gear, 22 T.
T
12d Calender Roll, 5-1/2 in. dia.
U
Top Calender Roll Gear, 23 T.
U
1Top Calender Roll, 5-1/2 in. dia.
V
Calender Section Top Stripping Roll Intermediate Gear, 17 T.
V
1Calender Section Top Stripping Roll Intermediate Gear, 17 T.
W
Calender Section Top Stripping Roll Gear, 14 T.
X
Calender Section Bottom Stripping Roll Gear, 14 T.
X
1Calender Section Bottom Cage Driving Gear, 23 T.
Y
Calender Section Bottom Cage Intermediate Gear, 20 T.
Z
Calender Section Bottom Cage Gear, 181 T.
Z
1Calender Section Top Cage Gear, 181 T.
{43}
BREAKER LAPPERS.
DRAFT CALCULATIONS.
{44}
INTERMEDIATE OR FINISHER LAPPER.
SIDE VIEW OF GEARING
{45}
INTERMEDIATE OR FINISHER LAPPER.
SIDE VIEW OF GEARING
{46}
INTERMEDIATE OR FINISHER LAPPER
PLAN VIEW OF GEARING
{47}
INTERMEDIATE AND FINISHER LAPPERS.
ALPHABETICAL REFERENCES TO DRAWINGS.
A
Main Driving Pulley, 16 in. dia. x 4-1/4 in. face; 5-1/4 in. face for Two-beater Machine.
A
1Beater Driving Pulley, 30 in. dia. x 4-1/4 in. face. for 18-in. Rigid Beater; 22 in. dia. x 4-1/4 in. face for Carding Beater.
B
Beater Pulley, 9 in. dia. x 4-1/4 in. face (occasionally 10 in. dia.)
B
1Feed Pulley, 3 in. to 13 in. dia. x 2-1/4 in. face; advancing by 1/2 in. increments.
B
2Calender Section Fan Driving Pulley, 6 in. dia. x 2-1/4 in. face for 18-in. Rigid Beater, and 8 in. dia. x 2-1/4 in. face for Carding Beater.
B
3Calender Fan Pulley. 8 in. dia. x 2-1/4 in. face.
C
Driving Pulley for Side Shaft, etc., 12 in. dia. x 2-1/4 in. face.
C
1Evener Cross Shaft Bevel Gear, 27 T.
C
2Evener Cross Shaft Change Gear, 55-35 T; diminishing by one tooth.
D
Side Shaft Bevel Gear, Feed End, 27 T.
D
1Side Shaft Bevel Gear, Calender End, 18 T.
E
Large Clutch Bevel Gear, 60 T.
E
1Small Clutch Gear, 17 T.
F
Calender Cross Shaft Driven Gear, 96 T.
F
1Front Lap Calender Roll Driving Gear, 12 T.
F
2Calender Cross Shaft Gear, driving Calender Rolls, 14 T.
G
Large Double Intermediate, driving Bottom Calender Roll, 50 T.
G
1Small Double Intermediate, driving Third Calender Roll 27 T.
G
2Bottom Calender Roll, 7 in. dia.
H
3d Calender Roll Gear, 21 T.
H
13d Calendar Roll, 5-1/2 in. dia.
I
2d Calender Roll Gear, 22 T.
I
12d Calender Roll, 5-1/2 in. dia.
J
Top Calender Roll Gear, 23 T.
J
1Top Calender Roll, 5-1/2 in. dia.
K
Top Stripping Roll Intermediate Gear, 17 T.
K
1Top Stripping Roll Intermediate Gear, 17 T.
L
Top Stripping Roll Gear, 14 T.
{48}M
Bottom Stripping Roll Gear, 14 T.
M
1Bottom Cage Driving Gear, 23 T.
N
Bottom Cage Intermediate Gear, 20 T.
O
Bottom Cage Gear, 181 T.
O
1Top Cage Gear, 181 T.
P
Bottom Cone Change Gear, 35-55 T; advancing by one tooth.
P
1Bottom Cone, driving Top Cone. Letters also represent diameters near the middle of Cones.
Q
Top Cone.
Q
1Worm Shaft Driving Spiral Gear, 9 T.
R
Worm Shaft Spiral Gear, 9 T.
R
1Worm Shaft Worm, double threaded, right hand; equivalent to Gear having two teeth.
S
Worm Gear, 78 T.
S
1Feed Roll and Apron Roll Driving Gear, 12 T.
T
Feed Roll, 3 in. dia.
T
1Feed Roll Gear, 24 T.
U
Apron Roll Gear, 29 T.
V
Front Lap Calender Roll, 9 in. dia.
V
1Front Lap Calendar Roll Gear, 53 T.
V
2Back Lap Calendar Roll Driving Gear, 24 T.
W
Back Lap Calender Roll Intermediate Gear, 22 T.
X
Back Lap Calender Roll Gear, 24 T.
X
1Back Lap Calender Roll, 9 in. dia.
{49}
INTERMEDIATE AND FINISHER LAPPERS.
DRAFT CALCULATIONS.
{50}
PRODUCTION CALCULATIONS.
NOTE—With our latest gearing arrangement, the number of teeth in Knock-off Worm Gear corresponds to the number of yards in the lap.
{51}
INTERMEDIATE AND FINISHER LAPPERS.
DRAFT TABLE.
{52}
AUTOMATIC HOPPER FEEDER
{53}
SELF-FEEDING OPENER (30-IN. CYLINDER)
WITH CAGE SECTION AND CALENDER HEAD
{54}
SELF-FEEDING OPENER (30-IN. CYLINDER)
AND SINGLE BEATER BREAKER LAPPER
{55}
SELF-FEEDING OPENER (18-IN. BEATER)
AND SINGLE BEATER BREAKER LAPPER
{56}
SELF-FEEDING OPENER (18-IN. BEATER) CONNECTED BY TRUNKING TO A SINGLE BEATER BREAKER LAPPER WITH GAUGE BOX AND CONDENSER
{57}
SELF-FEEDING OPENER (30-IN. CYLINDER) CONNECTED BY TRUNKING TO A SINGLE BEATER BREAKER LAPPER WITH GAUGE BOX AND CONDENSER
{58}
SINGLE BEATER INTERMEDIATE OR FINISHER LAPPER
{59}
THREE-PROCESS SYSTEM OF PICKING WITH 20 FT. OF AUTOMATIC CLEANING TRUCK ALSO CONDUCTING TRUNK BETWEEN OPENER AND BREAKER
{60}
{61}
REVOLVING FLAT CARDS.
Our Cards are extensively used, and have won for themselves a high reputation for the quality and quantity of work they will do, the small percentage of waste made, and their durability and simplicity.
CHARACTERISTICS.
- Rigid Bend, mathematically correct at all stages of wear of the wire.
- Perfect concentricity of Flats to Cylinder. Cylinder Pedestals are adjustable.
- Arrangements for adjusting Flats whereby accuracy to the thousandth part of an inch is obtained.
- Better quality of yarn made from the same cotton, or equally good yarn made from cheaper cotton.
- Card Clothing throughout is of best Hardened and Tempered Steel Wire, Plough Ground or Needle Pointed.
- Patent Doffer Slow Motion, to facilitate piecing up of broken sliver.
- Patent method of securing Clothing to the Flats; neatest, cleanest and most effective.
- Patent Top Flat Grinding Arrangement for grinding from the working seating of the Flats.
- Patent Flat Stripping Motion, which insures perfect stripping without damage to the Clothing on the Flats.
- Back Bends or Circles for supporting Flats and preventing sagging and stretching of chains.
{62}
FLAT GRINDING MOTION
{63}
The following paragraphs briefly describe some of the points of advantage in the design and construction of our machines:
CYLINDERS AND DOFFERS are carefully balanced at a high speed and are ground after being turned, making a perfectly true surface for the Card Clothing.
GOOD SELVAGES—Both Cylinders and Doffers are clothed to the extreme edges, which prevents ragged selvages.
PROTECTION OF CLOTHING—The Doffers are provided with flanges to protect the Clothing, keep the edges firm and prevent the wire from being knocked down. Turned iron flanges on the Bends, and Segment Rings fixed to the inside of the lower part of the framing protect the edges of the Cylinders all the way round. The Doffers are made 1/8 in. wider than the Cylinders in order to keep the edges of the latter clean.
PREVENTION OF ACCUMULATION OF FLY—The Segment Rings which are fitted close to the edges of the Cylinder project in such a way as to form a circle two inches larger than the diameter of the Cylinder. The Underscreens are attached to these Segment Rings, and this arrangement makes it impossible for fly to collect inside the Screens or about the edges of the Cylinders and Doffers.
ELECTRICAL TESTS—All Bends and Flats are tested at our works by special electrical apparatus, and this method of testing gives greater accuracy than can be obtained in any other way. More accurate Bends and Flats make closer settings possible.
PERCENTAGE AND ALL CASING-OFF PLATES are made of steel, polished inside and out, and bent to conform to the surface of the cylinder. Each plate is set by gauge to the Cylinder, and the closing up of all air spaces makes the accumulation of fly and cloudy carding impossible.
ADJUSTMENTS—Convenient adjusting arrangements with setting screws and lock nuts are provided for the Knife Plates, Doffers and Licker-ins. These are all on the outside of the machine and are accessible and easily adjusted.
{64}
{65}
LICKER-IN SHIELDS—To prevent the accumulation of fly around the bearings and pedestals and the climbing of oil over the ends of the Licker-in onto the clothing, we supply stationary shields at each end.
UNDERSCREENS AND FEED PLATES—Our Underscreens are specially heavy and well constructed, and our Feed Plates are very carefully finished and fitted. We supply special Underscreens and Feed Plates for long staple cotton.
ADJUSTABLE CYLINDER PEDESTALS—The bearings for the Cylinders are made of phosphor bronze and the pedestals are adjustable either vertically or horizontally. This is a very important point, because the concentricity of the Cylinder with the Bends can be maintained as the bearings wear. The construction of our Card side is such that a very rigid support is given to the pedestals.
FLAT RELEASE—This is a very simple and convenient attachment to the Flat Driving Arrangement, which makes one of the worm gears loose on its shaft and enables the Flats to be easily turned by hand with a suitable wrench.
CONICAL BUSHINGS—The Cylinders are fastened onto the shafts by means of split conical bushings which are forced into place and prevent any possibility of the Cylinders working loose.
{66}
SECTIONAL VIEW
PLAN VIEW
PATENT SETTING ARRANGEMENT FOR FLATS
{67}
PATENT SETTING ARRANGEMENT FOR FLATS.
The cuts on page 66 are sectional and plan views of this arrangement.
A—Index Nut which bears against outside of Rigid Bend D.
B—Setting Key with fluted teeth, which gear into the teeth on Nut C.
C—Toothed Steel Nut which bears against the inside of Rigid Bend D.
D—Rigid Conical Bend which is moved in or out.
E—Flexible Conical Bend which rests on D and carries the Flats.
As the Index Nuts A and the Toothed Nuts C are turned one way or the other, they move the Rigid Bend D in or out, and thus raise or lower the Flexible Bend E.
The Flats rest on the Flexible Bend E and are raised or lowered with it. Each division on the Index Nuts A represents 1/1000 part of an inch, and by turning these Nuts one division, the Flats are raised or lowered to this extent.
Our Patent Conical Concentric Bends have five setting points on each side of the machine. The Bends and Flats can be kept perfectly concentric with the Cylinder at every point until the Clothing is worn out. No other arrangement has secured such accuracy nor has any adjustment yet been invented which approaches this one for reliability and simplicity.
When the Flats are once set they remain set, and cannot be tampered with. Special wrenches are required for turning the Index Nuts A and Lock Nuts C, and if these wrenches are kept by the one who has charge of the settings, no unauthorized person can change same.
Close accurate settings enable our Card to do the finest quality of work and at the same time give the maximum production.
{68}
WILLIAMS PATENT STRIPPING MOTION.
This Motion enables the Card to do better work and increases the life of the Flat clothing.
Perfect Flat Stripping can only be obtained with a Motion which keeps the Comb at an even and fixed distance from the wire clothing at all points over the entire width of the Flat. The Williams Patent Stripping Motion, for which we hold sole rights for America, meets this essential requirement and therefore does what no other Motion has succeeded in doing. In the old system, the Comb is kept at a fixed distance from the framing of the machine, which is correct as long as there is no variation in the position of the Flats as they pass under the Comb. In practice, it is impossible to {69} prevent a certain amount of tilting or raising of the Flats, due to the wearing of the chains and sprockets and also to dirt getting under the Flats. With the Williams system the stripping is perfectly done no matter what the tilting may be, and even if the Flats are forced away from their true position through any cause, the Comb follows the Flat and maintains its distance. There is no comb which will not catch and damage the wire if the setting becomes too close on account of the clearance not being kept uniform.
In the Williams Stripping Motion the Comb stock is mounted at each end in bearings which slide in guides away from or toward the Flats. The accurate setting of the Comb is maintained by means of shoes which press against the working seatings of the Flats and govern the position of the sliding Comb stock bearings. The shoes have adjusting screws to regulate the setting of the Comb, and the shape of the shoes is such as to allow for the heel of the flat. The sliding bearings of the Comb stock are pressed inward by springs which keep the shoes against the working seatings of the Flat. The Comb blade is given a receding motion which effectually strips all impurities from the wire. This action, together with the fact that it is impossible for the wire on the Flats to be forced into the Comb through the accumulation of dirt or fly on the blocks or Flat seatings, makes this Stripping Motion the most perfect on the market.
{70}
REVOLVING FLAT CARD
{71}
STANDARD DIMENSIONS.
Cylinder, 50 in. dia. on iron.
Doffer, 26 in. dia. on iron.
Licker-in, 9 in. dia., clothed with inserted metallic Saw Teeth.
110 Flats, 43 of which are working on the Cylinder at the same time.
HAND OF MACHINE—Cards are usually built Right Hand, i. e., with driving pulleys on right hand side when facing feed or lap. Left hand machines are built when specified.
DRIVING PULLEYS—20 in. dia., 3-1/8 in. face, T. & L. SPEED—Cylinder, 160 to 170 r. p. m., usually 165 r. p. m.
PRODUCTION—This is determined by the quality of carding required and the kind and grade of cotton used, and varies largely.
American
600 to 1,200 lbs.
in 60 hours.
Egyptian
400 to 650 lbs.
in 60 hours.
Sea Island
200 to 400 lbs.
in 60 hours.
Peeler
300 to 600 lbs.
in 60 hours.
FLOOR SPACE.
Length of Card over all (10-in. coiler) 10 ft. 4 in.
Length of Card over all (12-in. coiler) 10 ft. 5 in.
Width of Card, 40 in. wide on wire (40 in. to 41 in. lap) 5 ft. 6 in.
Width of Card, 45 in. wide on wire (45 in. to 46 in. lap) 5 ft. 11 in.
See page 72 for floor plan.
{72}
PLAN OF REVOLVING FLAT CARD
{73}
REVOLVING FLAT CARD.
ALPHABETICAL REFERENCES TO DRAWING.
A
Feed Roll, 2-1/4 in. dia.
A
1Feed Roll Spur Gear, 17 Teeth.
A
2Large Plate Bevel Gear, usually 120 Teeth.
B
Draft Change Gear, 10 to 30 Teeth
B
1Side Shaft Bevel Gear, 22 Teeth (or 34).
C
Doffer Bevel Gear 22 Teeth (or 24).
C
1Grinding Pulley, 11 in. dia., 2-1/4 in. face.
C
2Doffer Gear, 180 Teeth.
D
Disengaging Intermediate Gear, 51 Teeth.
E
Calender Intermediate Gear, 51 Teeth.
F
Calender Change Gear, 18 or 19 Teeth.
F
1Bottom Calender, 2-7/8 in. dia.
F
2Coiler Driving Gear, 24 or 25 Teeth.
G
Coiler Change Gear, 16 Teeth.
G
1Coiler Driving Bevel Gear, 20 Teeth.
H
1Coiler Top Upright Bevel Gear, 20 Teeth.
I
Coiler Calender Bevel Gear, 20 Teeth.
I
11st Coiler Calender Spur Gear, 20 Teeth.
I
21st Coiler Calender, 2 in. dia.
J
2nd Coiler Calender, 2 in. dia.
J
12nd Coiler Calender Spur Gear, 20 Teeth.
N
Driving Pulley, 20 in. dia., 3-1/8 in. face; Band Pulley, 21-3/4 in. dia.
N
1Licker-in Driving Pulley, 19 in. dia., 2-1/4 in. face.
N
2Flat Driving Pulley, 6-1/2 in. dia., 3-1/4 in. face.
N
3Comb Driving Band Pulley, 22 in. dia. for 5/16 in. dia. band.
O
Licker-in Driven Pulley, 7 in. dia., 2-1/4 in. face.
O
1Barrow Gear Driving Pulley, 6 in. dia., 2-1/8 in. face.
P
Barrow Gear Driven Pulley, 9 in. dia., 1-1/2 in. face.
P
1Barrow Spur Gear, usually 26 Teeth, also 24 and 28 Teeth.
Q
Doffer Lever Intermediate Gear, 104 Teeth.
Q
1Doffer Change Gear, 17 to 40 Teeth.
R
1st Lap Roll Intermediate Gear, 40 Teeth.
S
2nd Lap Roll Intermediate Gear, 40 Teeth.
T
Lap Roll Gear, 48 Teeth.
T
1Lap Roll, 6 in. dia.
U
Double Band Intermediate Pulley for Comb 9-3/8 in. dia.
U
1Double Band Intermediate Pulley for Comb 6 in. dia.
V
Comb Box Pulley 3-3/8 in. dia.
V
1Comb Box Pulley 4-1/8 in. dia.
W
Doffer Comb.
{74}
REVOLVING FLAT CARD.
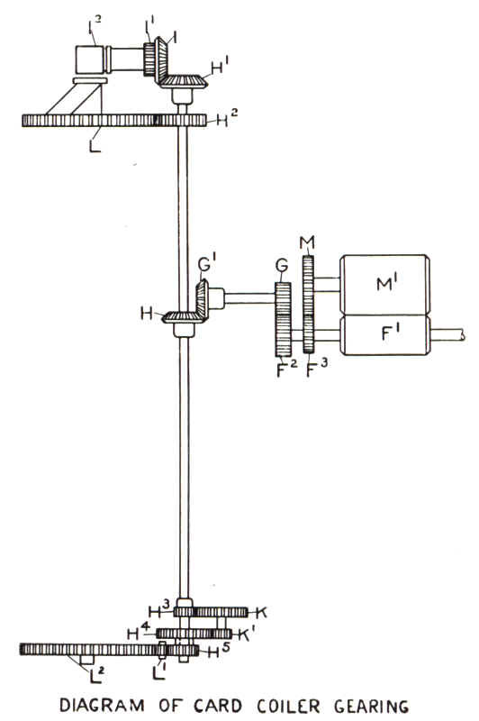
DIAGRAM OF CARD COILER GEARING
F
2Coil Driving Gear; 24 Teeth for 10-in. Coiler, 25 Teeth for 12-in. Coiler.
F
3Top Calender Driving Gear, 23 Teeth.
G
Coiler Change Gear, 16 Teeth.
G
1Coiler Driving Bevel Gear, 20 Teeth.
H
Coiler Middle Upright Bevel Gear, 20 Teeth.
H
1Coiler Top Upright Bevel Gear, 20 Teeth.
H
2Tube Gear Driving Gear, 25 Teeth.
H
3Upright Shaft Can Bottom Driving Gear. 15 Teeth.
H
4Coiler Double Intermediate Gears, 44 Teeth.
H
5Coiler Double Intermediate Gears, 15 Teeth.
I
Coiler Calender Bevel Gear, 20 Teeth.
I
11st Coiler Calender Spur Gear, 20 Teeth.
I
21st Coiler Calender, 2 in. dia.
K
Coiler Double Intermediate Gears, 44 Teeth.
K
1Coiler Double Intermediate Gears, 15 Teeth.
L
Tube Gear, 75 Teeth for 10-in. Coiler, 98 Teeth for 12-in. Coiler.
L
1Can Bottom Intermediate Gear; 17 Teeth for 10-in. Coiler; 22 Teeth for 12-in. Coiler.
L
2Can Bottom Gear, 84 Teeth.
M
Top Calender Gear, 34 Teeth.
M
1Top Calender, 4-1/4 in. dia.
{75}
REVOLVING FLAT CARDS.
DRAFT CALCULATIONS.
{76}
{77}
REVOLVING FLAT CARD.
DOFFER CHANGE GEAR TABLE.
NOTE
Licker-in Driving Pulley, 19 in. dia.
Licker-in Driven Pulley, 7 in. dia.
Barrow Gear Driving Pulley. 6 in. dia.
Barrow Gear Driven Pulley, 9 in. dia.
Doffer Lever Intermediate Gear, 104 Teeth.
Doffer Gear, 180 Teeth.
{78}
REVOLVING FLAT CARD.
PRODUCTION PER DAY OF TEN HOURS.
NOTE—5 per cent. has been deducted in the above table for cleaning, stripping. etc.
{79}
REVOLVING FLAT CARD.
DRAFT TABLE.
NOTE—The draft is figured between the 6 in. dia. Lap Roll and 2 in. dia. Coiler Calender Rolls.
DECIMAL EQUIVALENTS.
{80}
CARD CLOTHING.
The English system of numbering Card Clothing is now generally used by Cotton Mills. We give below the numbers and points per square foot:
Numbers
Pts. per Square Foot
80s
57,600
90s
64,800
100s
72,000
110s
79,200
120s
86,400
130s
93,600
The following numbers are generally used for Cylinders: Coarse, heavy work, 80s and 90s; medium to fine work, 100s and 110s; fine work, 120s and 130s.
Doffers are usually 10 numbers higher or finer than Cylinders.
There is considerable variation in the Clothing used for Tops. Some prefer thinner set than the Cylinders, others about the same as the Cylinders, and a few the same numbers as the Doffers.
{81}
{82}
{83}
DRAWING FRAMES.
The Howard & Bullough Patent Electric Stop Motion Drawing Frame has proved one of the most successful machines ever invented, and there are large numbers of deliveries at work in every Cotton Spinning country.
We build both Electric and Mechanical Stop Motion Frames, but the great majority of our orders are for machines with Electric Stop Motions.
The quality of sliver produced by these machines cannot be surpassed; a great saving in waste "single" and roller laps is effected, and production is increased.
Machines stop:
1st—When sliver breaks at back or a can runs out.
2d—When top or bottom front roll laps up.
3d—When sliver breaks in front.
4th—When cans are full.
5th—When back electric roll or clearer laps up.
On account of the positive and quick action of the Electric Stop Motions, machines can be run at a much higher speed, in case of necessity, than Mechanical Stop Motion Frames.
The tops of Electric Stop Motion Frames, being free from the many small parts and projections which are a necessity on Mechanical Stop Motion Frames, are much more easily kept clean, and "fly" is not carried into the sliver, besides which a great many delicate and troublesome Mechanical Stop Motion parts are done away with.
{84}
{85}
FRAMING AND CONSTRUCTION—The machines are built with low, rigid framing. Can tables set into or on top of the floor.
BOTTOM FLUTED ROLLS are made in one length and are irregularly fluted so as to prevent cutting of top rolls. The usual diameters are 1-3/8 in. front, 1-1/8 in. second, third and fourth lines.
TOP ROLLS are usually 1 in. dia. on iron. The front line can have Loose Boss or Loose Ends; the latter are now in extensive use and are generally preferred.
ROLLER STANDS are made with separate adjustable slides or bearings, so arranged that the top and bottom rolls move together when setting for different lengths of staple. The Roller Stands and Slides have brasses cast in them for roller bearings.
CALENDER ROLLS are made of steel, turned, ground and polished.
DRAFT GEARING—All Draft and Roller Gears are cut. Changes of Draft are very easily made, and the gearing is well protected with polished covers.
COILERS are made for cans 36 ins. long, 9, 10, 11 or 12 ins. dia. as required.
TENSION—Our fine pitch gearing for the take-up of the sliver between the fluted rolls and the Calender rolls enables a nice adjustment to be made for either ordinary or metallic rolls, and reduces the stretching, sagging and breakage of the sliver, preventing stoppage and waste.
TRUMPETS—These are made separate from the calender plates and can easily be taken out. This method is an advantage over the old style, as trumpets wear in time and when worn do not sufficiently condense the sliver. With this system they can easily be replaced.
BACK GUIDES for both Electric and Mechanical Stop Motion Frames are designed so as to separate the slivers and keep kinks from going into the rolls, thus preventing lumpy and uneven work.
{86}
FRONT VIEW OF DRAWING FRAME WITH CANS REMOVED
{87}
CLEARERS—Both top and bottom rolls have Clearers. We apply a patented and very successful Clearer to the Calender rolls which prevents fly from sticking to them and being carried in to the sliver.
WEIGHT RELIEVING MOTION—This is applied to all frames for taking the pressure off the rolls when the frames are stopped.
All rolls are weighted separately. Usual weights are 20 lbs. front line; 18 lbs. second line; 16 lbs. third line; 14 lbs. fourth line.
TRAVERSE MOTION is applied to all frames with leather covered top rolls.
METALLIC TOP AND BOTTOM ROLLS—The front bottom roll is usually 1-3/8 in. dia., and the other three lines of bottom rolls as well as the top rolls, all 1-1/8 in. dia.
Front and second lines are usually 32 pitch; third line 24 pitch and back line 16 pitch. The top rolls have Loose Ends. Weights usually 14 lbs. on all lines.
ERMEN TOP CLEARERS—The cloth of these Clearers revolves over 2 rolls (one of which is positively driven) and comes in contact with all the top rolls. This revolving clearer is placed inside of our top clearer cover, and is stripped by a Comb through an opening in the top of the cover. This clearer meets with great favor in fine mills, where combed long staple cotton is worked.
DRIVING PULLEY AND SPEED—The Driving Pulley on the Bottom Shaft is usually 16 in. dia., 3 in. or 4 in. face and can be placed at either end of the frame. The usual speed of this shaft is 250 r. p. m., which gives a calculated speed of 363 r. p. m. of Front Roll. One rev. of shaft equals 1-5/11 of Front Roll.
{88}
FLOOR PLANS OF DRAWING FRAMES.
{89}
{90}
LENGTHS OF DRAWING FRAMES, 16-IN. GAUGE.
Above lengths are over all, including Driving Pulley.
For widths, see Floor Plans, pages 88 and 89
Drawing Frames are usually made with 4, 5 or 6 deliveries per head or table, and 2, 3 or 4 heads per frame, but can be made with more or less deliveries per head, and more or less heads per frame.
{91}
DRAWING FRAMES.
PRODUCTION PER DAY OF TEN HOURS.
NOTE—In the above table 20 per cent. has been deducted for stops, cleaning, etc.
{92}
DRAFT GEARING FOR DRAWING FRAMES
{93}
DRAWING FRAMES.
ALPHABETICAL REFERENCES TO DIAGRAM.
A
Electric Roll Gear, 24 Teeth for Common Rolls, 20 Teeth for Metallic Rolls.
B
Off End Back Roll Gear. 24 Teeth for Common Rolls, 29 Teeth for Metallic Rolls.
*C
Small Double Intermediate, driving 3d Roll.
D
Large Double Intermediate, driving 3d Roll, 40 Teeth for Common Rolls, 36 Teeth for Metallic Rolls.
E
Off End 3d Roll Gear, 24 Teeth.
*F
Off End 2d Roll Gear.
*G
Small Double Intermediate, driving 2d Roll.
*H
Large Double Intermediate, driving 2d Roll.
I
Off End Front Roll Gear, 20 Teeth.
J
Back Roll Gear, 45 to 80 Teeth.
K
Draft Change Gear, 45 to 70 Teeth.
*L
Crown Gear.
*M
Front Roll Gear.
N
Front Roll Calender Driving Gear, 16 Teeth for Common Rolls, 19 Teeth for Metallic Rolls.
O and P
Double Intermediate Gear, 52 and 91 Teeth for 10-in. Coiler, 62 and 108 Teeth for 12-in. Coiler.
Q
Calender Roll Gear, 58, 59, 60 Teeth for Common Rolls, 52, 53, 54 Teeth for Metallic Rolls.
R
Coiler Horizontal Shaft Gear, 21 to 26 Teeth (driven by O through Carrier Gear).
S
Tube Wheel, 75 Teeth for 10-in. Coiler, 98 Teeth for 122 in. Coiler.
T
Coiler Vertical Shaft, Top Bevel Gear, 32 Teeth for 10 in. Coiler, 37 Teeth for 12-in. Coiler.
NOTE—For teeth on gears marked * refer to table on page 96.
{94}
DRAWING FRAMES.
DRAFT CALCULATIONS.
The above figures are for Total Draft up to and including the 3-in. dia. Calender Rolls. When Graduated Pitch Metallic Rolls are used, and it is desired to figure drafts between them, the following equivalents are approximately correct:
1-3/8-in. dia. Roll, 32 pitch, taken as 11/6-in. or 1.83-in. dia.
1-1/4-in. dia. Roll, 32 pitch, taken as 10/6-in. or 1.67-in. dia.
1-1/8-in. dia. Roll, 32 pitch, taken as 9/6-in. or 1.50-in. dia.
1-in. dia. Roll, 32 pitch, taken as 8/6-in. or 1.33-in. dia.
1-1/8-in. dia. Roll, 16 pitch, taken as 10/6-in. or 1. 67-in. dia.
1-in dia. Roll, 16 pitch, taken as 9/6-in. or 1.50-in. dia.
{95}
PRODUCTION CALCULATIONS
The greater production with Metallic Rolls over Common Rolls for a given number of revs. is due to the meshing of the flutes, which increases the effective circum. of the rolls about 33 per cent. This accounts for the difference in the gears driving the Calender Rolls.
Short rules for production in 10 hours based on 20 per cent. allowance for stops, etc., and 1-3/8 in. dia. front bottom roll.
Common Rolls—.852 x R. P. M. of Front Roll x Wt. of Sliver in grains = Lbs. in 10 hours.
Metallic Rolls—1.126 x R. P. M. of Front Roll x Wt. of Sliver in grains = Lbs. in 10 hours.
{96}
DRAWING FRAMES.
GEARING COMBINATIONS, DRAFT CONSTANTS AND DRAFTS FOR MACHINES WITH 1-3/8-IN. FRONT ROLL.
The above constant and drafts are figured up to and including the 3-in. Calender Rolls. Draft Gear K is the usual change gear.
When making extreme draft changes the best results will be obtained by following the above arrangements of gearing.
{97}
TABLE FOR NUMBERING CARD OR DRAWING SLIVERS.
8.333/Wt. in grains of 1 yd. of Sliver = Hank.
8.333/Hank = Wt. in grains of 1 yd. of Sliver.
100/Wt. in grains of 12 yds. of Sliver = Hank.
Refer to Table of Dividends, page 233.
{98}
SECTION OF DRAWING FRAME
SHOWING ELECTRIC STOP MOTIONS
{99}
EXPLANATION OF ELECTRIC STOP MOTIONS.
Our improved Magneto or Dynamo for producing current to operate the Stop Motions is designed on the "Induction" principle, so that the current is generated in the stationary winding, and no brushes or collectors are needed. This type of machine is very simple, requires little attention, and gives a steady current, no matter how much dirt, lint or oil collects on same.
The Drawing Frame is divided into two parts by means of insulations (indicated by the solid black portions of cut on opposite page). One part, shown with double cross lines, is connected to the Magneto through the down-rod A, and the other part through the down-rod B.
It will be seen that in the case of each Stop Motion the parts are kept from touching each other by cotton passing between them (cotton being a non-conductor of electricity) or are brought into contact with each other by rollers lapping up or by the pressure of the cotton in the full cans.
The machine stops when the electric circuit is completed, allowing the current to flow through Magnet T, which attracts finger U into engagement with Revolving Clutch V, and by a mechanical arrangement shifts the belt on to the loose pulley.
As the frame stops, the part X forces the finger U away from the Clutch, and the current is broken by the piece Y which moves out of contact with the spring Z. When the frame is running, Y is in contact with both the springs Z and J. As the machine stops, the movement of Y takes it out of contact with Z, but J should always press against Y.
{100}
STOP MOTION No. 1—C is the top electric roll which rests in Cap Bar D, and E is the bottom electric roll. As long as the sliver remains between the rolls they are kept apart and there is no circuit. When the sliver breaks or a can runs out the rolls come together and the frame knocks off.
STOP MOTION No.2—The Top Clearer Cover H has a screw K on the under side. If the cotton laps around the top or bottom front roll, the top roll is lifted and comes in contact with screw K, which completes the circuit and the machine stops.
STOP MOTION No. 3—The cotton sliver prevents the calender rolls L and M from touching each other. If the sliver breaks, the rolls touch and the machine stops instantly.
STOP MOTION No. 4—When the cans at the front are full and cotton presses against the coiler top N, it is lifted into contact with the spring O, and the circuit is completed, stopping the machine.
STOP MOTION No.5—The Underclearer P presses against the bottom electric roll E. In case the cotton laps around E or P, the screw Q is lifted and touches the Back Plate G, completes the circuit and the frame knocks off.
{101}
{102}
SLUBBING FRAME (RIGHT HAND)
{103}
SLUBBING, INTERMEDIATE, ROVING AND JACK FRAMES.
These frames are so well known to the users of Cotton Machinery that no general description is necessary. They have extra heavy framing, are made entirely by special tools, and all parts are exact duplicates. They are of superior construction and finish, and will stand the highest speeds without vibration or breakage. They contain many valuable patented improvements, some of which are described below.
PATENT SWING—Well supported and with one (large) Carrier Gear only.
IMPROVED DIFFERENTIAL MOTION—This motion effects a great saving in power, wear and tear, and gives more accurate winding and consequently evener and better work. See page 106.
IMPROVED LAY GEARING dispenses with all bevel change gears, gives two change places instead of one, is simple and convenient, and allows free access to the main gearing. See page 109.
IMPROVED METHOD OF LIFTING AND LOWERING BOTTOM CONE DRUM—Both ends of the cone are raised or lowered together from the front of the machine. The belt is kept at a uniform tension from one end of the cone to the other. A patent locking device secures the cone in its proper working position, after doffing, preventing all movement or vibration.
IMPROVED METHOD OF TIGHTENING THE CONE BELT does away with frequent taking-up. When slack, the belt may be tightened in a few moments by means of a Quadrant Bracket. Over 5 in. of stretch can be taken care of without re-piecing. A great saving is effected in labor, stoppages and cone belts.
WINDING BACK THE RACK AND CONE BELT is done from the front of the machine.
IMPROVED SYSTEM OF BALANCING THE TOP OR BOBBIN RAIL—This rail, with its gearing, collars, bobbins, etc., is now supported under its center of gravity by a set of levers, thus relieving the slides and racks of this weight. This system prevents friction and wear of slides, also the tendency to dwell at the changes of the traverse both top and bottom.
{104}
ROVING FRAME (RIGHT HAND)
{105}
If slides wear, the Long Collars tilt forward, the top rail, spindles, bobbins and flyers vibrate, causing bad work and loss of production. This is prevented by our improved system.
PATENT REVERSING AND LET-OFF MOTION entirely prevents the roving running over the ends on the changes. The speed of the bobbin changes simultaneously with the reversal of the lifting rail and thus overcomes the liability of stretching the roving.
FULL BOBBIN STOP MOTION is very effective in its action and prevents overfilling the bobbins. The frame cannot be started after the completion of a set until doffed and the rack has been wound back.
IMPROVED TOP CLEARERS—These are made of polished steel, very light and easy to clean. The hinging is so arranged that any clearer can be easily removed.
LONG COLLARS OR BOLSTERS are fastened in a vertical position by an improved method which prevents their working loose. They are bored throughout their entire length, thus reducing the liability of dirt accumulating inside and causing the spindles to bind.
PATENT RECESSED SELF-LUBRICATING SPINDLE FOOT—This has proved one of the most successful inventions, and is in extensive use. It ensures constant lubrication, prevents wear, and is easily kept clean.
BEARINGS INLAID WITH BRASS—All Bobbin and Spindle Shaft Bearings, Roller Stands and Slides are inlaid with brass.
DRIVING ENDS OF BOBBIN AND SPINDLE SHAFTS are case hardened and are in short lengths, so that they can be easily taken out even when frames are placed end to end with narrow passages between them. This is a great convenience, as it avoids the necessity of having to remove a great many shaft gears. The shafts can be lifted out with the gears on them.
AUTOMATIC PANEL LOCKING ARRANGEMENT prevents the frame from being started if any of the gearing end panels are not in place.
{106}
DIFFERENTIAL MOTION
{107}
IMPROVED DIFFERENTIAL MOTION.
All the gears on the Jack Shaft revolve in the same direction as the shaft itself. This reduces considerably the work the cone belt has to do, saves power, and gives more accurate winding and evener and better work.
A1 (40 teeth) drives the Spindle Shafts and S1 (50 teeth) drives the Bobbin Shafts. The gears on the Spindle and Bobbin Shafts are alike, i. e., they have the same number of teeth.
As the cut shows the number of teeth in all the gears of the Differential, it will readily be seen that if Q and Q1 are held stationary, the speed of S1 will be retarded 1 rev. for every 5 revs. the Jack Shaft makes, and the spindles and bobbins will be running at the same speed, no winding taking place. Winding is produced by the bobbins running faster than the spindles, therefore Q, which is driven from the bottom cone through carrier gears, must revolve. Its speed changes as the bobbins increase in diameter, being governed by the position of the cone belt, which is shifted slightly as each layer is put on the bobbins.
{108}
CASING-OFF PLATES—The Front Casing-off Plates for Bobbin and Spindle Shafts are made of polished steel and are circular in shape. They are light, strong, cannot be broken, and are easily kept clean.
IMPROVED CAP BARS—Cast-iron Cap Bars give trouble on account of the fingers being twisted, and frequent breakages. The illustrations show the construction of our improved Cap Bar, which entirely obviates these difficulties. Figure 1 is a back view of our Cap Bar applied to a machine with four spindles in a box, and Figure 2 an end view of same. Figures 3, 4 and 5 show enlarged details.
IMPROVED CAP BARS
The Cap Bars are fastened to the Roller Stands by brackets which are independent of the slides, and consequently the rolls can be set without moving the Cap Bars. When resetting the rolls it is only necessary to adjust the nebs for the middle and back lines, as the front nebs do not have to be disturbed.
{109}
IMPROVED LAY GEARING.
To facilitate making changes in the Lay Gears, we have provided two change places instead of one. Formerly it was the practice to change the gear on the end of the Reversing Shaft or the one between the Reversing Bevels.
In order to bring the change gears into a more convenient position and at the same time increase the range, we have introduced two additional spur gears. One of these is now the regular change gear, and is on a stud carried by an adjustable Quadrant Bracket. The short shaft carrying the bevel gears is now in a horizontal position instead of vertical.
{110}
Besides providing for two change places, this improvement dispenses with the Back Cross Rail and allows free access to the main gearing. Any part of the gearing can be taken out and replaced with ease.
There is no longer any necessity of changing any bevel gears. There are two spur gear changes, either of which may be used and which give a very wide range. The entire arrangement is very simple and convenient.
Other sizes of Spindles, Long Collars, Bobbin Gear Tops and Rolls will be supplied when necessary.
DRIVING PULLEYS are usually 16 in. dia., 3 in. face.
SPEEDS—See pages 111 and 112.
PRODUCTION—See pages 113 to 117.
{111}
SPEED TABLE.
SLUBBING AND INTERMEDIATE FRAMES
{112}
SPEED TABLE.
ROVING AND JACK FRAMES.
{113}
SLUBBING FRAMES.
PRODUCTION PER DAY OF TEN HOURS.
NOTE—The above table is based on ordinary twist, 1.20 x square root of hank, with an allowance of 15 minutes per set for doffing and stops.
{114}
INTERMEDIATE FRAMES.
PRODUCTION PER DAY OF TEN HOURS.
NOTE—The above table is based on ordinary twist, 1.20 x square root of hank, with an allowance of 15 minutes per set for doffing and stops.
{115}
ROVING FRAMES.
PRODUCTION PER DAY OF TEN HOURS
NOTE—The above table is based on ordinary twist, 1.20 x square root of hank, with an allowance of 15 minutes per set for doffing and stops.
{116}
ROVING FRAMES.
PRODUCTION PER DAY OF TEN HOURS.
NOTE—The above table is based on ordinary twist, 1.20 x square root of hank, with an allowance of 15 minutes per set for doffing and stops.
{117}
JACK FRAMES.
PRODUCTION PER DAY OF TEN HOURS.
NOTE—The above table is based on ordinary twist, 1.20 x square root of hank, with an allowance of 15 minutes per set for doffing and stops.
{118}
FLOOR PLANS OF SPEEDERS.
SLUBBING FRAME R.H.
INTER, FRAME R.H.
ROVING FRAME R.H.
NOTE—The HAND of a speeder is determined by the end on which the driving pulley is located when facing the spindles.
{119}
LENGTHS OVER ALL OF SLUBBING FRAMES.
NOTE—If the projection of fender bracket be taken into account, add 2 inches to the above lengths.
{120}
LENGTHS OVER ALL OF INTERMEDIATE FRAMES.
NOTE—If the projection of fender bracket be taken into account add 2 inches to the above lengths.
{121}
LENGTHS OVER ALL OF ROVING FRAMES.
NOTE—If the projection of fender bracket be taken into account, add 2 inches to the above lengths.
If double boss rolls, the number of spindles must divide by four.
{122}
LENGTHS OVER ALL OF JACK FRAMES.
NOTE—If the projection of fender bracket be taken into account, add 2 inches to the above lengths.
If double boss rolls, the number of spindles must divide by four.
{123}
FRONT ELEVATION OF HEAD END GEARING—ROVING FRAME
{124}
ELEVATION AND SECTION OF HEAD END GEARING—ROVING FRAME
{125}
ROVING FRAMES.
ALPHABETICAL REFERENCES TO DRAWINGS
{126}
ROVING FRAMES-CONTINUED.
ALPHABETICAL REFERENCES TO DRAWINGS.
{127}
SLUBBING, INTERMEDIATE, ROVING AND JACK FRAMES.
DRAFT CALCULATIONS.
{128}
The following table may be used in calculating the required Laps per Inch on Bobbin for any given hank roving:
{129}
1 hank or below, 7.5 x square root of hank = Laps per Inch
1 hank to 2 hanks, 8.5 x square root of hank = Laps per Inch
2 hanks to 3 hanks, 9.5 x square root of hank = Laps per Inch
3 hanks to 4 hanks, 10.0 x square root of hank = Laps per Inch
4 hanks and above, 10.5 x square root of hank = Laps per Inch
Good results are obtained by using 9.3 x square root of hank.
TAPER AND TENSION CALCULATIONS.
It is difficult to give hard and fast rules for figuring the Taper and Tension Gears, as the required number of teeth on these gears is affected by the kind of stock, length of staple, amount of twist, temperature and humidity.
PRODUCTION CALCULATIONS.
{130}
SLUBBING, INTERMEDIATE, ROVING AND JACK FRAMES.
DRAFT TABLES.
NOTE-The above is for front and back rolls the same dia.
{131}
SLUBBING, INTERMEDIATE, ROVING AND JACK FRAMES.
KEY TO TWIST TABLES.
(See pages 132 and 133 for complete Twist Tables.)
Combinations Nos. 1, 2, 3 and 4 are for Slubbing and Intermediate Frames with 1-1/4-inch dia. Front Roll.
Combinations Nos. 5, 6, 7, 8 and 9 are for Roving and Jack Frames with 1-1/4-inch dia. Front Roll.
Combinations Nos. 10, 11, 12, 13 and 14 are for Roving and Jack Frames with 1-1/8-inch dia. Front Roll.
{132}
SLUBBING, INTERMEDIATE, ROVING AND JACK FRAMES—TWIST TABLES.
(See page 131 for key to these tables.)
{133}
SLUBBING, INTERMEDIATE, ROVING AND JACK FRAMES-TWIST TABLES.
(See page 131 for key to these tables.)
{134}
SLUBBING, INTERMEDIATE, ROVING AND JACK FRAMES.
LAY GEARING AND CONSTANTS.
There are two change gears in the lay combination, the Reversing Shaft Change Gear Z2 and the Lay Change Gear W1. Although we have given the full list of Lay Gearing in the above table, only the gears marked * are variable, the others being the same for all frames. The regular change gear is W1 and the table on the next page gives lay constants for a range of Reversing Shaft Change Gears Z2 from 14 to 22 inclusive. To find the correct lay constant select the proper {135} Lay Gearing Combination from the nine given above, note the number of teeth on the Reversing Shaft Change Gear Z2 and take the constant which corresponds in the table below. For example, the lay constant for a frame with gearing like No.4 combination and a 16 T. Reversing Shaft Change Gear is 437.9. This divided by the number of teeth on the Lay Change Gear W1 will give the laps per inch on the bobbin.
TABLE OF LAY CONSTANTS FOR GEARING COMBINATIONS No.1, No.9 AND REVERSING SHAFT CHANGE GEARS 14 TO 22 T.
{136}
ROVING TABLE.
FOR NUMBERING BY THE WEIGHT, IN GRAINS, OF 12 YARDS; AND SHOWING TWIST PER INCH.
(Square Root X 1. 20)
{137}
ROVING TABLE—CONTINUED.
FOR NUMBERING BY THE WEIGHT, IN GRAINS, OF 12 YARDS; AND SHOWING TWIST PER INCH
(Square Root X 1.20)
{138}
{139}
{140}
RING SPINNING FRAME—HEAD END
{141}
RING SPINNING FRAMES.
The introduction of these machines was preceded by a careful study of what had already been done in Spinning Frame design.
Our Improved Ring Spinning Frames are made from entirely new patterns, and not only combine the best features previously brought out in such machines, but also many new ideas and improvements which have proved of great benefit to both manufacturers and spinners.
Although these frames were only introduced a few years ago, they are very extensively used, and the demand is steadily increasing. All parts are machined and most of them are made by specially designed tools.
We give below a description of the construction and chief points of advantage of these machines.
LOW FRAMING AND CONSTRUCTION—The Frames are built very low, are extra heavy in all their principal parts, and are designed and constructed so as to stand high speeds without vibration, thus preserving the spindles, ensuring light running and reducing the cost of repairs.
SPINDLE RAILS—These are of the box pattern, specially heavy, and designed to prevent springing, twisting and vibration.
LIFTING RODS—The Lifting Rods, as will be seen in the several illustrations, do not have any foot castings attached to them. They can therefore be easily taken out, cleaned and put back without the necessity of readjustment. These rods are accurately turned and finished by a special process to prevent sticking. The Wave Shaft Arms are designed so that the Ring Rails can be easily leveled by means of adjusting screws.
CREELS—The Creels are constructed with large diameter supporting rods so as to ensure rigidity, reduce vibration and prevent stretching the roving.
{142}
DOUBLE ADJUSTABLE RING IN PLATE HOLDER
DOUBLE RING IN CAST-IRON HOLDER, WITH PATENT CONCEALED TRAVELER CLEARER
SOLID SINGLE FLANGE RINGS
{143}
FLUTED ROLLS—These steel rolls are carefully and accurately made from superior stock by special machinery. They have large Necks and Squares and are irregularly fluted so as not to cut the Top Rolls.
TOP ROLLS—These have taper ends or pivots, and the Cap Bar Nebs are milled to correspond, thus making it easy to pick the ends and keep them clean.
CAP BARS—These are made with steel fingers which do not break. The upper surface of each finger is flat. The Cap Bar Nebs, which slide on the fingers, are milled and are fastened in position by cap or frog screws so that they cannot twist or get out of place. This arrangement enables the Top Rolls to be accurately set, and makes it much more easy to see the necks of the Bottom Rolls and keep them properly lubricated without removing the Top Rolls or Cap Bars.
RE-LEVELLING—This is now an easy matter and quickly done. Packing up the feet is no longer necessary. The foot of each Spring Piece is provided with a shoe and jack screw, by which it can be raised or lowered to meet any unevenness in the floor.
TRAVERSE RODS AND GUIDES—Iron Traverse Rods are applied, to which are attached adjustable Brass Trumpet Guides.
ADJUSTABLE THREAD BOARDS—Our Thread Boards are adjustable. They can be raised or lowered so as to give, within reasonable limits, any required distance between the Spindle points and Thread Guides.
{144}
RING SPINNING FRAME-FOOT END
{145}
RINGS—We furnish Single Flange Rings, Double Rings in cast iron Holders, with or without Patent Wire Traveler Clearers, or Double Adjustable Rings in Plate Holders with Traveler Clearers. All Rings are made and finished in the most accurate manner, from a special grade of steel and hardened by improved methods.
SPINDLES—We supply any of the latest improved types of Spindles.
SEPARATORS—We supply the Rhodes-Chandler, Sharples, Doyle or H. & B. (our own). See description, page 153.
SADDLES—The Dixon ordinary, Dixon adjustable or common Saddles are applied as required.
LEVER SCREWS—The Speakman or Common are furnished as specified.
{146}
DRIVING PULLEYS are of our own improved design. The Loose Pulley runs on a cast iron sleeve, which is a part of the ring oiling box. Oil passes through holes in the bottom of this sleeve and lubricates the Loose Pulley. Our method of supporting the shaft and Loose Pulley together with the perfect lubrication of both prevents the wearing of the shaft, sleeve or Loose Pulley.
RING OILING OUTRIGGER BEARING AND SELF LUBRICATING LOOSE PULLEY
The Fast Pulley is usually made slightly larger in diameter than the Loose Pulley and is secured to the shaft by a Woodruff key and set screws.
THE OUTRIGGER for supporting the Driving Pulleys can be applied at either the head or foot end, as specified.
{147}
Our improved Cylinder Head is made with a wide surface for the tin and has a long hub split at the end for several inches.
The split portion of the hub is made to grip the shaft by means of a heavy clamp ring and set screw. The shaft cannot be cut by this set screw as it bears on the split hub.
CYLINDER HEAD BEARING AND CAP
The shafts are steel, fitted with Woodruff Keys and Phosphor Bronze Bushes with Collars, which make the bearings self-oiling and practically free from wear. Heavy tin is used in the construction of the Cylinders which are carefully balanced and thoroughly tested.
{148}
TWIST GEARING
Simplicity and convenience characterize our Ring Spinning Frame gearing. All gears are cut. They are of ample width, run quietly and are well boxed to prevent accidents.
{149}
DRAFT GEARING
The change gears are very conveniently located and a wide range of draft and twist can easily be obtained.
{150}
BUILDER FOR RING SPINNING FRAME
{151}
{112}
IMPROVED BUILDER.
When designing our improved Spinning Frame Builder, special attention was given to obtaining a wide range in form and build of bobbin combined with simplicity and durability. The changes necessary when altering the wind, pick or traverse have been reduced to a minimum.
The Builder is a combination type, and the change from warp to filling, or vice versa, can be easily and quickly made.
The illustration shows a filling cam only on the cam shaft, but when warp and filling wind are wanted, two cams are placed on this shaft.
The length of the traverse is determined by the adjustable Wave Shaft Stud, which can be easily and quickly raised or lowered, and the Ring Rail can be placed at the correct starting point by means of a thumb nut. The Pick or Take-up Motion is very simple. The pawl is on a plate which has a gear at the back. This gear is driven by a Quadrant which is connected to the top of the Builder. The pawl shield is set so that any required number of teeth can be taken up and no change gears are used.
In the Builder Arm is an adjusting screw, which is used with warp wind to regulate the taper on the bobbin. The taper can be decreased at the bottom and increased at the top by turning in this screw.
When the foot lever is pressed, it throws the Worm out of gear and allows the rail to be dropped. After winding back the Pick Motion, the Frame is ready for doffing and starting a new set.
An eccentric device is applied to enable the "Socket Doff" to be used when desired.
The Worm Gear Shaft is driven by a sprocket chain in the bead end. The speed of this shaft and consequently the speed of the traverse is increased or decreased by changing the Sprocket Gear.
The bevel gears are well protected from dust and fly by a cover, and the Builder screw itself is provided with a cleaner which prevents the collection of dirt in the threads.
{152}
HOWARD & BULLOUGH PATENT AUTOMATIC SEPARATOR
{153}
HOWARD & BULLOUGH PATENT AUTOMATIC SEPARATOR
It has been our aim to combine in this new Separator simplicity and lightness with effectiveness and rigidity. All Separators collect lint, but the Howard & Bullough has so few parts and is so easily cleaned that this disadvantage is reduced to a minimum. The Separator rod holders, which allow the blades to be thrown back out of position for doffing, are neat and strong.
Vibration in a Separator means bad work, and we have given special attention to this point, as evidenced by the double bearings for the lifting rods, the stiffness of the Separator rod carrying the blades, and the general design. In case the operator neglects to return the blades to their working position after doffing, this is taken care of by a curved stop or bracket attached to the roller beam. Easy adjustment for both long and short traverse is a good feature of this Separator.
{154}
FLOOR SPACE OF RING SPINNING FRAMES.
We make 36-in. or 39-in. framing as required. When extra large diameter roving bobbins are used and the creels are required to take double roving, the 39-in. framing is needed to obtain enough space in the creels.
To ascertain the length of Spinning Frames with any number of spindles: Multiply one-half the number of spindles by the gauge and add 2 ft. 1 in. for head and off ends.
Although it is advantageous when possible to keep to the number of spindles given in the table on the opposite page, other lengths can be built, but even boxes are preferable.
DRIVING PULLEYS are 8 in. to 18 in. dia., 3-1/4 in. face.
{155}
LENGTHS OVER ALL OF RING SPINNING FRAMES.
{156}
PRODUCTION TABLE OF RING WARP YARN.
FRONT ROLL, 1 IN. DIA.
Allowance has been made for doffing, etc. Standard Warp Twist used, 4.75 x square root of number of yarn.
{157}
PRODUCTION TABLE OF RING WARP YARN.
FRONT ROLL, 1 IN. DIA.
Allowance has been made for doffing, etc. Twist per inch, 4.75 x square root of number up to 40s. For 40s and finer the twist per inch is graduated from 4.60 to 4.00 x square root of number.
{158}
PRODUCTION TABLE OF RING FILLING YARN.
FRONT ROLL, 1 IN. DIA.
Allowance has been made for doffing, etc. Filling Twist used, 3.25 x square root of number of yarn.
{159}
PRODUCTION TABLE OF RING FILLING YARN.
FRONT ROLL, 1 IN. DIA.
Allowance has been made for doffing, etc. Filling Twist used, 3.25 x square root of number of yarn.
{160}
HEAD END GEARING
RING SPINNING FRAME
{161}
SECTIONAL VIEW
RING SPINNING FRAME
{162}
SIDE VIEW
RING SPINNING FRAME
{163}
SPINNING FRAME.
ALPHABETICAL REFERENCES TO DRAWINGS.
A
Driving Pulley, 8 in. to 18 in. dia., advancing by 1/2 in. increments; 3-1/4 in. face.
A
1Cylinder Gear, 17, 21, 29 and 39 T.
A
2Cylinder, 7 in. dia.
B
Jack Gear, 72, 76, 86, 96 and 106 T.
B
1Twist Change Gear, 25-67 T., advancing by one tooth.
C
Intermediate Gear, 156 T. for 36-in. frame; 171 T. for 39 in. frame.
C
1Builder Motion Driving Sprocket Gear, 8 T.
D
Front Roll Twist Gear, 84 T.
D
1Front Roll Draft Gear, 21 and 27 T.
D
2Front Roll, usually 1 in. dia.; sometimes 1-1/16 in. dia. and 1-7/8 in. dia.
E
Crown Gear, 72, 90 and 108 T.
E
1Draft Change Gear, 32-59 T., advancing by one tooth.
F
Large Back Roll Gear, 79 and 89 T.
F
1Small Back Roll Gear, 28 T. for 7/8 in. dia. Middle and Back Rolls, 29 T. for 15/16 in. dia. Middle Roll, 1-1/16 in. dia. Back Rolls.
F
2Back Roll, usually 7/8 in. dia., sometimes 11/16 in. dia. and 1-1/8 in. dia.
G
Broad Middle Roll Intermediate Gear, 48 T.
H
Middle Roll Gear, 26 T. for 7/8 in. dia. Middle and Back Rolls, 24 T. for 15/16 in. dia. Middle and 1-1/16 in. dia. Back Rolls.
I
Whorl, 3/4 in., 13/16 in. and 7/8 in. dia.
J
Carrier Sprocket Gear, 10 T.
K
Builder Motion Worm Shaft Sprocket Gear, 12, 14, 16, 18, 20, 22 and 24 T., dependent upon the Number of Yarn.
L
Carrier Sprocket Gear, 7 T.
{164}
SPINNING FRAMES.
DRAFT CALCULATIONS.
TWIST CALCULATIONS.
When figuring the Ratio of Whirl Speed to Cylinder Speed we add 1/3 inch to the diameters to allow for the band.
{165}
In our production tables on pages 156 to 159, the allowance for doffing, waste, etc., varies with the numbers of yarn, the percentage loss being greater for coarse than fine work.
{166}
RING SPINNING FRAME, DRAFT TABLE.
FRONT ROLL 1 IN. DIAM. BACK ROLL 7/8 IN. DIAM.
{167}
RING SPINNING FRAME, DRAFT TABLE.
FRONT AND BACK ROLLS SAME DIAMETER.
{168}
RING SPINNING FRAME, TWIST CONSTANTS.
1 IN. DIA. FRONT ROLL. 7 IN. DIA. CYLINDER.
FRONT ROLL GEAR, 84 T.
{169}
RING SPINNING FRAME, TWIST CONSTANTS.
1-1/16 IN. DIA. FRONT ROLL. 7 IN. DIA. CYLINDER.
FRONT ROLL GEAR, 84 T.
{170}
RING SPINNING FRAME, TWIST CONSTANTS.
1-1/8 IN. DIA. FRONT ROLL. 7 IN. DIA. CYLINDER.
FRONT ROLL GEAR, 84 T.
{171}
RING SPINNING FRAME TWIST TABLE.
1 IN. DIA. FRONT ROLL. 7 IN. DIA. CYLINDER.
FRONT ROLL GEAR, 84 T.
{172}
RING SPINNING FRAME TWIST TABLE.
1 IN. DIA. FRONT ROLL. 7 IN. DIA. CYLINDER.
FRONT ROLL GEAR, 84 T.
{173}
RING SPINNING FRAME TWIST TABLE.
1 IN. DIA. FRONT ROLL. 7 IN. DIA. CYLINDER.
FRONT ROLL GEAR, 84 T.
{174}
RING SPINNING FRAME TWIST TABLE.
1 IN. DIA. FRONT ROLL. 7 IN. DIA. CYLINDER.
FRONT ROLL GEAR, 84 T.
{175}
RING SPINNING FRAME TWIST TABLE.
1-1/16 IN. DIA. FRONT ROLL.
7 IN. DIA. CYLINDER.
FRONT ROLL GEAR, 84 T.
{176}
YARN TWIST TABLES.
{177}
YARN TWIST TABLES.
{178}
YARN TWIST TABLES.
NOTE—The above tables are extended in some cases much beyond the actual requirements as indicated by their headings, but will prove useful for other yarns.
{179}
TABLE FOR NUMBERING COTTON YARN BY THE WEIGHT IN GRAINS OF 120 YARDS OR 1 SKEIN
{180}
TABLE FOR NUMBERING COTTON YARN-Cont'd.
{181}
TABLE FOR NUMBERING COTTON YARN-Cont'd.
{182}
TABLE FOR NUMBERING COTTON YARN-Cont'd.
{183}
TABLE FOR NUMBERING COTTON YARN-Cont'd.
{184}
DRAPER TABLES OF BREAKING WEIGHTS OF AMERICAN YARNS SPUN FROM AMERICAN COTTON.
AVERAGED FROM SAMPLE SKEIN TESTS FROM SEVERAL HUNDRED AMERICAN MILLS.
{185}
TRAVELLER TABLE FOR RING SPINNING FRAME.
The speed, kind of cotton, etc., affect the weight of traveller, and consequently it is impossible to make up a table to cover all conditions, but the sizes given above will serve as a basis to select from. Lighter travellers should be used for higher speeds and vice versa. Each 1,000 revolutions of spindle makes a difference of one or two numbers in travellers.
{186}
SPOOLERS.
The following tables of dimensions and productions are given as information:
{187}
REELS.
Reels are usually made with 50 or 60 spindles each, but can be made either longer or shorter. The common gauge is 3-1/2 in., the length of which with 50 spindles is 16 ft. 8-1/2 in. and width 3 ft. 9 in. Machines are made for 54-in., 60-in., 72-in. and 90-in. skeins, usually 54 in.
Driving pulleys are 12 in. x 2 in.
The usual speed with 54-in. swifts is 130 revs. We give below production table for 54-in. skeins.
50 per cent. allowance has been made in above table for doffing, etc.
{188}
DRY TWISTER
SINGLE LINE TOP AND BOTTOM ROLLS—NARROW GAUGE
{189}
RING TWISTERS.
FOR DRY OR WET TWISTING.
Our Ring Twister resembles our Spinning Frame, both in construction and design, and the descriptive matter on pages 140 and 151 apply to this machine.
The marked success of our Spinning Frame led us to build a Twister embodying the same improvements and special features which have been so much appreciated. All parts are machined, and are interchangeable.
LOW FRAMING AND HEAVY RIGID CONSTRUCTION— The frames are built very low, are extra heavy in all their principal parts and are designed and constructed so as to stand high speeds without vibration, thus preserving the spindles, insuring light running and reducing the cost of repairs.
DRY AND WET TWISTING—We build machines for either Dry or Wet Twisting. When for wet work the bottom and top rolls are covered with brass, and brass troughs are provided for the water. The yarn is submerged by means of glass rods which are easily raised or lowered.
ARRANGEMENT OF ROLLS—Machines are built with any of the following arrangements of Rolls:
Single Line Bottom Rolls, and Single Line Top Rolls.
Double Line Bottom Rolls, and Single Line Top Rolls.
Double Line Bottom Rolls, and Double Line Top Rolls.
SPINDLES—Any of the improved modern high-speed spindles are supplied as required. We do not make any Twisters with common or old style "Two Rail" spindles.
KNEE BRAKES are furnished when required.
GAUGES AND RINGS—We build machines from 2-1/2-in. gauge with 1-1/2-in. rings up to 5-1/2-in. gauge with 4-1/2-in. rings. Any desired form or style of ring will be furnished. All of these rings are made from high-grade steel of special analysis, hardened by improved methods and accurately finished.
{190}
VERTICAL TWISTER RINGS
NARROW OR WIDE BAND RINGS
WITH BRASS OR STEEL PLATE HOLDERS
SOLID SINGLE FLANGE RINGS
{191}
THE FOLLOWING HEADINGS ARE TAKEN UP IN DETAIL UNDER RING SPINNING FRAMES:
SPINDLE RAILS of box pattern to prevent springing or twisting.
LIFTING RODS specially finished to avoid sticking, and easily removed and cleaned without necessity of readjustment.
RE-LEVELLING easily taken care of by means of adjustable foot casting and jack screw on each Spring Piece.
ADJUSTABLE THREAD BOARD LIFTERS.
RING OILING BEARING ON OUTRIGGER.
SELF-LUBRICATING LOOSE PULLEY ON SLEEVE.
IMPROVED FORM OF CYLINDER HEAD.
PHOSPHOR BRONZE CYLINDER BEARINGS of self-oiling type.
GEARING, simple and enclosed in boxed end to prevent accident. All cut gears.
BUILDER of simple and effective design adjustable for Filling, Warp, Conant, Reverse Conant, or Straight Wind.
CREELS with rigid end and center supports, free from vibration.
OUT BEARING BOX (CUT OPEN) SHOWING RING OILER AND SLEEVE FOR LOOSE PULLEY
{192}
WET TWISTER, WITH DRIVING PULLEYS AT FOOT END
{193}
FLOOR SPACE OF TWISTERS.
WIDTHS OF MACHINES.
2-1/2-in. and 2-3/4-in. Gauge = 3 ft. 1-1/8 in. over all
3-in. and 3-1/4-in. Gauge = 3 ft. 1-5/8 in. over all
3-1/2-in. and 4-in. Gauge = 3 ft. 2-5/8 in. over all
4-1/2-in. Gauge = 3 ft. 3-3/4 in. over all
5-in. Gauge = 3 ft. 4-1/4 in. over all
5-in. Gauge = 3 ft. 5 in. over all
To ascertain the length of Twisters with any number of spindles: Multiply one-half the number of spindles by the gauge and add 2 ft. 1 in. for head and off ends.
Although it is advantageous when possible to keep to the numbers of spindles given in the table on page 195, other lengths can be built if necessary. Even rolls and boxes are preferable.
DRIVING PULLEYS are 8 in. to 18 in. dia., 3-1/4-in. face.
{194}
WIDE GAUGE TWISTER WITH DOUBLE LINE BOTTOM AND SINGLE LINE TOP ROLLS
{195}
LENGTHS OVER ALL OF TWISTERS.
{196}
TABLE SHOWING GAUGES, RINGS AND SPINDLE SPEEDS FOR VARIOUS NUMBERS AND PLYS
THIS TABLE FORMS A KEY TO THE PRODUCTION TABLES WHICH FOLLOW
{197}
TABLE SHOWING GAUGES, RINGS AND SPINDLE SPEEDS—CONT'D.
{198}
TABLE SHOWING NUMBER OF POUNDS TWISTED YARN PRODUCED IN 10 HOURS-2 PLY
{199}
TABLE SHOWING NUMBER OF POUNDS TWISTED YARN PRODUCED IN 10 HOURS-3 PLY.
Allowance has been made for doffing, waste, cleaning, etc.
{200}
TABLE SHOWING NUMBER OF POUNDS TWISTED YARN PRODUCED IN 10 HOURS-4 PLY.
Allowance has been made for doffing, waste, cleaning, etc.
{201}
TABLE SHOWING NUMBER OF POUNDS TWISTED YARN PRODUCED IN 10 HOURS-5 PLY.
Allowance has been made for doffing, waste, cleaning, etc.
{202}
TABLE SHOWING NUMBER OF POUNDS TWISTED YARN PRODUCED IN 10 HOURS—6 PLY.
Allowance has been made for doffing, waste, cleaning, etc.
{203}
HEAD END GEARING
TWISTER
{204}
SINGLE LINE BOTTOM ROLL
DOUBLE LINE BOTTOM ROLLS
ARRANGEMENTS OF ROLLS
TWISTER
{205}
TWISTERS.
ALPHABETICAL REFERENCES TO DRAWINGS.
A
Driving Pulley, 8 in. to 18 in. dia., advancing by 1/2 in. increments, 3-1/4 in. face.
A
1Cylinder Gear, 21, 25, 29, 30, 39 and 49 T.
A
2Cylinder, 7 in. and 8 in. dia.
B
Jack Gear, 72, 76, 80, 84, 86, 96 and 106 T.
B
1Twist Change Gear, 25 to 67 T., advancing by one tooth.
C
Intermediate Gear, 171 T.
C
1Builder Motion Driving Sprocket Gear, 8 T.
D
Front Roll Twist Gear, 108 and 92 T., Single Line Bottom Roll.
Head End Stud Gear, 108 T., Double Line l Bottom Rolls.
D
1Head End Stud Change Gear, 23, 27, 32 and 36 T.
E
Front Roll Change Gear, 36, 32, 27 and 23 T.
E
1Front Roll Gear, 39 T.
E
2Front Roll, 1-1/2 in. dia.
F
Back Roll Intermediate Gear, 48 T.
G
Back Roll Gear, 40 T.
G
1Back Roll, 1-1/2 in. dia.
H
Top Roll, 2-1/2 in. dia.
I
Whorl, 7/8 in., 1-1/8 in., 1-3/8 in., 1-5/8 in. and 2-1/2 in. dia.
J
Carrier Sprocket Gear, 10 T.
K
Builder Motion Worm Shaft Sprocket Gear, 12, 14, 16, 18, 20, 22 and 24 T., dependent upon the Number of Yarn.
L
Carrier Sprocket Gear, 7 T.
NOTE—For Letters A and I refer to Spinning Frame cut on page 161.
{206}
TWISTERS.
TWIST CALCULATIONS.
{207}
In our production tables on pages 198 to 202 the allowance for doffing, waste, etc., varies with the numbers of twisted yarn, the percentage loss being greater for coarse than fine work. See pages 196 and 197 for percentage deducted.
{208}
TWIST GEARING CONSTANTS FOR TWISTERS.
1-1/2-IN. SINGLE LINE BOTTOM ROLLS. 7-IN. DIA. CYLINDER.
Rule to find change gear: Divide Constant by Twist per inch required.
{209}
TWIST GEARING CONSTANTS FOR TWISTERS.
1-1/2-IN. DOUBLE LINE BOTTOM ROLLS. 8-IN. DIA. CYLINDER.
Rule to find change gear: Divide Constant by Twist per inch required.
{210}
TWIST TABLE FOR TWISTERS.
1-1/2 IN. SINGLE LINE BOTTOM ROLLS. FRONT ROLL GEAR, 108. 1-1/8 IN. DIA. WHIRL ON SPINDLE.
{211}
TWIST TABLE FOR TWISTERS.
1-1/2 IN. SINGLE LINE BOTTOM ROLLS. FRONT ROLL GEAR, 108. 1-3/8 IN. DIA. WHIRL ON SPINDLE.
{212}
TWIST TABLE FOR TWISTERS.
1-1/2 IN. SINGLE LINE BOTTOM ROLLS. FRONT ROLL GEAR, 108. 1-5/8 IN. DIA. WHIRL ON SPINDLE.
{213}
TWIST TABLE FOR TWISTERS.
1-1/2 IN. SINGLE LINE BOTTOM ROLLS. 8 IN. DIA. CYLINDER. 2-1/2 IN. DIA. WHIRL ON SPINDLE.
{214}
TWIST TABLE FOR TWISTERS.
1-1/2 IN. DOUBLE LINE BOTTOM ROLLS. 8 IN. DIA. CYLINDER. 1-5/8 IN. DIA. WHIRL ON SPINDLE. HEAD END STUD GEAR, 108 T.
NOTE-D1 = Head End Stud Change Gear.
E = Front Roll Change Gear.
Ratio Whirl to Cylinder Speed, 4.643.
{215}
TWIST TABLE FOR TWISTERS.
1-1/2 IN. DOUBLE LINE BOTTOM ROLLS. 8 IN. DIA. CYLINDER. 2-1/2 IN. DIA. WHIRL ON SPINDLE.
HEAD END STUD GEAR, 108.
NOTE-D1 = Head End Stud Change Gear.
E = Front Roll Change Gear.
Ratio Whirl to Cylinder Speed, 3.095.
{216}
TWIST TABLES FOR 2 PLY.
{217}
TWIST TABLES FOR 3 PLY.
{218}
TWIST TABLES FOR 4 PLY.
{219}
TWIST TABLES FOR 5 PLY.
{220}
TWIST TABLES FOR 6 PLY.
{221}
{222}
CONE WINDER
{223}
CONE AND TUBE WINDERS.
Although these machines are adapted to the winding of all kinds of yarns, they are especially good for soft hosiery and underwear yarns which should be handled so as to retain their full strength and elasticity.
OPEN WIND—This feature of our machine, together with its general improved construction, enables it to wind the most delicate yarns. The open wind with its irregular coils is of great advantage, as stretching of the yarn is avoided and it unwinds freely in the knitting process.
CONE AND PARALLEL WIND—These machines are built for winding either cones or parallel tubes, from cops, bobbins, spools or skeins.
STOP MOTIONS—These are applied to all machines. The Detector Holders and Drop Wires are supplied for one or more ply, as required. When a thread breaks, the individual drum stops, thus preventing waste or single. The Stop Motions are quick and positive, and the piecing up is very easily done.
FRAMING AND CONSTRUCTION—The Winders are strong and durable. No wood is used in their construction, except for the top shelves and Friction Boards. All gearing is cut. The Casing-off Plates on each side are hinged, which facilitates cleaning.
UNIFORM TENSION—The conical and parallel Mandrels are driven by friction from the drums, and consequently the increase in diameter of the cones or tubes does not alter the tension on the yarn.
IMPROVED MANDRELS—These fit firmly in the paper cones at both ends. The cones are very easily removed, and although they may vary in size or shape, any irregularities are taken care of by the Mandrels.
IMPROVED REVERSING MOTION—The durability of Winders and the uniformity of the winding depends {224} to a great extent on the accuracy and wearing qualities of the Reversing Motion. The cam and bowl in this motion are of hardened steel, and the cam runs in oil.
Our Motion gives an instantaneous reversal, and prevents the throwing over of the yarn at the ends, ensuring a perfectly shaped cone or parallel Tube.
ADJUSTABLE TRAVERSE—The length of the traverse can be adjusted from 4 in. to 6 in. by a very simple method.
AVAILABLE SPEED TRAVERSE—By means of a change gear on the Main Driving Shaft, the ratio of the speed of the traverse to the speed of the drum can be altered. A ratio which is best suited to coarse yarn is not the best for fine yarn. The work which these machines are called upon to do may vary from winding very coarse ply yarns to fine single yarns, and a variable speed traverse is of advantage.
DRIVING PULLEYS—These are 18 in. dia., 2-1/2 in. face, Tight and Loose, and usually make 100 to 125 revs., according to the class of work.
PRODUCTION—Based on 125 revs. of Driving Pulleys, with 20 per cent allowance for stops, the production per drum per week of 60 hours figures 500 hanks (hanks/number of yarn = lbs.)
FLOOR PLAN OF CONE WINDER
Machines are 42 in. wide and are usually built with 100 drums, 36 ft. 8-1/2 in. over all (including driving pulleys) but other lengths can be made. Deduct 8-1/4 in. for each two drums less than 100.
{225}
CONE WINDER
ALPHABETICAL REFERENCES TO DRAWING
A
Driving Pulley, 18 in. dia. x 2-1/2 in. face. Usual speed, 100 to 125 r. p. m.
A
1Cone Driving Double Band Pulley.
B
Cone.
NOTE—One rev. of Driving Shaft equals 2.76 revs. of Cone.
{226}
{151}
WARPERS.
One 54-in. Cylinder Warper (with large dia. Cylinder) occupies a space of 7 ft. x 3 ft. 6 in. with 24-in. beam head.
The floor space of creels varies considerably. An ordinary Warper with creel requires a space of about 8 ft. x 13 to 14 ft.
Driving Pulleys 10 in. x 2 in.
Cylinders of Warpers are run from 30 to 40 revs. per minute, depending on the class of work.
We give below production table based on 36 revs. of Cylinder (Pulleys 196 revs.) per minute. In this table 33 per cent. has been deducted for stoppages.
{227}
{228}
CYLINDER SIZING MACHINE OR SLASHER
{229}
SLASHERS.
The Slasher System of Sizing was invented by Mr. James Bullough, and Slashers were first made and put on the market by Howard & Bullough, Ltd.
The advent of the Slasher, dispensing as it did with the old systems of Sizing, is recognized as one of the greatest inventions of the age. Probably no other invention was ever taken up and supplanted other systems with such rapidity as that of the Slasher, in every cotton manufacturing country. Although Slashers are now made by others, the Howard & Bullough machine still keeps the lead, and improvements are being continually added.
NEW PATTERNS—The machines are now made from new patterns with extra heavy framing, with broad flanges, planed edges, and milled doubled-flanged joints, giving great strength and solidity. All seatings, cross-rails, principal brackets and fixings are planed or milled.
HEADSTOCKS—These are made in three lengths, Short (8 ft. 6 in.), Medium (10 ft. 4 in.) and Long (12 ft. 2 in.), and are complete with Fan, Conducting Rollers, Polished Dividing Rods, quick and accurate Yarn Marker, Expanding and Contracting Comb, Spring Bearings for preventing the breaking of yarn when starting the machine, Triple Speed Change Gears, Slow Motion arrangement, Side Shaft, and Gearing to Copper Size Rollers, Patent Yarn Beam Friction and Patent Revolving Yarn Beam Presser.
PATENT YARN BEAM FRICTION—With four frictional surfaces. These Frictions have more than double the friction surface of the older styles, and give considerably more power and are proving the most efficient Frictions ever invented.
SLOW MOTION DRIVING—This enables the Slasher to be run at a very slow speed, instead of being entirely stopped whilst doffing, etc., thus preventing the burning or spoiling of yarn whilst under the squeezing rollers in the size box. {230}
COPPER CYLINDERS—Made from best Copper Sheets well and evenly rolled by machinery, so as to give a perfectly smooth drying surface, with Ends or Heads made of Steel plates. Cylinder Shafts run on Anti-Friction Bowls, and are provided with Pressure Gauge, Safety and Reducing Valves, and Steam Traps.
SIZE BOX—With two Heavy Seamless Copper Rollers, with Brass Glands and Brass Bushes. The Ends of these Rollers run in Brass Steps in Pedestals supported by Tables which are cast to the outside of the Size Box.
Size Box also contains perforated Copper Boiling Pipe, Seamless Copper Immersion Roller, with adjustable Racks and Motion, Brass and Tin Conducting Rollers, and Brass Taps.
CREELS—These are usually made for 6 Beams, but are made for more if required, and have Adjustable Bearings. Three sizes are made, 22-3/8 in., 25-1/2 in. and 27 in. between centers. The latter for Beam Heads up to 26 in. dia.
We also apply, when ordered, any of the following:
Patent Traversing Yarn Beam Presser.
Patent Expanding Double Yarn Beam Presser.
Patent Yarn Tension Arrangement to Size Box for enabling the size to better penetrate the Yarns.
Positive Driving Arrangement to Cylinders for Fine Yarns or small number of ends.
Extra Carrying Rolls and Stands.
PRODUCTION—One Slasher will supply from 150 to 600 Looms, according to the class of work; about 300 is the average.
DRIVING PULLEYS—Are on Right Hand side of Head-stock (when facing same), 13 in. dia., 3 in. face, T. & L. Slow Motion Pulley is 1 in. face, making 7 in. in width for the three Pulleys.
SPEEDS—170 to 210 R. P. M.
{231}
FLOOR SPACE—Dimensions of Standard machines with Short Headstock (8 ft. 6 in.) and 6-Beam Creel, 23-1/2 in. or 27 in. centers, the latter for Beam Heads up to 26 in. dia. ; 9/8 wide, for Warper Beams 54 in. wide between Heads, Drying Surface of Cylinders, 56-1/2 in.
6 ft. dia. Cylinder 31 ft. 0 in. x 8 ft. 6 in. (Width is 8 ft. 11 in. over extreme projections in Headstock when Cannon Shaft is extended.)
7 ft. dia. Cylinder 33 ft. 4 in. x 8 ft. 6 in.
66 in. and 40 in. dia. Cylinders 33 ft. 4 in. x 8 ft. 6 in.
6 ft. and 4 ft. dia. Cylinders 33 ft. 10 in. x 8 ft. 6 in.
7 ft. and 4 ft. dia. Cylinders 34 ft. 10 in. x 8 ft. 6 in.
7 ft. and 5 ft. dia. Cylinders 37 ft. 10 in. x 8 ft. 6 in.
Add for each additional two Beams in Creel, 3 ft. 4-1/2 in.
Add for Medium Headstock 1 ft. 10 in.
Add for Long Headstock 3 ft. 8 in.
LOOM BEAMS—Slashers 9/8 wide, as described above, will take Loom Beams up to 64 in. long over all, or up to 70 in. by using Cranked Cannon Shaft Brackets.
WIDER SLASHERS—These are made up to 12/4 wide, for widths of yarn as follows:
9/8
6/4
7/4
8/4
9/4
10/4
11/4
12/4
54 in.
60 in.
66 in.
72 in.
78 in.
84 in.
90 in.
96 in.
Add to the width of machines, as given above, 6 in. for each extra width over 9/8.
SPECIAL MACHINES—Are made with Extra Wide or Extra Long Heads and many other attachments for Special Work, also with AIR DRYING instead of Cylinders.
{232}
APPROXIMATE SHIPPING WEIGHTS OF MACHINES
Pounds
Hopper Bale Opener
5,000
Self-feeding Opener
6,000 to 6,500
Single Beater Breaker Lapper
8,500 to 9,500
Self-feeding Opener and Single Beater Breaker
15,000 to 16,000
Single Beater Intermediate or Finisher
8,500
Double Beater Intermediate or Finisher
13,000
Revolving Flat Card
7,000
Drawing Frame, per delivery
700
Slubbing Frame, 60 spdls., 12 in. x 6 in.
9,250
Intermediate Frame, 96 spdls., 10 in. x 5 in.
10,000
Roving Frame, 144 spdls., 8 in. x 4 in.
11,500
Roving Frame, 160 spdls., 7 in. x 3-1/2 in.
11,250
Jack Frame, 184 spdls., 6 in. x 3 in.
11,250
Spinning Frame, 224 spdls., 2-3/4 in. Ga.
6,250
Spinning Frame, 204 spdls., 3 in. Ga.
6,250
Spinning Frame, 192 spdls., 3-1/4 in. Ga.
6,250
Twister, 220 spdls., 3 in. Ga.
7,000
Twister, 192 spdls., 3-1/4 in. Ga.
7,300
Twister, 160 spdls., 4 in. Ga.
6,800
Twister, 132 spdls., 5 in. Ga.
6,700
Cone Winder, 100 Drums
7,500
{233}
ENGLISH WEIGHTS AND MEASURES OF COTTON YARN.
24 Grains = l Pennyweight (Dwt. Troy).
437.5 Grains = 1 Ounce (Avoirdupois).
16 oz. = 7,000 Grains = l Pound (Avoirdupois).
1-1/2 Yards = 54 in. = 1 thread or circumference of Cotton Reel.
120 Yards = 80 threads = l Skein.
840 Yards = 560 threads = 7 skeins = 1 Hank.
The number of Hanks in 1 lb. is the number of the yarn.
7,000 grains (1 lb.) divided by the weight in grains of 1 Hank (840 Yards) = the number of yarn.
It is unnecessary and inconvenient to measure and weigh a full hank, and a lesser number of yards are usually taken. 120 yards for yarn, and 12 yards for Roving are common, and the Dividends for these are given in the following table.
DIVIDEND TABLE
Yards
Dividends
1
8.33
2
16.66
3
25.00
4
33.33
5
41.66
6
50.00
7
58.33
8
66.66
9
75.00
10
83.33
12
100.00
30
250.00
60
500.00
120
1000.00
840
7600.00
RULES
Divide 7,000 (Grains in 1 lb.) by 840 (yards in 1 Hank) = dividend for 1 yd., 8.33.
Dividend/by weight in grains = Hank.
Dividend/by Hank = Weight in Grains.
EXAMPLES—If 1 yard of Card Sliver weighs 55 Grains, what Hank is it? Divide the dividend for 1 yard (8.33) by 55 = .151 Hank.
What should 120 yds. of No. 25s yarn weigh? Divide the dividend for 120 yards (1,000) by 25 = 40 grains.
{234}
GENERAL RULES WITH EXAMPLES.
TO FIND THE DRAFT BETWEEN TWO ROLLS.
{235}
{236}
{237}
CLASSIFICATION OF COTTON ADOPTED BY THE NEW YORK COTTON EXCHANGE.
QUARTER GRADES IN USE AFTER MARCH 10, 1910.
Grades
Quarter Grades
Fair.
Strict Middling Fair.
Middling Fair.
Barely Middling Fair.
Strict Good Middling.
Fully Good Middling.
Good Middling.
Barely Good Middling.
Strict Middling.
Barely Middling.
Middling (Basis).
Strict Low Middling.
Fully Low Middling.
Low Middling.
Strict Good Ordinary.
Good Ordinary.
Strict Good Middling Tinged.
Good Middling Tinged.
Strict Middling Tinged.
Middling Tinged.
Strict Low Middling Tinged.
Low Middling Tinged.
Middling Stained.
{238}
APPROXIMATE POWER REQUIRED BY COTTON MACHINERY.
Horse-power
Hopper Bale Opener
3
Hopper Feeder
1-1/2
Self-feeding Opener
3
Single Beater Breaker Lapper, with Cage Section
6
Single Beater Breaker Lapper, with Gauge Box and Condenser 7-1/2
Combined Self-feeding Opener and Single Beater Breaker Lapper
9
Single Beater Intermediate or Finisher Lapper
4
Two Beater Intermediate or Finisher Lapper
7-1/2
Thread Extractor with Condenser
1-1/2
No. 6 Fan
5
Revolving Flat Card-Production, 450 lbs. per week
3/4
Revolving Flat Card-Production, 700 lbs. per week
1
Revolving Flat Card-Production, 1,000 lbs. per week
1-1/4
Sliver Lap Machine
1/2
Ribbon Lap Machine
1
Comber—6-Head
1/2
Comber—8-Head
2/3
Drawing Frames, Ordinary Rolls, 6 delvs. per
1
Drawing Frames, Metallic Rolls, 5 delvs. per
1
Slubbing Frame, 45 spdls. per
1
Intermediate Frame, 55 spdls. per
1
Roving Frame, 85 spdls. per
1
Jack or Fine Roving Frame, 100 spdls. per
1
Spinning Frame, Warp yarns
16s and coarser, 70 spdls. per
1
22s, 75 spdls. per
1
40s, 80 spdls. per
1
{239}60s, 90 spdls. per
1
80s, 100 spdls. per
1
Spinning Frame, Filling Yarns.
16s and coarser, 110 spdls. per
1
22s, 90 spdls. per
1
28s, 85 spdls. per
1
40s, 90 spdls. per
1
70s, 100 spdls. per
1
90s, 110 spdls. per
1
Twister, 40 to 100 spdls. per
1
Cone Winder, 65 Drums per
1
Mule Spinning, 90 to 125 spdls. per
1
Spoolers, 150 to 250 spdls. per
1
Warper
1/4
Ball Warper
1/2
Slasher
1-1/2
Plain Loom, 40 in.
1/4
Wide Loom, 92 in.
1
Reel, 50 spdls.
5
Brusher and Shearer
3
Cloth Folder
1/3
NOTE—The above figures are only approximate, and give a fair average of the power taken to drive the various machines. The speed, production and many other conditions affect the power consumed.
{240}
BELTING REQUIRED FOR VARIOUS MACHINES
For convenience in calculating the quantity of belting required when equipping a mill or ordering supplies, the following lists have been prepared. Actual lengths are stated, no allowance being made for lap of belts or for splicing bands. All widths shown are for single belts.
HOPPER BALE OPENER.
Main Belt, 3 in.—8 ft. 6 in. of 2 in. (for 1 Belt).
SELF-FEEDING OPENER WITH 18-IN. RIGID BEATER FOR TRUNKING CONNECTION.
Main Belt, 3-1/2 in.—29 ft. 4 in. of 2 in. (for 3 Belts).
SELF-FEEDING OPENER WITH 30-IN. CYLINDER ARRANGED FOR TRUNKING CONNECTION.
Main Belt, 3-1/2 in.—30 ft. 5 in. of 2 in. (for 3 Belts).
SELF-FEEDING OPENER (18-IN. RIGID BEATER) WITH ONE BEATER BREAKER LAPPER.
Main Belt, 5 in.
33 ft. 5 in. of 3-1/2 in. (for 2 Belts).
59 ft. 5 in. of 2 in. (for 6 Belts).
SELF-FEEDING OPENER (30-IN. CYLINDER) WITH ONE BEATER BREAKER LAPPER.
Main Belt, 5 in.
33 ft. 10 in. of 3-1/2 in. (for 2 Belts).
60 ft. 6 in. of 2 in. (for 6 Belts).
SELF-FEEDING OPENER (18-IN. RIGID BEATER) WITH TWO BEATER BREAKER LAPPER.
Main Belt, 6 in.
56 ft. 11 in. of 3-1/2 in. (for 3 Belts).
71 ft. 0 in. of 2 in. (for 7 Belts).
SELF-FEEDING OPENER (30-IN. CYLINDER) WITH TWO BEATER BREAKER LAPPER.
Main Belt, 6 in.
58 ft. 3 in. of 3-1/2 in. (for 3 Belts).
72 ft. 1 in. of 2 in. (for 7 Belts).
ONE BEATER BREAKER LAPPER WITH GAUGE BOX AND CONDENSER.
Main Belt, 5 in.
15 ft. 3 in. of 3-1/2 in. (for 1 Belt).
32 ft. 1 in. of 2 in. (for 3 Belts).
12 ft. 8 in. of 1-1/2 in. (for 1 Belt).
TWO BEATER BREAKER LAPPER WITH GAUGE BOX AND CONDENSER.
Main Belt, 6 in.
33 ft. 5 in. of 3-1/2 in. (for 2 Belts).
40 ft. 7 in. of 2 in. (for 4 Belts).
12 ft. 8 in. of 1-1/2 in. (for 1 Belt).
{241}
ONE BEATER BREAKER LAPPER WITH CAGE SECTION.
Main Belt, 5 in.
15 ft. 3 in. of 3-1/2 in. (for 1 Belt).
33 ft. 2 in. of 2 in. (for 3 Belts).
TWO BEATER BREAKER LAPPER WITH CAGE SECTION.
Main Belt, 6 in.
33 ft. 5 in. of 3-1/2 in. (for 2 Belts).
41 ft. 8 in. of 2 in. (for 4 Belts).
ONE BEATER INTERMEDIATE OR FINISHER LAPPER.
Main Belt, 4 in.
15 ft. 3 in. of 3-1/2. in. (for 1 Belt).
17 ft. 10 in. of 2 in. (for 2 Belts).
4 ft. 6 in. of 1 in. (for 1 Belt).
TWO BEATER INTERMEDIATE OR FINISHER LAPPER.
Main Belt, 5 in.
33 ft. 5 in. of 3-1/2 in. (for 2 Belts).
29 ft. 5 in. of 2 in. (for 3 Belts).
4 ft. 6 in. of 1 in. (for 1 Belt).
REVOLVING FLAT CARD.
Main Belt, 3 in.
Without Slow Motion.
14 ft. 7 in. of 2 in. (for 2 Belts).
13 ft. 2 in. of l-1/2 in. (for 1 Belt).
22 ft. 9 in. of 5/16 in. dia. cotton Banding (for 3 Bands).
With Slow Motion.
14 ft. 7 in. of 2 in. (for 2 Belts).
23 ft. 4 in. of 1 in. (for 2 Belts).
22 ft. 9 in. of 5/16 in. dia. cotton Banding (for 3 Bands).
DRAWING FRAME.
Main Belt, 3 in. to 4 in.—9 ft. 9 in. of 1-1/2-in. belt required for each Head.
SLUBBING, INTERMEDIATE AND ROVING FRAMES.
Main Belt, 3 in.
11-in. or 12-in. lift: 7 ft. 3 in. of 2-in. belt (for Cone Drums).
9-in. or la-in. lift: 6 ft. 8 in. of 2-in. belt (for Cone Drums).
8-in. lift: 5 ft. 11 in. of 2-in. belt (for Cone Drums).
6-in. or 7-in. lift: 5 ft. 8 in. of 2-in. belt (for Cone Drums).
RING SPINNING FRAME AND TWISTER.
Main Bell, 3 in.
CONE WINDER.
Main Belt, 2-1/2 in.
{242}
SHAFTING.
HORSE-POWER TRANSMITTED BY COLD ROLLED SHAFTING. FIRST MOVERS OR HEAD SHAFTS WELL SUPPORTED BY BEARINGS.
The above table is figured by the following rule: Multiply the cube of the diameter of the shaft by the revolutions per minute and divide by 100.
{243}
The table on the opposite page applies to head shafts supported by bearings close to each side of the main pulley so as to wholly guard against the transverse strain.
To find the diameter of shaft necessary to carry safely the main pulley at the center of a bay, use the table given below in connection with the one on the opposite page.
{244}
SHAFTING.
HORSE-POWER TRANSMITTED BY COLD ROLLED SHAFTING. SECOND MOVERS OR LINE SHAFTS WITH BEARINGS 8 FEET APART.
The above table is figured by the following rule: Multiply the cube of the diameter of the shaft by the revolutions per minute and divide by 50.
{245}
The table on the opposite page applies to Line Shafts with bearings 8 feet apart. To find the proper diameter for Line Shafts with bearings any other distance apart, multiply the diameter given in the table on the opposite page by the Constant Number corresponding to the distance between bearings in the table below.
{246}
HORSE-POWER OF SINGLE BELTS.
PULLEYS—100 R. P. M.—BELT CONTACT 1/2 CIRCUM.
NOTE—The above table is based on one Horse-power per inch of width for each 800 feet per minute belt speed. The horse-power for other pulley speeds in proportion.
{247}
HORSE-POWER OF DOUBLE BELTS.
PULLEYS—100 R. P. M.—BELT CONTACT 1/2 CIRCUM.
NOTE—The above table is based on one Horse-power per inch of width for each 500 feet per minute belt speed. The horse-power for other pulley speeds in proportion.
{248}
HORSE-POWER OF DOUBLE BELTS.
PULLEYS—100 R. P. M.—BELT CONTACT 1/2 CIRCUM.
NOTE—The above table is based on one Horse-power per inch of width for each 500 feet per minute belt speed. The horse-power for other pulley speeds in proportion.
{249}
USEFUL CONSTANTS, ETC.
1 pint of water weighs a pound and a quarter.
1 gal. of water = .1605 cu. ft. = 10 lb. of water at 62° F.
1 knot = 6080 ft. = 1.15 statute miles.
1 lb. (avoirdupois) = 7,000 grains = 453.6 grammes.
1 lb. (Troy) = 5,760 grains.
1 English h. p. = 33,000 ft. lbs. of work done per min. = 746 watts.
1 French h. p. or force de cheval = 4,500 kilogram metres per min. = .9863 English h. p.
1 English h. p. = 1.01385 French force de cheval.
1 board of trade electrical unit = 1,000 watts per hour.
Volts X amperes = watts.
The pressure of one atmosphere = 14.7 lbs. per sq. in. = 2,116 lbs. per sq. ft. = a column of mercury 760 m/m high.
A column of water 2.3 ft. high corresponds to a pressure of 1 lb. per sq. in.
Cubic inches of cast iron X 0.26 = lbs. avoirdupois.
Cubic inches of wrought iron X 0.28 = lbs. avoirdupois.
Thickness of wrought iron plate in inches X 40 = lbs. per sq. ft.
Sectional area of wrought iron in inches X 3.34 = lbs. per lineal ft.
Dia. of wrought iron in inches squared X 2.64 = lbs. per lineal ft.
CIRCUMFERENCES OF CIRCLES, ADVANCING BY 8THS.
Circum. of a circle = dia. X 3.1416
MENSURATION OF SURFACES, SOLIDS, ETC.
Area of triangle = base X half the perpendicular height.
Area of circle = dia.
2X 0.7854.
Circum. of circle = dia. X 3.14159.
Circum. of circle X .31831 = the dia.
Dia. of circle X .8862 = the side of an equal square.
Side of a square X 1.12837 = the dia. of equal circle.
Square root of an area X 1.12837 = the dia. of equal circle.
Surface of cylinder = area of both ends + length X circum.
Surface of cone = area of base + 1/2 (slant height X circum. of base).
Surface of sphere = dia. squared X 3.14159.
Solidity of sphere = dia. cubed X .5236.
Solidity of cylinder = area of one end X length.
{250}
DATA ON MANILA TRANSMISSION ROPE.
(AMERICAN MFG. CO.)
Weight of transmission rope = .34 X dia.2
Breaking strength = 7,000 X dia.2
Maximum allowable tension = 200 X dia.2
Dia. smallest practicable sheave. = 36 X dia.
Velocity of rope (assumed) = 5,400 ft. per minute.
{251}
HORSE-POWER TRANSMITTED BY MANILA ROPE.
SAG OF MANILA ROPE ON DRIVING AND SLACK SIDES.
{252}
NUMBER OF RING AND MULE SPINDLES IN UNITED STATES.
(DEPART. OF COMMERCE AND LABOR REPORT, 1908.)
Ring
Mule
Total
Maine
764,064
214,124
978,188
New Hampshire
1,045,283
275,220
1,320,503
Vermont
80,688
26,636
107,324
Massachusetts
7,060,977
2,385,403
9,446,380
Rhode Island
1,456,471
931,626
2,388,105
Connecticut
789,860
450,436
1,240,296
New York
474,154
454,162
928,316
Pennsylvania
134,268
134,042
268,310
New Jersey
108,690
338,339
447,029
Maryland
151,000
151,000
Virginia
289,639
5,940
295,579
North Carolina
2,852,540
91,864
2,944,404
South Carolina
3,700,974
12,032
3,713,006
Alabama
931,030
8,912
939,942
Georgia
1,694,768
98,022
1,792,790
Louisiana
82,252
7,300
89,552
Mississippi
173,111
105
173,216
Kentucky
58,580
27,120
85,700
Tennessee
253,448
11,750
265,198
Texas
103,708
3,216
106,924
Indiana
121,047
16,230
137,277
All other States
128,772
16,576
145,348
Total
22,455,332
5,509,055
27,964,387
{253}
WORLD'S COTTON SPINDLES.
(DEPART. OF COMMERCE AND LABOR REPORT, 1908.)
United States
27,964,387
Europe:
United Kingdom
52,817,582
Germany
9,882,505
Russia
7,855,210
France
6,731,316
Italy
4,181,000
Austria-Hungary
4,026,460
Spain
1,850,000
Switzerland
1,493,012
Belgium
1,162,041
Portugal
450,000
Netherlands
396,160
Sweden
390,000
Denmark
77,644
Norway
74,936
All other Europe
185,000
British India
5,699,898
Japan
1,550,929
China
750,000
Brazil
1,300,000
Mexico
730,000
Canada
795,293
Other countries
150,000
Total
130,513,373
