автордың кітабын онлайн тегін оқу Инженерные системы для дачного участка
Е. В. Колосов
Инженерное оборудование для дома и участка
© ИП Крылова О. А., 2015
Введение
Человек во все времена стремился окружить себя комфортом. Разумеется, то, что сейчас мы вкладываем в это понятие, нельзя сравнить с представлениями первобытного индивидуума об удобстве. До электричества, канализации, газо– и водоснабжения было еще далеко. Тем не менее, уже тогда люди, покорив огонь, стали использовать его для обогрева своего примитивного жилища. Кроме того, на очаге можно было согреть воду и приготовить еду. И это следует считать большим достижением и пусть минимальной, но благоустроенностью.
В настоящее время мы говорим не просто о том, что хорошо бы иметь теплый дом. Наши потребности несоизмеримо выросли. Нам требуется кухня, в которой без горячей и холодной воды, канализации и электричества мы чувствуем себя буквально выброшенными из жизни, потому что нельзя воспользоваться ни микроволновой печью, ни посудомоечной машиной, ни мультиваркой, ни электрическим чайником, в конце концов. Нам необходимы условия и для осуществления гигиенических процедур, для чего мы оборудуем отдельные помещения, в которых устанавливаем не обычный душ, а многофункциональную душевую кабину, не просто емкость для мытья, а джакузи (гидромассажную ванну) со всевозможными эффектами, и отдельный санузел с современным унитазом и биде настолько превратился в обыденность, что уже не кажется верхом комфорта.
Этот перечень без труда можно продолжить, поскольку в наших домах есть стиральные и сушильные машины, телевизоры и компьютеры, утюги и холодильники, кондиционеры и различный электроинструмент и т. д. Одним словом, мы не мыслим себе жизни без воды, электрического тока и газа. В отсутствие этих ставших уже привычными вещей наша жизнь превращается в сплошное мученье – настолько мы отвыкли от костра, стирки на берегу реки, дровяной печи и пр.
При этом одно дело, если мы живем в квартире, в которой уже есть минимальное инженерное оборудование, и совсем другое, если мы строим или купили дом, который находится в стороне от центрального водопровода и канализации и к которому еще только предстоит подвести все коммуникации. Об этом придется позаботиться самим. Конечно, при наличии большого количества свободных денег и отсутствии материальных затруднений это решается очень легко – обращаемся в фирмы соответствующего профиля, заключаем договоры и через некоторое время вселяемся в жилище со всеми удобствами. В случае же ограниченности в средствах хочется свести затраты к минимуму и все, что возможно, сделать собственными силами. Безусловно, есть моменты, например подключение к газовой сети, при реализации которых без специалистов не обойтись, но элементарно установить электрическую розетку, провести водопровод, выкопать колодец (мы ни в коем случае не имеем в виду, что для этого не требуется никаких знаний и сноровки!) и тому подобные действия не просто можно, но и нужно уметь делать самим.
Понятно, что при обустройстве дома и участка появление трудностей неизбежно. Когда только подумаешь, сколько всего необходимо переделать, невольно становится страшно и опускаются руки. Особенно сложно бывает, если не хватает средств. Тем не менее, есть способы, позволяющие справиться с, казалось бы, неразрешимыми ситуациями. В данной книге вы найдете информацию об оборудовании и материалах, которые потребуются для проведения на участок воды, электричества и газа, а в дом – отопления, причем от так называемых бюджетных вариантов до современных. А наши советы помогут не совершать ошибок при выполнении работ при выкапывании колодца, бурении скважины, установке розеток и выключателей, создании автономной системы канализации и т. д.
Однако прогресс не стоит на месте, инженерное оснащение дома и участка включает не только традиционные, но и новейшие виды и способы оборудования, для монтажа которых необходимо ориентироваться во многих областях. И современный отечественный рынок настолько изменился, что без пополнения или обновления уже полученных знаний просто не обойтись. При наличии соответствующего опыта и инженерного образования обеспечение дома необходимыми коммуникациями решается достаточно просто. А что делать, если человек далек от решения подобного рода задач? Он легко может стать заложником рекламы или фирм, не отличающихся добросовестностью. Поэтому важно по крайней мере контролировать процесс инженерного обеспечения дома и участка, ясно представляя себе, какого результата и какими способами вы хотите добиться.
Всем этим вопросам (понятно, что мы не претендуем на всеохватность материала) мы и уделим внимание в нашей книге в надежде, что она поможет читателям хотя бы частично разрешить проблему благоустройства их дома.
Водоснабжение и канализация
Система холодного водоснабжения дома и участка
Давно канули в Лету времена, когда человек довольствовался водой, набранной из любого источника. Сейчас это неприемлемо, более того, небезопасно, поскольку экологическая среда, окружающая нас, уже давно не такая благоприятная, как в далеком прошлом, когда люди могли себе позволить напиться воды из ближайшего водоема. Кроме того, практически невозможно найти человека, который в любую погоду будет с удовольствием таскать воду в ведрах (заметим, что и выносить придется такое же количество), и хорошо, если из расположенных неподалеку колодца или колонки. Сейчас мы хотим подойти к крану на кухне или в ванной, повернуть вентиль и услышать шум водной струи, которая изливается из трубы, подведенной в жилище; предпочитаем не бегать с лейкой по участку, поливая любимые растения, а воспользоваться шлангом, из которого течет чистая прохладная вода. Одним словом, нам необходимо решить задачу водоснабжения дома и участка, для которого выбор источника в значительной степени зависит от самой системы и наличия в ней определенных сооружений. Все это в совокупности определит, во сколько обойдутся строительство и последующая ее эксплуатация.
Тут перед нами вырисовывается альтернатива – подключиться к централизованной системе во до снабжения, если такова имеется в районе расположения дома, или создать собственную, децентрализованную систему водоснабжения. Независимо от принятого решения, сначала необходимо оформить соответствующие разрешения, после чего приступать к работам. Но в первом случае все ограничится рытьем траншеи и подключением к системе с тем, чтобы завести водопровод в дом, после чего можно будет приступать к установке сантехники и прочего оборудования.
Поскольку возможен и такой вариант решения проблемы водоснабжения, уделим внимание и ему.
Система водоснабжения в условиях централизованной системы включает наружный ввод, прокладку трубопровода, установку сантехнического оборудования и арматуру. Перед осуществлением ввода в уличную водопроводную сеть следует обратиться в соответствующие организации за разрешением и техническими условиями подключения (в последних представлена информация о месте и схеме присоединения, указывается глубина заложения трубопровода (на 50 см ниже глубины промерзания) и другие сведения). Диаметр наружного ввода и трубопровода внутренней системы определяется материалом труб (для стальных и пластмассовых он составляет, как минимум, 20 мм; для чугунных – 50 мм), количеством приборов, предполагаемых к подключению, а также наличием или отсутствием летнего водопровода.
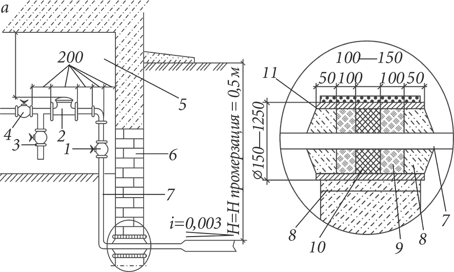
Если дом оборудован подвалом, то ввод осуществляют через его стену, если он отсутствует – то через фундамент посредством канала большего диаметра, чем трубы. Отверстия в нем изолируют водонепроницаемым материалом, для чего используют, например, паклю, жирную глину и цементный раствор. Устройство ввода показано на рисунке 1.
Рисунок 1. Схема водопроводного ввода (размеры указаны в миллиметрах): а – индивидуальный дом; 1, 4) вентиль; 2) водомер; 3) сливной кран; 5) подвал; 6) фундамент; 7) трубопровод ввода; 8) цементный раствор; 9) пакля; 10) жирная глина; 11) канал
Рисунок 1. Схема водопроводного ввода (размеры указаны в миллиметрах) (окончание): б – уличный водоразборный колодец; 4) вентиль; 3) сливной кран; 7) трубопровод ввода; 8) цементный раствор; 9) пакля; 10) жирная глина; 11) канал 12) отмостка; 13) люк; 14) скобы; 15) бетонное кольцо; 16) глиняный замок; 17) заземление; 18) труба уличного ввода; 19) прокладка; 20) сварка; 21) хомут
Во втором случае предстоит найти и оборудовать источник, который снабдит дом и участок свежей водой. Он должен удовлетворять целому ряду требований, в частности обеспечивать:
♦ необходимое количество воды, причем с учетом возрастания объемов ее потребления;
♦ бесперебойную подачу воды;
♦ воду определенного качества (последнее должно соответствовать нуждам потребителя или достигаться посредством очистки, причем не требующей высоких как трудовых, так и материальных затрат);
♦ стабильность экологической системы, которая не будет нарушаться при заборе воды.
Остановить свой выбор на том или ином источнике холодного водоснабжения можно только после тщательного обследования водных ресурсов, характерных для местности, в которой расположен объект, т. е. дом и участок. Природные источники воды представлены двумя группами:
♦ поверхностными, включающими моря, реки, ручьи, озера, водохранилища, болота, пруды, ледники, родники, гейзеры;
♦ подземными – водоносными слоями и бассейнами грунтовых вод.
Если происхождение первых не вызывает вопросов (кроме того, в качестве источника питьевой воды из представленного перечня всерьез можно рассматривать только родники, ведь не на каждом участке бьют гейзеры и сползают ледники), то на вторых необходимо остановиться более подробно, поскольку от них зависит тот или иной источник, выбранный для системы холодного водоснабжения.
Подземные воды формируются за счет атмосферных осадков (это не только дождь или снег – сюда входят иней, роса, град), которые образуются за счет испарения влаги из водоемов и почвы и при выпадении проникают в грунт (отсюда их название), где и фильтруются (рис. 2). Слой породы, в котором аккумулируются и перемещаются грунтовые воды, называется водоносным пластом; водонепроницаемые слои, залегающие ниже него, – водоупором.
Рисунок 2. Схема образования подземных вод: 1, 3) грунтовые воды; 2) артезианская вода; 4) межпластовые воды; 5) поверхностный слой грунта; 6) песчаный и каменистый слой; 7) глиняный водоупорный горизонт; 8) известняки
(Попутно заметим, что мнение если не о стерильности, то по крайней мере о высокой чистоте атмосферной воды относится к области заблуждений (можно говорить только об относительной чистоте). Дело в том, что капли воды загрязняются микроорганизмами и различными веществами, присутствующими в воздухе. Но достоинство у этих вод есть – мягкость, поскольку в них содержится минимальное количество минеральных солей.)
Атмосферная вода минует водопроницаемые слои грунта и доходит до плотного водоупорного слоя (горизонта), образованного отложениями жирной глины, причем если они имеют выраженный уклон, то грунтовые воды заполняют более низкие места, в результате чего образуются ключи. В некоторых случаях вода собирается между водоупорными пластами и, находясь под их давлением, выходит струйками. Если на поверхности земли она появляется на ровном месте и выбрасывается под небольшим напором, то такие ключи носят название восходящих; если вода стекает в низменные участки, например в овраг или обрыв, то образующийся ключ называется нисходящим.
Скважины и колодцы, выполненные в соответствии с гидрогеологическими и санитарными правилами, не гарантируют, что добытая из них вода окажется качественной. В настоящее время в скважине глубиной до 50 м можно обнаружить следы фенола и других вредных веществ.
От формы водоупорного слоя зависит больший или меньший объем накопленной воды, которая формирует водоносный горизонт, могущий содержать примеси песка, мельчайших частиц различных пород (глины, гравия и др.).
Строение грунта определяет количество водоносных горизонтов, которые залегают на разной глубине. От последнего обстоятельства зависит, каким именно способом будет обеспечиваться водоснабжение участка – будет ли это отрытый колодец или пробуренная скважина.
Вода, находящаяся от поверхности земли на различной глубине, именуется по-разному. Она называется верховодкой, если глубина залегания воды составляет до 4 м; почвенной водой – при глубине до 10 м; грунтовой – при глубине до 40 м; артезианской – при глубине более 40 м.
В соответствии с принятыми нормами участок, на котором предполагается выкопать колодец, должен находиться не менее чем в 50 м от выгребных ям, компостной кучи, уличного туалета и т. д. От крупных дорог его должны отделять, как минимум, 30 м.
Верховодка в качестве источника водоснабжения не подходит, поскольку содержит небольшие запасы (до нескольких тонн) воды, объем которых варьируется в значительных пределах, так как зависит от количества выпавших в данном регионе осадков. Кроме того, верховодка не имеет сверху водоупорного слоя, вследствие чего «обогащается» загрязненными поверхностными водами, и поэтому не может быть использована для питья. Основным источником водоснабжения являются глубоко залегающие межпластовые воды (см. рис. 2), запасы и качество которых стабильно высокие.
Современные владельцы участков и домов, как и их предки, используют воду подземных источников, которую добывают, устраивая колодцы. К сожалению, колодезная вода не всегда удовлетворяет требованиям санитарных норм. Поэтому нередко приходится бурить глубокие скважины, доходящие до артезианских водоносных слоев, качество воды которых соответствует принятым стандартам. Помимо этого, уровень артезианской воды не колеблется и не зависит от метеоусловий и времени года (ее температура равна 7—12 °С).
Надо признать, что бурение скважины – дело не только не простое, но и затратное. Кроме того, если речь идет об еще не обустроенном участке (именно с этой целью территорию обследуют, разрабатывают проект в том числе и водоснабжения еще до строительства дома), на который можно пригнать тяжелую технику и выполнить все работы, то при наличии материальных ресурсов это вполне выполнимо. А если участок небольшой или дом и хозблок уже выстроены, сад посажен, ограда установлена, то это весьма проблематично и дорого. В таких случаях выход только один – применение современных средств очистки воды, способных довести ее до состояния, пригодного для употребления. Таким образом, ситуации бывают разные, отсюда и способы разрешения проблем также не совпадают.
Выбирая тип вертикального водоснабжения, необходимо принимать в расчет ряд параметров, а именно:
♦ глубину залегания водоносных пластов;
♦ условия их пополнения;
♦ положение участка с точки зрения санитарии, с тем чтобы исключить риск попадания в грунтовые воды бытовых или промышленных стоков;
♦ состояние грунта в зоне установки источника водоснабжения (не должно быть никаких предпосылок (размыва, оползания) к его деформации, могущей разрушить конструкцию).
Если забота о водоснабжении в городской квартире предполагает установку санитарно-технических приборов (ванны, унитаза, кухонной мойки), то решение этой проблемы в индивидуальном построенном доме значительно сложнее и предполагает несколько возможных сценариев.
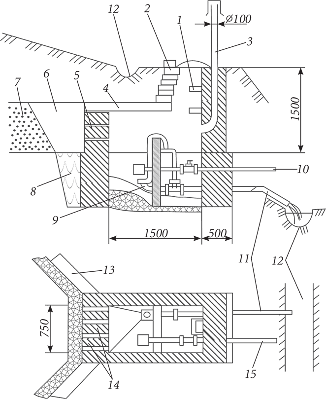
Подземные воды классифицируются на безнапорные и напорные (к ним относятся артезианские). Одни выходят на поверхность и бьют в виде ключей, другие – залегают на большой глубине и их приходится поднимать принудительно с помощью насосов. В первых случаях источником становится поверхностный родник, над которым сооружается каптажная (от фр. captage, от лат. capto – «ловлю, хватаю») камера, т. е. сооружение водозабора (это так называемый ключевой колодец), в других – колодец (шахтный, если водоносный горизонт находится на глубине не более чем 8 м от поверхности земли), в третьих – скважина (буровая шахта глубокого заложения, если водоносный пласт расположен на глубине до 100 м от уровня земли). Рассмотрим по порядку, каким образом они сооружаются.
1. Конструктивно наименее сложным является ключевой колодец, который можно устроить, если поблизости от дома грунтовая вода выходит на поверхность (хотя следует признать, что это встречается достаточно редко). Для его строительства не потребуется сложной техники, дорогих материалов и соответственно финансовых и трудовых затрат. Каптажные камеры можно сложить из подручных материалов, например камней, древесины и т. п. В зависимости от того, над каким ключом сооружается камера, различают ключевые колодцы двух типов – восходящий и нисходящий.
Колодец или скважина, устроенные на участке, обязывают застройщика содержать их в чистоте, чтобы не допустить загрязнения колодезной воды. Поэтому рядом с ними запрещено мыть машины, держать животных, заниматься бытовыми делами вроде стирки или мытья посуды.
Чтобы построить восходящий ключевой колодец (рис. 3), необходимо выполнить работы в такой последовательности:
♦ выбрать место, подготовить его, расчистив и углубив;
♦ установить в углубление короб подходящего размера (резервуар). Это могут быть бочка без дна, бетонное кольцо, сруб и т. п. Его край должен непременно располагаться ниже уровня воды, поднимаемой ключом. Если высота резервуара намного превышает уровень возможного подъема воды, то в нем необходимо предусмотреть сливное отверстие, через которое избыточная вода будет уходить по переливной трубе;
♦ выложить стенки кирпичом;
♦ создать глиняный замок, т. е. промежутки между коробом и грунтом замазать мятой жирной глиной слоем не менее 20 см и уплотнить;
♦ для предупреждения размывания замазки заделать ее плитняком или засыпать щебнем (гравием);
♦ покрыть дно колодца промытым крупным речным песком, гравием или щебнем, насыпав их слоем 10–15 см;
♦ выполнить в резервуаре сливное отверстие. Это условие относится к обязательным и объясняется тем, что при его отсутствии под воздействием давления массы воды она начнет искать другой выход и, обнаружив его, будет либо сливать туда избыток воды, либо вообще перестанет наполнять резервуар;
♦ закрепить в коробе лоток, с которого можно будет набирать воду, не загрязняя проточную струю тарой;
♦ поместить на горловину резервуара крышку для защиты его от попадания пыли, мусора, насекомых и пр.;
♦ выполнить отмостку вокруг каптажной камеры, по которой будут стекать атмосферные осадки, минуя резервуар. Прежде чем положить кирпич, бетон или другое покрытие, следует сделать глиняный замок из мятой жирной глины;
♦ обнести колодец ограждением, расположив его на расстоянии 3–4 м от колодца (если есть возможность, построить вокруг колодца павильон);
♦ выкопать канаву для вытекающей из колодца воды. Она должна иметь такую глубину, чтобы вода не переливалась через край и не перенасыщала окружающий грунт. Необходимо предупредить размывание канавы, для чего надо укрепить ее глиняным замком, поверх которого уложить плитняк или другой материал.
Рисунок 3. Ключевой колодец восходящего типа (размеры указаны в миллиметрах): 1) перекрытие; 2) слой гидроизоляции; 3) ходовые скобы; 4) кирпичная кладка; 5) вентиляционная труба; 6) переливная труба; 7) водозаборная труба; 8) вентиль; 9) фильтр; 10) обратный гравийный фильтр; 11) бетонное кольцо
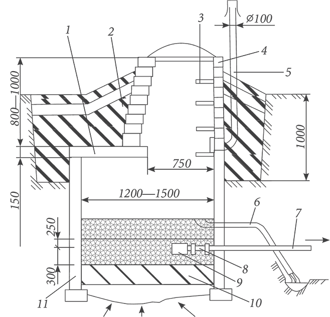
Материал резервуара для нисходящего колодца (рис. 4) может быть любым, но обязательное условие – его дно должно быть выполнено из дерева, кирпича или бетона, чтобы устранить контакт между грунтом и прибывающей из источника водой.
Для теплоизоляции колодца или скважины на зиму допускается использовать натуральные материалы (опилки, стружку и др.). Применение пенополистирола, стекловаты и других синтетических утеплителей запрещается. При этом ни те, ни другие не должны попасть в воду.
В остальном устройство нисходящего колодца практически не отличается от описанного выше, да и принцип забора воды сохраняется, с той лишь разницей, что в колодце нисходящего типа вода попадает в резервуар не снизу, как в восходящем колодце, а со стороны боковой стенки. Поскольку она может быть загрязнена частицами грунта, то возникает необходимость ее фильтрации. Для этого поперек водоносного слоя следует устроить дренажную стенку из щебня, гравия или чистого речного песка, а также разделить короб на две части, возведя поперек тока воды перегородку из любого подручного материала. Вода поступает в первое отделение (назовем его приемным), отстаивается и, достигнув верха перегородки, переливается во второе отделение, оттуда течет по сливному отверстию и через переливную трубу поступает в водоотводную канаву.
Рисунок 4. Ключевой колодец нисходящего типа (размеры указаны в миллиметрах): 1) ходовые скобы; 2) кирпичная кладка; 3) вентиляционная труба; 4) перекрытие; 5, 14) дренаж; 6) гравийный фильтр; 7) водоносный горизонт; 8) глиняный замок; 9) сливная воронка; 10, 15) водозаборная труба; 11) переливная труба; 12) водоотводная канава;
