Александр Матанцев
Новое о менгирах, кромлехах и Стоунхендже
Шрифты предоставлены компанией «ПараТайп»
© Александр Матанцев, 2019
Менгиры — это мегалиты в виде вертикально стоящих каменных кварцесодержащих блоков, а кромлехи — комплексы из менгиров в виде кругов, «корабликов» и других фигур. Всё это — наследие древних цивилизаций, отличающееся многофункциональностью, в том числе и Стоунхендж. Автор проводит анализ, новые исследования, делая акцент на физическую сущность. Дается классификация 50 видов менгиров. Раскрываются тайны воздействия на человека, природу, землетрясения, на передачу энергии и на защиту от врагов.
ISBN 978-5-0050-5505-7
Создано в интеллектуальной издательской системе Ridero
Оглавление
- Новое о менгирах, кромлехах и Стоунхендже
- Введение
- ОПРЕДЕЛЕНИЯ
- Определение термина «менгир»
- Определение термина «кромлех»
- Определение термина «трилит» (или «трилитон»)
- Высказывания исследователей и ученых о менгирах, кромлехах и Стоунхендже
- Классификация менгиров
- 50 видов менгиров по форме и внешнему виду
- Подражание древним менгирам
- Классификация комплексов менгиров
- Пары менгиров
- Двойка или тройка фокусирующих менгиров
- Ряды, линии, полосы, группы менгиров
- Небольшие группы менгиров
- КЛАССИФИКАЦИЯ КРОМЛЕХОВ
- Кромлехи в виде дуги или полуокружности
- КромлехИ в виде колец
- Кромлех в виде кораблика
- Кромлехи четырехугольной формы
- Кромлехи со сложными фигурами
- Всемирно известный Стоунхендж
- ГДЕ, СКОЛЬКО И КОГДА. МЕНГИРЫ И КРОМЛЕХИ
- Сколько менгиров и кромлехов, и где они расположены
- Время создания и разрушения менгиров и кромлехов
- Версия Александра Матанцева. Сравнение времени разрушения менгира «Камень Фей» с временем разрушения статуй на острове Пасхи, и с временем прекращение функционирования пирамид в Гизе
- Кто построил менгиры и кромлехи
- ОБЛАСТИ ПРИМЕНЕНИЯ
- Воздействие на человека
- Использование для приготовления еды
- Воздействие на животных
- Воздействие на окружающую среду
- Применение для сельского хозяйства
- Применение в технологических целях
- Применение в качестве обсерватории
- Применение для связи
- Применение для извлечения и передачи энергии
- Применение в качестве маяков и пограничных столбов
- Контроль над состоянием проливов и судоходства
- Применение для запитки НЛО
- Информационное и историческое назначение
- Культовое и мистическое применение
- Какие области применения являются основными
- СВОЙСТВА МЕНГИРОВ И КРОМЛЕХОВ
- Генерирующие менгиры расположены в местах тектонических разломов и в местах силы
- Заострение нижней части менгира, расположенной в земле, и упор на другие камни и основание
- Установка рядом с движущимися потоками воды
- Наклон менгиров в сторону моря, озера, реки
- Наличие элементов настройки и обозначений
- Версия автора, Александра Матанцева, о совпадении или схожести настроечных элементов разных мегалитов
- Александр Матанцев продолжает учение Александра Махова и выдвигает гипотезу о назначении двойной спирали
- Изменение свойств в дни солнцестояния, равноденствия, и времени суток
- Получение модулированного звукового сигнала
- Генерирование и усиление звукового сигнала
- Формирование кромлехом собственного поля
- Автоматическое поражение вражеских летательных объектов
- Версия автора, Александра Матанцева о принципе автоматического поражения вражеских летательных аппаратов (ЛА)
- Многообразие форм, связь с дольменами, курганами
- Содержание кварца и других пьезоэлементов, и излучение ультразвука
- Дополнение автора, АлександрА Матанцева о видах первичной энергии
- Строгая ориентация менгиров и кромлехов
- Формирование своего магнитного поля
- Особая энергетика, генерирование звуковых и электромагнитных волн
- Энергия и интенсивность излучения пропорциональны массе
- Наличие элементов настройки менгиров, кромлехов, и других мегалитов на заданную частоту
- У основания генерирующего менгира часто не растет трава
- Зависимость расстояния между менгирами от их размера
- Применение подобранных специальных материалов
- Искусная обработка камней разными технологиями
- Устойчивость к сейсмическим воздействиям
- ФИЗИЧЕСКАЯ СУЩНОСТЬ ПРОЦЕССОВ
- Физические процессы в менгирах
- Диаграммы направленности антенн, которые представляют одиночные менгиры
- Диаграммы направленности антенн, которые представляют линии и ряды менгиров
- Диаграммы направленности антенн, которые представляют кромлехи и трилиты
- Диаграммы направленности антенн, которые представляют кромлехи в виде кораблика
- Свойства ультразвука на примере современного опыта
- Свойства резонансной ультразвуковой частоты
- Расчет величины ультразвуковой частоты
- Подробное описание автором, Александром Матанцевым процесса пьезоэффекта
- Группа кальцита [347]
- Новая теория Александра Матанцева о причине использования разных материалов в одном мегалитическом объекте, например, в менгире или сейде
- Новая версия Александра Матанцева о получении нескольких частот ультразвука в Стоунхендже
- Причины, по которым так важно было выявить дни равноденствия и солнцестояния
- СРАВНЕНИЕ СВОЙСТВ, ИСПОЛЬЗУЕМЫХ В СЕЙДАХ, ПИРАМИДАХ, КУРГАНАХ, ДОЛЬМЕНАХ, СТАТУЯХ С ОСТРОВА ПАСХИ, МЕНГИРАХ И КРОМЛЕХАХ
- Сравнение свойств сейдов и пирамид
- Свойства статуй с острова Пасхи
- Сравнение физических явлений, используемых в сейдах, пирамидах, курганах и дольменах
- Сейды
- Дольмены [5]
- Обобщение. Режимы работы дольменов
- Пирамиды [3, 4, 96]
- МНОГОФУНКЦИОНАЛЬНОЕ НАЗНАЧЕНИЕ МЕГАЛИТИЧЕСКИХ СООРУЖЕНИЙ
- Многофункциональное назначение пирамид
- Многофункциональное назначение курганов с камерами
- Многофункциональное назначение дольменов
- Многофункциональное назначение сейдов
- Многофункциональное назначенИЕ статуй на острове Пасхи
- Многофункциональное назначение менгиров и кромлехов
- ЗАКЛЮЧЕНИЕ
- Список литературы
Введение
Древние мегалиты будоражат умы ученых и многих жителей планеты. Уровень науки, достижения технологий необычайно высок в мире. Однако достижения представителей древних цивилизаций, всё равно восхищают и впечатляют! Человечество до сих пор не может повторить эти достижения. Каждый раз встают вопросы: «Для чего строили? Кто создал? Когда появилось? Почему многое разрушено? Как использовать сейчас?». По древним мегалитам написано много книг, но, как оказалось, к настоящему времени, эти тайны до конца не раскрыты!
Автор этой книги, кандидат технических наук, изобретатель, много лет работавший начальником лаборатории во ВНИИ Технической физики и автоматизации, поставил перед собой задачу изучить достигнутый опыт в изучении древних мегалитов, проанализировать, обобщить и систематизировать достигнутые достижения и на основе этого продолжить и развить данное направление.
Автор подробно проанализировал направления развития древнего мегалитического строительства. В результате, я пришел к выводу, что главная сложность повторения творений создателей древних пирамид, курганов, дольменов, сейдов, менгиров и кромлехов состоит в их многофункциональности. Парадокс состоит в том, что эта многофункциональность, к тому же, двойная. Она, как со стороны разных сторон применения, так и со стороны сразу нескольких основных физических принципов воздействий. Это означает, что один физический принцип, или набор физических воздействий могут использоваться одновременно для нескольких целей. Кроме того, это означает, что в них использована ни одна технология, формируется не одна область частот, а несколько!
Сначала я написал сборник юмористических рассказов с героями под общим названием «Тайны мироздания» [1], и «Тайны человечества. Юмористические истории» [2]. Юмористическое восприятие помогает лучше вникнуть во все странности мироздания. При этом, я осознал, что чувствовали могущественные создатели мегалитических сооружений, и зачем они строили их по всему миру. Ощущение было одно — радость и гордость за свое могущество и возможность помочь всем и своим сородичам, а также эффективная защита от могущественных врагов. Эти создатели, хорошо знающие опасности глобального масштаба от периодических и разовых процессов, например, от смещения оси Земли и переполюсовки, от возможности воздействия комет и более могущественных сил, спонтанного и разумного содержания. Однако климат на нашей планете менялся, резонансная частота Шумана после Великой катастрофы существенно уменьшилась, а притяжение существенно увеличилось. Это привело к некомфортному обитанию древних создателей мегалитов в силу своих габаритов, и чувствительности к внешним условиям. Именно поэтому стали создаваться интенсивно различные виды мегалитических сооружений, которые применялись как в лечебных целях, так и в защитных целях. Однако, в жизни всегда есть конкуренты, завистники или враждебные силы. Ослабленные создатели не смогли противодействовать внешним силам. В результате они стали покидать созданные ими «шедевры». У них нашлось немало завистников и противников, что всегда бывает при ослаблении сильных.
Появились другие могущественные силы, которые препятствовали получению древних знаний. И это не просто временный заговор, а постоянный, начиная с древних веков, когда возникла целенаправленная каста жрецов, уничтожающая достижения древних создателей пирамид и других мегалитических объектов. Осознав всё это, мне стало не до смеха. Изучение древней истории показало, что несмотря на умопомрачительные технологии древних создателей, оказывается, что слабости создателей еще сильнее, и очень много достижений погибло из-за войн и распрей. Примеров сколько угодно. Начинка Великих пирамид Гизы надежно спрятана, а все разумные технические гипотезы применения игнорируются египетскими властями и другим силами, не желающими, чтобы они стали достоянием многих. Можно привести другой пример, который на первый взгляд не связан с пирамидами. Большая часть нашедших черепов длинной формы и скелеты людей размером в несколько метров, тщательно скрываются, и прежде всего, американскими службами. Эти скелеты, принадлежавшие древним людям, працивилизации, или же, могли быть внеземного происхождения, и принадлежать создателям и участникам строительства пирамид. Существуют лишь отдельные проблески в этом заговоре, когда правительство Мексики предоставило всем миру около 400 артефактов с печатями подлинности, среди которых есть артефакты с изображением миндалевидных людей на фоне Сатурна и космических кораблей. Другой проблеск знаний — это передача правительством Перу ученым из Санкт-Петербурга необычных трехпалых мумий. Российские ученые доложили на конференции всему миру, что эти мумии принадлежали существам внеземного происхождения, их строение и биология процессов резко отличается от земных. Найденные черепа принадлежат не современным людям, а содержат неизвестные гены.
Все это подвигло меня на написание книги «Древние пирамиды — ключ к познанию мироздания» [3]. В этой книге я сделал обобщение и систематизацию разных гипотез и сформулировал многофункциональное назначение. Кроме того, дал и свои гипотезы о глобальной катастрофе на основе изучения Дендерского Зодиака. Моя гипотеза подтверждает учение Иммануила Великовского об участии Сатурна и Юпитера в этой катастрофе. Далее, мне удалось объяснить учение Старостина о принципе получения водорода в Великой пирамиде за счет Кнудсеновского эффекта при прохождении его через мелкие поры в граните, что аналогично используемого эффекта обогащения урана в газовой гексафторидной фазе, при прохождении через мелкие поры. Помимо этого, мне удалось сформулировать признаки настоящих древних пирамид и на основе этого, указать, где в каком месте России следует искать новые пирамиды.
После того, как я на деле осознал, что аналитика, систематизация и, главное, смелость в науке, творят чудеса, набрался сил и написал книгу «Древние пирамиды — ключ к подавлению катастроф» [4]. Систематизация всех признаков мегалитических объектов привела к тому, что выявилось общее применение для всех мегалитических объектов, состоящее в предварительном указании на приближающиеся признаки, и на подавлении землетрясений и других катастроф.
Здесь я вывел формулу, показывающую возможности защиты от землетрясений и катастроф путем использования пирамид, курганов и дольменов. При развитии этой тематики, были проведены исследования и выявлено реальное время, когда египетские пирамиды вокруг Нила подавляли катастрофы, и период, когда это влияние было нарушено. Кроме того, удалось выявить случаи современного воздействия пирамид на климат в дождливые периоды времени.
Дальше мне стало понятно, что есть основа, или общее для всех мегалитических сооружений. Это стало особенно ясно после проведения исследований и расчетов, и написания книги «Крымские курганы и дольмены — таинственное назначение» [5]. Поэтому все встало на свои места. Выявилась основа всех этих мегалитических сооружений, связанная с опознаванием признаков и подавлением землетрясений и катастроф, причем выявлена прямая связь количества этих мегалитических сооружений с величиной и частотой тектонических разломов, а также с наличием внешних или внутренних водоемов. Сформулированы признаки, отличающие настоящие пирамиды и их зависимость от места силы, Русской сетки и других признаков. Одновременно, выявлена специфика дольменов и вычислены резонансные частоты, напрямик связанные с резонансами Шумана и частоты, применяемые для воздействия и лечения человека. Особенно интересным было выявление факта воздействия разных диапазонов частот в дольменах. Удалось выявить три диапазона полезных частот: низкочастотных в диапазоне сейсмического сигнала от 1 Гц до 100 Гц, высокий предел низких частот до нескольких килогерц, и ультразвуковой диапазон, связанный с пьезоэффектом и размерами кристалла кварца, с частотами от 1 до 10 МГц, которые используются сейчас в медицине для лечения. Все это я изложил в книге «Тайны подавления землетрясений и катастроф» [6]
После этого мной сформулированы все свойства настоящих мегалитических сооружений, которые воздействовали на окружающую среду и на человека. Когда я сравнил эти свойства со статуями на острове Пасхи, то был шокирован! Эти статуи на подставках точь-в-точь по свойствам совпадали с мегалитическим сооружениями, как по месту тетанических разломов, и мест силы, так и по физическим свойствам излучения звуковых волн и воздействия на человека. Тогда я провел анализ достигнутого, систематизацию, исследования и написал книгу «Тайны статуй на острове Пасхи» [7]. В результате удалось выявить многие новые свойства этих статуй: были два типа статуй, одни предотвращали возникновение землетрясений и вулканов в непосредственной близости от кратеров, а другие, установленные на берегу, служили своего рода колокольчиками по возникновению новых землетрясений и подавляли в процессе интерференции акустических волн по воде на огромные расстояния новые землетрясения в дальних местах. Древние создатели запечатлели в этих статуях свой облик, но поставили их спиной к месту подавления катастроф. Кроме того, они использовали элементы частотной настройки двух типов: в виде рисунков на спине и в виде игрушечных фигурок, резонирующих на разных частотах. Мне удалось показать эти настроечные элементы в виде многорезонансных фигурок-игрушек статуй. Здесь снова проявилась многофункциональность, заключающаяся в возможности целебного и военного ударного воздействия акустических излучений разных длин волн.
Далее, настала очередь сейдов. Сейды отличаются от всех остальных мегалитических сооружений тем, что они больше всего напоминают естественные объекты, создаваемые природой. Против научного и технического подхода к сейдам, создалась целая коалиция противников. Вот ведь какой парадокс. Много российских ученых пишут и приводят результаты исследований о техническом назначении сейдов, а их мнения растворяется в воздухе, вернее, в среде догматически принятых когда-то решений. Это плеяда замечательных ученых, подтвердивших свою компетентность, среди них: В. Мизин, В. Трошин, Н. Волков, В. Чернобров, А. Норбеков, А. Колтыпин, А. Дорошкевич, А. Шихарев, В. Волков, Э. Мулдашев, А. Беляев, А. Лекомцев, В. Маркова, А. Лудов, Г. Еремин, А. Кондратов, И. Гусев, О. Лосев, В. Куприн, В. Горбатовский, И. Манюхин, Н. Харузин, Д. Золотарев, Н. Гурина, Ю. Титов, И. Мулло, А. Куратова, А. Брюсов, О. Комарецкая, В. Алымов.
Моя задача состояла в систематизации достижений и выявление основных технических достижений. Если выявляются общие свойства сейдов, высказываемые видными учеными, то это можно утвердить и принять. Следующий шаг — развитие этой тематики, выявление наиболее употребляемых габаритов, выяснение путем исследований и расчетов диапазонов частот. Заключительная фаза исследований состояла в сопряжении или привязки полученных параметров с областями применения. Все это описано в моей книге «Тайна сейдов — мегалитических сооружений» [8]. В этой книге вы узнаете о трех, наиболее распространённых размерах сейдов. Эта градация аналогична разделению дольменов, которое сделал великий российским исследователь Владимир Иванович Марковин. Здесь вы увидите связь с резонансами Шумана и изменение этой частоты после Всемирной катастрофы. Отсюда можно сделать выводы о времени происхождения сейдов. Малая часть была создана до этой катастрофы, а основная часть — уже после этой катастрофы, произошедшей, примерно, 12 тысяч лет назад. Здесь вы узнаете о пользе и вреде излучения сейдов. Здесь будет сделано обобщение о времени создания настоящих сейдов и об их создателях. Область воздействия на человека этим видом мегалитов больше по сравнению с областью воздействия на природу и землетрясения.
Теперь пришла очередь анализа достижений и дальнейших исследований менгиров и кромлехов. Всемирно известный Стоунхендж относится к разновидности комплексов с использованием менгиров и кромлехов. Отличительная особенность этих мегалитов состоит в том, что их очень много — десятки и даже сотни тысяч на всех континентах. Забегая вперед скажу, что здесь происходит смещение акцентов. Это означает, что несмотря на общность свойств по защите от катастроф, вперед выступает область защиты и нападения на врага, а также область астрономических исследований, в том числе, определение дней солнцестояния, равноденствия, а также область воздействия на людей и внеземных существ.
Итак, для любителей тайн мироздания и истории — огромный фронт информации. К чему я стремлюсь в своих книгах: убедительно, путем исследований и логических умозаключений, дать информацию о ступенях древнего мегалитического строительства и его исключительно полезных свойствах, единых для всего человечества и одновременно, с разными специфическими аспектами для отдельных видов. Кроме того, для самых важных физических принципов мной сделаны расчеты, например, для определения частоты ультразвука на кристаллах кварца и кальцита, для воздействия на человека и для противовоздушной обороны. Описана теория проявления условий устойчивости неустойчиво поставленных мегалитов за счет использования специфических материалов, и другие теории. Европейские исследователи изучили свой Стоунхендж вдоль и поперек. Однако автору удалось пополнить эти знания. Изучение этого вопроса выявило, что аналогичных кромлехов много, а изучение свойств используемых материалов позволило выявить три источника ультразвука с разными частотами. Оказалось, что это не случайно, так как кварцевый источник давал самую большую ультразвуковую частоту, используемую, прежде всего, для лечения, а кальцитовые и турмалиновые блоки и вкрапления давали меньшую величину ультразвуковой частоты, способную распространяться куда дальше и поэтому расширявшие горизонты противовоздушной обороны и нападения.
Вся эта работа была начата не случайно, а под воздействием резко участившихся случаев усиления катастроф и изменения климата на нашей планете. Оказывается, еще в самые древние времена, были создатели таких замечательных мегалитических сооружений, которые предотвращали не только местные катастрофы, но и катастрофы планетарного значения. Настала пора, когда странам необходимо остановиться конфликтовать, а создать единую систему оповещения и подавления катастроф и землетрясений, аналогичную древним мегалитическим сооружениям. Кроме того, необходимо создать карту лечебных, психоэмоциональных, защитных, военных и разрушающих воздействий на человека отдельными видами мегалитических объектов. Тем более, что немало из этих объектов, например, сейды и дольмены, менгиры работают и сейчас. Необходимо научиться пользоваться этим достоянием.
Настало время создать единый мировой проект по защите нашей дорогой планеты от планетарных катастроф, типа переполюсовки, смещения оси, сильного изменения магнитного поля, Великого потопа, периодов обледенения, которые неоднократно повторялись в истории, после которых погибали целые цивилизации. Значительную помощь в этом поможет изучение и применение достояния человечества в виде древних мегалитических объектов.
ОПРЕДЕЛЕНИЯ
Определение термина «менгир»
Прежде всего, рассмотрим имеющиеся сейчас определения термина «менгир» в литературе.
Менгир в переводе с бретонского обозначает men — камень и hir — длинный — «длинный камень» и представляет собой грубо обработанный дикий камень в виде столба. Камни могут стоять как поодиночке, так и представлять целую группу менгиров, расположенных недалеко друг от друга. Менгиры можно считать первыми рукотворными сооружения наших предков, сохранившихся до наших дней [9].
Менгир — простейший мегалит в виде установленного человеком грубо обработанного дикого камня, у которого вертикальные размеры заметно превышают горизонтальные [10].
Мегалиты (от греч. μέγας — большой, λίθος — камень) — доисторические сооружения из больших блоков [11]. В предельном случае это один модуль (менгир). Термин не является строго научным, поэтому под определение мегалитов и мегалитических сооружений подпадает достаточно расплывчатая группа строений.
Мегалиты распространены во всём мире, преимущественно в приморских областях.
Менгир — это высокое монолитное каменное сооружение, которое переводится как «высокий камень». «Вытянутость» является главной особенностью менгира, высота которого обычно больше, чем ширина. Хотя, иногда из менгиров образуются и целые комплексы (например, такие, как Стоунхендж) [12].
Менгиры -одиночные вертикальные камни, устанавливаемые в зонах концентрации инфразвукового сигнала [13]. Они позволяли увеличить количество мест, для получения инфразвуковой энергии. Иногда, возле крупных приёмников (курганов), делали целые поля менгиров.
Менгиры — длинные, грубо обработанные камни, вертикально установленные в землю [14]. Их высота может быть от 3 до 20 метров. Почти на всех камнях-менгирах обнаруживаются высеченные темные от времени лица «великанов», рунические надписи или петроглифы (рисунки) с животными. Эти камни стоят поодиночке или группами разной формы (кругами, полукругами, линиями и т.д.).
Менгиры –мегалиты в виде установленного человеком грубо обработанного дикого камня поставленные вертикально [15]. Иногда эти каменные глыбы называют древним обелиском. Считается, что прикосновение к менгиру приносит удачу и заряжает энергетикой.
Мегалиты (от греч. μέγας — большой, λίθος — камень) — доисторические сооружения из больших блоков [16]. В предельном случае это один модуль (менгир). Термин не является строго научным, поэтому под определение мегалитов и мегалитических сооружений подпадает достаточно расплывчатая группа строений. Как правило, они относятся к «дописьменной» эпохе. Мегалиты распространены во всём мире, преимущественно в приморских областях.
Менгир — одиночный вертикально стоящий камень [17]. Размерами менгиры бывают от 1 до 20-и и более метров (менгир высотой 21 метр и весом около 300 тонн находится во Франции). Менгиры могут быть и едва отесанными камнями, и выполненными в виде монументальных скульптур, которым придавали человеческий облик, высекали грудь, плечи, глаза или предметы вооружения.
Менгир — простейший мегалит в виде установленного человеком грубо обработанного дикого камня, у которого вертикальные размеры заметно превышают горизонтальные; древний обелиск [18].
Менгирами называют древние мегалитические сооружения, встречающиеся по всему миру (самый известный из них — британский Стоунхендж) [19]. Внешне менгиры представляют собой вертикально поставленные камни, чем-то похожие на современные памятники или обелиски. Менгиры встречаются поодиночке, иногда группами.
Менгиры — огромные, вертикально врытые в землю каменные столбы высотой от 3 до 20 метров (самый крупный весит 300 тонн) [20]. Менгиры устанавливались как одиночно, так и группами: овальными, прямоугольными многокилометровыми линиями и аллеями (от нескольких десятков до тысячи камней). На некоторых менгирах — орнаменты и барельефы.
Менгиры — вертикально поставленные большие неотесанные продолговатые камни, разной величины, стоящие отдельно или составляют длинные аллеи или же кольцевые ограждения [21].
Что такое менгир? В самых общих словах — это каменная плита, установленная на трех или четырех столбах [22].
Найденные нами менгиры представляют собой стелы круглого сечения из местных гравелистых песчаников [23]. Надо отметить, что большинство известных кавказских менгиров представляют собой каменные глыбы со следами грубой обработки и выдолбленными углублениями часто в виде крестов. В нашем случае тела менгиров обработаны полностью, размер поперечного сечения либо выдержан по всей длине, либо плавно изменяется.
Автор этой книги, Александр Матанцев, рассмотрел несколько тысяч менгиров, провел их анализ и систематизацию, которая будет дана далее. Их свойства также будут рассмотрены в последующих главах.
В результате, автор сформулировал научное определение термина «менгир».
Менгир — это обработанный кварцесодержащий камень, установленный в землю так, что вертикальный размер превышает горизонтальный. Отличаются две основные разновидности менгиров. Первая разновидность — менгиры, установленные на местах протекания наземных или подводных потоков воды, на местах тектонических разломов и местах силы, они хорошо обработаны, имеют вертикальный размер, существенно превышающий горизонтальный, и применяются для генерирования и передачи низкочастотных и ультразвуковых волн и энергии. Вторая разновидность менгиров — это камни произвольной формы, местами грубо обработанные, с минимальным превышением вертикального размера над горизонтальным, применяемые для приема и передачи акустических волн, или в числе множества других, для создания единого поля воздействия.
Определение термина «кромлех»
Опять же, сначала рассмотрим определение термина «кромлех, даваемое в разных источниках литературы.
Кромлех — группа менгиров, образующая круг или полукруг [11].
Групповые менгиры называют кромлехами, они могут располагаться линиями и аллеями, образовывать овалы, полуовалы или прямоугольники [19]. Каждый из таких камней в среднем достигает 4—5 метров в высоту, имеет неровную, реже прямоугольную форму, сужающуюся кверху.
Кромлехи — несколько поставленных вертикально в землю продолговатых камней (менгиров), образующих одну или несколько концентрических окружностей [20]. Иногда в центре таких сооружений находится другой объект: скала, менгир, дольмен. Кромлехи — мегалитические обсерватории древних цивилизаций.
Круги камней, иначе кромлехи — сооружения из нескольких поставленных в круг вертикально камней-менгиров — обработанных или необработанных [24]. В центре круга (или концентрических кругов) иногда находится что-то еще: центральный менгир, каирн или дольмен. Круги камней встречаются по всему миру, но чаще всего упоминаются расположенные на Британских островах (тут насчитывается около 1000 каменных кругов и около 80 хенджей; самым известным их них является, разумеется, Стоунхендж).
Кромлех — древнее сооружение, представляющее собой несколько поставленных вертикально в землю обработанных или необработанных продолговатых камней, образующих одну или несколько концентрических окружностей. Часто конструкции такого типа относят к мегалитам. Иногда в центре таких сооружений находится другой объект: скала, менгир, каирн, дольмен, галерея или даже целый мегалитический комплекс [25]. Кромлех — группа менгиров, образующая круг или полукруг, но иногда и прямоугольник. Прямоугольные кромлехи имеют, по-видимому, другое значение и предназначение. Так, например, кромлех Крукуно в Морбиане имеет форму правильного четырехугольника, ориентирован большой осью в направлении запад — восток, а его диагонали точно указывают на точки восхода в дни зимнего и летнего солнцестояния. Более того, его пропорции — 34,25 м х 25,70 м — совпадают с треугольником Пифагора (3х4х5).
Ловушка «кромлех» — мегалитическое сооружение, представляющее собой несколько десятков поставленных вертикально в землю обработанных или необработанных менгиров, образующих одну или несколько концентрических окружностей (овалов) [26].
Кромлех — древнее сооружение, как правило, позднего неолита или раннего бронзового века, представляющее собой несколько поставленных вертикально в землю продолговатых камней [27]
Кромлех — древнее (времён неолита, бронзового века и позднее, вплоть до раннего Средневековья) сооружение, представляющее собой несколько поставленных вертикально в землю обработанных или необработанных продолговатых камней (менгиров), образующих одну или несколько концентрических окружностей [28]. Термин произошёл от кельтского (Уэльс): crom (сводчатый) и llech (каменное перекрытие). Существуют теории, связывающие некоторые кромлехи с астрономическими наблюдениями. Форма кромлеха чаще всего круглая или овальная, но встречаются и иные формы, например, в Хакасии (прямоугольные кромлехи) или на Мальте (мегалитические храмы-кромлехи в виде «лепестков»). Самым известным кромлехом является Стоунхендж, расположенный неподалёку от города Солсбери в Великобритании.
Анализирую и обобщая имеющиеся определения, с учетом свойств, автор, Александр Матанцев дает следующее научное определение термина «кромлех».
Кромлех — это древнее сооружение из вертикально поставленных кварцесодержащих мегалитов на основе менгиров, трилитов, образующих, наиболее часто, фигуры в виде одной или нескольких окружностей, или полукруга, овала, дуги, четырехугольника, установленные в местах тектонических разломов, мест силы, наличия подземных или наземных потоков воды, предназначенное для астрономических наблюдений, а также для генерирования и передачи низкочастотных и ультразвуковых излучений и передачи энергии.
Определение термина «трилит» (или «трилитон»)
В литературе дается следующее определение термина «трилит».
Трилит — сооружение из каменной глыбы, установленной на два вертикально стоящих камня [11].
Трилит (trilithon), — сооружение, состоящее из двух вертикально поставленных камней и третьего, положенного сверху в качестве перемычки. Трилиты входят в число элементов Стоунхенджа [30].
Трилитон представляет собой элемент архитектуры из трёх камней. Термин, предложенный в 1740 году британским археологом Уильямом Стьюкли, обычно используют для описания элементов мегалитических сооружений [31]. Как правило, трилитон — это два вертикально установленных мегалита, поддерживающих третий, играющий роль перемычки между ними. Наиболее известные подобные конструкции расположены в английским Стоунхендже и мальтийским храмовом комплексе Мнайдра. Оба они являются объектами Всемирного наследия ЮНЕСКО. Кроме того, трилитон может представлять собой три уложенных рядом мегалита. Таковым примером является мегалитическая подпорная стена террасы Храма Юпитера в Баальбеке, где масса каждого камня составляет порядка 800 тонн. То есть, они являются одними из самых больших монолитов, когда-либо обработанных и перемещённых человеком.
Трилитом в научной терминологии именуется мегалитическое сооружение, состоящее из трёх камней [32]. Два каменных блока установлены вертикально, третий водружён на них горизонтально, являясь простейшим перекрытием. Из данного описания несложно догадаться, что наиболее распространённым вариантом трилита является такой тип мегалитических памятников, как дольмен. Соотношение в данном случае следующее: не каждый дольмен является трилитом, но каждый трилит — дольмен.
Внутри Стоунхенджа находились 5 трилитов, расположенные в форме подковы [33]. Трилит представлял собой два вертикальных камня и уложенное сверху горизонтальное перекрытие. Размеры трилитов были разные. Основание подковы, образованной трилитами, было направлено к авеню — параллельной паре рвов, направленной к реке Эйвон. Внутри трилитов, также в форме подковы, располагались голубоватые камни.
Трилитом (от греч. τρι- «три» + λίθος «камень») называется мегалитическая конструкция из трех камней, два из которых стоят вертикально, а третий горизонтально положен на них [34].
На основании этих и других определений, автор, Александр Матанцев дает следующее определение термина «трилит» или «трилитон».
Трилит — это сооружение из двух кварцесодержащих вертикальных обработанных камней, снизу установленных в землю, с плоскостями сверху, на которые устанавливается горизонтально перекрытие в виде третьего обработанный кварцесодержащего мегалита, вся конструкция имеет форму «П».
Высказывания исследователей и ученых о менгирах, кромлехах и Стоунхендже
Александр Махов [35]. Менгир — это, прежде всего, — излучатель. Этот элемент для нас не нов, первое знакомство с ним состоялось при рассмотрении комплексов ПВО мезо американских «Богов». Но, там в качестве излучателя была использована каменная колоннада, представлявшая, по сути, совокупность отдельных менгиров. При работе оборонительного комплекса каждый такой менгир вносил свою лепту в излучение всей антенны, но для того, чтобы он выполнял функцию оружия, необходим перечень средств его обеспечения.
— Первое — для увеличения излучающей энергии мегалит должен быть установлен над или рядом с движущимся водным потоком.
— Второе — менгир должен быть пронизан в верхней либо фантомной (нижней) части СВЧ-потоком продольно-волнового источника энергии.
— Третье — для создания поражающего воздействия на летательный аппарат противника излучение менгира должно носить амплитудно-модулированный характер.
— Четвертое — частота модуляции поражающего излучения должна обеспечить периодическое нахождение кристаллической структуры камня в состоянии акустического резонанса.
И сразу же заметим, что эти требования являются обязательными для всех элементов и узлов мегалитической полосы обеспечения: менгиров, дольменов и их любых количественных сочетаний. Техническая реализация передачи модулированного потока СВЧ-энергии от источника к излучателю, как увидим далее, могла осуществляться 2-мя способами: через водный поток и по подземным тоннельным волноводам. Второй способ уже известен на примерах комплексов ПВО и станций дальней космической связи Мезо Америки. Археологи выяснили, что все менгиры и кромлехи связаны между собой невидимыми силовыми линиями, подземными жилами-туннелями, где циркулируют энергетические токи. А крупнейшие мегалитические сооружения обозначают узлы этой глобальной геобиологической сети, своеобразные нервные сплетения, мощные очаги излучения. Самый большой менгир — Камень Фей оказался центром гигантского сплетения; средоточием, через которое проходит 8 магистральных линий. И здесь только нельзя согласиться с выводом, что мегалиты запечатлели геоактивную сеть — или по-русски — места силы. Нет, вся эта сеть подземных каналов — естественных и искусственных, водных и воздушных — в совокупности с установленными на ней мегалитами не просто запечатлела «места силы», а явилась созданной разумом системой оружия. Для того, чтобы представить механизм действия менгира в качестве лучевого оружия, необходимо обратиться к эффекту акустоэлектронного взаимодействия (АЭВ). В современной физике этот эффект описывается как результат взаимодействия акустических волн с электронами проводимости в полупроводниках и металлах, который возникает «как результат действия на электроны и ионы решетки самосогласованного электромагнитного поля, вызванного движением ионов. Причем, для продольного звука это поле имеет электростатический характер; в случае поперечного звука на электроны и ионы действует вихревое электрическое поле».
В нашем случае есть и отличия, которые в результате приводят к появлению поражающего фактора.
Во-первых, будем рассматривать воздействие звуковой волны только на боковую поверхность менгира (по официальной терминологии — «поперечный звук»).
Во-вторых, звуковая волна подаётся в совокупности с высокочастотной несущей волной, т.е. входной (воздействующий) сигнал модулирован по амплитуде низкочастотным. Известно много памятников каменного творчества древних цивилизаций на Земле, построенных с использованием левитации. Это и Баальбекская платформа в Ливане, и Саксахуаман и Сильюстани — в Перу, и Стоунхендж — в Англии, и 886 каменных статуй на о. Пасхи, и, конечно же, — Великие пирамиды в Гизе. Рассмотрим частотные акусто-резонансных характеристики камня: у Р. Фурдуя и Ю. Швайдака — 16, 23 и 35 Гц, у Александра Махова (при исследовании явления каменной левитации) — 35,43 и 53,16 Гц.
Как видно, в одной точке — данные почти совпадают, другие цифры — являются продолжением ряда частот в обе стороны значений. Пожалуй, здесь же можно ответить и на попутный вопрос: почему менгиры устанавливались в грунт более тонкой стороной. Одна часть ответа уже высказывалась в научной литературе: менгир, чтобы быть каменным излучателем-резонатором, должен иметь минимальную площадь заделки. Ну, а вторая — как видно из технологии самого процесса заглубления, позволяла сразу установить расширяющийся к верху мегалит без бокового зазора с почвой. Пара «дольмен — менгир» — является простейшей мегалитической ловушкой и устанавливается на наиболее вероятном маршруте пролёта воздушных кораблей и аппаратов противника. И каждый элемент этой пары также стоит на этой линии: дольмен — в начале, менгир — на продолжении. Тип используемого дольмена — с открытым порталом, направленным точно на менгир.
Теперь, при накрытии дольмена потоком энергии, излучаемым летательным аппаратом, этот поток усилится дольменом и будет перенаправлен по горизонту на выбранный менгир. Менгир тут же возбудится и выдаст по вертикали импульс энергии, которым и будет поражён корабль противника. И ещё. Необходимо заметить, что работа такой ловушки основана на пассивном (без затратном) способе расходования своей энергии: здесь враг поражает сам себя, за счёт энергии движителя собственного корабля. Как нюанс — ловушка срабатывает автоматически. Кромлех — это не пирамида, это, прежде всего, — каменное кольцо. Причём — высоко поднятое над землёй, лежащее на таких же каменных столбах, образуя в элементарности — так называемые трилиты — тройки камней: один горизонтальный и два — опорно-вертикальных. Но, вспоминая таблицу В. Шкатова, твёрдо знаем, что форма круга — определяет самое интенсивное вращение продольно-волновой энергии в одном направлении, треугольника — почти такое же, но — в противоположном. Квадрат же — малоподвижная фигура, а прямоугольник — совсем нейтральная, неподвижная.
Итак, сплошное каменное кольцо кромлеха — это генератор энергии. Причём энергия этого генератора будет излучаться не сплошным — непрерывным потоком, а импульсными порциями. И связана такая особенность, прежде всего, с теми же трилитными опорами, когда в круговом горизонте вращения подошвы энергетического вихря как бы чередуется, пересекаясь потоком энергии, различная материальная среда: то каменная опора, то — воздушный промежуток. Но, импульсное излучение продольно-волновой энергии, это — плазмоиды, это — плазмоидное оружие. И его широкое применение мы уже видели в мегалитических комплексах ПВО Мезо Америки.
После ухода Богов на околоземной орбите был выставлен постоянно действующий космический патруль, в обязанности которого входила проверка всех и вся, прибывающих на Землю. Причём с выяснением целей прибытия. И, естественно, с осуществлением контроля. Для всех же остальных могу сказать: друзья, опасайтесь мегалитов, этих концентраторов неизученного излучения!
Шарль Дио, французский археолог [35]. Французский лозоходец и археолог Шарль Дио, подтвердив мысли Л. Мерля, уточнил, в частности, что ряды камней обычно идут параллельно течению подземного потока, тогда как слияние или пересечение потоков отмечено менгиром или дольменом.
Р. С. Фурдуй и Ю. М. Швайдак [36]. В разное время рядом исследователей выдвигалась гипотеза о том, что некоторые мегалитические сооружения являются своеобразными «каменными энциклопедиями» древних, в которых в неявной (эзотерической) форме зашифрованы сложные научные данные о Земле, космосе и т. п. Примером такой гипотезы является работа советских исследователей В. Ф. Терешина и В. И. Авинского, касающаяся Стоунхенджа. Авторы ее считают, что в геометрии каменных кругов и лунок Стоунхенджа зашифрованы сложные математические и астрономические данные, неизвестным способом полученные строителями Стоунхенджа: значение числа, диаметры планет Солнечной системы и т. п. Кроме того, они выдвигают предположение, что Стоунхендж входит в систему британских мегалитов, включающих Вудхендж, Эйвбери, ряд земляных насыпей типа Курсуса и др. Геометрия всей этой сложной системы построек содержит зашифрованные сведения о Солнечной системе, в частности параметры орбит практически всех планет.
Ряды менгиров Ле Менека с запада и востока замыкаются двумя яйцевидными кругами, ориентированными в противоположные стороны своими острыми концами. Они отличаются от яйцевидных британских кругов тем, что здесь камни представляют собой плоские плиты, установленные без промежутков и смыкающиеся в грубую стену. Подмечено, что каменные столбы — менгиры, а также камни, составляющие аллеи, имеют суженный заостренный нижний конец. Более логично было бы устанавливать камень на расширенном основании (для устойчивости), но строители мегалитов поступали наоборот: нижний конец менгира обтесывался на конус подобно заточенному карандашу. Менгир устанавливался в этом неустойчивом положении, и пространство вокруг его основания забутовывалось землей и камнями.
Исследователь из ФРГ Р. Кутцер [36] подметил еще одну загадочную особенность менгиров: на нижнем заостренном конце монолитов, всегда находившемся в земле и, следовательно, скрытом от глаз людей, нередко наносился гравированный рисунок в виде волнистой линии. Какова же была роль этого орнамента, которого никто не мог видеть? Большинство мегалитов сооружено из горных пород определенного состава, а именно, содержащих значительное количество кварца. Наиболее часто для этой цели употреблялись песчаники. Из сарсенового песчаника, например, сооружены наиболее впечатляющие части Стоунхенджа: сарсеновое кольцо и трилиты. Из песчаника сооружены другие британские и французские мегалиты, большинство кавказских дольменов и т. п. Иногда использовались блоки, вырубленные из гранита (тоже кварцсодержащая порода). Например, самый большой из известных менгиров, Большой Разбитый Менгир вблизи Локмарьякера (Нормандия), высотой 22,5 м и весом в 330 тонн, был вырублен в гранитном карьере, удаленном от этого места на 80 км. Вообще, расстояние, на которое нужно было переместить мегалит для его последующей установки, по-видимому, играло для строителей этих сооружений второстепенную роль. Главным был состав камня, обусловливающий, вероятно, какие-то нужные для создателей мегалита свойства. Примером, подтверждающим сказанное, является кольцо так называемых голубых камней, входящее в состав Стоунхенджа. Эти 80 пятитонных блоков, как было установлено геологами, были добыты в горах Преселли в Уэльсе (380 км от Стоунхенджа) и доставлены к месту сооружения мегалита. Но ведь гораздо ближе к Стоунхенджу, всего в 30 км, есть многочисленные месторождения сарсенового песчаника. Строителям же, по-видимому, нужны были именно эти «голубые камни». Среди них есть блоки из долерита, риолита и вулканического туфа. В одном случае («гробница» Нью-Грейндж в Ирландии) каменные плиты, облицовывавшие проход-галерею к внутренней камере на протяжении 30 м, были изготовлены из жильного кварца.
Непосредственным побудительным толчком для выдвижения нашей гипотезы послужило поразительное открытие английских ученых, касающееся одного из мегалитических памятников Великобритании — Роллрайта. Это сооружение состоит из круга камней, дольмена и менгира, т. е. ничем особенным не отличается от других подобных мегалитических сооружений. Все началось с того, что некий зоолог, исследовавший полеты летучих мышей в этом районе с помощью портативного приемника ультразвука, обнаружил, что в определенное время суток мегалит издает сильное ультразвуковое звучание, забивая писк летучих мышей. Он сообщил об этом ученым Оксфордского университета. С этого и начался «Проект дракона». Была создана неформальная группа ученых, куда вошли физики, радиоинженеры, химики, геологи. Вскоре радиокомпания Би-Би-Си передала интервью с руководителем группы Доном Робинсом, который рассказал об удивительных вещах. Замеры, произведенные учеными, показали, что перед восходом солнца каменный монумент издает импульсы ультразвука, затихающие вскоре после восхода. Ультразвуковое излучение наиболее интенсивно и длительно во время равноденствий, минимально во время солнцестояний. На этом фоне отдельные камни, входящие в состав сооружения, имеют различные циклы звучания. Например, у менгира зимой отмечается большая активность, чем у каменного круга, затем активность обоих усиливается, причем у круга она растет быстрее, чем у менгира, и весной превышает его активность. Указанное ультразвуковое излучение четко ограничено в пространстве. Например, менгир, излучающий ультразвук, оказывает влияние на зону диаметром 45 м; за ее пределами, как показали измерения, ультразвук не фиксируется. Были проведены контрольные замеры близлежащих к Роллрайту объектов: бетонных построек, естественных скоплений глыб песчаника, но ни один из них не излучал ультразвуковых волн. Оксфордские ученые высказали гипотезу, что ультразвуковые колебания этого «передатчика каменного века» возникают вследствие слабых электрических токов, наводящихся в камнях под воздействием солнечных радиоволн. При этом энергия излучения каждого отдельного камня невелика, но точное расположение (ориентировка) всех камней создает мощный энергетический поток. В Роллрайте проводилась также магнитная съемка. Оказалось, что каменный круг словно экранирует магнитное поле Земли: внутри круга оно ослаблено. Там же обнаружена спиральная полоса усиленного магнитного поля. Она делает семь витков и выходит за пределы каменного круга. Высказано предположение, что эта структура создана древними строителями мегалита путем зарывания внутрь круга кусков магнетита или других магнитных минералов. Это предположение не проверено, так как оксфордские ученые раскопок внутри круга не проводили. Интересные результаты получены и во время измерений радиоактивности в Роллрайте. Круглосуточные измерения показали, что радиоактивность здесь испытывает кратковременные «всплески», повышаясь раза в три, а затем снова падая до нормы. Высказано предположение, что эти колебания радиоактивности могут объясняться колебаниями уровня подземных вод, содержащих радиоактивные компоненты.
Отступление и пояснение делает автор книги Александр Матанцев. Указанные Александром Маховым значения всплесков радиоактивного фона в Роллрайте в три раза совпадают с изменением радиоактивного фона в сейдах. Этот вопрос подробно рассмотрен автором в книге по сейдам [8]. Небольшая радиоактивность возникает в процессе реакций, происходящих в пьезоэффекте на кварцесодержащих сейдах и менгирах.
Продолжение исследования Александра Махова. Исходя из перечисленных свойств мегалитов, мы выдвигаем гипотезу о том, что мегалитические сооружения могли быть сложными техническими устройствами, а именно — генераторами акустических и, возможно, также электромагнитных колебаний. Впервые эта гипотеза была высказана в 1988 г. Вот почему мегалиты столь массивны — для получения необходимой мощности ультразвукового потока требовалось использовать какую-то минимальную необходимую массу камня. Например, В. И. Марковин оценивает массу одного из самых небольших западно-кавказских дольменов почти в 7 т, другой же имеет массу более 25 т. Акустическими вибраторами являются и менгиры. Может быть, именно для усиления пьезоэффекта им придавалась форма заостренного карандаша: максимальное сжатие и деформация сосредоточивались, как и у дольменов, в нижней части менгира. Не исключено, что и под менгиры подкладывались особые «пяточные» камни, обладавшие сильным пьезоэффектом.
Д. Дэвидсон, книга «Свободная энергия» [35]. Книга Д. Дэвидсона «Свободная энергия» посвящена опытам левитации чугунной сферы весом в 28000 фунтов, проводимым небезызвестным Keely. «Один мой друг в своих исследованиях наткнулся на газетную статью, написанную ещё при жизни Keely, в которой рассказывалась история о том, как чугунный шар попал в этот подвал. Похоже, что журналист, его посетивший, искал информацию для газеты. Он обнаружил, что изобретатель проделал большое отверстие в полу своей лаборатории. Keely встретил репортёра, но, по всей видимости, был не слишком расположен для беседы, и выглядел довольно занятым. После расширения отверстия он соединил странным ремнём несколько механизмов и свою талию. Затем он присоединил тонкую проволоку, идущую от ремня, к большой сфере, лежащей в углу лаборатории. После нескольких минут усиленной концентрации тяжёлый шар медленно поднялся на несколько дюймов от пола. Затем он заставил шар опуститься в отверстие в полу и сесть на грунт ниже уровня пола. После некоторых манипуляций с ремённым механизмом Keely снова погрузился в глубокую концентрацию. На этот раз сфера медленно, но неуклонно вдавливалась в землю, увлекаемая силой, обратной левитации, то есть сверхгравитацией. Keely, очевидно, заставил видимую массу сферы увеличиться настолько, что она погрузилась в твёрдую землю, как в ил. Изобретатель сказал репортёру, что так он освобождает место в лаборатории от устаревшего оборудования.
В. Гребенников [35]. Из книги В. Гребенникова «Мой мир».
«Однажды при быстром спуске, в режиме свободного падения, левая рукоять слетела, и быть бы мне „в лучшем мире“, но я не только не разбился, а даже не почувствовал удара, лишь тьму: платформа проделала в пашне, хорошо, что не на дороге, довольно глубокий колодец, сначала вертикальный, а затем забирающий в противосолнечную сторону. Из этого чудо-колодца я не без труда извлёк и себя, и свой аппарат, конечно же, изрядно пострадавший; но больше всего хлопот доставил „колодец“: он не имел отвалов! Пришлось проявить немало изобретательности, чтобы его спешно замаскировать — видимый с дороги, он вызвал бы немало толков, а то и, чего доброго, навел бы на „виновника“ каких-нибудь не в меру ретивых следопытов». Оказывается, левитации могут быть подвержены не только каменные, но и металлические кристаллические структуры. В приведенных случаях силы левитации направлены уже не вверх, а вниз. Выявлена способность левитируемого тела к свободному прохождению через препятствие. И эти особенности позволяют уточнить уже саму суть определения явления: левитация — это не только парение предмета в воздухе без видимой опоры, но и прохождение предмета через инородную среду, сопровождаемое разрывом межмолекулярных связей. В связи с этим, и антилевитацией нужно называть не только перемещение левитируемого предмета вниз, по направлению действия гравитации, а ещё и процесс сращивания ранее разорванных межмолекулярных связей. Возвращаясь к нашим «Богам», мы можем теперь ясно представить весь процесс заглубления менгиров в почву. Выставив монолит вертикально в требуемом месте, производилось его кратковременное переоблучение продольно-волновым потоком с противоположной спиновой направленностью. Этот поток, проходя вдоль менгира, не только менял направление сил левитации на противоположное, но, истекая через нижний конец менгира в землю, ещё и разрывал межмолекулярные связи почвы. Теперь камень, как по маслу, свободно погружался в грунт. И не имело значения — была ли это просто земля или высокотвёрдая каменная подушка. При достаточной величине заглубления монолита его облучение прекращалось, — и менгир был установлен! И, сбоку, — никаких зазоров между камнем и отверстием, а снаружи, — никаких выбросов почвы! Описание подобного случая можно найти и в книге В. Гребенникова «Мой мир»: «…Весьма неудачный, крайне рискованный полёт я совершил в ночь с 17 на 18 марта 1990 года, когда… какая-то мощная сила как бы вырвала у меня управление движением и тяжестью и неумолимо потащила в сторону города. Влекомый этой неожиданной, не поддающейся управлению силой, я пересек второй круг девятиэтажек жилой зоны городка (они расположены двумя огромными — по километру в диаметре — кругами, внутри которых пятиэтажки, в том числе и наша), перелетел заснеженное неширокое поле, наискосок пересёк шоссе Новосибирск-Академгородок, Северо-Чемской жилмассив… На меня надвигалась тёмная громада Новосибирска… Нужно было что-то срочно предпринимать…»
Захария Ситчин «Потерянные царства» [35]. Сразу же успокою читателей, — нет, в этих процессах применялся опять и всё тот же эффект левитации. Но, чтобы разобраться в этом, нам придётся, воспользовавшись информацией из книги З. Ситчина «Потерянные царства», совершить небольшой экскурс в Южную и Центральную Америку, туда — где успешно действовали противоборствующие кланы наших «Богов». По южноамериканскому материку глубоко под землей проходит гигантская сеть галерей, настоящий лабиринт протяжённостью в тысячи километров! Несмотря на то, что в Перу и Эквадоре сотни километров этих туннелей были осмотрены, это является всего лишь скромной попыткой в масштабах будущих исследований. Ясно, что эти туннели существовали за тысячелетия до появления империи инков, иначе каким бы образом инки сумели вырыть сотни километров подземных туннелей, для сравнения лишь один пример: сколько споров и мнений вызывал проект прокладки туннеля под Ла-Маншем! А ведь наши технические средства не идут ни в какое сравнение со средствами инков. Меня могут спросить, а куда делись горы земли и щебня, извлекаемые из подземелий, они ведь и сегодня не могли бы остаться незамеченными. Полагаю, у тогдашних строителей была более совершенная техника, чем у нас, хотя, как пример, можно поведать об одном из способов бурения, разработанного лабораторией ядерных исследований США в Лос-Аламосе. Острие бура, выполненное из вольфрама, нагревалось до высокой температуры с помощью теплопроводного корпуса из графита. Таким образом, отпадала необходимость освобождать скважину от породы: высокотемпературный бур расплавлял землю и продвигался дальше. Расплавленная твердь прессовалась на стенах туннеля и застывала. Новый бур действовал практически бесшумно и во время испытаний прошёл четыре метра скальной породы. По словам очевидцев, длинные прямоугольные галереи подземелий Перу и Эквадора покрыты керамикой. В больших залах, наоборот, стены выглядят так, как будто они вырублены в скальных породах. При входе в туннель видны тщательно выровненные плиты. Планы подземных лабиринтов выведены с такой же тщательностью, как и планы воздушных колодцев, расположенных через регулярные промежутки в виде прямоугольных ниш размером 1,8х3,1х0,8 м.
Находка, проливающая свет на технологию обработки камня, считаю, сделана при раскопках мезо американской Тулы: в пирамиде «В» перед приходом испанцев была прорезана настоящая траншея, достигающая её внутренних помещений. Она была использована для захоронения огромного количества каменных изваяний. Когда их извлекли на поверхность, установили и идентифицировали фрагменты, стало ясно, что это части двух круглых колонн, четырех квадратных колонн, которые предположительно поддерживали крышу храма, и четырех колоссальных статуй высотой более пятнадцати футов, получивших название Атланты. Кого изображали эти гигантские статуи? Учёные видели в них просто воинов тольтеков, держащих пучок стрел в левой руке и лук — в правой. Однако такая интерпретация вряд ли верна, поскольку «стрелы» в левой руке статуй изогнуты, а лук — нет, он — прямой.
Джерардо Левет («Mission Fatal») [35] выдвинул интересную теорию об использовании в древности инструмента — «плазменного пистолета». Он обнаружил, что на одной из квадратных колонн с изображением вождей тольтеков в верхнем левом углу вырезана фигурка человека с заплечным ранцем и каким-то инструментом в руке; этот инструмент используется как огнемёт для резки камня. Вне всякого сомнения, это тот же предмет, что и в правой руке гигантов. Предположение, что изображённый здесь плазменный резак мог использоваться при каменных работах: прорубания туннелей, изготовлении (колке) каменных плит и блоков или для выполнения резьбы по камню, — подтверждается барельефом из долины Оаксака в Мексике, получившим название Дейзи №40. На нём ясно виден человек внутри какого-то замкнутого пространства, направляющий плазменный резак на стену перед собой. Следующий пример — Мачу-Пикчу. При строительстве Храма Трёх Окон, а также примыкающего к нему Главного Храма, были использованы гигантские полигональные каменные блоки. Один из каменных блоков имеет тридцать две грани — ничего подобного нет даже в Куско. При этом твёрдый гранит вырезан и обработан — как в Куско или Саксахуамане — с такой лёгкостью, будто это был мягкий гипс. Думается, что уже в процессе первичной сборки дольмена «Боги» проверяли его частотную настройку при возводимой конструкцией, и здесь же они отмечали требуемое взаиморасположение всех плит. Далее — дольмен разбирали, прорезали по линиям разметки пазы будущих сочленений и вновь его собирали.
Патент автора книги, Александра Матанцева [65] на плазменную горелку, основной части плазменного пистолета, работающего только на воде. Сейчас эта тема всплыла не случайно, а как продолжение информации Джерардо Леветта о плазменном пистолете, изображенном на колонне вождей тольтеков (см. предыдущий текст). Однако автор создавал этот плазменный пистолет, работающий на обыкновенной воде, значительно раньше. Его целью было создание высокотемпературного плазменного пистолета, способного разрезать камни. Автор был инициатором создания данного патента, с приоритетом от 1992 года, когда еще не были известны исследования Джерардо Леветта. Комичность и необычность ситуации состоит в том, что, создавая такой плазменный пистолет, коллектив под руководством Александра Матанцева, в 1990 — 1992 годах ничего не знал ни о тольтеках, ни о пластилиновых технологиях, описанных Андреем Скляровым позже, в начале 2000 –х годов.
Перед коллективом стояла задача в создании плазменного пистолета с водой в качестве основы плазмы для высокотемпературного воздействия. Парадоксальность ситуации состоит в том, что, по существу, был создан плазменный инструмент, работающий на воде, повторяющий по назначению задачи древних Богов или специалистов древних цивилизаций, создавших аналогичный инструмент много тысяч лет назад!
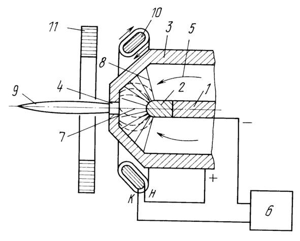
Рисунок плазменной горелки по данному патенту показан на рис. 1.
Привожу описание патента, что, возможно интересно любителям тайн мироздания и техническим специалистам. Использование: электрометаллургия, микроплазменная сварка и резка металлов. Сущность изобретения: в плазменной горелке содержится осевой металлический стержень, имеющий тугоплавкий наконечник; установленный напротив наконечника конусообразный корпус горелки с осевым каналом, причем к металлическому стержню присоединен отрицательный конец источника питания, а к корпусу горелки — положительный. По оси горелки установлен торообразный постоянный магнит или соленоид с кольцевой намоткой. Перпендикулярно оси установлена торообразная катушка с радиальной намоткой, соединенная последовательно с источником питания. При направлении намотки катушки по часовой стрелке со стороны сопла начало ее соединено с корпусом горелки. Изобретение относится к области электрометаллургии, в частности к микроплазменной сварке и резке металлов. Благодаря высокой теплопроводности пара по сравнению с другими газами достигается сварка и резка неметаллов, например, стекла и керамики. Плазменная горелка в большинстве случаев имеет центральный металлический стержень с тугоплавким наконечником и конусообразную горелку с осевым каналом 1 между ними подается газ или пары воды. Для увеличения плотности тока в плазме используют постоянное или переменное магнитное поле 2. Недостатком известных устройство является недостаточный ресурс из-за быстрого выгорания горелки, которое происходит главным образом в связи с наличием радиальных или тангенциальных составляющих тока в плазме между тугоплавкой вставкой и корпусом. Известна конструкция плазменной горелки для сварки и резки материалов, содержащая осевой металлический стержень, имеющий тугоплавкий наконечник, установленный напротив наконечника конусообразный конус горелки с осевым каналом, причем к металлическому стержню присоединен отрицательный конец источника питания, а к корпусу горелки положительный. Недостатком известной конструкции является ограниченный ресурс из-за выгорания канала корпуса горелки в связи с наличием радиальных составляющих тока разряда между тугоплавкой вставкой и корпусом горелки.
Предлагаемая авторами совокупность существенных признаков позволяет исключить недостатки прототипа и обеспечивает достижение технического результата, заключающегося в увеличении ресурса. Указанный технический результат достигается следующим образом. В плазменной горелке для сварки и резки материалов содержится осевой металлический стержень, имеющий тугоплавкий наконечник, установленный напротив наконечника конусообразный корпус горелки с осевым каналом, причем к металлическому стержню присоединен отрицательный конец источника питания, а к корпусу горелки положительный. Кроме того, по оси плазменного факела установлен торообразный постоянный магнит или соленоид с кольцевой намоткой. Перпендикулярно оси установлена торообразная катушка с радиальной намоткой в области разрядного промежутка с сечением, параллельным конусообразной поверхности горелки и соединенная последовательно с источником питания. При направлении намотки катушки по часовой стрелке со стороны сопла, начало соединено с корпусом горелки, соленоид установлен по оси на расстоянии в 0,1—0,2 части длины плазменного факела со стороны сoплa.
На чертеже представлена предлагаемая горелка. Она имеет осевой металлический стержень 1, тугоплавкий наконечник 2, конусообразный корпус горелки 3, осевой канал корпуса горелки 4, подачу газа или паров воды 5, источник питания 6, осевую составляющую разрядного тока 7, радиальную составляющую разрядного тока 8, плазменный факел 9, торообразную катушку с сечением, параллельным конусообразной 10 поверхности горелки 11, торообразный постоянный магнит или соленоид с кольцевой намоткой; начало и конец катушки Н, К.
Работа происходит следующим образом. На торцовой стороне осевого металлической стержня 1 установлен тугоплавкий наконечник 2. Между тугоплавким наконечником и конусообразным корпусом горелки 3 возникает разряд. В направлении осевого канала корпуса горелки 4 подается газ или пар воды 5. Разряд возникает за счет подсоединения источника питания 6 со следующей полярностью минус на тугоплавкую вставку, плюс на корпус горелки. Плазма занимает две области; внутри в разрядном зазоре и снаружи корпуса горелки. Внутри разрядного промежутка имеются две составляющие: осевая 7 и радиальная 8. Конусообразный корпус горелки и тугоплавкая вставка разрушаются под действием обеих составляющих, но плазменный факел 9 возникает главным образом под действием осевой составляющей тока разряда, а радиальная, разрушающая канал горелки и тугоплавкую вставку в радиальном направлении является мешающей. При установке торообразной катушки 10 в область разрядного промежутка с сечением параллельным конусообразной поверхности горелки и с намоткой по радиусу возникает магнитное поле с силовыми линиями, направленными по окружности. В результате возникают силы Лоренца, перпендикулярные направлению силовых линий как энергетического поля 8, так и магнитного, и в результате заряженные частицы закручиваются или поворачиваются в область канала (траектории радиальных составляющих изменяются пунктиры на чертеже). Особенно важно это свойство для плазмотронов с парами воды, когда тугоплавкая вставка сильно разрушается по периферии, введение катушки 10 концентрирует поле к оси, а на оси устанавливается циркониевая вставка, стойкая к разряду паров воды. В результате тугоплавкая вставка разрушается значительно меньше. Полярность подсоединения катушки должна быть следующей: при намотке по часовой стрелке, начало должно быть присоединено к корпусу. Изменение полярности приводит к обратному эффекту рассеиванию разряда. Конструкция катушки 10 такова, что сечение параллельно конусообразной поверхности. Этим достигается эффект более сильного влияния катушки в области, близкой к выходному каналу и более сильная концентрация разряда к оси. Последовательное включение катушки 10 с источником питания обеспечивает свойство самостабилизации, т. е. при большем разрядном токе более сильно сказывается свойство сжатия плазмы к оси и меньше разрушение электродов и, наоборот, при меньшем разрядном токе требуется и меньшее сжатие в связи с меньшим разрушением электродов. Совокупность системы катушки 10 с радиальной намоткой и соленоида 11 с кольцевой намоткой приводит к сильной концентрации поля по оси, большему ресурсу и лучшими свойствами по сварке и резке материалов. Расстояние соленоида в 0,1—0,2 части длины плазменного факела соответствует оптимальным условиям минимального взаимного влияния двух катушек и минимального разогрева соленоида. Ресурс работы с одним тугоплавким наконечником и корпусом увеличивается в 2—3 раза.
Формула изобретения
1. ПЛАЗМЕННАЯ ГОРЕЛКА, содержащая осевой стержневой электрод, установленный внутри конусообразного корпуса горелки, имеющего осевой выходной канал, а также торообразный магнит, установленный по оси горелки, отличающаяся тем, что она снабжена конусообразной торообразной электромагнитной катушкой с радиальной намоткой, внутренняя поверхность которой эквидистантна наружной конической поверхности корпуса, при этом катушка расположена снаружи горелки в области между рабочим торцом электрода и выходным каналом.
2. Горелка по п.1, отличающаяся тем, что при направлении намотки катушки по часовой стрелке со стороны сопла начало намотки соединено с корпусом горелки.
Автор этой книги, Александр Матанцев, работая в 90-х годах генеральным директором научно-технического предприятия, провел исследования и показал, что плазменная горелка с плазмой на основе паров обыкновенной воды имеет столь высокую температуру, что режет камень и другие тугоплавкие материалы, например, тугоплавкую обшивку космолета «Буран». Вот теперь читатели могут с издевкой сказать: «Надо же, какие молодцы! Изобрели инструмент, который был известен древним Богам и древним тольтекам много тысяч лет назад!» Действительно так, развитие происходит по спирали!
М. Исрапилов [35]. Чуть позже на долю Стоунхенджа выпало, некоторое исключение из предыдущих правил: многочисленные исследования, проведённые здесь, уже стали предполагать новую, а в последнее время — чуть ли не одну-единственную функцию этого мегалитического комплекса — быть астрономической обсерваторией древних. Так, в великолепно выполненных разработках дагестанского учёного М. Исрапилова (статья «Стоунхендж и древние календари и часы Дагестана») показана чёткая связь между тремя последовательно произведёнными перестройками кромлеха, соответствующими им миграциями северного полюса планеты и календарём. На основании этой связи, подкреплённой убедительными математическими расчётами, делается вывод: смещение полюсов Земли каждый раз сбивало «настройку» каменной обсерватории, что не позволяло вычислять фазы Луны и Солнца. Поэтому, требовалась очередная перестановка камней, то есть своеобразный ремонт обсерватории. Достоверно зная, кто строил это и другие мегалитические сооружения, опровергнуть астрономическую версию — не составит труда, нужно лишь ответить только на один вопрос: как могли Боги, обладая точнейшими и высококачественными инструментами, которые они применяли не только в строительстве этого кромлеха, но и в обеспечении межпланетных перелётов, пойти на заведомое загрубление астрономических измерений? Ведь, если с помощью телескопа можно отслеживать угловые положения планет в секундах или даже в их долях, то, спрашивается, зачем же переходить на визуально-рукопашный способ, прокладывая визирные линии по верхушкам камней с заведомой погрешностью в несколько градусов? Нет, Стоунхенджский комплекс, получается, обсерваторией Богов никогда не был, и никогда для решения астрономических задач не предназначался. А вот могло ли это сооружение быть обсерваторией каких-либо людских племён? Например, — кельтов, этих суровых воинов, вдруг сильно заинтересовавшихся астрономией? Нет? Ну, тогда остаётся эту задачу, как и задачу строительства других мегалитов, опять возложить на некий неизвестный народ мореплавателей. Народ, неизвестно откуда появившийся, и так же — неизвестно куда пропавший.
О. Рысьев. Эффект пирамид [35]. Удалось обнаружить, в качестве замены, что эту осевую линию можно просто ориентировать по магнитному азимуту в 45 градусов! И этот угол — не простой, с цифрами этого угла мы уже встречались при анализе установочного положения зиккуратов Шумера и Мезо Америки. Древние строители ориентировали обычные пирамиды своими гранями точно по 4-м направлениям сторон света (где базовый — магнитный меридиан). А вот усечённые пирамиды — зиккураты — почему-то были повёрнуты на эти самые 45 градусов, когда в те же стороны света смотрели уже их рёбра. И это техническое решение объясняет график из книги О. Рысьева «Эффект формы пирамид», приведенный в статье "Конец тайны Египетских пирамид?». Оказывается, что при такой ориентации вся запасённая энергия пирамидального устройства не излучается вовне через его грани, это, во-первых, и во-вторых, не имеет энергетических потерь через свои рёбра! Тогда, спросим себя, а куда же направлен поток этой энергии? Оказывается — вверх, по оси пирамиды, в виде эфирного вихря! Зачем так? Всё — просто: для станций дальней космической связи энергию необходимо направлять через грани пирамид к удалённым абонентам, в виде информационных посылок, а для зиккуратов — через их усечённые вершины с тем, чтобы устойчиво и в любой момент времени запустить находящиеся там летательные аппараты с эфирно-вихревыми движителями! Итак, следует запомнить, что нашим Богам необходимо было направить энергию исследуемого мегалитического сооружения вверх, с расположением оси энергетического вихря по нормали к земной поверхности.
Пояснение дает автор, Александр Матанцев. Пирамиды, как было отмечено, должны были излучать энергию вверх. Однако менгиры устроены аналогичным образом» у них вертикальный размер существенно превышает горизонтальный размер. Именно поэтому менгиры также излучали основную энергию вверх!
Б. Фрисселл [35]. Далее, особо подчёркиваю, — всё фантастика, и как говорил Б. Фрисселл, здесь нет ни слова правды, но именно так всё и происходит. Когда Боги покидали Землю, им было нужно, чтобы сценарий «добровольного вхождения» — работал. Но, как это сделать? Может — путём какого-либо экзотического вмешательства в мышление людей, осуществляемого сквозь космические дали? Конечно же, — нет! Всё было много проще — на Земле оставалась «пятая колонна», которой вменялось в обязанность, внедрившись в человеческое общество, претворить план Богов в жизнь.
Ряды менгиров Ле Менеке [36]. Примером может служить геометрия каменных менгиров в Ле Менеке, во Франции. Правда, расшифровка особенностей строения этих рядов осложняется тем, что за прошедшие тысячелетия после их возведения многие камни исчезли (большинство домов, церквей и сараев в близлежащих селах построены из камней, взятых из этих сооружений), а также тем, что некоторые камни были сдвинуты с их первоначальных мест установки. Тем не менее выяснилось, что 12 каменных рядов Ле Менека, протянувшихся на километр с запада на восток, постепенно сближаются друг с другом. Это сближение происходит по сложному математическому закону, описываемому параболической функцией! В середине рядов наблюдается «излом», когда все ряды меняют направление, причем, это осуществлено с применением сложного геометрического построения. Закономерно меняется и высота камней в рядах: у западных концов камни наибольшие, высотой до 4 м, к востоку их высота постепенно снижается примерно до 40— 60 см, затем у восточных концов камни вновь становятся выше, хотя и уступают камням в западных концах. В целом эти ряды представляют собой лежащую на земле антенную решетку со сложной геометрией поверхности, образованной вертикально стоящими элементами переменной высоты. Ряды менгиров Ле Менека с запада и востока замыкаются двумя яйцевидными кругами, ориентированными в противоположные стороны своими острыми концами. Они отличаются от яйцевидных британских кругов тем, что здесь камни представляют собой плоские плиты, установленные без промежутков и смыкающиеся в грубую стену.
Эрнст Мулдашев [38]. Группа российских учёных под руководством Эрнста Мулдашева исследовала башкирские курганы и бездонные озёра, обнаружив проходы в подземный мир. Одними из проводников в этот мир, по мнению участников экспедиции, являются менгиры, или оленьи камни. Рассказывает профессор Э. Мулдашев.
— Расскажите, что же такое менгиры? — Менгиры (или оленьи камни) встречаются в разных частях земного шара, но в основном в Англии, Тибете, на Алтае, острове Пасхи и Мальте, а также в Башкирии. Некоторые довольно высокие — например, высота Радстонского монолита или Стрел Дьявола в Англии достигает 7—8 м. Но чаще всего высота менгиров составляет 1—2 м. Многие исследователи пытались достичь основания менгира, чтобы узнать, насколько глубоко он уходит под землю. На острове Пасхи Тур Хейердал углубился на 4,5 м, но выяснилось, что огромный менгир уходит невесть куда под землю. В Башкирии в районе с. Ахуново тоже пытались сделать это — безрезультатно. То же самое было в Монголии и на Алтае. Во время тибетской экспедиции 1999 г. в легендарном Городе Богов в недоступных местах мы тоже видели менгиры, порой похожие на перископы. Тибетские ламы поведали, что менгиры — это антенны Шамбалы, с помощью которых подземный мир наблюдает за нами. Они утверждали, что менгиры — это длинные каменные столбы, доходящие до подземного мира, и в них внедрена информация, позволяющая не только читать мысли, но и пропускать через себя особую энергию, роль которой очень велика.
— Как много менгиров вы видели в Башкирии?
— Их несколько десятков. Как я уже говорил, они располагаются по биссектрисе треугольника, образуемого между горой Кайлас, пирамидой Хеопса и Северным полюсом, которая проходит по Башкирии. Большинство менгиров имеет вертикальное положение, но некоторые входят под землю косо. Местное башкирское население почитает менгиры. В одном месте во время строительства дороги разрушили менгир, после этого здесь постоянно случаются аварии. Самая большая группа менгиров находится на севере Башкирии в районе с. Ахуново, их 12. Здесь есть и сейды — многотонные камни, кем-то установленные на три маленьких камешка, а также дольмены — огромные камни с вырезанными в них чашами круглой или квадратной формы. Встречаются и сложенные из камней пирамидки. Один странного вида холм считается могилой гиганта. То есть это место, где имеется «полный комплект» загадочных памятников природы. Около ахуновских менгиров люди нередко видят ночью светящиеся пятна, а днём — какие-то прозрачные шары. Но главным является то, что здесь регулярно видят НЛО, нередко в виде блестящих летающих тарелок, которые, подлетев к менгирам, тут же исчезают, будто бы через камни уходят под землю. Складывается впечатление, что НЛО способны дематериализоваться и в энергетическом состоянии через каменные столбы менгиров перекочевать в подземный мир. Не зря тибетские ламы говорят, что менгиры обладают особой энергетикой. — На вопрос, кто же создал менгиры, вы, скорее всего, ответите, что Шамбала.
— Во время монгольской экспедиции 2006 г. нам поведали, что менгиры растут сами из-под земли, а при достижении определённой высоты над землёй их рост останавливается.
— Вы искренне верите в существование феномена материализации-дематериализации, когда живое существо может перейти из телесного состояния в бестелесное и наоборот?
— Я как врач могу сказать, что без признания этого феномена нельзя объяснить многие медицинские аспекты. Что касается древних писаний и сказаний, включая эпос «Урал-батыр», то можно думать, что некогда переход из телесного состояния в бестелесное был обычным явлением. На мой взгляд, всё изменилось 13 000 лет тому назад, когда появился чисто материальный мир, в недрах которого мы и живём.
— Вы упомянули о могиле гиганта рядом с ахуновскими менгирами?
— Мы нашли в Башкирии несколько предполагаемых могил гигантов. Одна из них, как утверждают местные жители, принадлежит Урал-батыру.
Ирина Нилова [38]. Хакасские менгиры — крупные камни, на которых изображены специальные знаки, символы, начертания, изображения, которые показывают содержание цели и назначение менгира в данной местности. Если внимательно отнестись к начертаниям и сосредоточить на них своё внимание на достаточный срок, который позволит войти в созвучие с ними человеческому сознанию, то перед внутренним взором человека начнут разворачиваться картинки, которые будут говорить сами за себя. Лучше приготовиться к тому, что картинки эти будут иметь свидетельства о времени более поздних исторических периодов, когда люди, жившие в этих степях, имели совершенно иной образ и занятия, другие интересы и устремления. Степи Хакассии были наполнены жизнью, постоянными перемещениями огромных стад животных, путешествиями кочевых племен, их взаимоотношениями между собой и с природой. Всё это в той или иной степени отображается на памятных менгирах, которые стоят по границам пастбищ, которые постепенно стали обозначением тех или иных владений, тех или иных племён и родовых общин. Памятные менгиры закреплялись ещё и захоронениями родовых кладбищ, в которых есть особенность, относящаяся к данной местности. Менгир, словно камертон, задаёт особое звучание данной местности, но наполнение его звучания строго индивидуальное и уникальное, нигде ни в какой другой местности не звучащее. Особенность эта именно в начертаниях самого менгира и в тех захоронениях, которые его окружают. Менгиры нужны, как говорил выше для того, чтобы создавать ячеистость структур в данной местности. Эти пространства — малые владений тех племен, которые населяли некогда хакасские степи. Менгиры Хакассии — прообразы пограничных столбов. Это памятники роста сознания земного человечества, которое можно одновременно назвать и деградацией, поскольку ни к чему хорошему не ведут, кроме как к столкновениям на всём пространстве планеты. Менгиры — всего лишь камни с начертаниями, но их воздействие на окружающую степь трудно недооценить. Там, где менгиры убраны со своих мест, иногда леса начинают расти, и дожди идут чаще, и образуются озера, и травы становятся многообразнее. Значит, и природа тоже получила облегчение от искусственного воздействия менгиров. Опыт может найти правильные решения для местных жителей. Опыт и внимательное наблюдение помогут постепенно восстановить пространственно-временные связи, а вместе с ними и здоровье степей. Границы меж государствами существуют для того, чтобы ограничить экспансию. Есть граница — есть защита. Нет границы — беззащитность! Вывод прост. Менгиры можно убрать, от этого выиграет природа. А вот границы пока убирать не стоит. В Хакасии есть место, где камни стоят по кругу. Дело в том, что духи живут в этих камнях, для них это просто прибежище. При создании этих энергетических каналов они могут спокойно на свои места водворяться, если им есть в этом необходимость. Если они хотят тело, то они возвращаются в камни.
— Люди должны осознавать, что есть физическая форма и есть полевая форма, которая может иметь своё сознание, свою волю. Это создаёт ощущение многомерности мира и право всякой формы жизни на существование.
Иван Мацкерле [16]. По словам Ивана Мацкерле, по одной из теорий, эти культовые сооружения аккумулируют энергию Земли. «Ученые выяснили, что при восходе солнца, особенно в период солнцестояния, менгиры кричат, излучают звук, но в области, не слышимой для человека. Измерения показали, что древние менгиры обладают мощным магнитным полем. Так появилась гипотеза о том, что менгиры являются точками сосредоточения энергии Земли. Они, как акупунктурные точки на теле человека, являются точками пересечения невидимых жил-туннелей, магнетических потоков, проходящих по поверхности Земли». Версий применения менгиров много. Менгиры — храмы, возле которых совершались жертвоприношения. Менгиры — астрономические часы каменного века. Камни Карнака (Бретань) расположены так, что показывают положение Солнца в определенное время года.
Жанна Шишкова [19]. Алуштинский кромлех представляет собой скопище отдельно стоящих камней, размещенных в виде нескольких окружностей на вершине кургана. Диаметр кургана колеблется в районе 13—14 метров, его основание украшают 29 камней высотой до полутора метров. Средний круг кромлеха представлен 24-я поставленными на ребро камнями. В свою очередь, в него «вписана» прямоугольная фигура из 12 камней. В настоящее время внешний круг полностью разрушен, от него осталось лишь два одиноко стоящих камня. Но если бы мы могли увидеть кромлех в его первоначальном виде, перед нами предстало бы грандиозное сооружение из 48-и каменных менгиров, напоминающих Стоунхендж. Предположительно Алуштинский Стоунхендж, так называют кромлех в Крыму, возвели в 3 веке до нашей эры, а значит, он является ровесником своего британского «друга». Алуштинский кромлех называют также Кромлехом Трахтенберга (в 19—20 веках рядом с ним находилась дача какого-то известного деятеля тех времен). Такие сооружения, по форме напоминающие тибетские мандалы, в древности именовались «центрами Мира», использовались для проведения ритуалов и путешествий во времени. Сегодня Алуштинский Стоунхендж утратил свою былую силу, однако до сих пор на территории кромлеха чувствуется мощное электромагнитное поле. Исследователи говорят, что внутри кромлеха улучшается память, в его границах наблюдается повышенная влажность, а над курганом часто зависают спиралевидные облака.
Александр Филиппович Лагутин, Крымская Астрофизическая обсерватория [39]. Крымский инженер Астрофизической обсерватории Александр Филиппович Лагутин выдвинул идею об астрономической ориентации менгира. «Я стал ночевать у менгира, пытаясь увидеть обсерваторию в действии. И скоро мне это удалось, я увидел через вершину менгира, как восходящее Солнце появилось в далеком окне. Это было в районе 1990 года. Несколько лет я ночевал у менгира, и в конце концов определил опорные дни древнего календаря. От равноденствий они немного смещены к лету. На сегодняшний день Бахчисарайский менгирный комплекс — это единственная древняя обсерватория, сохранившаяся в Крыму. В Англии есть аналогичное сооружение — Стоунхендж и возможно в России — Аркаим. Место, где стоит Бахчисарайский менгир, сочетает в себе изящность горной долины и удивительные следы жизни наших предков. В этом красивом дуэте есть своя волнующая сила. Сюда можно приехать, например, в апреле или сентябре, почувствовать эту могущественную силу предков и ощутить себя древним народом, что собрался на поляне около волшебного камня и с трепетом ожидает появление Нового солнца. Нашему феодосийскому менгиру около 3 тыс. лет, он сделан из гранита и достигает 2,8 метра в длину. Ранее, этот древний обелиск украшал вход в здание уникального европейского музея — феодосийского музея древностей. У входа в здание музея, построенное Айвазовским по типу греческого Парфенона, которое, к сожалению, было разрушено в годы Великой Отечественной Войны, стояли два менгира. Оба они таинственным образом исчезли. Но судьбе было угодно, и один из камней был найден, благодаря стараниям энтузиастов. Специалисты музея древностей вместе с кубанскими коллегами установили ценность и подлинность данного артефакта эпохи поздней бронзы.
Валентина Шитанская [20]. Кромлехи — древняя мудрость предков, таинственные постройки из камней, разбросанные по всему миру, которые несколько тысячелетий хранят тайны своего происхождения и предназначения.
Эти мегалиты встречаются в России (Геленджик, Сочи, Туапсе, Саяны, Прибайкалье, Хакасия), Украине (Закарпатье), Абхазии (Сухуми), Англии (Стоунхендж), Франции (Бретань — Карнак), Италии (Бишелье, Лечче), Ирландии, Испании, Индии, Ираке, Сирии, Корее, Японии, Северной Америке, Северной Африке (Алжир).
Официальная наука определяет возраст мегалитов от 3 до 5 тысяч лет (медный, бронзовый век), но ряд исследователей полагают, что некоторым каменным сооружениям более 10 тысяч лет и относятся они к культуре неолита. Кто построил «деревни» дольменов, «аллеи» менгиров, «астрономические обсерватории» кромлехов? Атланты? Жрецы? Люди — гиганты? Циклопы? Геологи определили странную закономерность: при совмещении карт-схем распространения мегалитов с геологическими картами, большинство из сооружений оказались на линиях геологических разломов. Менгиры — огромные, вертикально врытые в землю каменные столбы высотой от 3 до 20 метров (самый крупный весит 300 тонн). Менгиры устанавливались как одиночно, так и группами: овальными, прямоугольными многокилометровыми линиями и аллеями (от нескольких десятков до тысячи камней). На некоторых менгирах — орнаменты и барельефы. Кромлехи — несколько поставленных вертикально в землю продолговатых камней (менгиров), образующих одну или несколько концентрических окружностей. Иногда в центре таких сооружений находится другой объект: скала, менгир, дольмен. Легенды гласят, что мудрец и волшебник кельтских мифов Мерлин посредством левитации, доставлял камни весом до 50 тонн из Ирландии для строительства Стоунхенджа. Кромлехи — мегалитические обсерватории древних цивилизаций. Возможно, по положению мегалитов определялись солнечные и лунные затмения, дни зимнего и летнего солнцестояния? Исследователями установлено, что Стоунхендж и другие мегалиты генерируют высокочастотные колебания и электромагнитные волны. Их активность возрастает на восходе и закате солнца, а также усиливается в дни весеннего и осеннего равноденствий. Мегалитические сооружения — своеобразные «каменные книги» древних, в которых зашифрованы данные о Земле, Солнечной системе и Вселенной. Возможно, в древние времена люди умели пользоваться интуитивным знанием об особых генерирующих структурах мегалитов, которыми в наше время занимается наука эниология — забытая наука древности, наука о процессах энергоинформационного обмена в Мироздании.
Полагаю, что «привязка» человечества к материальному миру стёрла у людей генетическую память об общении с природой, о возможностях слышать голос камня. Земля пытается вернуть нас к истокам, напоминая бесконечными природными катаклизмами. Услышим ли мы голос камней и голос Земли?
Алексей Александрович Алексеев [23]. Найденные нами менгиры представляют собой стелы круглого сечения из местных гравелистых песчаников. Надо отметить, что большинство известных кавказских менгиров представляют собой каменные глыбы со следами грубой обработки и выдолбленными углублениями часто в виде крестов. Тела менгиров обработаны полностью, размер поперечного сечения либо выдержан по всей длине, либо плавно изменяется. Наибольший интерес представлял менгир №1, высотой около 2,5 метров имевший рельефное (выступающее) изображение человеческой головы в шапочке. Его вполне можно считать примитивной скульптурой
Мы неоднократно заявляли в публикациях и докладах о необходимости его вывоза и сохранения в каком-либо музее. К сожалению, ничего кроме напоминаний о недопустимости самостоятельных действий, мы не услышали. Летом 2008 года местные религиозные фанатики сбросили менгир №1 с обрыва. Судя по всему, причина в том, что, изображение людей Кораном запрещено. Проводилось расследование местной прокуратуры, разумеется, зашедшее в тупик. Тем не менее, по неофициальным данным, виновные были легко найдены, но отделались внушением. Менгиры №3 и №4 находятся на расстоянии 6900 метров от горы Тузлук Аи=22о11», на развилке дороги, ведущей со стороны Кисловодска двумя путями в урочище Джылысу. Эти менгиры, вернее обломки двух или трех менгиров, вероятно, оказались на этом месте усилиями дорожников еще в 1961 году при прокладке первой дороги в урочище Джылысу.
Т. М. Фадеева [35]. Техническая реализация передачи модулированного потока СВЧ-энергии от источника к излучателю, как увидим далее, могла осуществляться двумя способами: через водный поток и по подземным тоннельным волноводам. С первым способом мы познакомимся позже, а второй — нам уже известен на примерах комплексов ПВО и станций дальней космической связи Мезо Америки. То, что эти оба способа были применены шумерами при строительстве линии обороны, можно заключить по приведенной ниже выборке-фрагменту из книги Т. М. Фадеевой «Крым в сакральном пространстве: История, символы, легенды» (Симферополь: Бизнес-Информ, 2000), а уж какие были использованы подземные каналы — естественные или искусственные — ответ могут дать только специальные исследования.
«Уже давно замечено, что местности, где расположены мегалиты — особенные. В геологическом описании они представляют собой разломы и сбросы земных пород, которым обычно сопутствуют потоки подземных вод или их пересечения, и многие согласны с тем, что почти каждое мегалитическое сооружение, будь то менгир, курган или земляная насыпь, размещены над или рядом с источником, колодцем, слиянием подземных потоков и т. д».
Великий философ и учёный Платон [35]. Около 2,5 тыс. лет тому назад знаменитый философ и учёный Платон, давая сведения об Атлантиде, упоминал о двух гигантских менгирах — Геркулесовых столбах, которые находились по обоим берегам Гибралтарского пролива. Один столб был на северном берегу пролива, юго-западнее города Альхесирис, а второй — на южном берегу, западнее города Бенсу. Предания говорят, что местоположение этих столбов связано с системой подземных ходов. В настоящее время официальная история бездоказательно указывает, что Геркулесовыми столбами являются скалы, расположенные по обеим сторонам Гибралтарского пролива, которые имеют высоту до 426 метров над уровнем моря. Однако, скалы, это еще не столбы. Ряд историков в качестве примера указывали на более высокие горы в восточной части Средиземного моря, расположенные на двух соседних островах — на Самотраки (высота 1600 м) и Гёкчеада (697 м), находящиеся перед проливом Дарданеллы. Помимо этого, на земном шаре имеется много каменных образований, которые называются столбами. Они имеются во многих уголках Земли. Только на территории России насчитываются десятки наименований широко известных столбов: Ленские, Красноярские, Уральские, Нижнеудинские, и др. Происхождение некоторых из них не совсем понятно и требует дальнейшего изучения.
Николай Григорьевич Алабычев [40, 25]. При внешнем сходстве, стелы и обелиски древней высокоразвитой цивилизации выполняют функции технических элементов мегалитической энергетики. Кроме внешней функции символики и эстетики, основные их параметры — материал, вес, форма и размеры, определяются выполняемыми ими физическими функциями в составе конструкций, для которых они делались. Например, стела Желтого императора, построенная в 1012 году, вовремя Xuanhe эпоху Huizong императора династии Сун. Обладая более чем 16 метров (52 футов) в высоту, ст
