автордың кітабын онлайн тегін оқу Разведение рыбы, раков и домашней водоплавающей птицы
Людмила Задорожная
Разведение рыбы, раков и домашней водоплавающей птицы
© Л. А. Задорожная, 2011
Предисловие
Более двух третей земной поверхности покрыто водой. Моря и океаны, реки, озера и пруды занимают огромную площадь.
Нет, наверное, человека, который не любил бы отдохнуть на берегу пруда. Одних влечет туда возможность порыбачить. Других – достать корм для аквариумных рыбок. Третьим хочется просто освежиться в прохладной воде жарким летним днем. Но ведь пруд – это не только место отдыха. Человек уже давно использует искусственные водоемы для разведения рыбы, водоплавающей птицы, а также для иных целей.
Что такое пруд? Казалось бы, ответить на этот вопрос несложно: пруд – это водоем. Например, в энциклопедическом словаре можно прочитать такое определение: «Пруд – искусственный водоем, созданный для орошения, разведения рыбы и водоплавающей птицы, хранения воды, проведения спортивных мероприятий и других целей». Отличительной же особенностью естественного природного пруда является то, что чаще всего он образуется из озера, у которого центральная котловина постепенно зарастает (у озер надводная и подводная растительность расположена только в прибрежной зоне, в глубокой центральной части водоема ее нет). Погруженная в воду растительность развивается по всему дну, и озеро превращается в естественный пруд.
За последние десятилетия ландшафтный дизайн приусадебных и дачных участков испытал значительные изменения. Зеленые газоны, декоративные деревья, красивые беседки, цветочные клумбы потеснили овощные грядки, и все это нередко является украшением приусадебного участка. А водная гладь бассейна или небольшого пруда создает видимость полного слияния человека с природой.
Искусству дизайна ландшафтной архитектуры в настоящее время уделяют много внимания. Есть много интересных проектов, готовых решений в этой области. И все же многие владельцы приусадебных участков продолжают экспериментировать, придумывают новые, оригинальные идеи. Безусловно, построить огромный бассейн с фонтанами может позволить себе далеко не каждый. А вот обустроить небольшой пруд с карасями, карпами, толстолобиком, белым амуром и другими видами рыб вполне по силам каждому. Конечно, при этом следует учитывать, что все водоемы (бассейн с фонтанами с замкнутым водоснабжением или небольшой пруд в земляной оправе с проточной водой и т. п.) можно создавать лишь согласно законам экологического равновесия. Ведь кроме рыб, которых вы поселите в своем водоеме, здесь будут обитать миллионы и даже миллиарды других жителей, без существования которых комфортная жизнь рыбы будет просто невозможна.
За миллионы лет эволюции рыба приспособилась к существованию в определенных условиях. Любое, временами даже незначительное изменение условий существования в водоеме или прибрежной зоне может нарушить постоянные связи, вследствие чего равновесие, которое установилось между растениями и организмами, живущими на берегу и в толще воды, потеряется. Это, в свою очередь, может привести к исчезновению одного определенного вида, а вслед за ним будут исчезать все новые и новые представители сформированного сообщества. А что дальше? Пройдет не так много времени, и красивый когда-то водоем превратится в неприглядное болото. Вот почему, начиная строительство приусадебного водоема или даже небольшого пруда, следует задуматься над тем, как создать приемлемые жизненные условия для всех его жителей.
Существует множество типов приусадебных водоемов, все они имеют свои преимущества и недостатки. Фантазия проектирования пруда ограничивается лишь площадью земельного участка, ландшафтом местности и финансовыми возможностями хозяина участка.
Проще всего обустроить искусственный водоем для доращивания или разведения рыбы в том случае, когда земельный участок прилегает к реке, озеру или пруду. Тогда есть все возможности для создания высокорентабельного приусадебного водоема. Но предварительно необходимо определиться с его расположением, размерами, конфигурацией, способом удержания воды и формой ложа, а также материалом для строительства. Кроме того, в водоемах с родниковым водоснабжением нужно предусмотреть, каким образом во время эксплуатации пруда вы будете расчищать ложе от ила и полностью откачивать воду для дезинфекции дна. Необходимо учесть также возможность просачивания воды через защитную насыпь и грунт ложа на прудах с ручьевым водоснабжением во время повышения уровня воды за счет дамбы.
Для выращивания, доращивания и содержания рыбы можно использовать различные водоемы: вырытые, обвалованные и русловые пруды, небольшие водохранилища и озера, отработанные торфяные карьеры, садки и бассейны. Есть, например, такие места среди полей, лугов, где имеются углубления в виде низин, оврагов, представляющих собой русло когда-то существовавшего или протекающего в настоящее время ручья или реки. Если такую низину, овраг перегородить от одного возвышенного берега до другого земляной насыпью – плотиной, то перед ней начнет скапливаться атмосферная, грунтовая, родниковая или речная вода, и образуется водная поверхность. Такое искусственное сооружение можно назвать прудом.
Строительство и эксплуатация водоема, предназначенного для рыбоводства, требуют соблюдения определенных правил в соответствии с рыбоводными и гидротехническими требованиями. Для начала следует определить направление использования водоема: будет ли он предназначен для декоративного оформления участка или же для выращивания пищевой рыбы. В зависимости от этого будут определяться и устройство водоема, его размеры, форма, глубина, режим эксплуатации. Так, например, декоративный водоем (или группа водоемов), предназначенный для украшения вашего земельного участка, должен легко эксплуатироваться, т. е. быть небольших размеров.
Наиболее пригодны для декоративного использования водоемы площадью от 5 до 50 м2. Такому водоему проще придать желаемую форму, в нем легче разместить декоративные элементы, внести соответствующий грунт, обновить воду или обеспечить ее постоянную проточность. Глубина декоративного водоема должна быть такой, чтобы в нем была видна рыба. Как правило, рельеф дна устраивают, чередуя мелководья в центре водоема (10–15 см) с более глубокими участками у берегов (80–100 см).
Определенные требования предъявляются к грунту и культивируемым растениям, особенно если в водоеме предполагается содержать рыб, питающихся донной пищей (например, цветных карпов). При этом следует знать, что карпы в поисках пищи роют грунт, и если он мягкий, то сохранить чистую, прозрачную воду очень трудно. Для уменьшения мутности воды, а также для декоративных целей на дне водоема размещают гравий, гальку, гранитную крошку, крупный песок. Поддержанию чистоты воды будет способствовать и жесткая водная растительность, расположенная отдельными кустами. Она не только украсит водоем, но и очистит воду.
Не менее важными являются правильная эксплуатация водоема, количество и размеры посаженной рыбы, уровень ее кормления. Водоем не должен быть перенаселен. Посадка большого количества рыбы приведет к увеличению количества задаваемого корма и, соответственно, к большему выделению продуктов обмена, что неблагоприятно отразится на качестве воды, ее чистоте и может вызвать цветение воды. Поэтому следует содержать небольшое количество рыб, а при их кормлении пользоваться правилом: «лучше недокормить, чем перекормить». С этой точки зрения кормить рыбу предпочтительнее живыми кормами (мотылем, трубочником, гаммарусом, ракообразными, дождевым червем), нежели комбикормом.
Уменьшить вероятность цветения воды, а также создать условия для укрытия рыб от солнечного света позволит устройство для затенения части водоема. Для этого можно использовать естественное заграждение в виде прибрежного кустарника и деревьев или специальные тенты. Избежать цветения воды поможет усиление проточности, а также использование для очистки воды различных фильтров. Все это – общие требования к строительству декоративных водоемов. В каждом конкретном случае необходимо проконсультироваться со специалистами.
Водоемы для выращивания рыбы в значительной степени отличаются от декоративных. К ним предъявляются иные требования. В таком водоеме, например, не имеют смысла изрезанность береговой линии, сложный рельеф дна, глубины у берегов, декоративные элементы, размещение на ложе специального грунта. Основное внимание должно уделяться планировке ложа пруда, обеспеченности хорошей подачи воды и возможности сброса воды. Рыбоводство окажется выгодным, если грамотно будут решены вопросы строительства и эксплуатации водоема.
При устройстве пруда многое будет определяться размерами земельного участка, который вы можете выделить. Это может быть небольшой водоем на садовом участке или же водоем или группа водоемов на ферме с довольно большой земельной площадью. Если на садовом участке водоем будет удовлетворять в основном ваши собственные потребности, то фермеру надо решить, какое место займет рыбоводство в сельскохозяйственном производстве. Исходя из этого, определяется и его место в хозяйственной деятельности. Это может быть специализированное хозяйство, где выращивание рыбы – основное занятие, или же рыбоводство будет составной частью фермерского хозяйства, когда водоем используется комплексно.
Второе направление получило большое развитие, что в значительной степени связано с хорошей сочетаемостью рыбоводства с другими отраслями сельскохозяйственного производства. Поэтому при сооружении пруда следует предусматривать возможность комплексного его использования не только для выращивания рыбы, но и для полива сада и огорода, водопоя скота, разведения водоплавающей птицы, противопожарных целей.
Строительство искусственных водоемов
Особенности обустройства искусственного водоема
Выбор места
Если вы решили создать на своем участке пруд, не нужно сразу же брать в руки лопату. Выкопанный наспех котлован вряд ли станет украшением сада, а вот рассадником комаров – наверняка. Для начала определите тип будущего водоема и подберите для него место. Это достаточно сложная задача, требующая учета множества различных факторов, таких как размеры участка, его рельеф, освещенность, степень озеленения и т. п.
Иногда может оказаться, что тот или иной участок земли особенно подходит для устройства пруда и требует небольших расходов. Например, когда на нем имеется природное углубление, либо ручей течет по участку с большим или меньшим уклоном. На таком участке можно устроить не один, а несколько прудиков. При крутых уклонах пруды получаются небольшими и глубокими, их строительство требует большого объема земляных работ. Подходящим местом для строительства пруда является овраг с пологими склонами и небольшим продольным уклоном, а также участки местности с небольшим уклоном, на которых можно сооружать пруды путем возведения дамб по их периметру.
Для водоснабжения прудов можно использовать различные источники: родники, ключи, ручьи, речки, артезианские скважины и т. д. Воду можно подавать самотеком по каналам или трубам, если пруд расположен ниже источника водоснабжения, или с помощью насоса.
Лучшим местом для искусственного водоема или небольшого пруда является участок, где уровень воды в колодце или в скважине ближе к поверхности земли. Важно также, чтобы он был выше, чем в водоеме или реке, которая протекает рядом с участком. От этого будет зависеть плотность зарыбления искусственного водоема, а также выбор пород рыбы для разведения и выращивания. Чем выше уровень воды искусственного водоема по сравнению с рекой, протекающей рядом с участком, тем больше шансов у рыбовода достичь успеха.
Правильное решение – строить искусственные водоемы на месте старых прибрежных колодцев. Как правило, вода из них отличается особой чистотой и течет к реке через верхние брустверы.
Если же на участке нет ни скважины, ни колодца или какого-либо другого источника, а уровень подпочвенных вод находится на уровне реки, то искусственный водоем лучше оборудовать ближе к ней. Такие водоемы соединяют с рекой двумя перетоками или трубами: первый – выше по течению (поступление воды), второй – ниже по течению (спуск воды).
Бесспорно, наличие прибрежной зоны – идеальный вариант для устройства искусственного водоема, но, к сожалению, большинство владельцев дачных и приусадебных участков лишены такой возможности.
Небольшой водоем, наподобие бассейна, можно оборудовать даже там, где нет источников, обеспечив подачу воды к нему из водопровода, колодца или буровой скважины. Но разведение рыбы в таком водоеме, по сравнению с прибрежным, может быть нерентабельным.
Важное значение для сооружения искусственного водоема имеет грунт. Если в прибрежной зоне есть торфяники, вода, просачиваясь снизу через их толщу, становится особенно чистой, а берега водоема во время дождей не разрушаются. Пригодны также глинистые и суглинковые грунты, которые принадлежат к слабофильтрующим и хорошо удерживающим воду во время летней жары. Слабо пропускает воду и чернозем, но он способствует образованию ила, который, в свою очередь, ухудшает капиллярное поступление воды снизу. Нецелесообразно оборудование водоема без защиты дна и боковых стенок на кислых грунтах, которые создают неблагоприятные условия для жизни большинства видов рыб.
Искусственный водоем лучше соорудить рядом с домом, чтобы он хорошо просматривался. Такой вариант обеспечит живописный вид из окон, повысит безопасность (что совсем не лишнее, особенно если в доме есть маленькие дети) и упростит процедуру технического оснащения, так как источники воды и электроэнергии будут расположены достаточно близко.
Определяя место для водоема (мини-пруда или бассейна), нельзя не учитывать, что, кроме хозяйственного назначения, он будет иметь и эстетическое значение. Поэтому, устраивая пруд в зоне отдыха, необходимо достичь максимальной гармонии с окружающей природой и растительностью. При этом необходимо помнить, что деревья, которые окружают водоем, загрязняют его опавшей листвой. Хотя, с другой стороны, во время летней жары рыбы нуждаются в тени. И это не случайно: не все виды рыб выдерживают высокую температуру. Поэтому 25–30 % водоема должно затеняться зданиями, надводной растительностью, деревьями.
Нежелательно высаживать фруктовые деревья и плодово-ягодные кустарники в непосредственной близости от водоема, поскольку это создает определенные трудности во время ухода за ним и обработки деревьев против вредителей и болезней; к тому же плоды, падающие в воду, будут загрязнять ее. А вот береза и лоза, напротив, оздоровляют водоем.
Площадь водоема прежде всего зависит от площади земельного участка, рельефа местности и наличия здесь водных источников.
При наличии источников, которые обеспечивают самовольный отток воды, его размеры могут быть от 8 до 300 м2 и больше (если позволяют рельеф местности и размеры участка). Определяя размеры пруда, следует также учитывать высокую чувствительность некоторых видов рыб к содержанию кислорода в воде.
Поэтому для выращивания таких рыб, как толстолобик, сом, судак, щука и др., площадь водоема должна быть не меньше 100 м2.
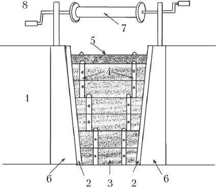
Вариант расположения искусственного водоема на приусадебном (дачном) участке с родниковым водоснабжением: 1 – искусственный водоем; 2 – дафниевая яма глубиной 0,6 м; 3 – дафниевая яма глубиной 0,45 м; 4 – дафниевая яма глубиной 0,3 м; 5 – соединительные каналы между дафниевыми ямами и искусственным водоемом; 6 – соединительные каналы между дафниевыми ямами; 7 – мостик через искусственный водоем; 8 – подводная растительность; 9 – река (озеро); 10 – соединительный канал (труба) между искусственным водоемом и рекой (озером); 11 – решетка в канале, которая препятствует выходу рыбы из искусственного водоема; 12 – березовые насаждения; 13 – насаждение из лозы; 14 – защитный бруствер (земляной вал), предотвращающий попадание к водоему вредных веществ во время дождя или наводнения; 15 – цветник; 16 – плодово-ягодные кустарники; 17 – фруктовые деревья
А если выращивается форель, то площадь пруда должна быть свыше 150 м2 с несколькими каскадами и проточной подачей воды с перепадом 20–40 см. Для форели идеально подойдет пруд с ручьевым водоснабжением.
Глубину водоема определяют, учитывая снижение уровня подпочвенных вод в засушливый период года. На 60–70 % от общей площади водоема уровень воды не должен опускаться ниже 1 м.
Для обеспечения нормальной жизнедеятельности большинства видов рыбы глубина пруда по центру должна быть от 1,4 до 1,8 м. Однако, учитывая сильное прогревание воды в южных регионах и значительное промерзание ее на севере, глубина в водоеме может достигать 1,8–2 м.
Впервые создавая искусственный водоем, нельзя не учитывать его заиливание в будущем за счет сдвижки берегов, земляных наносов грунтовыми водами. Поэтому сначала глубину в центре увеличивают на 50–80 см от заданной, а через 2–3 года она уже будет отвечать запланированной.
Конфигурация пруда
Каждый дачный или приусадебный участок индивидуален. Поэтому форму водоема или пруда нужно выбирать с учетом всех его особенностей. Так, в садах с формовой посадкой деревьев, когда в плане участка преобладают прямые линии, на равнинном или с небольшим наклоном рельефе местности подойдет водоем геометрической формы в виде квадрата, прямоугольника, треугольника, пятиугольника и т. п. А для сада с так называемой абстрактной посадкой деревьев больше подходит пруд с криволинейными очертаниями – круглыми, серпообразными или извилистыми берегами.
Очень красивый вид имеют искусственные водоемы с островками, полуостровками и фонтанами.
Пофантазировать можно во время планирования целого каскада прудов с насыпными дамбами при ручьевом водоснабжении. Здесь будут уместны не только фонтаны, но и небольшие водопады.
Если рельеф местности участка волнистый, пруд должен быть расположен поперек склона (вдоль реки), чтобы «захватить» больше грунтовых вод.
Что касается профиля, то водоем может быть как с высокими берегами, так и почти утопленными в землю.
Следует отметить, что высокие берега с большими насыпями, которые образовались во время выкапывания водоема экскаватором, хорошо защищают его от наводнений и дождевых вод. Дождевая вода, попадая в пруд, часто несет с собой мул, различные нечистоты, минеральные удобрения, ядохимикаты, которыми обрабатывают фруктовые деревья, плодово-ягодные кустарники и овощные культуры от вредителей и болезней, а иногда и нефтепродукты (результат мытья автомобилей). Все это представляет большую опасность для рыбы и может быть причиной различных заболеваний и даже гибели. Кроме этого, рыбы могут аккумулировать ядохимикаты и другие токсичные вещества, а затем становиться причиной отравления человека, употребившего их в пищу.
Особо опасны для рыб битумные смолы, которыми покрывают крыши жилых и хозяйственных помещений. При попадании после дождя битумных смол в приусадебный пруд вся рыба погибает.
Не менее опасными являются фекалии, а также стоки из свиноферм и коровников, которые могут вызвать у рыб различные инфекционные заболевания.
Высокие берега с земляной насыпью могут хорошо защитить водоем от влияния окружающей среды, но все-таки пруды с низкими или даже затопленными берегами выглядят намного эстетичнее и практичнее относительно их обслуживания. Они лучше вписываются в окружающий ландшафт и удобны для выращивания водных растений и рыб.
Чтобы к таким прудам не попадали нечистоты во время таяния снега или дождей, на расстоянии 5–6 м вокруг водоема необходимо насыпать небольшой земляной вал высотой 25–30 см и шириной 50–60 см. В местах вероятного размывания его следует сделать более высоким и широким, исходя из рельефа местности.
Ложе водоема
Большинство рыбоводов-любителей, оборудуя ложе искусственного пруда, пользуются архитектурным планом, предложенным рыбоводом В. Козловым. Согласно этому плану при выращивании разной по размеру и возрасту рыбы устраивают уступы в виде трехступенчатого амфитеатра.
По периметру вдоль берега ложе должно иметь мелководную зону шириной 0,6–1 м и глубиной 20–25 см, а затем ступеньку шириной 1,0–1,5 м и глубиной 1–1,2 м (в центре – 1,4–1,8 м). На первой мелководной ступеньке по периметру высаживают подводную и надводную растительность.
Такая конструкция ложа искусственного пруда подобна таковому у озера естественного происхождения, поскольку дает возможность оставлять рыбу на зимовку (на глубине) и выращивать мальков (на мелководье).
Когда ставки устраивают с насыпными дамбами и ручьевым водоснабжением, ложе должно иметь постепенный наклон к центру и месту сбрасывания воды в плотине (это необходимо для освобождения пруда при полном вылавливании рыбы и проведения его дезинфекции).
Дафниевые ямы
Чтобы обеспечить рыбу и мальков живым кормом, неподалеку от водоема (на расстоянии 1,5–3 м) следует оборудовать 2–4 дафниевые ямы (в них разводят планктон и личинки дафний).
Величина дафниевых ям и их количество зависят от размеров пруда, устройства ложа и его зарыбленности. Оптимальными являются дафниевые ямы размером 3×2×0,5 м.
Лучше всего будут развиваться личинки дафний и планктоны в ямах разной глубины (0,3–0,6 м), соединенных между собой каналами. Для того чтобы ускорить их развитие, в 1–2 ямы закладывают 4–12 ведер перегноя, компоста или подопревшего сена. Периодически воду из ям переливают в водоем.
При нормальном оттоке воды при родниковом или ручьевом водоснабжении, дафниевые ямы по цепочке можно соединить с прудом каналами для свободного посещения их мальками и взрослой рыбой.
Источники водоснабжения
Пруд с родниковым водоснабжением
Из всех видов приусадебных прудов наилучшим для выращивания рыбы является пруд с родниковым водоснабжением. Гидрохимические, токсикологические, микробиологическое и ихтиологическое условия водной среды таких водоемов дают возможность создать комфортную жизнь для любого вида пресноводных рыб.
Лучше всего копать пруд знойным летом или сухой осенью, когда подпочвенные воды залегают глубже, а вода в озере (реке), прилегающем к участку, достигает наименьшей отметки.
Прежде чем начать выкапывать котлован под будущий пруд, необходимо выровнять площадку бульдозером, сняв пласт грунта с таким расчетом, чтобы подпочвенные воды находились на глубине 30–40 см.
На заболоченных участках разравнивают только территорию, прилегающую к естественному водоему, которая обеспечивает удобный подъезд и работу механизмов, способных вынимать грунт (болотного экскаватора или других машин). В твердых грунтах (глина, суглинок и т. п.) возможности болотного экскаватора ограничены. Кроме того, ему нужно пространство для маневрирования и выбрасывания грунта, а деревья и здания на приусадебных участках усложняют эту работу и нередко делают невозможным движение болотного экскаватора.
Более маневренным и способным копать твердые грунты является экскаватор на базе МТЗ и подобных модификаций. Тем не менее, выкопать большой водоем таким экскаватором за один раз очень сложно. Поэтому пруды площадью более 20–25 м2 копают за 3–4 приема с перемещением выкопанного грунта экскаватором или бульдозером. Но если одновременно работают экскаватор и бульдозер, то ложе пруда можно устроить за один раз, независимо от его размеров.
Для того чтобы в перспективе искусственный водоем не заиливался, участки земли вокруг котлована засевают многолетними травами, высаживают лозу, вербу, ольху, березу и другие деревья.
Во время выкапывания котлована не обойтись и без ручной работы. До заполнения котлована водой необходимо вручную оборудовать ступеньки, ложе пруда и придать нужную форму его берегам.
После заполнения котлована водой его соединяют с рекой (озером) каналом, глубина которого регулирует уровень воды в искусственном пруду. Для того чтобы мальки не шли из водоема, а из реки (озера) не проникала нежелательная рыба, канал перегораживают металлической или капроновой сеткой с ячейкой 2×2 мм. Очень удобно соединять искусственный пруд с рекой (озером) асбестоцементной или пластиковой трубой диаметром 100–150 мм и больше в зависимости от притока воды из источников. С обеих сторон трубы устанавливают сетку, которую крепят с помощью съемного хомута, обеспечивающего ее легкое снятие во время чистки или замены.
Постоянное изменение воды в искусственном водоеме с родниковым водоснабжением существенным образом усложняет развитие в нем фитопланктона. Но наличие дафниевых ям, соединенных с водоемом, целиком компенсирует этот недостаток родникового водоснабжения.
Количество и размеры ям определяют с учетом площади пруда, частоты изменения воды в нем и плотности зарыбления.
Для водоема площадью около 50 м2 с одним изменением воды через сутки и зарыбленностью 5–6 шт. на 1 м2 достаточно одной дафниевой ямы с оптимальным размером 3×2 м и глубиной 0,5 м.
При большей площади водоема, а также более плотной посадке рыбы количество дафниевых ям увеличивают; их ложе должно иметь плоскую прямоугольную форму, слегка пологую по краям.
Дафниевые ямы и соединительные каналы, по обыкновению, копают вручную.
Многие рыбоводы-любители увеличивают количество дафниевых ям, которые в значительной мере улучшают обеспечение рыб естественным кормом.
Водные растения, которые высаживают по периметру на первой ступеньке ложа (глубина 20–25 см), можно взять в озере или реке, прилегающих к пруду.
В прудах с родниковым водоснабжением вода плохо прогревается. Поэтому деревья нужно высаживать так, чтобы они не затеняли зеркало воды. Независимо от источников водоснабжения, дафниевые ямы не должны затеняться.
Определяя высоту защитного земляного вала, который предотвращает проникновение в пруд дождевой, талой и половодной воды, нужно учитывать крутизну склона окружающей местности и высоту повышения уровня воды в реке (озере) во время наводнения.
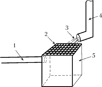
Водоем с речным водоснабжением
В прибрежной зоне даже на глубине 2–2,5 м не всегда можно найти сильные источники. В этом случае пруд должен иметь продольную форму вдоль реки. Ширина его может быть 5–6 м (это оптимальное расстояние для выкапывания котлована экскаватором с выбрасыванием грунта на обе стороны). Длину водоема проектируют, учитывая размеры дачного (приусадебного) участка. Два соединительных канала между рекой и водоемом будут обеспечивать проточное речное водоснабжение. Смена воды будет зависеть от длины водоема и скорости течения в реке.
Ширина и глубина соединительных каналов между водоемом и рекой должны обеспечивать проточность воды в пруду и могут быть от 0,25 до 0,5 м. В зимний период соединительные каналы часто промерзают, ухудшая кислородный баланс в водоеме. Для того чтобы этого избежать, можно проложить вместо соединительных каналов асбестоцементные трубы диаметром 250–330 мм, которые углубляют в воду на 0,5–0,6 м, а сверху присыпают землей. На входе и выходе труб устанавливают металлическую или капроновую сетку, так же как и в водоемах с родниковым водоснабжением.
Водоем с речным водоснабжением: 1 – река; 2 – искусственный пруд; 3 – дафниевые ямы; 4 – соединительный канал, который обеспечивает поступление воды; 5 – соединительный канал, который обеспечивает отток воды; 6 – надводная и подводная растительность; 7 – рамка с сеткой, которая препятствует выходу рыбы; 8 – прибрежные лесонасаждения; 9 – березовые насаждения вдоль водоема; 10 – защитный земляной вал; 11 – цветник
В таких водоемах вода хорошо прогревается, поэтому затенение зеркала воды от близлежащих деревьев допускается до 25 %.
Водоем с речным или родниковым водоснабжением через 8–15 лет частично заиливается, и потому его нужно чистить. Качественно это можно сделать только экскаватором (на базе МТЗ), однако его использование приводит к частичному разрушению оборудованной зоны отдыха, что, безусловно, нежелательно. Проблему можно решить с помощью миниатюрного земснаряда с электрическим приводом.
Пруд с ручьевым водоснабжением
Довольно часто под садоводческие кооперативы выделяют непригодные овражные земли. Оборудовать пруд в овраге с ручьевым водоснабжением несложно. Тем не менее, здесь нельзя допускать даже минимальных просчетов, поскольку проникновение воды в грунт может вызвать его переувлажнение на участках, расположенных ниже плотины, что в свою очередь отрицательно отразится на насаждениях фруктовых деревьев и даже может привести к неравномерному оседанию зданий и их разрушению. Известны случаи, когда непродуманное обустройство водоема становилось причиной сдвига грунтов. Поэтому надежнее сделать пруд с плотиной по возможности ближе к реке (озеру). Если же участок не прилегает к реке (озеру), то необходимо получить консультацию специалиста и согласовать строительство пруда с местными органами власти. Границы его определяют с учетом размеров участка и рельефа местности.
Выкопать пруд с поднятием воды за счет насыпной плотины можно и без экскаватора. Все работы, связанные с планированием ложа пруда и засыпкой плотины, выполняют бульдозером.
Пригодны для таких прудов тяжелые, слабофильтрующие грунты – суглинок и глина.
Во избежание чрезмерного разлива пруда, кроме основной подпирающей плотины, с его боковых сторон насыпают контурные дамбы. Для надежности плотинам и контурным дамбам придают трапециевидную форму. Их насыпают пластами (по 20–30 см) и хорошо уплотняют бульдозером. Укосы плотины должны иметь стойкие склоны, чтобы не допустить их размывания во время дождей и весенних наводнений. Высота плотины должна обеспечивать проектную глубину пруда. Для прудов площадью до 500 м2 часть дамбы, которая выступает над срезом воды до полного заполнения пруда водой, должна составлять не меньше 0,5 м.
Чтобы избежать размывания плотины и контурных дамб, их укрепляют дерном и камнями по сухому откосу или засевают многолетними травами и одновременно по периметру пруда возле дамб, которые размываются, высаживают камыш. Его саженцы высотой 60–60 см с корневищами высаживают «под лопату» на расстоянии 0,5–1 м друг от друга. Дамбу засаживают до самого верха. В первый год образуется редкая поросль, а в последующие годы – густая полоса шириной около 1,5 м, которая будет надежно гасить волну и препятствовать размыванию дамбы.
Существует два варианта оборудования водослива прудов с ручьевым водоснабжением: трубопроводный и щитовой.
В случае, если вода из ручья в пруд поступает медленно, чаще всего устанавливают трубопроводный водослив. Для этого возле основы плотины в самом глубоком месте монтируют сливную трубу с краном, который будет обеспечивать освобождение пруда от воды, когда вылавливают всю рыбу, а также во время очищения ложа от ила, его дезинфекции или ремонта плотины и контурных дамб.
На уровне проектного среза воды монтируют 1–2 асбестоцементные переливные трубы, оборудованные сетками, которые препятствуют выходу мальков и рыбы. Выше переливных рабочих труб желательно установить еще 1–2 резервные трубы на случай переполнения ставка водой во время ливней или весеннего паводка. Чтобы предотвратить размывание дамбы, в местах закладывания труб их укрепляют бетоном.
Для того чтобы избежать промерзания нижней сливной трубы в зимний период, ее следует закрыть опалубкой и опилками до наступления осенних заморозков. Мелкоячеистую сетку на переливной трубе необходимо снять и заменить крупной. Когда пруд замерзнет, сетку снимают.
Устройство водослива в водоеме при слабом ручьевом водоснабжении: 1 – насыпная дамба; 2 – пруд; 3 – сливная труба с краном; 4 – переливная труба; 5 – сетка на переливной трубе; 6 – резервная переливная труба (переливные трубы можно установить горизонтально или под углом); 7 – забетонированная часть дамбы; 8 – булыжная отмостка, которая препятствует размыванию грунта; 9 – ямы для вылавливания рыбы при полном освобождении пруда от воды
В случае обильного (эффективного) поступления воды в пруд из ручья устанавливают трубы для перелива большего диаметра или оборудуют щитовой водослив по принципу промышленных прудов. Металлические направляющие для щитов, которые удерживают воду, устанавливают раскосо под небольшим углом (3–4°). Прямоугольные щиты должны иметь слегка трапециевидную форму, благодаря чему их легко перемещать вверх.
Деревянные щиты из дубовых досок толщиной не меньше 50 мм скрепляют двумя металлическими пластинами, которые в верхней части имеют петли. Щиты поднимают тросом, закрепленным на барабане и изготовленным по принципу подъемника в сельском колодце. Над верхним щитом устанавливают металлический каркас с сеткой.
В верхней части пруда на водозаборе устанавливают решетчатое металлическое заграждение с ячейками 20×20 мм, что будет предотвращать загрязнение пруда опавшей листвой и мусором, а также выход выращиваемой рыбы.
В плотине по центру ложа от водозабора до водослива необходимо выкопать осушительный канал глубиной 0,5–0,6 м, который необходим для сбрасывания и отвода из ложа воды, оставшейся после спускания.
Щитовой водослив в водоемах с эффективным ручьевым водоснабжением: 1 – дамба; 2 – направляющие полозья для подпорных щитов; 3 – водоподпорные щиты; 4 – металлические пластины с петлями для крепления; 5 – каркас с сеткой, которая предотвращает выход рыбы; 6 – бетонная основа водослива; 7 – съемный барабан для поднятия водоподпорных щитов; 8 – пруд
Чтобы облегчить вылавливание рыбы, в осушительном канале делают 2–3 небольшие ямы размером 2×2 м и глубиной до 1 м. В них рыба не повреждается и может находиться продолжительное время.
В обход контурной дамбы и плотины с учетом рельефа местности устраивают водосбросный слив для пропуска лишней воды, которая появляется в период наводнений и ливней, а также для отвода воды во время полного спуска воды из пруда. Водосбросные сооружения делают в виде земляных каналов, бетонных, деревянных, трубчатых, комбинированных и донных водосливов.
Если участок имеет склон, по которому протекает ручей, а грунты исключают фильтрацию воды в грунт, – можно оборудовать несколько каскадных прудов с водопадами и фонтанами. Такой каскад прудов, оборудованных небольшими водопадами, дает возможность выращивать не только карпа, толстолобика, белого амура, но и такую деликатесную рыбу, как радужная форель.
Ставок с ручьевым водоснабжением на сильнофильтрующих грунтах
Намного сложнее оборудовать ставок, если участок, который прилегает к ручью, имеет сильнофильтрующий грунт (песчаный, торфяной и т. п.).
Попытки рыбаков-любителей сделать ставок на таких грунтах в бетонной оправе площадью свыше 50 м2 успеха не имели, ввиду сложной технологии и больших материальных затрат.
Появление на строительных рынках достаточно крепких пленочных материалов, стойких к ультрафиолетовым лучам, низким температурам, растягиванию и при этом сохраняющим свои свойства на протяжении 8–12 лет, изменило ситуацию к лучшему.
Котлован под пруд с пленочным покрытием необходимо тщательно подготовить. На его дне не должно быть ни одного предмета, который может прорезать пленочное покрытие. Дно и укосы плотины контурных дамб делают пологими, под углом около 25–30°, но не больше 45°. Все ложе будущего пруда тщательно выравнивают и хорошо утрамбовывают. Потом насыпают песчаную подушку толщиной 15–20 см, разравнивают ее, поливают водой и уплотняют.
На песчаную основу вкладывают специальный нетканый материал типа сантехнической стеклоткани или другие материалы, которые не гниют. Это будет предотвращать возможное повреждение пленки.
В продаже есть множество пленок, но далеко не все они пригодны для устройства пруда. Хорошо зарекомендовали себя специальные поливинилхлоридные пленки черного, темно-зеленого и коричневого цвета, а также пленки из синтетического каучука. Они довольно крепкие и выдерживают температуру до –60 °C.
Оптимальная толщина пленки – 0,5–1 мм. Применять пленку толщиной свыше 1,5 мм нежелательно в связи с ее недостаточной пластичностью.
Пленку укладывают по ложу пруда, выпуская на его края по 0,5 м, и сваривают термическим или диффузным способом с помощью растворителя.
Склеивание полотен пленки – ответственная операция, так как любая, даже незначительная погрешность сможет привести к нежелательным последствиям.
Для сваривания пленки диффузным способом один лист накладывают на другой так, чтобы они перекрывали друг друга приблизительно на 5 см. Края смазывают специальным растворителем, прижимают, а потом проходят силиконовым валиком. В местах склеивания не должно быть воздушных пазух, так как под давлением они могут лопнуть, и пленка начнет протекать.
Начинать укладывать пленку лучше от водосливной, переливной и резервной переливной труб. В пленке и нетканом материале вырезают отверстия, поочередно втыкают в них трубы, уплотняют с помощью колец и обмазывают края силиконовым герметиком. Особое внимание нужно обратить на то, чтобы пленка в местах соединения с трубами не собиралась.
Края пленки, выведенные на берег, необходимо присыпать пластом земли толщиной 20–25 см. Также нужно присыпать землей и пленку в воде вдоль берега. Это предотвращает ее повреждение льдом и дает возможность закрепить надводные и подводные растения, которые придадут пруду естественный вид и будут способствовать развитию планктона.
Пруд с пленочным покрытием заполняют водой постепенно, с перерывами в 1–2 дня. И лишь после того, как убедитесь в том, что пленка приобрела форму дна и уровень воды постоянный, можно запускать рыбу.
Проверить, не протекает ли пленка, очень просто. Засекают по секундомеру время наполнения емкости на наполнение, а потом время оттока воды из переливной трубы. Разность в наполнении емкости – это потери на испарение и просачивание воды в грунт. Чтобы уменьшить погрешности на испарение воды, измерения проводят в утренние часы.
Недостатком пленочного покрытия является его недолговечность. Поэтому большинство рыбоводов-любителей, создавая искусственные пруды на фильтрующих грунтах, применяют глиняную оправу ложа. Для этого поверх грунта укладывают слой глины, а затем слой гальки или щебня мелкой фракции. Гальку или щебень прикрывают слоем песка, а сверху – слоем глины. Толщина первого и последнего глиняного пласта – 20–25 см, галечного и песчаного – по 15–20 см. Вода просачивается через такой фильтр, захватывает часть глины, которая забивает поры между песчинками, а те, в свою очередь, – промежутки между камнями. Со временем в результате фильтрации образуется непреодолимое препятствие для воды.
Правда, верхний глиняный пласт будет способствовать появлению мутной воды. Но этого можно легко избежать, если присыпать глину 10-сантиметровым слоем мелкой гальки.
Пруд с замкнутым водоснабжением
Еще недавно строительство декоративного водоема с замкнутым водоснабжением было недоступно для большинства любителей. Сегодня его легко можно построить благодаря появлению синтетических изолирующих материалов, пригодных для укладывания на дно водоема.
Ложе водоема с замкнутым водоснабжением может быть в бетонной, железной, пластиковой, пленочной и глиняной оправе. Большой популярностью пользуются пруды с пленочным покрытием, где используют современные гибкие изолирующие материалы. Они не ограничивают фантазию человека в выборе очертаний и размеров пруда, их несложно сделать даже без специальной квалификации и подготовки.
Единственный недостаток гибкого изолирующего материала – невозможность получения абсолютно ровной поверхности и идеально правильных углов, поскольку во время укладки неизбежно образуются складки. Но это не такой уж и большой недостаток, так как поверхность воды скроет его. И вдобавок, со временем стенки пруда зарастают растениями, и тогда складки будут абсолютно незаметны.
Для создания временных водоемов (на одни-два года) пригодна дешевая полиэтиленовая пленка, которую со временем можно заменить на более крепкое покрытие.
Нередко, покупая гибкий изолирующий материал, сложно понять, из каких материалов он изготовлен. Прежде чем платить деньги, узнайте об этом у продавца или фирмы, которая его реализует, и уточните сроки гарантии.
Технологический процесс строительства декоративного водоема состоит из нескольких этапов.
Прежде чем начать строить, необходимо обозначить предполагаемые очертания будущего водоема, используя бечевку, рулетку и деревянные колышки.
Разметка очертаний будущего пруда
Котлован под ложе пруда начинают копать с середины, чтобы не разрушить края. Стенки ложа должны идти вниз, под углом до 60°. На глубине 40–50 см от поверхности по всему периметру пруда нужно сделать горизонтальную ступеньку шириной 20–30 см. На ней будут располагаться корзины с водными растениями. Если планируете зимовку рыбы, то необходимо предусмотреть зимовочный колодец или яму глубиной не меньше 2 м. Края пруда нужно выровнять с помощью спиртового или водного уровня, чтобы один берег не оказался ниже другого.
Во время выкапывания котлована с помощью экскаватора участок размечают колышками без учета скошенных стенок. Такие стенки ложа и ступеньку под водные растения оборудуют вручную. Дно пруда выравнивают песком и тщательно трамбуют.
Если пруд располагают на склоне, следует подумать об оформлении высокого берега, так как не заделанная пленка будет иметь непривлекательный вид. Высокий берег, выложенный из камней в виде скалы, выглядит более природно. Во избежание обсыпания камней, их закрепляют цементным раствором. Среди них можно сделать углубление для высаживания невысоких декоративных растений, свисающих лиан или цветов.
Когда котлован будет готов, необходимо проверить, нет ли на склонах и дне ложа камней, выступающих корней деревьев и других острых предметов. На дно котлована и его стенки насыпают пласт песка толщиной 5–10 см, затем его выравнивают и трамбуют.
Далее подготавливают пленку. Ее размеры должны отвечать максимальной длине и ширине пруда плюс две глубины с учетом наклона стенок и по 25 см для прикрытия по краям. Чаще всего ширина стандартного рулона пленки составляет 6 м. Если пруд не вписывается в эти габариты, то пленку придется клеить. ПВХ и полиэтилен спаивают термическим способом. Покрытие из битум-каучуковой резины или Pondtex склеивают с помощью специальной клейкой ленты.
Подготовленную пленку нужно натянуть и опустить в котлован так, чтобы она свободно лежала в яме. А потом необходимо прижать ее камнями по кругу, чтобы закрепить на месте.
Во время наполнения пруда водой нужно передвигать или убирать камни, разравнивая пленку, чтобы не было складок.
Декорирование краев пленки камнями, галькой или дерном
После того как водоем будет наполнен водой к запланированному уровню, нужно закрепить пленку и обрезать лишнее, задекорировав ее по краю плоскими камнями, галькой, плиткой или дерном, и высадить прудовые растения.
После этого осталось лишь закрепить техническое оборудование (насос, фильтры, ультрафиолетовый стерилизатор и т. п.), без которого нормальное функционирование водоема с замкнутым водоснабжением и существование его обитателей невозможно. Кроме основного оборудования можно также установить дополнительное: фонтаны, подсветку, искусственный водопад и т. п.
Рыбу заселяют только после того, как в пруду будет восстановлено биологическое равновесие.
При умелом дизайнерском оформлении пруд будет выглядеть как естественный водоем, а вокруг него можно устроить живописную лужайку с декоративным кустарником или цветочными клумбами.
Пруд с дождевым водоснабжением
Оборудовать приусадебный водоем с родниковым водоснабжением, если источники размещены на глубине не более 1,5 м, с речным или с искусственным водоснабжением, когда рядом есть буровая скважина, колодец или водопровод, – несложно. Но, к сожалению, иногда дачные или приусадебные участки расположены на холмах или в горной местности, где родниковые и подпочвенные воды залегают на очень большой глубине. При отсутствии водопровода никто и не задумывается о приусадебном водоеме, а урожайность садовых и огородных культур зависит только от погодных условий.
Как это ни странно, но сотни и даже тысячи лет назад наши предки, жившие в горных районах, сделали много интересных открытий.
Например, на плато горы в Бахчисарае был расположен старый город, в котором до наших дней хорошо сохранились водопровод и место для сбора дождевой воды. В старинных замках в Карпатах, на Кавказе, в межгорьях и предгорьях Туркмении, в Египте и во многих других местах земного шара сохранились подобные водопроводы и места для сбора воды. Дождевой водой поили скот, поливали насаждения, ее употребляли как питьевую воду во время осады городов. Ею наполняли и рвы вокруг крепостей.
В наше время отношение к дождевой воде далеко не однозначное и противоречивое. С одной стороны, при отсутствии своевременных дождей сельское хозяйство терпит огромные убытки. С другой стороны, развитие химической, металлургической и других отраслей промышленности приводит к выбросам в атмосферу кислот и других вредных токсичных веществ. Значительно ухудшает и без того сложную экологическую ситуацию и увеличение количества автомобилей, которые в основном работают на бензине и дизельном топливе.
Использование дождевой воды для приусадебных прудов возможно, но подходить к этому нужно очень осторожно.
Прежде всего необходимо помнить, что вода, которая стекает с водосточных труб вашего дома, нуждается в грубом очищении от листвы и грязи, которая накапливается на поверхности крыши. Для этого на приемочные отстойники, которые расположены возле водосточных труб, устанавливают решетки с ячейками 5×5 мм. Как правило, отстойники под водосточными трубами делают прямоугольной формы глубиной не меньше 35–40 см. Отстойники бетонируют, прибавив к раствору жидкое стекло или другие вещества для гидроизоляции, чтобы не допустить просачивания воды под фундамент дома. От них по трубопроводам диаметром 50–70 мм воду отводят к отстойникам второй очереди.
Отстойник под водосточной трубой: 1 – трубопровод для отвода воды к отстойникам второй очереди; 2 – решетка; 3 – поступление воды из водосточной трубы на решетку отстойника; 4 – водосточная труба; 5 – отстойник
В качестве отстойников второй очереди можно использовать три обычные 200-литровые бочки. Верхние их части вырезают, чтобы обеспечить доступ во время периодического очищения дна от грязи. С внутренней стороны бочки окрашивают масляной краской, а с внешней – наносят 2–3 слоя битумной мастики с прослойкой стеклоткани. Бочки закапывают в землю рядом с водоемом выше уровня горизонта земли на 5–7 см. Трубопроводы от отстойников под водосточными трубами подводят к первой бочке. Бочки между собой соединяют трубопроводами диаметром 1,5–2 дюйма на уровне верхнего среза воды в водоеме.
Для уменьшения проникновения грязи из бочки в бочку на соединительный водопровод между бочками и водоемом устанавливают металлическую или капроновую сетку с ячейками соответственно 2,5, 2 и 1 мм.
Схема соединения второй очереди отстойников с прудом: 1 – ставок; 2 – отстойник; 3 – трубопровод для отвода воды от отстойника под водосточной трубой к отстойникам второй очереди; 4 – трубопровод, соединяющий отстойники; 5 – трубопровод, который соединяет последний отстойник с прудом; 6 – сетка-фильтр; 7 – крышка; 8 – трубопровод для отвода излишков воды; 9 – контейнер для водных растений
При отсутствии необходимого диаметра трубопроводов, а также при больших потоках воды из водосточных труб возможно двойное соединение между собой.
Схема двойного соединения отстойников второй очереди
Для защиты воды в бочках от солнечных лучей, которые служат причиной развития фитопланктона (цветение воды), их прикрывают металлическими крышками или деревянными дубовыми щитами, которые декорируют камнями, плитками или цветами в ящиках. При необходимости декорированные крышки должны легко сниматься для того, чтобы обеспечить доступ для очищения сеток на соединительных трубопроводах после каждого проливного дождя, а также для очищения дна бочек от накопленного ила 2–3 раза в год.
Ложе пруда с дождевым наполнением может быть выполнено в различной оправе: пластиковой, металлической, железобетонной, бетонной, каменной и пленочной. Все зависит от вашего желания и возможностей. Проще и дешевле обустроить ложе водоема пленочной оправой.
Стенки ложа могут быть без уступов или с одним-двумя уступами. Но в любом случае при пленочном покрытии они должны быть наклонены под углом не меньше 60°, что в свою очередь уменьшит осыпание грунта и гарантированно сохранит пленку от разрывов в зимний период во время оттепелей.
В пруду с дождевым водоснабжением, в отличие от других прудов, первый уступ для высаживания водорослей делают на глубине не меньше 60–70 см, чтобы в период, когда нет дождей, и при использовании воды для поливов не оголялись корни водных растений.
В пруду без уступов с более мелкой стороны глубина должна быть не меньше 120–130 см, а с более глубокой стороны, если планируется зимовка рыбы без обустройства зимовальной ямы, – не меньше 2–2,3 м.
