автордың кітабын онлайн тегін оқу Информатика и защита информации. Для студентов гуманитарных и технических специальностей
Владимир Челухин
Информатика и защита информации
Для студентов гуманитарных и технических специальностей
Шрифты предоставлены компанией «ПараТайп»
© Владимир Челухин, 2018
Данная книга будет полезна студентам при изучении курсов по информатике, защите информации и других смежных курсов. В книге собраны основные сведения по аппаратному обеспечению ЭВМ.
12+
ISBN 978-5-4493-9611-2
Создано в интеллектуальной издательской системе Ridero
Оглавление
- Информатика и защита информации
- ВВЕДЕНИЕ
- 1. СТРУКТУРА ИНФОРМАЦИОННЫХ ТЕХНОЛОГИЙ
- 2. АППАРАТНЫЕ УСТРОЙСТВА ИНФОРМАЦИОННЫХ ТЕХНОЛОГИЙ
- 2.1. Компьютеры
- 2.2. Копировальная техника
- 2.3. Цифровые устройства информационных технологий
- Табличный процессор Excel
- 2.4 Язык HTML (Hyper Text Markup Language)
- 2.5 ПРИМЕНЕНИЕ ИНФОРМАЦИОННЫХ ТЕХНОЛОГИЙ В ЛИНГВИСТИКЕ
- Краткий словарь терминов
- РЕКОМЕНДУЕМАЯ ЛИТЕРАТУРА
ВВЕДЕНИЕ
В последнее время устройства вычислительной техники и информационные технологии всё больше и больше внедряются в гуманитарные области науки.
Юриспруденция, социальная работа, лингвистика, экономика, культурология всё шире используют компьютеры и соответствующее программное обеспечение, что позволяет намного увеличить эффективность работы. Например, программа «Консультант +” по законодательству для юристов позволяют в считанные минуты подобрать любые законодательные акты по интересующему вопросу. Мощные электронные словари и переводчики позволяют за короткое время перевести большие по объёму документы на интересующий лингвиста язык.
Сегодня большое число компьютеров все больше и больше объединяется в сети как местного, локального значения, так и в глобальные. Возникают необходимости поиска и размещения информации в сети Internet, что тоже должен уметь делать грамотный пользователь.
Кроме того, соединение огромного числа компьютеров в сеть повлекло за собой рост преступлений, связанных с хищениями информации через компьютерную сеть, в том числе и конфиденциальной, секретной. Немалую опасность представляют сейчас для пользователей хакерские атаки, появление вредящих компьютерных вирусов, поражающих логическую часть ЭВМ, а порой и физическую. В этой связи пользователь должен понимать политику защиты не только своего компьютера, но локальной, местной сети, уметь защитить её от вредящих действий злоумышленников, атакующих его компьютер через глобальную сеть. Пользователь должен уметь правильно применить административные и технические меры защиты информации, хорошо ориентироваться в законодательстве и знать статьи уголовного права, нацеленные на защиту информации, интеллектуальной собственности, созданной с помощью компьютеров, соблюдать правила использования лицензионного программного обеспечения.
В книгу очень ограниченно вошли такие разделы как основы программирования, алгоритмические языки, системы счисления, структуры алгоритмов и т. п. Те, кто желает глубже изучать программирование, могут воспользоваться специальной литературой по этому вопросу, выбрав необходимый язык программирования.
Материал в книге подобран в соответствии с требованиями Государственного образовательного стандарта специальностей гуманитарного профиля и на основе лекций, прочитанных автором для гуманитарных специальностей Комсомольского-на-Амуре технического университета.
1. СТРУКТУРА ИНФОРМАЦИОННЫХ ТЕХНОЛОГИЙ
Информационными технологиями называют совокупность вычислительных и исполнительных устройств, программного обеспечения и средств связи, предназначенных для обработки информации.
К вычислительным устройствам относят компьютеры, микропроцессоры, чипы и другие арифметически-логические устройства вычисления.
К исполнительным относят устройства отображения информации: принтеры, мониторы, плоттеры, а также устройства её считывания: сканеры, дисководы.
Программным обеспечением называют совокупность интеллектуальных знаний, задающих логическую последовательность выполнения поставленных задач и процессов управления с помощью специальных символов, созданных языком программирования.
К устройствам связи относят телефонные и радиорелейные линии, модемы, кабельные сети, антенные устройства.
В целом информацией называют совокупность интеллектуальных знаний, используемых в процессах управления.
Задачей информационных технологий является представление интеллектуальных знаний и документов, отражающих их, в электронном виде, автоматизация процессов управления при помощи аппаратно-логических устройств, а также сбор, анализ и обработка информации (обмен, хранение, накопление и т.д.).
Термин информация происходит от латинского слова informatio, означающее разъяснение, осведомление, изложение. Развитие информационных технологий обеспечивают:
— математика;
— программирование;
— микропроцессорная техника;
— техника связи;
— организационно-правовое обеспечение;
— стандартизация и унификация.
Основной причиной стремительного развития информационных технологий являются возможность работы с её техническими средствами в диалоговом режиме с использованием принципа меню (пользователю предлагаются готовые варианты для выбора). В последнее время в информационных технологиях всё большее развитие получают программы, позволяющие реализовать речевой диалог с вычислительной машиной.
В общем виде, базой развития информационных технологий являются аппаратные устройства обработки информации и их программное обеспечение.
2. АППАРАТНЫЕ УСТРОЙСТВА ИНФОРМАЦИОННЫХ ТЕХНОЛОГИЙ
2.1. Компьютеры
Основным элементом информационных технологий является компьютер. «Компьютер» — переводится как вычислитель. История его начинается с 1642 г., когда Блез Паскаль изобрел механическое устройство для сложения чисел. 1672 г. Готфрид Вильгельм Лейбниц сконструировал арифмометр, позволяющий вычислять 4 арифметических действия. С XIX века арифмометры были очень распространены. В первой половине XIX века английский математик Чарльз Бэббидж построил аналитическую машину, которая работала по программам на перфокартах. Машина оказалась слишком сложна, но он разработал идеологию. В 1943 г. американец Говард Эйкен на предприятии фирмы IBM построил электромеханическую вычислительную машину «Марк — 1». Приблизительно в то же время немец Конрад Цузе в 1941 г. построил такую же машину.
Затем группа специалистов в США под руководством Дж. Мочли, Преснера и Экерта сконструировали подобную машину, под названием «ENIAC», на основе электронных ламп, а не реле. Её серьёзный недостаток — выделялось много тепла и затруднен был процесс ввода программ. В 1945 г. к работе был привлечен Джон Фон Нейман, математик, который сформулировал общие принципы работы ЭВМ. В 1949 г. был построен первый компьютер, где были воплощены все принципы Неймана. Его построил английский исследователь Маркс Уилксон.
Согласно принципам Неймана (рис. 1) компьютер должен иметь:
1) арифметически — логическое устройство, выполняющее операции;
2) устройство управления — организующее процесс выполнения программ;
3) запоминающее устройство (память) для хранения программ, данных;
4) внешние устройства ввода — вывода данных.
С помощью внешнего устройства в память вводят программу. Устройство управления считывает ее с памяти и ориентирует выполнение по порядку, установленному памятью и выводит информацию на внешнее печатное устройство или экран.
В 1948 г. с появлением транзисторов, а с 1958 г. — интегральных микросхем компьютеры с 1968 г. стали выпускаться на микросхемах.
Роберт Нойс, основатель фирмы Intel, с 1970 г. начал продавать интегральные схемы памяти, и фирма выпустила первый микропроцессор Intel — 4004.
В 1974 г. фирма Intel выпустила версию Intel-8080, которая до конца 70 г. стала стандартом микрокомпьютерной индустрии. А в 1975 году был создан первый коммерческий компьютер «Альтаир-8080» фирмой MITS. Его возможности были скромные, но успех очень большой.
В это же время Полл Аллен и Билл Гейтс, основатели фирмы Microsoft создали для компьютера «Альтаир» интерпретатор языка BEISIC, что позволило легко писать программы для него. К 1979 г. спрос на ЭВМ упал, и фирма IBM решила уделить внимание персональным компьютерам (ПК). В качестве эксперимента руководство дало полную свободу отделу, занимавшемуся разработкой ПК, и те использовали блоки других фирм и открытую архитектуру. В 1983 г. был выпущен ПК IBM PC AT на основе микропроцессора Intel — 80286. Так как успех у персональных компьютеров был очень сильным и спрос на них стремительно рос, то чуть позднее их выпуском стали заниматься и многие другие фирмы и предприятия. Сегодня их сборкой и выпуском занимаются в США, Европе, Китае, Тайване, России и других странах.
Представление информации в персональном компьютере
Компьютер может обрабатывать информацию только в числовой форме. Поэтому вся другая информация: звуки, изображения, тексты должны быть преобразованы в числовую форму. Процесс преобразования называется кодированием.
Числа в ПК представляются с помощью 0 и 1, то есть компьютеры работают в двоичной системе.
Единицей информации является один бит, т.е. двоичный разряд, который может принимать значение 1 или 0. Обычно ПК работает с 8 битами сразу. Восемь последовательных битов составляют байт. В нем можно закодировать = 256 символов. Более крупная единица — килобайт (Кбайт) равный 1024 байта (), мегабайт (Мбайт) равный 1024 Кбайта, и гигабайт 1024 мегабайта. Например, объём книги 300 страниц приблизительно равно 900 Кбайт. На одну стандартную дискету ёмкостью 1.44 Кбайт можно записать примерно 450 — 500 страниц текста.
Архитектура компьютера
Персональный компьютер — сложное устройство, состоящее в основном из электронных блоков, установленных в корпусе и связанных между собой шлейфами кабелей — так называемая аппаратная часть. Однако, кроме того, компьютер имеет и интеллектуальную часть — программное обеспечение или логическую часть. Поэтому, говоря об устройстве компьютера, всегда надо различать его аппаратную часть и его программную часть (логическую). Рассмотрим вначале его аппаратную часть.
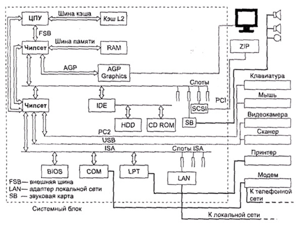
Компьютер — это комплекс взаимосвязанных электронных устройств, каждому из которых поручена определенная функция (рис. 2). Этот комплекс называют конфигурацией или архитектурой ПК. Конкретный ПК может работать с разным набором внешних устройств. Но существует «минимальная» конфигурация, без которой работа на ПК становится невозможной.
Различают системный блок (рис.3) и внешние устройства ПК. К внешним устройствам относят монитор, клавиатуру, мышь и все остальные устройства, например, модем, принтер, сканер.
Системный блок
Системный блок (заключенные в металлический корпус основные электронные элементы ПК и платы) чаще всего содержит:
¨ системную (материнскую) плату с процессором, микросхемы памяти, генератор тактовых импульсов, системную магистраль, контроллеры (адаптеры) внешних устройств, слоты — разъёмы для подключения контроллеров;
¨ звуковые и видеокарты;
¨ накопитель на жестких дисках;
¨ дисководы;
¨ блок питания.
Процессор (микропроцессор) — это центральное устройство компьютера («мозг» машины). Проводит вычисления и управляет работой всех устройств. Процессоры различаются между собой по типу модели и характеристикам. Основные модели процессоров IBM — совместимых компьютеров фирмы Intel:
¨ 1974 г. — 8-разрядный процессор 8080 (4800 транзисторов, 75 команд, 64 Кбайта памяти);
¨ 1978 г. — 16-разрядный процессор 8086 — ХТ (1 миллион операций в секунду (млн. оп/с), 4,77—10 МГц);
¨ 1982 г. — 80286 — РС (1—2 млн. оп/с, 6—25 МГц);
¨ 1986 г. — 80386 — 32-разрядный (6—12 млн. оп/с, 16—33 МГц);
¨ 1990 г. — 80486 — (20—40 млн. оп/с, 25—50 МГц);
¨ 1993 г. — Pentium — 32- разрядный (120—200 млн. оп/с, 60 МГц, 3 миллиона транзисторов);
¨ 1995 г. — Pentium РRO (300 млн. оп/с, 150 — 200 МГц);
¨ 1997 г. — Pentium II (233 — 450 МГц);
¨ 2000 г. — Pentium III (566 — 1000 МГц);
¨ Pentium IV (1400 — 1700 МГц и более, 42 миллиона транзисторов).
В последнее время фирмой Intel разрабатываются процессоры Itanium, имеющие более высокие характеристики. Их главная особенность — 64 разрядная внутренняя архитектура. В настоящее время процессоры Itanium, Itanium 2 используются в мощных серверах. Эти процессоры требуют специального программного обеспечения. Фирма Intel выпускает также процессоры типа Celeron, несколько дешевле первых.
Кроме фирмы Intel в создании процессоров участвуют и другие фирмы AMD (AMD, Athlon, Duron), Cyrix, VIA, IBM и т.п., характеристики выпускаемых процессоров которых тоже достаточно высоки, а цены несколько ниже.
Основными характеристиками процессоров являются тактовая частота и разрядность
Тактовая частота или быстродействие — это количество информации, обрабатываемой за секунду, которая указывает, сколько элементарных операций (тактов) микропроцессор выполняет за одну секунду.
Такт — это промежуток времени между началом подачи текущего импульса и началом подачи следующего. На выполнение процессором каждой операции отводится определенное количество тактов. Тактовая частота измеряется в мегагерцах (МГц). Герц — единица измерения частоты колебаний, равняется одному колебанию в секунду. МГц — это миллионы герц, миллион колебаний в секунду, миллион операций в секунду.
Разрядность — максимальное количество информации, которое может обрабатываться или передаваться процессором одновременно — количество обрабатываемых бит информации как единое целое (4, 8, 16, 32, 64). Бывают процессоры, имеющие 8 разрядов, 16, 32 и даже более (исходя из целей, которые преследуются при работе на данных ЭВМ).
Краткая справка процессоров Intel
Процессоры Pentium фирмы Intel объединяют в себе высокую производительность с гибкостью и совместимостью, характеризующими платформу персонального компьютера. В настоящее время процессор Pentium является основой большинства продаваемых ПК и обеспечивает широкие возможности для работы с новым поколением мультимедийного программного обеспечения и Internet.
Intel Pentium I. Выпущен в 1993 г. Разрядность шины адреса — 32 бита, таким образом, максимальный размер адресуемой памяти равен 4 Гб. Разрядность шины данных — 64 бита.
Процессоры семейства Pentium I производятся с использованием полупроводниковой технологии.
Процессоры Pentium I включают в себя:
Суперскалярная архитектура — два параллельно работающих конвейера обработки позволяют одновременно обрабатывать до двух инструкций за такт. Процессор имеет встроенный усовершенствованный блок вычисления с плавающей точкой. Конвейерная организация позволяет обрабатывать две целочисленные операции и одну (а при определённых условиях и две) операцию с плавающей точкой за такт.
Pentium PRO
Выпущен в 1995 году. Тройная суперскалярная архитектура (конвейер имеет 12 уровней и поддерживает динамическое выполнение инструкций) — возможно выполнение 3-х команд за такт. Семейство процессоров Pentium Pro — это следующее поколение высокопроизводительных изделий Intel для мощных настольных компьютеров, рабочих станций и серверов. Это семейство включает в себя процессоры с тактовой частотой от 150 Mгц и выше, которые легко объединяются в многопроцессорные системы до четырех процессоров в каждой
Основные характеристики
— Тактовая частота ядра 150, 166, 180 и 200 Mгц
— Оптимизирован для 32-разрядных приложений, работающих под управлением современных 32-разрядных операционных систем
— Единый корпус содержит процессор Pentium Pro, кэш-память и интерфейс системной шины
— Наращивается до четырехпроцессорной системы с 4Гб памяти
Intel Pentium II. Эта модель появилась в 1997 году.
Фактически Pentium II является продолжением линейки Pentium PRO с новыми усовершенствованиями, а также упрощениями, введёнными для удешевления себестоимости процессора.
Семейство процессоров Intel Pentium II включает процессоры с тактовыми частотами 233 и 266 МГц для настольных ПК, рабочих станций и серверов и с тактовой частотой 300 МГц для рабочих станций. Все они совместимы по кодам с предыдущими поколениями процессоров Intel. Процессоры Pentium II обеспечивают максимальную производительность приложений при работе в оперативных системах Windows 95, Windows NT и UNIX.
Bluetooth 1.2 и обладает мульти слотом для карт памяти — Memory Stick (Pro) /SD/xD. Цена на Fujitsu LifeBook P7120 с процессором Intel Pentium-M составит 2250 долларов США, с процессором Intel Celeron-M всего 1799 долларов США.
Известный всему миру южнокорейский промышленный гигант «LG» начал выпуск ряд моделей новых ноутбуков.
Ноутбук LG LM70 P333 является почти самым старшим в этом ряду (выше лишь LG LM70 P555).
Intel Pentium III. Представленный в начале 1999 года, процессор Pentium® III, был создан для использования преимуществ Интернета.
Процессор Intel® Pentium® III с кэш-памятью второго уровня объемом 512 КБ выпускается с тактовыми частотами вплоть до 1.40 ГГц. Процессор имеет кэш-память второго уровня объемом 512 КБ с улучшенной передачей данных (память встроена в кристалл, работает на частоте процессора и имеет код коррекции ошибок (ECC)). Некоторые модели процессора снабжены блоком DPL, который предвидит, какие данные вскоре потребуются процессору, и заранее загружает их в кэш-память с улучшенной передачей данных, что еще больше повышает производительность процессора и приложения.
Intel Pentium 4. Представленный в конце 2000 года, процессор Pentium® 4 стал наиболее популярным процессором для современных ПК. Разработан для пользователей передовых игровых программ, цифровой музыки, видео и фото.
Процессор Pentium 4 с тактовой частотой 3,20 ГГц и усовершенствованной системной шиной с частотой 800 МГц позволяет более эффективно использовать многозадачность при одновременном выполнении нескольких приложений.
Семейство процессоров Intel® Pentium® 4 — это самые совершенные и самые мощные процессоры Intel для настольных ПК и рабочих станций начального уровня. Процессор Intel® Pentium® 4 рассчитан на такие приложения и модели использования, где особенно ценится производительность. Спектр таких приложений весьма широк: обработка аудио- и видеопотоков, транслируемых через Интеренет, обработка изображений, создание и редактирование видео, передача и обработка речи, трехмерное моделирование, системы автоматизированного проектирования, игры, мультимедийные приложения и многозадачные среды.
Память
Информация, обрабатываемая в ЭВМ, сохраняется в памяти. Различают оперативную память и долговременную память. Оперативная память — это рабочая область процессора, которая создаётся и используется при работе ПК и освобождается при его выключении. Содержание ее при выключении компьютера не сохраняется.
Долговременная память не стирается при выключении ПК и хранится на специальных внутренних или внешних накопителях — жёстких и гибких дисках (дискетах), лазерных компакт-дисках, флешках.
Оперативная память
Оперативную память можно подразделить на непосредственно оперативное запоминающее устройство (ОЗУ), и кэш-память (Cache memory) — сверхоперативную память, которая устанавливается между процессором и ОЗУ. Предназначена для хранения наиболее часто используемых участков ОЗУ, т.е. это тоже часть оперативной памяти. Так как время доступа к кэш-памяти в несколько раз меньше, чем к обычной, то вначале процессор ищет необходимые данные в кэш-памяти, а потом уже в остальной.
Физически оперативная память выполняется в виде специальных микросхем, которые вставляются в гнёзда расположенные на плате материнской платы.
Долговременная память
К устройствам долговременной памяти относятся жёсткий диск (винчестер), гибкие диски, компакт-диски, флэшь и постоянное запоминающее устройство (ПЗУ). Термин «винчестер» возник из жаргонного названия первой модели жесткого диска емкостью 16 Кбт (IBM, 1973 г.), имевшего 30 дорожек по 30 секторов, что случайно совпало с калибром «30/30» известного охотничьего ружья «Винчестер».
Чаще всего в качестве долговременных накопителей информации используют твёрдые диски HDD (Hard Disk) или гибкие FFD (Floppy). При чтении и записи диск вращается в дисководе относительно своей оси, для чего имеется электродвигатель. Гибкие диски вращаются только при чтении — записи и по завершении этих процессов двигатель отключается. Скорость вращения — 6 об/с. Жесткие диски вращаются постоянно, со скоростью от 60 до 120 об/с. Чем больше обороты диска, тем быстрее считывается информация. В целом скорость работы диска зависит от его контроллера, типа шины, быстродействия процессора.
Следует заметить, что гибкие диски всё больше выходят из употребления (умирают), так как не надежны, и их ёмкость всего 1,44 Мбайта, что для современных пользователей крайне мало. Сегодня все больше используются флэшь-карты, память которых доходит до 10 Гбайт, и продолжает расти.
Накопители на жестком диске предназначены для хранения большого объема информации длительное время, в том числе и программ операционной системы.
Выполняются из алюминиевого диска или нескольких дисков, покрытых ферромагнитным материалом. Диски приводятся во вращение электродвигателями с большой скоростью.
Основные характеристики жесткого диска — ёмкость в Гбайтах и скорость работы диска. Ёмкость современных HDD — до 300 и выше Гигабайт. Скорость работы диска — это скорость доступа к информации.
Для хранения и переноса информации используют также оптические диски (CD-ROM). Их ёмкость порядка 600 Мбайт, и они не боятся магнитных полей, так как выполнены полностью из не магнитных материалов.
Флэш-память
Развитие новых цифровых технологий ознаменовалось появлением флэш-карт — миниатюрных автономных носителей информации, емкость которых сегодня практически равна емкости жестких дисков. Полное название этих устройств — Flash Memory Cards (в просторечии «флэшки»). Технология флэш-памяти появилась около 20 лет назад, и с тех пор интерес к ней с каждым годом неуклонно растет. Флэш-память используется в различных цифровых устройствах: для хранения BIOS в компьютерах, в качестве носителя микропрограмм для микроконтроллеров, а также в принтерах, карманных компьютерах, видеокартах, сотовых телефонах, электронных часах, записных книжках, телевизорах, кондиционерах, микроволновых печах, стиральных машинах и другой аппаратуре. Преимущества флэш-памяти:
• энергонезависимость, то есть флэш-память не требует дополнительной энергии для хранения данных (энергия требуется только для записи);
• перезаписываемость, допускающая изменение (перезапись) хранимых в ней данных;
• полупроводниковая (твердотельная) основа, то есть во флэш-памяти не содержится никаких механических движущихся частей (как в жестких дисках или в компакт-дисках).
В последние годы флэш-карты стали основным типом сменной памяти, используемой в цифровых мультимедийных устройствах, начиная от цифровых фотоаппаратов, где они активно применяются с 1997 года. Причем количество и номенклатура устройств, использующих в качестве сменных носителей флэш-карты, увеличиваются буквально каждый месяц. Поэтому спрос на флэш-карты неуклонно растет, количество компаний-производителей стремительно увеличивается, а цена мегабайта информации, записанного на таком носителе, быстро падает.
Системная магистраль
Связь и обмен информацией между компонентами ПК осуществляется с помощью системной магистрали. Магистраль — это общая линия проводов (шин), к которой подсоединяются все компоненты ПК.
Шины делятся на три вида:
· шина данных — для передачи информации;
· шина адреса — задает адрес в памяти, по которому записываются данные;
· шина управления — передает управляющие импульсы.
Все современные компьютеры строятся по магистрально — модульному принципу (принцип открытой архитектуры): все элементы компьютера являются модулями, т.е. можно дополнять ПК новыми компонентами без замены старых, или заменять старые компоненты новыми, не меняя весь ПК. (upgrade — расширить, обновить). Это позволяет пользователю самому комплектовать нужную конфигурацию ЭВМ и при необходимости ее модернизировать.
Контроллеры (адаптеры)
Все внешние устройства: монитор, принтер, сканер и т. д. обмениваются информацией с процессором и ОЗУ, но эта информация должна соответственно преобразоваться, что и делают адаптеры (контроллеры), которые через шину связываются с процессором и памятью.
Контроллер (адаптер) — устройство, обеспечивающее взаимодействие процессора с каким-либо конкретным устройством. Например, видеоконтроллер обеспечивает взаимодействие процессора с монитором; контроллер дисковода обеспечивает взаимодействие между процессором и дисководом и т. д. Некоторые контролеры могут работать сразу с двумя устройствами.
Контроллеры портов ввода-вывода управляют портами, которые бывают следующих видов:
1) параллельные (обозначают LРТ1 — LРТ4), к ним обычно подключают принтеры;
2) асинхронные последовательные (СОМ1 — СОМ3), к ним обычно подключают мышь, модем и т.д.;
3) игровой порт для джойстика.
Асинхронный обозначает, что при передаче данных не используются никакие синхронизированные сигналы, и интервалы передачи сигналов могут быть любыми. Последовательный — значит, передача данных идет по одному проводнику, и сигналы идут один за другим.
Слоты расширения — многоконтактные разъемы на материнской плате, предназначенные для установки контроллеров и адаптеров дополнительных устройств, подключаемых к компьютеру.
Видеосистема персонального компьютера
Видеосистема — один из наиболее важных компонентов персонального компьютера. Состоит из двух основных частей: монитора и видеоадаптера
Устройство, которое называется видеоадаптером (или видео картой, видеоплатой, видимокартой, видюхой, видео), есть в каждом компьютере. Бывает интегрированным в системную плату, либо в качестве самостоятельного компонента. Главная функция, выполняемая видео картой, — преобразование полученной от центрального процессора информации и команд в формат, который воспринимается электроникой монитора, для создания изображения на экране.
Монитор обычно является неотъемлемой частью любой системы, с помощью которого пользователь получает визуальную информацию. Таким образом, связку видеоадаптер и монитор можно назвать видеосистемой компьютера. То, как эти компоненты справляются со своей работой, и в каком виде пользователь получает видеоинформацию, включая графику, текст, живое видео, влияет на производительность как самого пользователя и его здоровье, так и на производительность всего компьютера в целом.
Созданием изображения на мониторе управляет обычно аналоговый видеосигнал, формируемый видеоадаптером. Этот видеосигнал получается следующим образом. Компьютер формирует цифровые данные об изображении, которые в цифровом виде через шину данных поступают в специализированный процессор видео платы. Там они обрабатываются и сохраняются в видеопамяти, где создается образ изображения, которое должно быть выведено на дисплее. Параллельно с накоплением в видеопамяти полного цифрового «слепка» изображения на экране, данные считываются цифроаналоговым преобразователем (Digital Analog Converter, DAC), где они конвертируются в аналоговый вид, после чего передаются в монитор, на котором выводится требуемое изображение.
Эта операция выполняется DAC несколько десятков раз за одну секунду; данная характеристика называется частотой обновления (или регенерации) экрана. Согласно современным эргономическим стандартам, частота обновления экрана должна составлять не менее 85 Гц, в противном случае человеческий глаз замечает мерцание, что отрицательно влияет на зрение. Все это можно представить в виде следующей блок-схемы.
Поскольку DAC обычно (хотя и не всегда) включает собственную память произвольного доступа (random Access Memory, RAM) для хранения палитры цветов в 8-разрядных режимах, его еще называют RAM DAC.
Таким образом, связку видеоадаптер и монитор можно назвать видеосистемой компьютера. То, как эти компоненты справляются со своей работой, и в каком виде пользователь получает видеоинформацию, включая графику, текст, живое видео, влияет на производительность как самого пользователя и его здоровье, так и на производительность всего компьютера в целом.
Оптимизируя эти операции, можно добиться повышения производительности всей видеоподсистемы.
Скорость обмен данными между CPU и графическим процессором напрямую зависит от частоты, на которой работает шина, через которую передаются данные. Рабочая частота шины зависит от чипсета материнской платы. Для видеоадаптеров оптимальными по скорости являются шина PCI и AGP. При существующих версиях чипсетов шина PCI может иметь рабочие частоты от 25Мhz до 66МHz, ино гда до 83 (обычно ЗЗ МHz), а шина AGP работает на частотах 66 МHz и 133 МHz.
Чем выше рабочая частота шины, тем быстрее данные от центрального процессора системы дойдут до графического процессора видеоадаптера.
Внешние устройства компьютера
К внешним устройствам относят: клавиатуру, монитор, принтер, устройства мультимедиа, сканер, плоттер, модем.
Клавиатура — предназначена для ввода в ПК информации от пользователя. В основном применяется 101 клавишная клавиатура (в портативных — 86 клавиш). Каждая клавиша представляет собой переключатель емкостного типа.
Мониторы
Монитор ПК предназначен для вывода как текстовой, так и графической информации на экран. Различают мониторы на базе электронно-лучевой трубки (ЭЛТ) и жидких кристаллах. Электронно-лучевые имеют точно такое же устройство, как у телевизора.
Основные характеристики монитора
1) Размер по диагонали в дюймах от 14 до 21.
2) Зернистость — размер зерна. Низкого качества 0,31 — 0,39, среднего качества 0,28, качественного 0,25—0,26.
3) Разрешение — число точек по горизонтали и вертикали, например, 640х480.
4) Частота развертки монитора отображает принятый видеосигнал построчно, выводя ряд за рядом.
Частота перехода с одной строчки на другую называется частотой горизонтальной развертки или частотой строк.
Частота перехода с низа экрана наверх называется частотой вертикальной развертки или частотой кадров. Если частота кадров мала, то экран мерцает, и глаза человека устают. Поэтому частота кадров должна быть не мене 75 — 80 Гц.
При выборе монитора надо учитывать его размер. Если число точек монитора каждого цвета меньше числа точек изображения, которое программа пытается вывести на экран, то изображение будет нечетким. В табл. 1 приведены соотношения размера и разрешения.
Таблица 1
Однако в последнее время электронно-лучевые мониторы все больше заменяются на жидкокристаллические, поскольку они не дают излучений, более компактны, не нагреваются, но пока несколько дороже.
Манипуляторы для управления курсором (мыши)
Мышью называется манипулятор для управления курсором на дисплее. Она работает после установки специальной программы — драйвера, которая загружаться в операционную память и сидит в ней резидентно.
Манипуляторы разделяются на оптомеханические и оптические.
Оптомеханические — перемещение мыши по коврику вращает резиновый шарик, который, в свою очередь, шарик вращает два валика, установленные перпендикулярно один другому. Каждый валик перемещает курсор по своей оси — вертикально или горизонтально. Вращение отслеживается оптическими датчиками. Недостаток — налипание грязи на валики в местах касания валика с шариком, что требует периодической (раз в неделю) чистки. Сейчас эти манипуляторы заменяются оптическими. Оптические мыши вообще не имеют шарика. Существуют варианты беспроводных мышей, с аккумулятором или батарейкой, где сигнал к интерфейсному блоку передается с помощью радиосигналов или через инфракрасное излучение. Но эти мыши очень дорогие.
Число кнопок на мыши зависит от их модернизации. Обычно имеют по 2—3 кнопки. В специальном положении их может быть гораздо больше.
На некоторых типах компьютеров, особенно на переносных, вместо мыши применяются сенсорные панели.
Настройка мыши осуществляется по специальной панели «Свойства мыши», которая позволяет настроить её как для правой руки, так и для левой. Кроме того, настраиваются и параметры курсора — его мерцание, скорость движения и т. д.
Принтеры
Принтеры предназначены для вывода алфавитно-цифровой и графической информации на бумагу. По принципу действия различают матричные принтеры, струйные и лазерные.
Матричные принтеры — это устройства ударного действия, принцип работы которых подобен известной печатной машинке. Недостаток — низкое качество печати и особенно шум при работе, невозможность цветной печати. Сегодня эти принтеры почти уже не применяются. Этот принцип печати применяется в портативных кассовых аппаратах.
Струйные принтеры используют управляемую струю распыленной краски. При струйной печати печатающая головка выбрасывает через тонкие сопла краску на бумагу.
Оптимально необходимо использовать струйный принтер, если печатать 1000—5000 страниц в год. При меньших объемах печати можно, в один прекрасный момент, обнаружить, что головки засохли, и требуется их замена. Для одних марок это не является трагедией, для других вылезает в половину цены принтера. При больших объемах печати, подумайте, не стоит ли приобрести лазерный или светодиодный принтер, ведь затраты на расходные материалы будут чрезмерно большими.
Наиболее распространены струйники четырех марок:
· Epson Stylus,
· Canon Bubble Jet,
· Hewlett Packard Desk Jet,
· Lexmark Color Jet.
Принтеры Epson Stylus отличаются как технологией печати, так и системой команд. Все Stylus-ы используют пьезоэлектрическую технологию печати, что позволяет получить значительно более высокое качество печати при сравнимых разрешениях. Поскольку картриджем у них является лишь полиэтиленовая банка с чернилами, то фирменные расходные материалы значительно дешевле.
Крайне не рекомендуется для эпсоновской головки длительное (более 1 минуты) снятие картриджа — засыхают чернила в подающих каналах. НЕ ПЫТАЙТЕСЬ самостоятельно ПРОМЫВАТЬ ГОЛОВКИ принтеров EPSON СПИРТОМ!!! Спирт разрушает покрытие сопел, и они начинают засоряться все чаще и чаще.
Принтеры Canon и HP, имеют термоструйные головки, заменяемые вместе с картриджем, либо имеющие сменные чернильницы. Это делает их более привлекательными с точки зрения заправки.
Canon, пожалуй, является наиболее удобной системой для домашнего пользования. Чернила удерживаются в картридже с помощью поролона, что не выдвигает особых требований к герметичности картриджа. Очень компактны, что для дома немаловажно. Кстати, цветные чернила у них расходуются очень экономно.
К недостаткам, Canon, относятся малый объем черных картриджей По инструкции, минимальная плотность бумаги — 65 г/м2.
Принтеры HP Desk Jet отличаются, пожалуй, самой большой скоростью печати. Они зарекомендовали себя как очень надежные и простые в эксплуатации устройства. По инструкции, допустимая плотность применяемой бумаги — 80—120 г/м2, т.е. требования к бумаге выше, чем у моделей Epson.
Преимущества этих принтеров — высокое качество печати, работают практически бесшумно, для цветной печати надо лишь заменить картридж и любой цвет можно получить. Недостаток — дорогие расходные материалы (чернила), чернила расплываются от воды — распечатанное объявление может висеть на улице только до первого дождя.
Лазерные принтеры. Принцип работы лазерных принтеров следующий. Лазерный луч сканирует по поверхности селенового барабана, который электростатически заряжается в точках, освещаемых лазерным лучом. Заряженная поверхность притягивает угольный порошок, который наносится на бумагу, когда барабан вращается. Затем бумага нагревается так, что клеящее вещество (адгезив), прикреплённое к частицам угольного порошка, плавится, и фиксирует их на поверхности бумаги, создавая, таким образом, чёткое изображение.
Преимущества этих принтеров — высокое качество печати, работают практически бесшумно. Недостаток — дорогие расходные материалы.
Лазерные принтеры самые дорогие, особенно для цветной печати.
Графопостроители или плоттеры
Устройства для вывода графической информации, чертежей на бумагу называются графопостроителями или плоттерами (от англ. plotter — термин, который, как и многие другие транслитерированные англоязычные термины, уже вытеснил свой русскоязычный аналог).
По конструкции различают плоттеры планшетного типа, работающие с листами бумаги, в которых бумага неподвижна, а перо перемещается по всей плоскости изображения, и барабанного типа, которые работают с рулоном бумаги. В последних перо перемещается вдоль одной оси координат, а бумага — вдоль другой за счет захвата транспортным валом, обычно фрикционным. Хотя точность вывода информации барабанными плоттерами несколько ниже, чем планшетными, но удовлетворяет требованиям большинства задач. Эти плоттеры боле компактны и могут отрезать от рулона лист необходимого размера автоматически, что определило их доминирование на рынке больших ПГ (ПП формата A3 обычно планшетные).
По принципу действия разделяются на перьевые плоттеры, струйные, электростатические, плоттеры прямого вывода изображения, плоттеры на основе термопередачи, лазерные плоттеры.
Сканеры
Сканерами называются устройства для считывания текстовой и графической информации в ПК. С их помощью можно вводить в ПК фотографии, рисунки, графики. Они являются важнейшим звеном системы электронной обработки информации.
Принцип действия сканера следующий: световой поток, создающийся лампой холодного свечения, отражается от оригинала и считывается датчиком; затем считанная и оцифрованная информация посылается в компьютер.
Основные характеристики сканеров определяются разрешением, с которым возможна оцифровка оригинала и глубиной воспринимаемого цвета. Стандартным разрешением для офисного сканера можно считать 300—600 точек на дюйм. Это так называемое оптическое разрешение, т.е. разрешение которое способен дать датчик сканера. Глубина цвета определяется битностью информации о цвете одной точки. Если в характеристике сканера сказано, что глубина его цветопередачи 32 бит, это означает следующее: в одной точке хранится информация о 16,7 млн. цветов. Оптическое разрешение определяется датчиком сканера и числом отдельных элементов в нем. Например, у сканера обладающего разрешением 600х1200 точек на дюйм, датчик имеет 600 элементов на дюйм. Но датчик в каждый момент времени считывает только одну линию точек. Вторая цифра в обозначении — это механическое разрешение сканера, число шагов, совершаемое шаговым двигателем при перемещении датчика вдоль планшета. Так данный сканер обладает оптическим разрешением 600 точек на дюйм и механическим 1200.
Различают черно-белые и цветные сканеры. Цветные работают с черно-белыми и цветными оригиналами. Число передаваемых цветов — до 16 млн. Разрешающая способность сканеров — от 75 до 1600 dpi (dot per inch).
Конструктивно сканеры различают на ручные и настольные.
1) Ручные сканеры. Они самые простые, вручную перемещаются по изображению. Захват у них небольшой, примерно 105 мм. Скорость сканирования равна 5—50 мм/с. Обычно у них имеется индикатор допустимой скорости сканирования — красная лампа. При сканировании изображение выводится на экран монитора и записывается в файл. Современные ручные сканеры могут обеспечивать автоматическую «склейку» вводимого изображения, то есть формируют целое изображение из отдельно вводимых его частей. Поставляемое вместе с устройством программное обеспечение позволяет вводить картинки, ширина которых больше, чем область захвата сканирующей головки. Для этого придется сделать несколько проходов, а затем склеить в одно целое части изображения, полученные таким образом.
Их достоинства — низкая цена и возможность сканирования мелких рельефов поверхностей, например, ладони. Они компактны и могут с успехом применяться для ввода информации в портативные компьютеры. С ними можно работать в библиотеке, архиве или любом другом месте.
2) Настольные сканеры различают на планшетные, роликовые и проекционные.
а) Планшетные самые распространенные. В них сканирующая головка автоматически перемещается относительно оригинала. Они позволяют сканировать листовые и сброшюрованные документы (книги). Скорость сканирования 2—10 с на лист формата А4. Для снятия электронной копии документа лист кладется на координатный столик, закрывается сверху крышкой и сканируется.
б) Роликовые (барабанные) сканеры наиболее автоматизированные; в них оригинал перемещается относительно сканирующей головки. Скорость 10 с на лист. Рассматриваемые сканеры достаточно широко используются в областях, связанных с оптическим распознаванием символов ОСR (Optiсаl Character Recognition). Для удобства работы рулонные сканеры обычно оснащаются устройствами для автоматической подачи листов.
в) Проекционные сканеры. Внешне они похожи на фотоувеличители: внизу лежит сканирующий документ, а вверху находится сканирующая головка. Сканер оптическим образом сканирует документ и вводит полученную информацию в ПК.
Драйверы сканеров. Все сканеры имеют собственные программы управления ими — драйверы, которые прилагаются на дискетах к сканеру и устанавливаются в долговременную память ПК (на винчестер).
Для работы со сканерами применяются специальные программы. Это программы графической либо текстовой обработки изображений, полученных сканером. Некоторые такие программы являются также ещё и графическими редакторами, с помощью которых можно работать с любыми доступными изображениями (форматов JPEG — JPG, BMP и др.).
В последнее время сканеры используются совместно с программами систем распознавания образов. Это необходимо порой при некачественном тексте оригинала. При сканировании (с этой программы) даже плохо проступающие буквы будут распознаны компьютером и четко выведены на экран или в последствии на печать при размножении.
В отношении стоимости сканеры различаются примерно на три ценовых уровня — до 100 долларов, от 100 до 200, и от 200 и выше.
Первые предназначены для домашнего пользования или для небольших офисов, вторые для более крупных офисов и предприятий, третьи для более точных и длительных работ.
Модемы
Модем — устройство для обмена информацией с другими компьютерами через телефонную сеть.
Когда компьютер используется для обмена информацией по телефонной сети, необходимо устройство, которое может принять сигнал из телефонной сети и преобразовать его в цифровую информацию. На выходе этого устройства информация подвергается МОдуляции, а на входе ДЕМодуляции, отсюда и название МОДЕМ.
Назначение модема заключается в замене сигнала, поступающего из компьютера (сочетание нулей и единиц), электрическим сигналом с частотой, соответствующей рабочему диапазону телефонной линии. Акустический канал этой линии модем разделяет на полосы низкой и высокой частоты. Полоса низкой частоты применяется для передачи данных, а полоса высокой частоты — для приема. Используется много способов кодировки информации, наиболее известными из которых являются метод FSK (Frequency Shift Keying) для скорости передачи до 300 бод (бод — единица скорости передачи информации, равная 1 бит/с) и метод PSK (Phase Shift Keying) для более быстрых модемов, скоростью передачи до 2400 бод.
FSK использует четыpе выделенные частоты. При передаче информации сигнал частотой 1070 Гц интерпретируется как логический нуль, а сигнал частотой 1270 Гц — как логическая единица. При приеме нуль соответствует сигналу 2025 Гц, а единица — 2225 Гц.
PSK использует две частоты: для пеpедачи данных — 2400 Гц, для приема — 1200 Гц. Данные передаются по два бита, при этом кодировка осуществляется посредством сдвига фазы сигнала. Используются следующие сдвиги фазы для кодировки: 0 градусов для сочетания битов 00, 90 гpадусов для 01, 180 гpадусов для 10, 270 градусов для 11. Существуют также и другие виды модуляции (DPSK, QAM, TCM).
Модем выполняется либо в виде внешнего устройства, которое одним выходом подсоединяется к телефонной линии, а другим к стандартному COM-поpту компьютера, либо в виде обыкновенной печатной платы, которая устанавливается на общую шину компьютера. Поэтому по конструкции различают внутренние модемы — в виде электронной платы, подключённой к системной шине ПК, и внешние — в виде отдельного устройства, подключаемого через отдельный порт ПК или через специальную плату.
Внутренние модемы дешевле, так как не нуждаются в отдельном блоке питания и не занимают разъёма портов. Преимущества их — при использовании внутреннего модема уменьшается количество проводов, натянутых извне ПК, не занимает место на рабочем столе. Внутренние модемы являются последовательным портом компьютера и не занимают существующих портов компьютера, а также всегда дешевле внешних.
Их недостаток — отсутствие световых индикаторов работы и при их зависании надо перезагружать ПК. Занимают слот расширения на материнской плате компьютера. Это очень неудобно на мультимедийных машинах, на которых установлено большое количество дополнительных плат, а также на компьютерах, которые работают серверами в сетях. Дополнительно высока вероятность сгорания компьютера от повышенного напряжения, попадающего на провода телефонной сети.
Внешние модемы бывают:
а) настольные — с небольшую книжку;
б) портативные — уменьшенного размера и с возможностью работы от батареек;
в) вмонтированные в стойки — профессиональные модемы, применяемые на коммуникационных серверах.
Их достоинства в том, что они не занимают слот расширения, и при необходимости их можно легко отключить и перенести на другой компьютер. На передней панели есть индикаторы, которые помогают понять, какую операцию сейчас производит модем. При зависании модема не нужно перезагружать компьютер, достаточно выключить и включить питание модема.
Недостатки — внешний модем занимает место на рабочем столе и ему требуются дополнительные провода для подключения, что неудобно. Он занимает последовательный порт компьютера. Внешний модем всегда дороже аналогичного внутреннего, так как включает корпус с индикаторными лампочками и блок питания.
Все модемы характеризуются максимальной скоростью обмена данных. Наиболее распространены с 14400 бит\с, 28800 и 33600 бит\с. 14400 бит\с считаются устаревшими, но на некоторых российских линиях большей скорости добиться трудно.
При соединении двух модемов скорость обмена принимается меньше, т.е. при 28800 бит\с и 14400 бит\с установится соединение 14400 бит\с.
Сертификат министерства связи РФ к качеству работы модема не имеет отношения и лишь свидетельствует, что устройство не портит оборудование АТС.
Имеются такие модемы (Voice Modem), которые дают возможность общения голосом через динамики или трубку. Современное программное обеспечение, которым снабжаются модемы, позволяет сочетать в себе функции автоответчика, определителя номера и факса, так как принятое сообщение можно послать на принтер и распечатать, как обычный текст или рисунок.
Средства мультимедиа
Средства мультимедиа (Multimedia — многосредовость) — это комплекс аппаратных и программных средств, позволяющих человеку общаться с ПК через звук, речь и видеоустройства.
Наибольшие проблемы в системах мультимедиа возникают с видеоизображением — просмотром и записью видеофильмов, монтажом их, изготовлением компьютерных видеоклипов, поскольку оцифровка аналоговых сигналов видеокартами порождает огромные массивы данных. При создании видеофильма, запись последовательности кадров в цифровом виде требует больших объемов внешней памяти. Например, при частоте кадров 25 в секунду для запоминания одной секунды полноцветного полноэкранного видео требуется 20 — 30 Мбайт, и оптический диск емкостью 600 Мбайт вместит менее полминуты изображения. Но последовательность кадров недостаточно только запомнить, ее надо еще вывести на экран в соответствующем темпе. Подобной скоростью передачи информации — около 30 Мбайт / с — не обладает ни одно из существующих внешних запоминающих устройств.
Эти проблемы — памяти и пропускной способности — решаются с помощью методов сжатия — развертки данных, которые позволяют сжимать информацию перед записью на внешнее устройство, а затем считывать и разворачивать в реальном режиме времени при выводе на экран. Так для движущихся видео-изображений существующие адаптивные разностные алгоритмы могут сжимать данные с коэффициентом порядка 100:1— 160:1. что позволяет разместить на CD-ROM около часа полноценного озвученного видео. Работа этих алгоритмов основана на том. что обычно последующий кадр отличается от предыдущего лишь некоторыми деталями, поэтому, взяв какой то кадр за базовый, для следующих можно хранить только относительные изменения. При значительных изменениях кадра, например, при монтажной склейке, наезде или панорамировании камеры, автоматически выбирается новый базовый кадр. Для статических изображений коэффициент сжатия, естественно, ниже — порядка 20—30:1.
Аудиоустройства компьютера
Сегодня компьютер все больше и больше применяется для прослушивания музыки, видеофильмов со звуковым сопровождением и даже в качестве инструмента студии звукозаписи. Для этого в компьютер оснащается специальными устройствами — звуковыми колонками, микрофонами и звуковой картой. Чем качественнее необходимо звучание, чем требовательнее слушатель, тем сложнее и дороже эти устройства. Поскольку цена этих устройств может колебаться в достаточно значительных пределах, то для правильного их выбора необходимо лучше понимать их устройство, принцип действия.
Рассмотрим подробнее, каким образом компьютер работает со звуком. Наибольшая трудность здесь заключается в том, что процессор компьютера работает в дискретном цифровом режиме, понимая только 1 и 0. Звук же в воспроизводящих динамиках получается за счет аналогового (непрерывного) сигнала. Поэтому для записи звука на устройства хранения информации компьютера звуковой сигнал аналогового типа компьютеру необходимо преобразовать в цифровой вид, а для воспроизведения — цифровую запись его преобразовать в аналоговый вид. Для этого в системный блок компьютера устанавливается звуковая карта или аудио адаптер (Sound Blaster), которая и выполняет это преобразование, подобно тому, как это делается в видеокарте, рассмотренной ранее.
Цифровые выборки реального звукового сигнала хранятся в памяти компьютера (например, в виде WAV-файлов). Считанный с диска цифровой сигнал дается на цифро-аналоговый преобразователь (ЦАП), который преобразует цифровые сигналы в аналоговые. После фильтрации их можно усилить и подать на акустические колонки для воспроизведения. Важными параметрами аудио адаптера являются частота квантования звуковых сигналов и разрядность квантования.
Частоты квантования показывают, сколько раз в секунду берутся выборки сигнала для преобразования в цифровой код. Обычно они лежат в пределах от 4—5 кГц до 45—48 Кгц.
Разрядность квантования характеризует число ступеней квантования и изменяется степенью числа 2. Так, 8-разрядные аудио адаптеры имеют 28=256 степеней, что явно недостаточно для высококачественного кодирования звуковых сигналов. Поэтому сейчас применяются в основном 16-разрядные аудио адаптеры, имеющие 2 16 = 65536 ступеней квантования, как у звукового компакт-диска.
Другой способ воспроизведения звука заключается в его синтезе (создании). При поступлении на синтезатор некоторой управляющей информации по ней формируется соответствующий выходной сигнал.
Современные аудио адаптеры синтезируют музыкальные звуки двумя способами: методом частотной модуляции FM (Frequency Modulation) и с помощью волнового синтеза (выбирая звуки из таблицы звуков, Wave Table). Второй способ обеспечивает более натуральное звучание.
Частотный синтез (FM) появился в 1974 году (PC-Speaker). Суть технологии WT-синтеза состоит в следующем. На самой звуковой карте устанавливается модуль ПЗУ с «зашитыми» в него образцами звучания настоящих музыкальных инструментов — сэмплами, a WT — процессор с помощью специальных алгоритмов даже по одному тону инструмента воспроизводит все его остальные звуки. Кроме того, многие производители оснащают свои звуковые карты модуляторами ОЗУ, так что есть возможность не только записывать произвольные сэмплы, но и подгружать новые инструменты.
Для электронных синтезаторов обычно указывается число одновременно участвующих инструментов и их общее число (от 20 до 32). Также важна и программная совместимость аудио адаптера с типовыми звуковыми платформами (SoundBlaster, oland, AdLib, Microsoft Sound System, Gravies Ultrasound и др.).
В состав узлов мощных аудио адаптеров входит не мало всяких устройств, позволяющих расширить возможности работы со звуком. Они могут содержать два микрофонных малошумящих усилителя с автоматической регулировкой усиления для сигналов, вступающих от микрофона, два линейных усилителя для сигналов, поступающих с линии, с проигрывателя звуковых дисков или музыкального синтезатора. Кроме того, входят программно управляемый электронный микшер, обеспечивающий смешение сигналов от различных источников и регулировку их уровня и стерео баланса, многоголосый синтезатор музыкальных звуков частотной мдуляции FM, программно управляемый волновой (табличный) синтезатор музыкальных звуков и звуковых эффектов, например, 16 каналов, 32 голоса, 128 инструментов, систему сжатия цифровой информации с возможностью применения расширенного звукового процессора ASP, адаптивный электронный фильтр на выходе, снижающий помехи от квантования сигнала, усилитель мощности на каналы с ручным и программно-управляемым регулятором громкости и MlDI-разъем для подключения музыкальных инструментов.
Как видно из этого перечня, аудио адаптер — достаточно сложное техническое устройство, построенное на основе использования последних достижений в аналоговой и цифровой аудиотехнике.
Портативные компьютеры
Ещё не так давно такой компьютер признавался скорее предметом роскоши, чем полнофункциональным персональным компьютером. Но за последние годы ситуация сильно изменилась. Современные портативные компьютеры превратились в высокопроизводительные и надёжные устройства с большим ресурсом автономной работы.
Специфическая особенность компьютеров этого типа — они должны быть мобильными, иметь небольшие габариты и вес, а также возможность автономной работы без подключения к сети питания.
В настоящее время на рынке существуют портативные компьютеры четырех основных категорий: laptop (лэптоп), notebook (ноутбук), subnotebook (субноутбук), Palmtop (палмтоп или наладонники, «карманные» компьютеры с перьевым вводом).
Определения основаны, главным образом, на размере и весе; эти характеристики имеют прямое отношение к возможностям системы, поскольку, чем больше корпус, тем больше компонентов в него можно поместить.
Лэптоп (Laptop)
Сейчас лэптопами называют самые большие портативные системы. Типичный лэптоп весит более 3 кг и имеет размер 9x12x2 дюймов (около 23x30x5 см).
Многие лэптопы представляются производителями или как замена настольных систем, или как переносные мультимедиа-системы для презентаций («дорожные» модели). Большие активно-матричные дисплеи с объемом оперативной памяти от 512 Мбайт, жесткие диски емкостью от 60 Гбайт и более, накопители CD-ROM и DVD, встроенные акустические системы, средства коммуникации и порты для подключения внешнего дисплея, накопителей и звуковых систем — вот те компоненты, которые содержат многие современные системы.
Большинство лэптопов поставляется со стыковочным оборудованием, позволяющим применять их в качестве «домашней базы» — подключаться к компьютерной сети и использовать полноразмерные монитор и клавиатуру.
Ноутбук (Notebook)
По всем параметрам меньше, чем лэптоп. Ноутбук весит 2—3 кг, имеет меньший, чем у лэптопов, дисплей с меньшим разрешением и более ограниченными мультимедиа-возможностями. Но жесткие диски и память многих из них отнюдь не меньше, чем у лэптопов, а некоторые даже содержат накопители CD-ROM и звуковые адаптеры.
Для ноутбуков существует большой выбор дополнительных устройств и аппаратных конфигураций, поскольку они предназначены для широкого круга пользователей — от профессионалов до торговых агентов, использующих самый минимум функций.
Субноутбук (Subnotebook)
Субноутбук значительно меньше обоих своих собратьев. Он прекрасно подойдет путешественнику, которому не нужны расширенные возможности больших и слишком тяжелых машин, но необходимы функциональность настольного компьютера в пути и возможности подключения к офисной сети.
В конструкции субноутбуков обычно отсутствует внутренний дисковод для гибких дисков, но иногда есть разъем для подключения внешнего дисковода. Накопителя CD-ROM и других громоздких компонентов в нем также нет, а вот большой высококачественный дисплей, солидное дисковое пространство и полноразмерная (по стандартам портативных ПК) клавиатура для этих машин не редкость. Некоторые модели субноутбуков (например, IBV ThinkPad 570) оснащены специальным модулем, с помощью которого можно подключить «недостающее оборудование», например накопитель CD-ROM или DVD.
Палмтоп (Palmtop) или наладонники.
Иногда их называют «карманные» компьютеры с перьевым вводом. Эта категория систем на рынке появилась сравнительно недавно. Свое название эти компьютеры получили вследствие своих размеров — они могут поместиться на ладони. Палмтоп — это полнофункциональный компьютер с операционной системой как у настольных моделей. Клавиатура палмтопа чаще всего представляет собой основной набор клавиш, причем меньшего размера. Поэтому такие компьютеры наилучшим образом подходят для отправки электронной почты или факсов в пути и решения других небольших задач. Иногда ввод данных производится с помощью небольшой магнитной палочки, которой указывают нужную кнопку на виртуальной клавиатуре, показанной на дисплее — так называемые перьевые компьютеры.
Естественно, палмтоп уступает в производительности остальным типам портативных компьютеров, но имеет одно преимущество — на нем можно установить операционную систему Windows и все необходимые приложения, а время его работы от батарей значительно дольше, чем у остальных типов, вследствие низкого потребления мощности.
Оборудование для портативных компьютеров
С технической точки зрения компоненты, используемые в портативных системах, отличаются от настольных ПК.
Самым дорогим узлом ноутбука по-прежнему остаётся дисплей. В настоящее время практически все дисплеи ноутбуков выполняются на основе жидкокристаллических панелей.
Жидкокристаллические дисплеи выпускаются со следующими разрешениями:
• VGA 640x480;
• SVGA 800x600;
• XGA 1024x768;
Разрешение жидкокристаллического экрана определяется не только драйверами и объемом видеопамяти, но и конструкцией самого дисплея.
В некоторых портативных системах при физическом разрешении экрана 640x480 пикселей организуется так называемый виртуальный экран с разрешением 800x600. Хитрость заключается в том, что на экране видна только часть изображения, а все оно хранится в видеопамяти. Чтобы увидеть то, что осталось «за кадром», нужно подвести курсор к границе экрана, при этом изображение 800x600 как бы прокручивается в окне 640x480. Некоторые производители представляют свои дисплеи как 800x600, скромно умалчивая о том, что имеется в виду на самом деле.
Процессоры. В большинстве современных компьютеров используются процессоры фирмы Intel, и портативные компьютеры здесь не исключение.
Практически все новые портативные компьютеры содержат один из процессоров семейства Pentium — Pentium, Pentium ММХ или Pentium Il/IIl/Celeron. Мобильной версии процессора Pentium Pro не существует. Эти процессоры не отличаются свойствами и архитектурой от своих «полноразмерных» собратьев, но выполнены в другом корпусе и работают на пониженном напряжении питания
Основная идея, заложенная в мобильные процессоры, заключается в следующем: максимально возможное уменьшение размеров, позволяющее использовать их на пониженном напряжении питания.
Мобильный Pentium II
2 апреля 1998 года Intel анонсировала первый мобильный процессор Pentium II. Рабочее напряжение этих процессоров 1,7 и 1,8 В, что еще ниже, чем у их собратьев, мобильных процессоров Pentium ММХ.
Мобильный Celeron
Выпустив недорогую версию настольного процессора Celeron, фирма Intel сразу же выпустила мобильную версию этого процессора с пониженным напряжением питания в корпусе мини-картридж.
Мобильные процессоры семейства AMD Кб
Семейство процессоров AMD Кб завоевало популярность среди производителей компьютерных систем класса «ниже $1000». Осенью 1998 года фирма AMD выпустила мобильную серию процессоров для разъема Socket 7. Все мобильные процессоры серии AMD Кб имеют практически одинаковые характеристики, пониженное энергопотребление.
Корпуса. Корпус портативных компьютеров выполняется пластмассовым или металлическим. В лучших машинах используется не пластмассовый, а литой металлический корпус. Это позволяет решить сразу несколько проблем.
Во-первых, такой корпус в сочетании со специальными методами крепления внутренних компонентов обеспечивает очень высокую механическую прочность ноутбука.
Во-вторых, приклеивая процессор непосредственно к корпусу, удаётся оригинально и очень эффективно решить проблему его охлаждения. Даже при самых неблагоприятных условиях перегрев внутри компьютера не превышает десяти градусов.
В-третьих, прикрепляя литые детали корпуса друг к другу на «силиконовых» уплотнителях, удаётся обеспечить высокую степень защиты от неблагоприятных внешних воздействиях. То есть ноутбук спокойно продолжает работать в облаках пыли и под сильным дождём. Кроме того допускается работа ноутбука в условиях морского тумана в течении 48 часов.
В-четвёртых, применение цельнометаллического литого корпуса позволяет решать проблемы защиты от радиационных, электромагнитных и электростатических воздействий. Это сводит к минимуму собственные электромагнитные излучения ноутбука.
Питание ноутбуков. В качестве автономного питания в ноутбуках используются аккумуляторные батареи, имеющие весьма ограниченную энергетическую ёмкость: обычно время непрерывной работы без подзарядки батарей составляет от полутора до четырёх часов.
Существует четыре основных типа аккумуляторных батарей.
• Никель-кадмиевые (NiCd). Эти батареи сейчас применяются редко, поскольку их жизнь коротка, да к тому же они очень чувствительны к неправильным условиям зарядки и разрядки. Пока батарея не используется, она очень долго сохраняет заряд, но если ее не полностью разрядить перед перезарядкой или зарядить слишком сильно, время ее жизни может существенно сократиться. Если после зарядки никель-кадмиевую батарею не использовать в портативном компьютере, а просто положить, то она теряет 10% заряда в первые 24 часа и затем приблизительно 10% в месяц. Эта батарея может выдержать более 1 500 циклов заряда/разряда.
• Никель-металлогидридные (NiMeH). Эти батареи более дорогие, чем никель-кадмиевые, но и время их жизни процентов на 30 больше, к тому же они менее чувствительны к условиям зарядки и разрядки. Но в отличие от никель-кадмиевых, они не могут так долго хранить заряд, находясь в неработающем состоянии, и не выдерживают такого большого количества перезарядок (около 500).
• На ионах лития. Эти батареи сейчас являются индустриальным стандартом. Время их жизни более продолжительное, чем у двух предыдущих, их нельзя зарядить слишком сильно, и они прекрасно удерживают заряд в состоянии «покоя». Батареи на ионах лития обеспечивают достаточную мощность для работы самых современных и очень нагруженных систем. Но, в отличие от батарей NiMeH и NiCd, их можно использовать только в тех системах, которые специально разработаны для них. Нельзя помещать батарею на ионах лития в систему, рассчитанную на NiMeH и NiCd! Это пожароопасно. Эти батареи выдерживают более 1 000 циклов заряда/разряда. Батареи на ионах лития наиболее дорогие из трех, поэтому обычно их используют в самых мощных системах.
Чтобы батареи дольше сохраняли заряд, лучше всего хранить их при низкой температуре.
Время автономной работы системы зависит от нескольких факторов: от установленных в системе аппаратных компонентов, эффективного управления энергопотреблением со стороны системного программного обеспечения и от емкости самой батареи.
Управление энергопотреблением. Управление энергопотреблением может быть организовано с помощью программного обеспечения.
В компьютере есть компоненты, которым вовсе не обязательно работать все время. Их можно просто отключить, сохранив при этом драгоценную энергию. Например, заметив, что накопитель в течение определенного времени неактивен, система управления энергопотреблением паркует головки и останавливает вращение диска до тех пор, пока пользователь не даст команду сохранить файл или не произойдет любое другое обращение к диску. Питание других компонентов, таких как накопитель CD-ROM или устройства PC Care тоже можно совершенно безболезненно отключать, так что, пока они не используются, можно существенно сэкономить энергию.
В большинстве портативных компьютеров предусмотрен еще один прекрасный способ экономии энергии — это системные режимы, в которых при отсутствии активности пользователя работа всей системы вообще прекращается. Эти режимы называются по-разному, но фактически их два: в одном оперативная память отключается, а в другом — нет. Режим временной остановки, называемый приостановка (suspend), означает, что после определенного времени отсутствия пользовательской активности вся система, за исключением памяти, полностью отключается.
Обычно в портативных компьютерах существует и второй режим, называемый hibernate; при переходе в него содержимое оперативной памяти записывается в специальный файл и вся система вместе с памятью отключается, содержимое памяти стирается. Когда компьютер «просыпается», содержимое файла считывается обратно в память и работа продолжается, как ни в чем не бывало. Разве что пробуждение длится несколько дольше, но зато и энергии экономится больше, поскольку не нужно подпитывать микросхемы памяти.
В большинстве случаев все эти функции определяются стандартом АРМ (Advanced Power Management — расширенное управление питанием), Этот документ разработан совместно фирмами Intel и Microsoft; он определяет интерфейс между драйвером операционной системы, отвечающим за управление энергопотреблением, и аппаратно-зависимым программным обеспечением, непосредственно управляющим соответствующими функциями конкретных устройств. Этот интерфейс обычно встроен в системную BIOS.
Поскольку технологии управления энергопотреблением все время совершенствуются, BIOS нелегко поддерживать все эти изменения. Поэтому появился новый стандарт, в разработке которого, кроме Intel и Microsoft, приняла участие фирма Toshiba. Это стандарт ACPI (Advanced Configuration and Power Interface — усовершенствованная конфигурация и интерфейс управления питанием), по которому функции управления энергопотреблением встраиваются прямо в операционную систему. При установке операционной системы Windows 98 активизируются функции ACPI из BIOS. Вследствие этого рекомендуется обновить BIOS перед установкой этой операционной системы.
То, что эти функции выполняет операционная система, дает прикладным программам огромные преимущества. Теперь они могут сообщать системе, какая их деятельность требует немедленной активизации ресурсов или их постоянной готовности, а система может сама распределить ресурсы (например, решить, нужно ли записать данные на диск немедленно или можно отложить это до следующего раза, когда диск понадобится для другого процесса).
Современные операционные системы требуют корректного завершения сеанса работы — в противном случае возможны повреждения файловой структуры. При исчерпании запаса энергии в аккумуляторах ноутбуков происходит их аварийное выключение, что можно уподобить неожиданному отключению настольного компьютера от сети. Чтобы сделать это отключение не столь неожиданным, во всех компьютерах типа notebook предусмотрены средства своевременного предупреждения об иссякании запасов энергии в батареях. Как правило, это повторяющийся звуковой сигнал, иногда сопровождаемый миганием светодиодов. В ряде компьютеров применяются более радикальные меры для защиты данных пользователя: по достижении определённого уровня разрядки батарей автоматически выполняется принудительное отключение компьютера с предварительным сбросом ого состояния на жёсткий диск Когда пользователь вновь зарядит батареи или возобновит работу уже от внешнего источника питания, компьютер в точности восстановит своё состояние на момент отключения.
Манипуляторы. Чаще всего сейчас для управления используются сенсорные планшеты, представляющие собой почти прямоугольные панели размером приблизительно 5*6 см. Они обладают очень высокой чувствительностью, и при их использовании требуется несколько большее внимание, чем при работе с обычной мышью или трекболом. Навыки взаимодействия с этим на первый взгляд не эргономичным устройством приобретаются довольно быстро.
Клавиатура. Клавиатура ноутбуков всегда менее удобна, чем у настольных компьютеров, — это связано с небольшой площадью рабочей панели компьютера, на которой можно расположить клавиши. Сегодня не существует единого стандарта на раскладку клавиатур в ноутбуках, поэтому разные производители размещают клавиши по-разному. В ряде ноутбуков, и особенно часто в моделях зарубежного производства, применяются так называемая слепая русификация клавиатуры: русские и латинские буквы нарисованы одним цветом и отличаются только своим расположением на клавише. Большинству пользователей это крайне осложняет работу с компьютером.
Модели ноутбуков
Сегодня многие ведущие производители компьютеров выпускают портативные компьютеры. Рассмотрим параметры некоторых из них.
Ноутбук Fujitsu LifeBook P7120 толщиной в 2.5 сантиметра, корпус выполнен из сплава магния. Толщина ноутбука всего 24.3 мм, при этом вес 1.27 килограмма. Так же в ноутбуке есть встроенный биометрический датчик и DVD super multidrive. Для сбережения энергии в автономном режиме Fujitsu LifeBook P7120 снабдили ECO системой, которая отключает слот для карт памяти.
Ноутбук будет выпускаться с двумя разными процессорами Intel Pentium-M ULV 753- с частотой 1.2 гигагерца и Intel Celeron-M ULV 383-с частотой 1 гигагерц. Остальное железо в ноутбуке одинаковое. Оперативная память DDR2—400 обладает емкостью в 512 Мб, дисплей с диагональю в 10.6-дюймов работает с разрешением Wide XGA, емкость жесткого диска 60 гигабайт HDD, адаптер Wi-Fi поддерживает стандарты 802.11a/b/g, а так же ноутбук поддерживает беспроводную технологию.
Bluetooth 1.2 и обладает мульти слотом для карт памяти — Memory Stick (Pro) /SD/xD. Цена на Fujitsu LifeBook P7120 с процессором Intel Pentium-M составит 2250 долларов США, с процессором Intel Celeron-M всего 1799 долларов США.
Известный всему миру южнокорейский промышленный гигант «LG» начал выпуск ряд моделей новых ноутбуков.
Ноутбук LG LM70 P333 является почти самым старшим в этом ряду (выше лишь LG LM70 P555).
Ноутбуки IBM. UN0R6RT IBM TP R51
{PM725—1.6/512/60/15"XGA/DVDRW/BT/WiFi/XPP} [1829-R6G]
Процессор Intel Pentium M, 725, 1.6 Ггц
Операционная система Microsoft Windows XP Professional
Размер оперативной памяти 512 Мб
Тип оперативной памяти максимально 2 ГБ PC2700 DDR
SDRAM
Видеокарта ATI Mobility RADEON 7500 32 Мб.
Видеопамять Собственная
Размер дисплея 15»
Разрешение XGA 1024x768 т/д
Размер жесткого диска 60 Гб
Оптический накопитель DVD/RW
Звуковая система SoundBlaster Pro 16, с 2 стереодинамиками
Порты ввода/вывода RJ-45, RJ-11, LPT, VGA, линейный выход, линейный вход, S-Video, USB 2.0*2, разъем стыковочной станции/репликатора
портов
Размеры и вес 332x269x37—40 мм, 3.2 кг
Батарея (тип/ время) Li-Ion/до 4,7 часов
Клавиатура и манипулятор TrackPoint
Наличие LAN Есть
Гарантия: 3 года
Компания Fujitsu анонсировала новый ноутбук Fujitsu LifeBook P7120, корпус которого выполнен из сплава магния. Толщина ноутбука всего 24.3 мм, при этом вес 1.27 килограмма. Так же в ноутбуке есть встроенный биометрический датчик и DVD super multidrive.
Для сбережения энергии в автономном режиме Fujitsu LifeBook P7120 снабдили ECO системой, которая отключает слот для карт памяти.
Ноутбук будет выпускаться с двумя разными процессорами Intel Pentium-M ULV 753- с частотой 1.2 гигагерца и Intel Celeron-M ULV 383-с частотой 1 гигагерц. Остальное железо в ноутбуке одинаковое. Оперативная память DDR2—400 обладает емкостью в 512 Мб, дисплей с диагональю в 10.6-дюймов работает с разрешением Wide XGA, емкость жесткого диска 60 гигабайт HDD, адаптер Wi-Fi поддерживает стандарты 802.11a/b/g, а также ноутбук поддерживает беспроводную технологию Bluetooth 1.2 и обладает мульти слотом для карт памяти — Memory Stick (Pro) /SD/xD.
Цена на Fujitsu LifeBook P7120 с процессором Intel Pentium-M составит 2250 долларов США, с процессором Intel Celeron-M всего 1799 долларов США.
«Карманные ” компьютеры или блокноты
Компания Asus выпустила новый карманный компьютер MyPal A636 со встроенным приемником глобальной спутниковой системы навигации GPS.
«Сердцем» наладонника, работающего под управлением операционной системы Microsoft Windows Mobile 5.0, является процессор Intel XScale с тактовой частотой 416 МГц. Объем оперативной памяти ограничен 64 Мб, емкость флэш-памяти — 128 Мб (пользователю доступны порядка 85 Мб). Карманный компьютер оборудован слотом для сменных карт памяти стандартов Secure Digital и Multimedia Card, допускается подключение периферийных устройств с интерфейсом SDIO. Сенсорный жидкокристаллический экран с диагональю три с половиной дюйма имеет стандартное для карманных компьютеров разрешение QVGA (240 х 320 пикселей).
Компания Casio начала продажи нового карманного компьютера Cassiopeia DT-5200, работающего под управлением операционной системы Microsoft Windows CE 5.0.
Наладонник выполняется в прочном пылезащищенном корпусе и выдерживает неоднократные падения на твердую поверхность с высоты до 1,2 метра. Кроме того, новинка отличается большим временем автономной работы, достигающим 22 часов. Диапазон рабочих температур составляет от минус 10 до плюс 50°С. Правда, эти достоинства имеют и обратную сторону: весит КПК без малого 300 граммов.
Карманный компьютер Cassiopeia DT-5200 построен на основе процессора Intel PXA270 с тактовой частотой 520 МГц. Объем оперативной памяти составляет 64 Мб, емкость флэш-памяти — 128 Мб (пользователю доступны примерно 60 Мб). Дополнительная информация записывается на сменные флэш-карты формата MiniSD. Жидкокристаллический дисплей с диагональю 3,7 дюйма поддерживает разрешение VGA (640 х 480 пикселей) и отображает 65536 оттенков цвета.
Новинка в максимальной конфигурации снабжена камерой с одномегапиксельной ПЗС-матрицей, контроллерами беспроводной связи Bluetooth и Wi-Fi (стандарты IEEE 802.11b/g) и сканером штрих-кодов. Непосредственно под экраном размещены навигационная джойстик-кнопка и буквенно-цифровая клавиатура. Кроме того, можно упомянуть монофонический динамик, микрофон и гнездо для подключения наушников. Размеры КПК равны 16 х 82 х 23 мм.
Встроенное программное обеспечение включает браузер, клиент электронной почты, текстовый редактор, медиаплеер, диктофон, калькулятор, средства резервного копирования данных и пр. Вместе с наладонником поставляются зарядное устройство и диск с ПО.
Японская корпорация Sharp анонсировала новый карманный компьютер W-Zero3, работающий под управлением операционной системы Windows Mobile 5.0.
Наладонник выполнен в корпусе с миниатюрной клавиатурой со стандартной раскладкой, которая выдвигается из-под лицевой панели с правой стороны. При этом ориентация изображения на экране изменяется с портретной на альбомную. Кстати, жидкокристаллический дисплей с диагональю 3,7 дюйма поддерживает разрешение VGA (640 х 480 пикселей) и отображает 65536 оттенков цвета. Другая особенность новинки заключается в поддержке беспроводной связи PHS. Стандарт PHS, являющийся функциональным подобием европейского стандарта DECT, используется в азиатских странах для беспроводной телефонной связи с небольшим радиусом действия и привязкой к базовой станции.
В карманном компьютере используется процессор Intel PXA270 с тактовой частотой 416 МГц. Объем оперативной памяти составляет 64 Мб, емкость флэш-памяти — 128 Мб. Допускается использование флэш-карт формата MiniSD, для подключения к компьютеру применяется порт USB. Встроенная 1,3-мегапиксельная камера позволяет снимать фотографии с разрешением до 1280 х 1024 точки и записывать видеоролики. Кроме того, устройство оборудовано контроллером беспроводной связи Wi-Fi (IEEE 802.11b). В комплект предустановленного программного обеспечения входят «карманные» версии редакторов Word, Excel, браузер Internet Explorer, медиаплеер, клиент электронной почты и пр.
Размеры наладонника составляют 130 х 70 х 26 мм, вес — 220 граммов. Питается устройство от ионно-литиевого аккумулятора. В продажу новинка поступит по ориентировочной цене в 450 долларов США.
Компания Fujitsu-Siemens официально представила два новых карманных компьютера линейки Pocket Loox, получивших индексы N500 и N520.
Оба наладонника построены на базе процессоров Intel PXA270 с тактовой частотой 312 МГц и работают под управлением операционной системы Microsoft Windows Mobile 5.0 Premium Edition. Объем оперативной памяти у устройств одинаков и составляет 64 Мб, а вот емкость флэш-памяти различается в два раза — 64 Мб у модели Pocket Loox N500 и 128 Мб у модификации Pocket Loox N520. Кроме того, старшая версия имеет встроенный контроллер беспроводной связи стандарта IEEE 802.11g, тогда как Pocket Loox N500 связь Wi-Fi не поддерживает.
Прочие технические характеристики карманных компьютеров идентичны. Жидкокристаллический дисплей с диагональю 3,5 дюйма поддерживает разрешение 240 х 320 пикселей и отображает 65536 оттенков цвета. Предусмотрены слот для флэш-карт форматов Secure Digital и Multimedia Card (возможно подключение периферийных устройств с интерфейсом SDIO), динамик, микрофон, порт USB 1.1 и инфракрасный порт. Оба наладонника также снабжены встроенными приемниками глобальной спутниковой системы навигации GPS. Питание в автономном режиме обеспечивает ионно-литиевый аккумулятор емкостью 1200 мА∙ч.
При размерах 116 x 71 x 14 мм весят карманные компьютеры 160 граммов. Предустановленное программное обеспечение включает мобильные версии приложений Microsoft Outlook, Word, Excel, PowerPoint, браузер Internet Explorer, Windows Media Player 10, диктофон и пр. В комплект поставки входят сетевой блок питания, USB-кабель и чехол для ношения.
КПК Sharp Zaurus SL-C3100 с винчестером на 4 Гб
Японская корпорация Sharp анонсировала новый карманный компьютер, получивший название Zaurus SL-C3100.
Наладонник представляет собой несколько усовершенствованную модификацию раскладного КПК Zaurus SL-C3000, выпущенного в октябре прошлого года. Соответственно, и основные технические характеристики модели Zaurus SL-C3100 совпадают с характеристиками предшественника. В частности, устройство оборудовано процессором Intel XScale PXA270 с тактовой частотой 416 МГц, 64 Мб оперативной памяти, встроенным жестким диском емкостью 4 Гб и сенсорным жидкокристаллическим дисплеем с диагональю 3,7 дюйма и разрешением VGA (640 х 480 пикселей). А вот объем интегрированной флэш-памяти увеличился в восемь раз и теперь составляет 128 Мб.
Внешне устройство напоминает микроноутбук с размещенными на двух половинках корпуса экраном и клавиатурой со стандартной раскладкой. Карманный компьютер оснащен разъемом CompactFlash, слотом для карт-памяти формата Secure Digital, инфракрасным портом и портом USB. В качестве программной платформы используется операционная система Linux.
При размерах 124 x 87 x 25 мм модель Sharp Zaurus SL-C3100 весит 298 граммов (вместе со стилом и ионно-литиевым аккумулятором). Комплект поставки включает сетевой блок питания, соединительный USB-кабель, стереофонические наушники и диск с драйверами и программным обеспечением.
2.2. Копировальная техника
Большую роль в формировании информационных технологий играет офисная техника — устройства копирования, размножения и масштабирования информации.
Комплекс офисного оборудования должен быть не только технически современным, но и оптимальным по составу, чётко ориентированным на решение поставленных задач. Значительной составляющей офисных устройств являются устройства копирования — ксероксы, ризографы.
Ксероксы
Процесс получения ксерографического изображения («ксерос» — сухой, «графос» запись) был изобретён и запатентован в 1938 году Честером Карлсоном, американским изобретателем из Нью-Йорка. Но прошло более десяти лет, прежде чем компания Haloid выпустила первый в мире копировальный аппарат модели «А». В середине 50-х годов ХХ в. Haloid Company и Rank Organization создали совместное предприятие. Сегодня мы знаем эту фирму под названием Rank Xerox.
Xerox был монополистом до начала 70-х годов. Как раз в это время закончился срок действия патентов, и ситуация резко изменилась. На сегодняшний день основной накал конкурентной борьбы падает на противостояние компании Xerox и японских фирм — производителей таких аппаратов, как Canon, Ricoh и Sharp.
А слово «ксерокс» стало нарицательным и в обиходе обозначает копировальный аппарат. Хочется, однако, заранее предупредить читателя, что Xerox и Rank Xerox являются зарегистрированными торговыми марками компании Rank Xerox Ltd.
Существует множество классификаций копировальных аппаратов в зависимости от различных параметров. На сегодняшний день копировальная техника делится на пять основных групп: портативные копировальные аппараты, низкоскоростные машины (low-volume copiers), офисные копиры среднего класса (middle-volume copiers), копиры для рабочих групп (high- volume copiers) и специальные копировальные аппараты (полноцветные и инженерные машины). Деление на категории осуществляется в зависимости от трёх основных характеристик: скорости копирования, формата оригинала и копии, рекомендуемого объёма копирования в месяц.
Портативные копировальные аппараты можно использовать дома, в командировке или в офисе. Они совсем небольшие. Они готовы к работе сразу после включения, относительно недорого стоят. Но… они сильно дороги в эксплуатации. Что это значит? Дело в том, что потребитель, покупая копировальный аппарат, на самом деле платит не все деньги сразу, а только часть стоимости, другую же часть денег он платит потом, так как для работы аппарата необходимы расходные материалы. Вот и считайте: портативный копировальный аппарат стоит в пределах $800—1000; картридж на 3000 копий $100—110; ресурс аппарата — 30000 копий, а рекомендуемый объём копирования 300—500 копий в месяц. Необходимо также учесть, что техника у нас эксплуатируется в режиме двойной, а то и тройной перегрузки, поэтому ресурс снижается в несколько раз. Таким образом, одна копия обойдётся не меньше, чем в 8—10 центов, а свой аппарат Вы выбросите на свалку через год-полтора. Не даром большинство фирм-продавцов дают на этот класс машин гарантию в пределах от трёх до шести месяцев. То есть, портативную машину стоит покупать только в одном случае, если этот аппарат будет стоять на Вашем рабочем столе в дополнение к уже существующей технике и будет работать в режиме — 10—15 копий в день. Тогда он вполне оправдает своё второе название «персональный копировальный аппарат».
Для больших объёмов копирования и облегчения работы с многостраничными оригиналами могут понадобиться устройства автоматизированной подачи документов (ADF и RDF) и сортировщики копий с возможностью скрепления (степлирования) готовых копий (сортеры и степлер-сортеры).
Наиболее популярными торговыми марками копировальной техники являются Ricoh, Canon, Rank Xerox, Mita и Sharp, а догоняют их по популярности такие относительно новые для нашего рынка торговые марки, как Toshiba. Некоторые торговые марки копировальной техники, которые широко известны во всём мире, всё ещё не получили широкого распространения в силу своей «элитности» или по некоторым другим причинам. К ним относятся — Minolta, Kodak и Konica.
Основные характеристики копировального аппарата:
а) скорость копирования. Измеряется числом копий формата А4 в минуту и показывает «скорострельность» Вашего аппарата. Производительность же копировального аппарата зависит не только от скорости копирования, но и от степени автоматизации различных функциональных систем копира;
б) рекомендуемый объём копирования — это количество копий, оптимальное с точки зрения правильной эксплуатации аппарата. Различные модели аппаратов даже при одинаковой скорости копирования могут иметь различный рекомендуемый объём копирования, чем он больше, тем более надёжна машина, так как она способна произвести большее число копий без существенных поломок;
в) формат оригинала и копии — это размер листа бумаги, с которого и на который переносится изображение. Основные форматы — это А4 (210х297 мм) и А3 (297х420 мм). Иногда применяются форматы бумаги, принятые в США — В4 (250х354 мм), Letter (8х11 дюймов, 216х279 мм) и Legal (8x14 дюймов, 216х356 мм).
Классификация копировальной техники:
1) портативные копировальные аппараты (portable copiers):
— формат оригинала и копии А4;
— скорость копирования до 5—6 копий в минуту;
— рекомендуемый объём копирования — до 500 копий в месяц.
Назначение: изготовление небольшого числа копий в любых условиях — дома, в офисе, в командировке.
2) низкоскоростные копировальные аппараты (low-volume copiers):
— формат оригинала — А4 (А3);
— формат копии — А4 (А3);
— скорость копирования 10—15 копий в минуту;
— рекомендуемый объём копирования — до 1500—2500 копий в месяц.
Назначение: обслуживание потребностей небольшого офиса.
3) офисные копиры среднего класса (middle-volume copiers):
— формат оригинала до А3;
— формат копии до А3;
— скорость копирования — 15—30 копий формата А4, 10—20 копий формата А3 в минуту;
— рекомендуемый объём копирования — до 10000 копий в месяц.
Назначение: обслуживание потребностей офиса средних размеров с большим документооборотом, требующим хорошего оформления документов — выделение цветом, масштабирование и т. д.
4) копиры для рабочих групп (high-volume copiers):
— формат оригинала до А2;
— формат копии до А2;
— скорость копирования — 40—80 копий формата А4 в минуту;
— ч/б копирование с возможностью выделения цветом;
— рекомендуемый объём копирования — более 15000 копий в месяц.
Назначение: обслуживание потребностей больших офисов и бизнес-центров, большие объёмы копирования, необходимость брошюрования и сортировки документов, разделение ресурсов и программирование больших объёмов сложных копировальных работ.
5) специальные копировальные аппараты. В эту группу входят полноцветные широкоформатные копировальные аппараты. Они предназначены для особых задач, таких, как копирование инженерных чертежей, цветных фотографий, вывода на твёрдый носитель изображения с компьютера и слайдов и т. д.
Многофункциональные офисные устройства
Многофункциональные устройства (МФУ) — одно из ключевых направлений прогресса в информационных технологиях. Популярность МФУ обусловлена самой их конструкцией — в их составе факс, принтер и сканер, до того находившиеся в разных частях офиса, теперь объединены воедино. При этом способны взаимодействовать не только между собой, но и с компьютерами в локальной сети офиса и даже исполнять команды, переданные удаленными пользователями через Интернет. «Интеллектуальность» делает такие устройства настоящим цифровым центром компании. Фактически МФУ определяют весь документооборот фирмы — как бумажный, так и электронный.
Сердце такой установки — сетевой принтер. Дополнения к принтеру — многофункциональный модуль, позволяющий копировать, сканировать и отправлять документы по факсу, вспомогательные лотки для бумаги, финишер со степлером и дыроколом, а также программное обеспечение — выбираются отдельно. Удобства такого подхода налицо: компания может «достраивать» МФУ по мере роста своего бизнеса.
Все управление МФУ чаще всего выводится на жидкокристаллическую сенсорную панель управления с интуитивно понятными «иконками» и большой зеленой кнопкой «Исполнить». Отдельно стоит отметить функцию сетевого сканирования: набрав последовательность команд, любой отсканированный документ можно не только немедленно распечатать, но и сохранить в файл на сервере сети или, например, переслать по электронной почте прямо с МФУ. Стандартные и дополнительные возможности отслеживания и регламентирования печати позволяют свести злоупотребления офисной техникой к минимуму. А встроенная система безопасности дает возможность определять полномочия пользователя и контролировать устройства печати обычными средствами Windows NT.
Сегодня многие ведущие кампании, производящие принтеры, копиры и сканеры начали выпуск таких многофункциональных устройств.
Компания Hewlett-Packard представила сразу несколько многофункциональных устройств, работающих как на принципах лазерной, так и струйной печати.
Представителем новых МФУ от Hewlett-Packard является LaserJet 3015, который стал самым компактным из линейки LaserJet. Устройство основано на лазерном тракте печати принтера LJ 1015, и его основные параметры совпадают с характеристиками этого принтера. Так, время выхода первой страницы — 10 секунд, оптимизированное разрешение печати составляет до 1200 точек на дюйм. Также LJ 3015 обладает возможностью цветного сканирования. Память принтера до 32 мб, увеличена скорость печати с 9 до 14 страниц в минуту. Устройство ориентировано в первую очередь на малые предприятия, и домашний офис.
Модели LJ 3020 и 3030 являются представителями одной серии, и единственным различием между ними стало наличие факса в LJ 3030. HP позиционирует их как доступное по цене лазерное планшетное МФУ, со скоростью печати до 14 страниц в минуту. В связи с планшетным способом сканирования, верхняя часть заметно выдается за границы основания, но незаменима при необходимости скопировать книги или журналы. Технические характеристики очень близки к модели LJ 3015, так как в их основе лежит один и тот же лазерный механизм печати. И последней моделью комбинированных устройств стал LJ 3380, обладающее высокой скоростью печати. В нем все сделано для достижения производительности печати, которая доведена до 19 страниц в минуту. Первая страница выходит через 8 секунд, а качество печати составляет 1200 точек на дюйм. Устройство имеет возможность расширения внутренней памяти. В сравнении с моделью LJ 3330 в устройстве LJ 3380 увеличена производительность и уменьшена скорость выхода первой страницы, а также улучшены параметры сканера и скорость выхода первой копии. Рекомендованная цена находится на верхней грани ценовой шкалы МФУ от HP и составляет $890. Это устройство ориентировано как на индивидуальных пользователей, так и на небольшие рабочие группы.
Струйная модель HP OfficeJet 5510 отличается особой компактностью, которая совпадает с размерами струйных принтеров. Кроме того, в HP гордятся тем, что наконец удалось создать фактически новый ценовой диапазон для таких устройств — рекомендованная цена на LJ5510 не превышает $260. Также среди особенностей устройства — выполнение копирования документов без участия компьютера. Скорость печати и копирования — 17 страниц в минуту черно-белого текста и 12 страниц в минуту цветного текста. Сканирование происходит с разрешением 600x2400 точек на дюйм, а сканер оборудован автоподатчиком на 20 листов.
Многофункциональное цветное струйное устройство OfficeJet 9100. ориентировано на крупные корпорации с численностью персонала более 500 человек и они конструктивно созданы для коллективного использования. В результате стоимость печати в них может быть заметно ниже многих лазерных принтеров. Устройства серии 9100/20/30 являются представителями пятифункциональных устройств. Пятой функцией, помимо сканирования, печати, копирования и отсылки факсов стала возможность рассылки цифровых документов. Скорость черновой печати струйного механизма доведена до 25 страниц в минуту в черно-белом режиме и 22 в цветном. Кроме того, серия OffeceJet 9100 обладает многозадачностью, так, например, устройства умеют одновременно сканировать и печатать, что способствует их коллективному использованию. Также важной функцией является возможность прямой печати с карт памяти форматов CF, SM, MS, SD и ММС, которая не стала «шестой функцией». Целевым рынком OffeceJet 9100 являются компании с управляемой ИТ-инфраструктурой, в которых сеть управляется профессионально и в которых такие устройства интегрируются в единую структуру. В них присутствует встроенный веб-сервер, позволяющий производить любые настройки в удаленном режиме с любого браузера и с любого компьютера в сети, а также способный автоматически оповещать по электронной почте о каких-то событиях. К серии имеется множество дополнительных принадлежностей, таких, как лотки на 250 и 500 листов, клавиатура, внутренний сервер печати или беспроводной сервер печати.
Североамериканское подразделение компании Canon сообщило о выпуске новой серии многофункциональных печатных устройств серии imageCLASS MF5700, совмещающих в одном корпусе производительность черно-белого лазерного принтера, сканера, копировального и факсимильного аппаратов. Все новые решения обладают высокой производительностью, приемлемым соотношением цена/качество и ориентированы на применение в сфере малого бизнеса.
Три новые модели многофункциональных печатных устройств, Canon imageCLASS MF5770, MF5750 и MF5730, способны вести черно-белую лазерную печать со скоростью до 21 страницы в минуту, при этом текстовая и графическая информация может выводиться на бумагу в разрешении до 1200x600 dpi. Каждая модель серии оснащена встроенным лотком емкостью на 250 листов, а также отсеком на 50 листов с системой автоматической подачи бумаги, применяемым как при печати, так и при сканировании. При этом комбинация высокого оптического разрешения цветного сканирования, составляющего до 1200x2400 dpi, а также глубины цвета в 48-бит, позволяют добиваться распознавания до 281 трлн возможных цветовых оттенков, а использование автоматической подачи бумаги в значительной степени облегчить процесс сканирования.
Для расширения коммуникационных возможностей печатных систем, Canon снабдила модели imageCLASS MF5750 и MF5770 встроенными 33,6 Кбит/с факс-модемами Super G3, спектр характеристик которого включает поддеркжу хранения 12 номеров для вызова нажатием одной клавиши, 100 закодированных номеров, возможность хранения до 256 страниц данных в памяти, режима PC Faxing, использование широкополосных соединений, а также оформления отчетов о выполняемых действиях. Модель imageCLASS MF5770 в стандартной комплектации поставляется со встроенным портом Ethernet для обеспечения сетевой печати и поддержки PC Faxing, a imageCLASS MF5750 и MF5730 предусматривают поддержку сетевых соединения при опциональной установке внешнего принт-сервера. Все представители линейки также построены с применением технологии Canon Single Cartridge System, подразумевающей размещение тонера и печатающего барабана в едином, легко заменяемом блоке, упрощающем процесс эксплуатации устройств. В розничную продажу многофункциональные печатные устройства Canon imageCLASS MF5750, MF5770 и MF5730 поступили, соответственно в марте, апреле/мае 2005 года по цене около $400, $500 и $300.
Компания Canon представила в августе два новых многофункциональных устройства, основанных на лазерной печатающей технологии. Первое устройство LaserBase MF3110 относится к начальному уровню и объединяет в себе лазерный принтер, копировальный аппарат и цветной сканер. Скорость печати составляет 20 страниц в минуту при разрешении 1200 х 600 точек на дюйм. Во время копирования скорость составляет 20 копий/мин, при разрешении 600 х 600 точек на дюйм. Диапазон масштабирования составляет 50—200%. При сканировании используется ПЗС-сенсор, обеспечивающий разрешение 1200 х 2400 точек на дюйм.
Устройство подключается к компьютеру по интерфейсу USB, а ресурс картриджа, объединяющего барабан, тонер и чистящее устройство, составляет 2500 страниц. LaserBase MF5630 и LaserBase MF5650 могут копировать и печатать со скоростью 18 страниц в минуту. Время выхода первой страницы составляет менее 10 секунд. Модем на аппарате LaserBase MF5650 Super G3 имеет скорость 33,6 кбит/с, что обеспечивает передачу одной страницы факсимильного сообщения за три секунды. Устройство автоматической подачи документов на 50 листов позволяет отправлять по факсу многостраничные документы целиком
Компания Samsung представила ряд новых и многофункциональных устройств, предназначенных как для домашнего пользования, так и для корпоративного рынка.
Многофункциональные устройства SCX-4520 и SCX-4720F способны работать с USB-драйвом напрямую. Устройства печатают со скоростью до 20 стр./мин. МФУ SCX-4520 подходит для быстрой качественной печати, копирования и сканирования, a SCX-4720F — еще и для отправки и приема факсов. У SCX-4720F при работе с факсами скорость модема составляет 33,6 кбайт/с. В памяти устройства могут храниться 200 номеров быстрого дозвона и 40 номеров дозвона с одной кнопки. SCX-4520 и SCX-4720F появятся на российском рынке в конце октября 2004 года. Их ориентировочная стоимость — 499 долл. и 549 долл. США, соответственно.
Самые старшие МФУ SCX-6220 и SCX-6320F предназначены для решения задач среднего и крупного бизнеса. Специальный адаптер позволяет использовать эти многофункциональные устройства как
сетевые. Модели SCX-6220 и SCX-6320F работают с различными типами печатного материала и имеют скорость печати в 20 стр./мин. Данные устройства копируют максимальное количество страниц в своем классе -до 999 копий за один прием.
Российское представительство компании Epson объявило о выпуске нового многофункционального устройства Stylus RX700, обладающего функциональностью фотопринтера, сканера и копировального аппарата.
Представленный офисный комбайн обеспечивает возможность печати цветных и черно-белых документов с максимальным разрешением 5760 х 1440 dpi (точек на дюйм). Скорость печати достигает 19—20 страниц в минуту, время выхода фотографии формата А4 (без полей) — около 83 секунд. Устройство оборудовано жидкокристаллическим дисплеем с диагональю два с половиной дюйма, портом USB 1.1 для подключения цифровых камер и внешних устройств хранения данных, а также портом USB 2.0 для соединения с компьютером.
В режиме копировального аппарата модель Epson Stylus RX700 позволяет осуществлять масштабирование в диапазоне 25—40 процентов. Максимальная скорость работы составляет 15 копий в секунду, поддерживается функция автоматического подбора формата.
При сканировании документов устройство обеспечивает оптическое разрешение 3200 х 6400 пикселей при глубине цвета 48 бит. Предусмотрен встроенный модуль для сканирования 35-мм пленки и слайдов. Кроме того, имеется возможность прямого сохранения документов на флэш-карты памяти (минуя компьютер).
Среди прочих особенностей комбайна можно упомянуть поддержку технологии прямой печати PictBridge, возможность подключения контроллера беспроводной связи Bluetooth, поддержку печати на поверхности оптических носителей и удобное управление. Размеры аппарата Epson Stylus RX700 составляют 450 х 418 х 236 мм, вес — 12,9 кг. Питается устройство от сети переменного тока напряжением 220—240 В, энергопотребление — порядка 25 Вт. Приобрести новинку можно по ориентировочной цене в 500 долларов США
Многофункциональный офисный комбайн Xerox WorkCentre C226
Ризографы
Ризографом называется высокопроизводительный печатный аппарат, который печатает со скоростью до 130 отпечатков в минуту на бумаге плотностью от 45 до 210 г/м2.
Ризография — это один из автоматизированных способов трафаретной печати. Называется так по имени фирмы, которая первая изобрела цифровой дупликатор (ризограф). Это была японская фирма «Riso Kagaku corporation». Каждые 2—3 года эта фирма выпускает новую модель. За последние 9 лет сменилось 4 поколения ризографов. Каждая новая модель несет в себе усовершенствование технологического процесса печати и удобства в обслуживании. Благодаря своей неприхотливости к бумаге и высокой скорости печати ризографы нашли признание у профессиональных печатников.
В середине 90-х ХХ в. ризографы стали предлагаться в комплекте с до- и после печатным оборудованием (это резаки, переплетчики, листоподборки и другое вспомогательное оборудование). На базе ризографа полиграфистам стали предлагать минитипографии, что в свою очередь повлекло за собой создание копицентров с широким спектром услуг. Это по достоинству оценили частные предприниматели и малые предприятия, которые стали основными покупателями цифровых дупликаторов.
Достоинством ризографов являются небольшая потребляемая мощность, и использование экологически чистых материалов.
Работает ризограф следующим образом (рис. 7). Вначале считывается изображение оригинал-макета в сканере 1. Оригинал-макет представляет собой лист белой бумаги с изображением, которое нужно тиражировать. Сканер преобразует его в электрические сигналы, поступающие в блок изготовления мастер-пленки 4. Мастер-пленка представляет собой тонкую бумажную ленту с полимерным покрытием, намотанную на рулон 5. В блоке 4 в полимерном покрытии прожигаются отверстия в точном соответствии со сканируемым изображением. Отрезок мастер-пленки 2, по длине равный листу оригинал-макета, отрезается ножом 3 и закрепляется на печатающем барабане 6. Барабан 6 имеет сетчатую основу под тем участком, где закреплен отрезок мастер-пленки. Изнутри по сетке размазывается краска, поступающая из тубы 7. Краска пропитывает отрезок мастер-пленки и просачивается только через те участки, где имеются отверстия в полимерном покрытии. Если теперь к мастер-пленке приложить лист бумаги, на нем останется отпечаток — копия оригинала. В этом, собственно, и заключается второй этап работы ризографа. Барабан 6 приводится в постоянное вращение в направлении, показанном стрелкой. Листы чистой бумаги из подающего лотка 12 захватываются механизмом подачи 11 и направляются между барабаном 6 и прижимным валиком 10. Здесь и происходит перенос изображения на бумагу. Далее листы бумаги отлепляются от барабана либо сами, либо клювиком 8 и попадают в приемный лоток 9. Перед сканированием следующего оригинала, ненужный уже отрезок мастер-пленки снимается с барабана и утилизируется (сминается) в емкость 13.
Все описанные выше процессы ризограф выполняет автоматически. Управление ризографом производится при помощи практически одной кнопки и клавиатуры для задания количества копий.
Для печати другим цветом заменяется весь барабан 6, для каждого цвета имеется свой барабан, хранящийся отдельно вместе с тубой для краски 7. Эта операция производится вручную.
Усредненные технические характеристики ризографа следующие.
Таблица 2
Формат оригинал-макета
до А3
Формат бумаги для копий
до А3
Плотность бумаги
65—160 г/м2
Режимы сканирования
текст, фото, текст+фото
Разрешающая способность сканера
400 — 600 dpi
Масштабирование при сканировании
72—141%
Время получения первой копии
20 с
Скорость копирования
60—130 копий/мин
К недостаткам ризографов следует отнести трудность получения растрового изображения, полутонов, теней и т. п.
Перспективы развития компьютеров — квантовый компьютер
Современные цифровые электронные компьютеры, широко используемые в настоящее время, созданы с помощью полупроводниковых технологий. Такие компьютеры обычно представляют собой совокупность элементов только с двумя возможными логическими состояниями «0» и «1» — так называемых битов (binary digits = bits), вентильных элементов, и соединений между ними. Такие компьютеры, в которых логические операции производятся с этими классическими, с точки зрения физики, состояниями в настоящее время принято называть классическими.
Однако уже достаточно давно было обнаружено, что эти классические компьютеры не могут справиться с некоторыми очень важными задачами. И тогда была высказана идея квантового компьютера.
Принцип работы такого компьютера связан с таинственными и пока непостижимыми для большинства людей квантовыми свойствами атомов и других частиц. Квантовый компьютер, в частности, может быть основан на спинах электронов и атомных ядер и на странных свойствах квантовых частиц в момент, когда их не наблюдают, иметь спин одновременно разных направлений.
Это свойство электрона часто изображают в виде вращения волчка с осью вращения, направленной вверх или вниз. Спин вверх можно принять за единицу, спин вниз за ноль.
Это аналогично традиционному транзистору, в котором нули и единицы соответствуют включенному и выключенному состояниям, промежуточных состояний у классического бита не бывает.
Но оказывается можно показать математически, что электрон может также находиться в «призрачном» двойном состоянии, состоянии СУПЕРПОЗИЦИИ, В КОТОРОМ СПИН КАК БЫ СМОТРИТ ОДНОВРЕМЕННО ВВЕРХ И ВНИЗ. Это в свою очередь означает, что это состояние есть одновременно ноль и единица. Если теперь выполнять вычисление с помощью этого электрона, то они будут выполняться с одновременным использованием нуля и единицы, то есть два вычислительных действия так сказать «за цену одного»!
Но что делает квантовый компьютер уникальным, так это тот факт, что квантовые частицы, даже будучи очень хорошо изолированными друг от друга, могут находиться в запутанном состоянии (entangled state), в котором частицы все-таки зависят друг от друга. В классическом компьютере изменение состояния отдельного бита никак не связано с изменением состояния всех остальных битов, разве что только одного. В квантовом компьютере управление состоянием одной частицы вызывает изменение состояния всех других. Это и приводит к т.н. квантовому параллелелизму вычислений. Благодаря этому эффекту квантовый компьютер может иметь феноменальную производительность. Для определенных типов вычислений, подобных сложным алгоритмам для криптографии или поискам в гигантских массивах данных, квантовый компьютер может использовать «в тандеме» сотни атомов. На классическом компьютере это бы соответствовало выполнению миллиардов операций одновременно.
Идея квантовых вычислений впервые была высказана Ю. И. Маниным в 1980 году [1], но активно эта проблема стала обсуждаться после появления в 1982 году статьи американского физика-теоретика Р. Фейнмана [2]. В этих работах было предложено использовать для вычислений операции с состояниями квантовой системы. Авторы обратили внимание на то, что каждое состояние квантовой системы в отличие от классической может находится в состоянии суперпозиции.
Устройство квантового компьютера. Прежде чем рассказать, как же устроен квантовый компьютер, вспомним основные особенности квантовых систем.
Для понимания законов квантового мира необходимо знать, что квантовые частицы переходят из вполне определенного состояния сразу в несколько различных ипостасей. То есть электрон (или любой другой квантовый объект) частично будет находиться в одной точке, частично в другой, частично в третьей и т. д. Такое состояние электрона, когда он находится сразу в нескольких точках пространства, называют суперпозицией квантовых состояний и описывают обычно волновой функцией, введенной в 1926 году немецким физиком Э. Шредингером. Свойство квантовых частиц быть одновременно во многих состояниях, называемое квантовым параллелизмом, успешно используется в квантовых вычислениях.
Квантовый бит (кубит)
Основная ячейка квантового компьютера — квантовый бит, или, сокращенно, кубит (q-бит). Это квантовая частица, имеющая два базовых состояния, которые обозначаются 0 и 1 или, как принято в квантовой механике. Двум значениям кубита могут соответствовать, например, основное и возбужденное состояния атома, направления вверх и вниз спина атомного ядра, направление тока в сверхпроводящем кольце, два возможных положения электрона в полупроводнике и т. п.
Квантовый регистр
Квантовый регистр устроен почти так же, как и классический. Это цепочка квантовых битов, над которыми можно проводить одно- и двухбитовые логические операции (подобно применению операций НЕ, 2И-НЕ и т. п. в классическом регистре).
Квантовые компьютеры сегодня
Прототипы квантовых компьютеров существуют уже сегодня. Правда, пока что экспериментально удается собирать лишь небольшие регистры, состоящие всего из нескольких квантовых битов. Так, недавно группа, возглавляемая американским физиком И. Чангом (IBM), объявила о сборке 5-битового квантового компьютера. Несомненно, это большой успех. К сожалению, существующие квантовые системы еще не способны обеспечить надежные вычисления, так как они либо недостаточно управляемы, либо очень подвержены влиянию шумов. Однако физических запретов на построение эффективного квантового компьютера нет, необходимо лишь преодолеть технологические трудности.
2.3. Цифровые устройства информационных технологий
В последнее время привычная для нас «пленочно-бумажная» фотография стала стремительно вытесняться цифровой в силу бесспорных и очевидных преимуществ. Традиционный процесс фотографирования, а затем химической обработки снимка очень неудобен и экологически вреден. Кроме того, обычная фотография недолговечна: лет десять — и яркий некогда цветной снимок потеряет всю свою прелесть. Иное дело — компьютерный файл. Он не выцветает, не портится, не требует проявления и закрепления. Поэтому цифровые фотоапппараты становятся непременной составляющей офисной техники.
Работает цифровой фотоаппарат примерно так же, как и сканер. По внешнему виду он не слишком отличается от обычного, да и выпускаются «цифровики» теми же фирмами, что и обычные фотокамеры. Разница — внутри: вместо пленки «цифровик» использует специальный элемент памяти, который сохраняет переданную с объектива картинку в виде несжатого (TIFF) или сжатого с некоторой потерей качества файла (JPEG-компрессия). Позднее получившийся файл передается в компьютер, а затем его можно обработать в любом графическом редакторе и, если нужно, отпечатать, как обычную фотографию, на специальном принтере, либо на обычном струйном принтере, снабженном фоокартриджем.
По-настоящему массовым явлением цифровая фотография пока не стала, хотя прогресс налицо — появились довольно приличного «домашнего» качества аппараты стоимостью около 200 долл. Но основная масса камер хорошего качества имеет стоимость около 1000 долларов.
Какие же параметры характеризуют сегодняшний цифровой фотоаппарат?
Разрешающая способность матрицы. Разрешение, обеспечиваемое цифровой камерой низшего класса — всего лишь 640х480 точек, что позволяет сделать отпечаток величиной чуть больше спичечного коробка. При дальнейшем увеличении изображение «зернится» и для печати уже непригодно. Но зато фотографии с таким разрешением вполне пригодны для размещения на WWW-страницах в сети Internet и для просмотра на экране.
1280х960 — вот та величина, с которой и начинается собственно цифровая фотография. Снимок такого разрешения может «выдать» Вам фотографию, по качеству практически не отличающуюся от обычного отпечатка размером около 20х15 см. Для домашнего фотоальбома и для газетной публикации вполне достаточно.
2100х1600 — это разрешение самых последних моделей фотокамер. Его уже вполне хватает на то, чтобы получить отпечаток фотографического качества размером до обычного машинописного листа (формат А4).
С разрешающей способностью матрицы крепко связан и другой показатель — число пикселей (точечных элементов изображения) на матрице. Именно его чаще всего указывают в качестве главной характеризующей камеру величины. Число пикселей — это результат умножения двух составляющих разрешения (например, 1024х768 даст суммарную величину примерно в 800 000 пикселей). Самые популярные и дорогие камеры сегодня снабжены «мегапиксельными» матрицами (т.е. матрицами, способными сохранять свыше миллиона пикселей). Самые совершенные из камер стоимостью свыше 1000 долл. содержат матрицу объемом более 5 млн. пикселей. Существуют и камеры с матрицей намного больше 5 млн. пикселей, однако такие аппараты относятся уже к классу профессиональных устройств и стоят 5 — 10 тыс. долл.
Вид и емкость носителя. Носителем информации в цифровой камере служат особые карты памяти — точнее, «флэш-память». Её основные свойства: данные из флэш-памяти не исчезают при отключении питания, они могут быть стерты или записаны только специальным электрическим импульсом. Именно поэтому «заполненные» изображениями карты можно хранить отдельно от цифрового фотоаппарата. Недорогие аппараты первого поколения были оснащены исключительно встроенной флэш-памятью объемом от 1 до 4 Мбайт. Причем без возможности применения сменных носителей: отснял — и беги к компьютеру.
Сегодня практически все цифровые камеры комплектуются сменными картами флэш-памяти объемом от 8 до 128 Мбайт. Самые популярные типы карт флэш-памяти — CompactFlash (Kodak, Nikon), SmartMedia (на них работают камеры Olympus, AGFA, Fuji) и Multimedia Саго (ММС) (Sony). Карты первого типа — самые популярные и недорогие, к тому же обладающие наибольшей емкостью (до 128 Мбайт).
Впрочем, какой бы емкой ни была сегодняшняя флэш-память, ее способностей частенько не хватает. В особенности для профессионалов, привыкших сохранять фотографии в формате TIFF, без всякой компрессии. А объем такой фотографии может достигать пары-тройки десятков мегабайт! Вот почему некоторые из новых моделей фотоаппаратов, выпущенных в 2000 — 2001 годы, оснащены альтернативными носителями информации. Например, одна из камер позволяет сохранить фотографии на 640-Мбайт диске CD-R, другие используют в качестве носителя миниатюрный диск IBM MicroDrive емкостью до 1 Гбайт.
Цифровые фотоаппараты удобны для тех, кто хочет отправиться со своим аппаратом в длительную поездку — в этом случае ему надо будет время от времени менять «заполненные» карты на новые — точно так же, как катушки с пленкой. А по возвращении «перекачать» снятое из всех карт сразу. Правда, стоимость карт памяти пока что серьезно превышает стоимость обычной фотопленки — 64-Мбайт карта CompactFlash или 32-Мбайт карта SmartMedia обойдется Вам в 100 — 120 долл., а вмещает она те же 32 кадра (правда, в высоком разрешении, которое нужно далеко не всем и не всегда). Памятуя обвальное падение цен на оперативную память, можно спрогнозировать, что та же участь ожидает и флэш-карты. Но для того чтобы компьютерная фотография серьезно потеснила обычные «мыльницы» на массовом рынке, цены на носители должны упасть не меньше, чем в 10 раз!
Метод передачи данных на компьютер. После того как Вы отсняли нужное Вам количество снимков, их необходимо «перебросить» в компьютер. Самый удобный способ — подключить фотокамеру к компьютеру через FireWire или USB-порт. Особенно ценна последняя возможность — если контроллеры SCSI в домашних компьютерах явление нечастое, то портом USB оборудована любая материнская плата, выпущенная в течение последнего года.
Существует и другой вариант — подключить к компьютеру сами карты памяти. Правда, для этого потребуется специальный адаптер стоимостью около 70 — 100 долл. Например, для карт стандарта SmartMedia разработан специальный адаптер FlashPath, имитирующий… обычную дискету! Читать карты, установленные в такой адаптер, можно с помощью самого обычного дисковода.
Число кадров, помещающихся в вашем фотоаппарате, Вы можете изменять, варьируя степень сжатия фотографий. Хотите, чтобы все ваши снимки были как можно качественнее — ваша 16-Мбайт карта может вместить, скажем, 20 — 40 стандартных «кадров». А сделаете качество чуть-чуть похуже — и вот уже число кадров возросло до 60 — 80 и даже 100.
Тип объектива — это третий важный параметр. Цифровые фотоаппараты имеют возможность оптического увеличения (ZOOM). Обычно сочетаются два вида zoom — истинный, или оптический, — и «виртуальный», цифровой. Оптический zoom, обеспечиваемый оптикой камеры, обычно равен 3, т.е. изображение на отпечатке можно приблизить в 3 раза по сравнению с натурой. Двукратный цифровой zoom, также имеющийся на некоторых моделях, в сочетании с оптическим повышает коэффициент приближения до 6-ти. Стоит обращать внимание и на возможность «модернизации» камеры с помощью дополнительных объективов — так, модели Nikon Coolpix и Olympus могут быть укомплектованы телеобъективом, объективом типа «рыбий глаз» или широкоугольным объективом.
Возможность специальных видов съемки. Панорамная съемка, запись на камеру короткого (в несколько минут) видеофильма, либо голосового комментария, частенько предоставляется производителями фотокамер. Наконец, при выборе камеры следует учитывать еще один параметр — специальные возможности вывода изображений. Нет, сама камера печатать, конечно, не может, однако к некоторым популярным моделям фирмы Olympus можно докупить еще и специализированный мини-принтер для получения отпечатков «фотографического» качества — непосредственно с фотоаппарата, без подключения компьютера. Стоит он недешево, поэтому большинство пользователей все-таки предпочтет использовать для печати обычный струйный принтер. Желательно, конечно, чтобы он поддерживал технологию печати снимков высокого качества (например, можно использовать последние модели струйных принтеров от Саnon или Epson).
Кстати, многие новые фотоаппараты оборудованы специальным разъемом и кабелем для вывода изображений на экран телевизора — неоценимая возможность для любителей домашних «слайд-шоу».
Видеокамеры
Одним из широко распространённых в настоящее время устройств отображения информации являются видеокамеры. Различают цифровые и аналоговые видеокамеры. В последнее время цифровые видеокамеры всё больше вытесняют аналоговые, так как цифровые видеокамеры дают высокое качество изображения. Они дают возможность многократного копирования, распечатку отдельного кадра также с высоким качеством. Кроме того, они могут подключаться к компьютеру для обработки материалов на нём. Вся информация на них записывается в кассету небольшого размера и большой ёмкости. Внешний вид видеокамеры JVC GR-DVL157EG представлен на рис. 19.
Мобильная связь, сотовые телефоны
В последнее время интенсивно развивается такая сфера устройств информационных технологий, как сотовая связь. За этой сферой ожидается большое будущее. Поэтому вкратце рассмотрим её.
Первая система радиотелефонной связи начала свой путь с создания в 1946 г. в г. Сент-Луис (США). В конце 70-х годов ХХ века начались работы по созданию единого сотового стандарта сотовой связи для 5 североевропейских стран — Швеции, Финляндии, Норвегии, Дании и Исландии, который сформировался в стандарт NMT-450 (Nordic Mobile Telephone) с рабочей частотой 450 МГц. На месяц раньше чем в скандинавских странах стандарт NMT-450 запустили в Саудовской Аравии. Было это в уже далеком 1981 году. В 1983 году в коммерческую эксплуатацию в США вступила сеть стандарта AMPS (Advanced Mobile Phone Service), который явился разработкой исследовательского центра Bell Laboratories. В Великобритании в 1985 году за национальный стандарт приняли систему TACS (Total Access Communications System) на основе американского стандарта AMPS. Позднее данный стандарт трансформировали в систему ETACS (Enhanced TACS). С 1986 года в Скандинавии стали применять стандарт NMT-900, который является продолжением NMT-450 и позволяет улучшить функциональные возможности и увеличить абонентскую емкость системы.
Все вышеперечисленные стандарты являются аналоговыми и относятся к первому поколению систем сотовой связи. Новый этап в развитии сотовой связи — это создание систем на основе цифровых методов обработки сигнала.
В 1982 году Европейская Конференция Администраций Почт и Электросвязи (CEPT) создала группу для разработки единого европейского стандарта цифровой сотовой связи в диапазоне 900 МГц. Результатом работы этой группы явился стандарт GSM (Global System for Mobile Communications). В 1989 году, за год до появления технического обоснования GSM, британский Департамент торговли и промышленности DTI (Department of Trade and Industry) опубликовал концепцию «Подвижные телефоны», которая получила название PCN (Personal Communication Networks).
Чаще всего сотовая сеть состоит из следующих компонентов: мобильная станция (трубка), базовая станция, компонента служит как интерфейс с мобильной станцией, контроллер базовых станций — координирует работу нескольких базовых станций, центр коммутации (коммутатор), собственно тут-то все и происходит. Типичная масштабная сеть имеет не один коммутатор, а несколько. Максимальное удаление от базовой станции возможно при идеальных условиях примерно 35 км.
По сотовому телефону можно отправлять как голосовые сообщения, так и письменные. Последние гораздо дешевле. На рис. 10 показан внешний вид одной из моделей телефона Sony Erikson T600. Его технические характеристики таковы:
На сегодня существует большое разнообразие типов и производителей мобильных сотовых телефонов. Конкретный вид его выбирается из соотношения его цены и потребности владельца в дополнительных услугах, предоставляемых сотовыми операторами сети.
Перед покупкой телефона необходимо выяснить, какой стандарт связи у местного оператора. Согласно этой информации и покупается сотовая трубка соответствующего стандарта связи. Современные сотовые телефоны чаще всего поддерживают стандарты GSM-900/1800/1900. При включении телефон сам за доли секунды определяет, на какой частоте лучше сигнал и настраивается на нее.
При этом хорошо получить информацию и о покрытии площади связи выбранным оператором.
Условно все аппараты можно разделить на 6 классов:
1. Телефоны начального уровня (entry level или low end), их часто называют также бюджетными или экономичными аппаратами..
2. Модели среднего класса (middle range).
3. Защищенные от внешнего воздействия аппараты (outdoors).
4. Бизнес-телефоны (business).
5. Имиджевые аппараты (fashion models).
6. Гибридные устройства, например, смартфоны.
К аппаратам начального уровня принято относить оснащенные минимумом функций недорогие бюджетные модели, основное назначение которых — предоставление мобильной связи. Для владельцев таких трубок надо, чтобы телефон «просто звонил», и они не хотят разбираться в дополнительных функциях, которые им не требуются. Это пенсионеры, пожилые люди, память которых уже не та, что была в молодости.
В настоящее время практически все компании-производители, за исключением NOKIA, выпускают модели начального уровня. Например, Siemens A35, А36, А40, Ericsson AlOISs, Ericsson A2618s, Ericsson A2628s, Ericsson A3618, Motorola v2288, Motorola T191, Motorola TI92, Motorola T205, Alcatel 300, 301, 302 и другие. Подобные аппараты принято называть бюджетными или экономичными моделями.
Вторая группа — аппараты среднего класса (middle range). Это самая большая по количеству различных моделей группа, по продажам она также уверенно лидирует наравне с телефонами начального уровня. Функциональная оснастка подобных аппаратов достаточно богата, они удовлетворяют практически всем требованиям, зачастую имеют голосовой набор, WAP-браузер, игры и другие «продвинутые» возможности. Самыми характерными телефонами среднего уровня являются Nokia 3310, 3330, Siemens C35i, C45, Panasonic GD52, Alcatel 511. От более дорогих аппаратов бизнес-класса перечисленные модели отличаются отсутствием инфракрасного порта (ИК-порта), Bluetooth-прием с передатчика, встроенных средств для синхронизации с ПК (требуется кабель, поскольку ИК-порта нет), меньшим временем работы от одной зарядки, меньшим объемом памяти и более простыми органайзерами.
Телефоны, защищенные от внешнего воздействия для использования в походных условиях, или Outdoors — это те же стандартные модели, но в защищенном исполнении. Так, аналогом Siemens C35i является модель М35, идентичная по функциям, но обладающая резиновым корпусом, который делает аппарат влагозащищенным (однако, не предполагает возможность погружения в воду!). Nokia 6250 предназначен для использования в более суровых условиях: аппарат может находиться под водой до 10 минут, обладает противоударными вставками, защищен от проникновения пыли. По сравнению с аналогичной моделью 6210 в 6250 есть некоторые дополнительные функции. Таким образом, в данном сегменте могут быть представлены как телефоны среднего, так и бизнес-класса в защищенном исполнении.
Модели бизнес-класса — это наиболее функциональные аппараты. У этих телефонов самые «продвинутые» записные книжки, органайзеры, широкие коммуникационные возможности. Отличия от аппаратов среднего класса хорошо заметны: в современном бизнес-телефоне, как правило, установлен аккумулятор большой емкости (литий-ионный или литий-полимерный, но никак не никель-металлгидридный). Предусмотрены поддержка пакетной передачи данных (GPRS) и WAP-браузер. Из обязательных атрибутов следует отметить наличие ИК-порта и возможность синхронизации данных органайзера с ПК при помощи специального программного обеспечения, которое зачастую входит в комплект поставки.
Выпускаемые сейчас бизнес-аппараты, тем не менее, имеют относительно большие размеры — таков стереотип пользователей, под который подстраиваются производители. Так, например, компании ERICSSON, выпустив модель R520m, типичный бизнес-аппарат, затем объявляет точно такую же по функциональности модель Т39т, которая из-за дизайна и меньших размеров относится скорее к классу имиджевых телефонов, кстати, сама компания позиционирует этот аппарат именно так.
Для имиджевых аппаратов изначально предусмотрен больший диапазон стандартных цветов корпуса, причем зачастую это яркие, притягивающие глаз расцветки, в отличие от спокойных, выдержанных тонов бизнес-телефонов. Имиджевые аппараты создаются именно для того, чтобы привлекать внимание окружающих, отсюда и особенности дизайна, например, два дисплея у Samsung SGH-A300 (конструкция раскладушки вообще характерна для имиджевых аппаратов). Последнее, о чем стоит упомянуть, это размеры. В данной номинации класс имиджевых телефонов вне конкуренции — самые небольшие аппараты по габаритам и по весу.
Класс гибридных устройств, составляют телефоны, оснащенные нехарактерными для них функциями, Например, имеющие возможности карманных ПК (смартфоны) или GPS-птриемник (Benefon ESC, Track). Среди смартфонов стоит отметить Nokia 9210, Ericsson R380s (e), Motorola Accompli 008, A6188, Siemens SX45, Sagem WA3050. Пока подобных устройств немного, но с каждым годом их количество растет.
В последнее время с помощью мобильного телефона можно связываться по сети Интернет, просматривать сайты и пользоваться электронной почтой. Кроме того, сотовые телефоны сейчас оснащаются виде или фотокамерой, с разрешением от 1.2 Мп до 6—8 и более, что очень удобно для автомобилистов — в случае аварии место происшествия снимается на видео, фотографируется и снимки передаются в страховую кампанию.
Программное обеспечение информационных технологий
Прежде, чем переходить к разбору программного обеспечения компьютеров, необходимо знать следующее. Любая программа имеет своего автора и владельца. Поэтому, приобретая ПК, необходимо выяснить о правовой принадлежности программ, установленных на нем: есть ли лицензия на установку той или иной её копии, дистрибутив. В противном случае программное обеспечение будет считаться пиратским. В этом случае можно попасть в положение, когда программа через несколько запусков, или после определенного времени потребует подтверждение ваших прав на работу, или в случае выхода системного диска из строя будет необходим дистрибутив для переустановки программы. (Дистрибутив — исходная копия программы).
Создание программы требует очень больших затрат времени, труда и денег. Копируется же программа за считанные доли секунды. Программный бизнес сейчас широко распространен и дает порой не малую прибыль.
К сожалению, на законодательном уровни интеллектуальная собственность пока защищена очень слабо, чем и пользуются различные недобросовестные пользователи, пиратски копируя программы и распространяя их. Качество же пиратских дисков очень низкое, и чаще всего пиратский (ворованный) диск быстро выходит из строя.
Однако надо заметить, что стоимость этих дисков гораздо ниже лицензионных. Кроме того, составители пиратских компакт-дисков часто дополняют свои диски свободно распространяемыми программами, драйверами.
Поэтому по коммерческой ценности в целом различают коммерческие программы, условно-бесплатные и бесплатные. Коммерческие программы имеют сопроводительную документацию и дистрибутив — набор дисков с исходной программой, которая в дальнейшем инсталлируется на жесткий диск.
Условно-бесплатные чаще всего имеют демонстрационные возможности и выполняют роль рекламы.
Бесплатные программы распространяются повсеместно и платы или лицензирования не требуют. Причем некоторые бесплатные программы с успехом теснят коммерческие, как например, семейств Linux, одновременно выручая тем самым пользователей с низким уровнем достатка, поскольку покупка пакета программ может быть весьма дорогостоящей.
По назначению все программы, применяемые на ПК, делятся на 3 категории: системные, сервисные и инструментальные.
Системные — это программы, которые выполняют как загрузку ПК, так и вспомогательные функции — копирование, управление процессом печати, факсимильной связью.
Сервисные программы обеспечивают необходимые пользователю работы, как-то рисование, создание текста, обработку массивов данных, математические расчеты.
Инструментальные обеспечивают работу программиста для создания новых программных продуктов.
Структура системного программного обеспечения
Наиболее важной частью базовых системных программ являются операционные системы (ОС). Они обеспечивают загрузку ПК, осуществляют управление его ресурсами и запускают другие программы на выполнение. Хранятся в долговременной памяти на системном диске и в BIОS — электронных устройствах (ПЗУ), в которых постоянно хранятся программы, которые устанавливаются на заводе-изготовителе ПК и необходимы для начальной загрузки компьютера.
Наиболее распространенные ОС: MS DOS, Mac, OS/2, Unix, Windows.
MS DOS фактически является платформой, на которой базируются все остальные.
Операционные системы Mac распространены на Западе и не имеют существенного влияния на российский рынок. OS/2 также почти не применяется на российском рынке. В настоящее время установилось широкое распространение операционных систем Unix и Windows.
Система Unix обеспечивает прекрасное время редакции для работающих под ней программных продуктов. Не требует огромного быстродействия и большой оперативной памяти. Однако, обучение и работа под Unix в качестве пользователя более сложна по сравнению с Windows. Ее установка, администрирование и настройка недоступны для широкого круга пользователей. Этим объясняется меньшее распространение ОС Unix по сравнению с Windows.
Основная причина необходимости операционной системы состоит в том, что элементарные операции для работы с устройствами ПК — это операции очень низкого уровня, поэтому действия, которые необходимы пользователю и прикладным программам, состоят из миллионов таких элементарных операций.
Программная совместимость операционных систем
Операционная система образует автономную среду, не связанную ни с одним языком программирования. Любая прикладная программа связана с ОС и может использоваться только на тех ПК, где имеется аналогичная системная среда. Прикладные программы, созданные в среде одной ОС, не могут быть использованы для работы в среде другой ОС, если нет специальной программы конвертации, позволяющей это делать, например: ПК Power Macintosh фирмы Apple Computer программно совместим с ПК IBM с ОС DOS и Windows, так как они имеют программный модуль совместимости. Однако, ПК IBM программно не совместим с ПК фирмы Apple Computer, так как не имеет такого модуля.
Поэтому для работы в данной ОС необходимо овладеть языком этой среды — совокупностью команд, структура которых определяется синтаксисом этого языка.
Обычно ОС создается для серии ПК, в структуре которых заложена и развивается определенная концепция.
В целом ОС выполняет следующие функции:
— управляет работой каждого блока ПК и их взаимодействием;
— устанавливает взаимодействие пользователя с ПК, т.е. поддержку интерфейса пользователя;
— организует хранение информации в долговременной памяти.
Все ОС делятся:
— на одно и многозадачные, в зависимости от числа параллельно выполняемых прикладных программ;
— одно и многопользовательские, в зависимости от числа пользователей, одновременно работающих с ОС;
— не переносимые и переносимые на другие типы ПК, т.е. совместимые и не совместимые;
— несетевые и сетевые, обеспечивающие работу в локальных сетях.
Операционная система MS DOS
Основные составляющие MS DOS:
1).Базовая система ввода/вывода (БСВВ или BIOS). В архитектуре ПК базовая система ввода и вывода занимает особое место. Ее можно рассматривать, как составную часть аппаратных средств; с другой стороны, БСВВ является одним из программных модулей ДОС.
2).Дисковые файлы IO. SYS и MS DOS. SYS — основные системные файлы, которые постоянно находятся в памяти компьютера. Они обязательно должны находиться в корневом каталоге системного диска. В некоторых версиях DOS эти файлы наз. IBM IO. COM и IBM DOS. COM.
3) Дополняют MS DOS т.н. драйверы устройств — специальные программы, для обслуживания имеющихся устройств (например, принтеров), перечень которых дается в специальном файле CONFiG.SYS. Они подключаются с помощью специальных команд файла CONFiQ.SYS: DEVICE и DEVICEHIQH.
4). Командный процессор COMMAND.COM. Командный процессор — это обычный файл, который может занимать любое место на системном диске. Он также должен находиться в корневом каталоге системного диска и обрабатывает команды вводимые пользователем. Команды пользователя могут быть внутренние и внешние. Внутренние команды (Type, Copy) процессор выполняет сам, а внешние, более сложные команды, выполняются процессором с помощью специальных программ, поставляемых с ОС в виде отдельных файлов, которые процессор находит и передает им управление.
5). Файл AUTO EXE.BAT, в котором вставляются команды на загрузку необходимых постоянно программ в память ПК, например манипулятора мыши, русификатора и др.
Одна из первых функций БСВВ — автоматическое тестирование основных аппаратных компонентов при включении машины.
Если в процессе тестирования памяти и других аппаратных компонентов обнаруживаются ошибки, БСВВ выдает на экран соответствующие сообщения и извещает об этом пользователя звуковым сигналом. Дальнейшая работа машины при этом прекращается, и пользователю нужно принимать меры к устранению выявленной ошибки.
Вторая важная функция БСВВ — вызов блока начальной загрузки ДОС. ДОС — большая программа, состоящая из нескольких модулей, загрузка ее в память проходит в две ступени; сначала БСВВ загружает с системного диска в память специальный блок начальной загрузки, а затем передает на него управление, осуществляет загрузку других модулей ДОС. Блок начальной загрузки ДОС, или загрузчик, всегда записан в первом секторе системного диска.
Третья важная функция БСВВ — обслуживание системных вызовов, или прерываний. Системные вызовы вырабатываются программными или аппаратными средствами с целью выполнения различных операций.
Прерывания можно разделить на три группы: аппаратные, программные, логические.
Источники аппаратных прерываний — падение напряжения питания, нажатие клавиши на клавиатуре, приход очередного импульса от счетчика времени, возникновение специальных сигналов от накопителей на гибких и жестких дисках и др.
Логические, или процессорные, прерывания возникают при различных нестандартных ситуациях в работе основного микропроцессора — деление на нуль, переполнение регистров, появлении «точки останова».
Программные прерывания — самая обширная категория. Вырабатываются они, когда одна программа хочет получить определенный сервис со стороны другой программы, причем этот сервис обычно связан с работой аппаратных средств.
Каждый из указанных модулей выполняет определенную часть функций, возложенных на ДОС. Места постоянного размещения этих модулей различны. Так базовая система вывода находится не на дисках, как все остальные модули, а в постоянном запоминающем устройстве ПЗУ установленном внутри системного блока. Следовательно, этот модуль является одновременно и частью аппаратуры, и частью ДОС. Все остальные модули
находятся на дисках.
Загрузка компьютера. Компьютер загружается следующим образом:
При включении его вначале выполняются программы BIOS. После тестирования и других действий осуществляется поиск и загрузка блока начальной загрузки.
Блок начальной загрузки или программа — загрузчик, находящаяся в начальном секторе системного диска, производит поиск в корневом каталоге системной дискеты (диска) файлов IO.sys и MSDOS.sys (эти файлы должны быть первыми и именно в таком порядке). Если не находит, то выводит сообщение об ошибке: Non — system disk or disk error. Replace and strice any key when ready (не системный диск или ошибка на диске. Замените и нажмите любую кнопку). Причем вначале опрашивается дисковод «A», затем жесткий диск, если дисковод «A» пустой. Если там системная дискета, то ПК будет грузиться с нее.
Найдя эти файлы, программа считывает в память часть IO.SYS и передает ему управление. Там находится программа, которая догружает в память IO.SYS и MS DOS.SYS.
Затем эта программа находит в корневом каталоге файл CONFIQ.SYS и в соответствии с указаниями, содержащимися в нем загружает все драйверы устройств и устанавливаются все параметры ОС.
Затем читается командный процессор COMMAND.COM и ему передается, управление если его не найдут, то выводится сообщение ошибки: «Missing command interpreter».
Командный процессор находит файл AUTOEXEC.BAT и загружает программы, используемые при каждом включении ПК.
В программе BIOS можно указать, с какого диска надо загружаться системе.
Основные недостатки операционной системы MS DOS:
1) Это однозадачная ОС, параллельно несколько задач она не решает.
2) В MS DOS невозможно встроить надежные средства защиты данных от несанкционированного доступа и организации оперативной работы с данными.
3) DOS — программы могут работать только в пределах 640 кбайт памяти.
4) Работа DOS невозможна в полноценном графическом режиме, так как не позволяет работать с загружаемыми драйверами для различных видеокарт.
Поэтому фирма Microsoft вынуждена была создавать новые ОС, обеспечивающие надежный и удобный сервис пользователя.
Вначале были разработаны так называемые операционные оболочки.
Norton Commander, DOS navigator. Эти программы существенно упрощают задание управляющей информации для выполнения команд ОС для конечного пользователя. Чаще всего это обеспечивается работой программы в режиме меню, т.е. выбора из предлагаемых в наличии программ или вариантов. Поэтому пользователю не надо все помнить (все команды) на память, а лишь выбрать необходимое из предложенных вариантов. Однако, полностью устранить все недостатки OC DOS они не могли, и поэтому была продолжена их дальнейшая разработка.
Операционная система Windows
На сегодня эта ОС стала стандартной для всего мира, поскольку она была разработана с учетом последних достижений в микропроцессорной технике и учитывала все современные требования пользователей ПК. Она устранила недостатки более ранних ОС.
В целом популярность Windows обусловлена следующей концепцией, обеспечивающей:
— многозадачный режим работы;
— оптимальное управление ресурсами ПК;
— графический пользовательский интерфейс;
— наличие техники связывания и встраивания объектов других программ;
— возможность работы в сетевой среде;
— интерфейс мультимедиа;
Многозадачность обозначает способность выполнять параллельно сразу несколько задач. Для этого Windows использует основные ресурсы ПК (процессор, ОЗУ, программы) как разделяемые ресурсы, т.е. предоставляет их для совместного использования сразу нескольким программ.
Оптимальное управление ресурсами ПК достигается за счет эмуляции (создания по аналогии в рабочей памяти несколько виртуальных процессоров (условных ПК) каждый из которых работает с отдельной программой. Рабочая память при этом увеличивается за счет создания виртуальной памяти-расширенного адресного пространства на внешней памяти. Т.е. это часть жесткого диска, отведенная для работы с ОЗУ. Используемый для этого объем внешней памяти называется файлом подкачки примерно в 3 раза больше ОЗУ.
Графический пользовательский интерфейс — комплекс рисунков, и виртуальных кнопок, на экране, необходимых для связи пользователя с операционной системой и программами. Основу его составляет хорошо продуманная система ОКОН и графических образов (ручка, ключ, кисть, папка, луна и т.д.). Окна могут быть простыми и диалоговыми.
Техника связывания и встраивания объектов реализуется через буфер обмена данными между приложениями. Буфером обмена называется динамическое пространство оперативной памяти для временного хранения помещённой туда информации.
Возможность работы в сетевой среде обеспечивает пользователям совместное использование ресурсов файлового сервера, принтера, использование электронной почты, и других средств коммуникации.
Поддержка средств мультимедиа позволяет использовать микрофоны, видеокамеры, голосовые устройства.
Развивалась эта ОС постепенно. В конце 80х годов графический режим стал уже почти стандартным, большое число пользователей желало запускать одновременно несколько программ с возможностями переключения между ними. Поэтому фирма Microsoft вынуждена была создавать новые ОС, обеспечивающие надежный и удобный сервис для пользователя.
Вначале ими был создан довольно распространенный в свое время файловый менеджер Norton Commander, оболочка над ОС.
Затем ими в 1991 г. была создана первая версия Windows, но осталась не замеченной. То же произошло и со следующими версиями, пока в 1992 году не вышла версия Windows 3.0. эта версия, не смотря на наличие многих недостатков, получила достаточно широкое распространение. Через два года были созданы версии 3.1 и 3.2. и практически Windows стал стандартом. Появился полноценный графический режим, исчез пресловутый барьер памяти 640 кбайт и хотя небольшая, но все же многозадачность.
Однако, эти версии отличались сильной неустойчивостью — частые зависания, сбои, ошибки. Прежде всего это было связано со слабым разделением действия одновременно запущенных программ, которые затевали настоящую драку за ресурсы компьютера — память, мощности процессора. Это заставило разработчиков пойти дальше.
В августе 1995 года вышла в свет Windows 95. В компьютерных магазинах Америки за ней стояли гигантские очереди и ее выход отмечался, как национальный праздник. Windows 95 была заявлена, как новая операционная система, хотя это является спорным, поскольку в ее ядро входит та же DOS.
Без сомнения, версия была значительным шагом в прогрессе программного обеспечения персональных ЭВМ. Новая версия была уже 32-разрядной, что позволяло использовать все мощности процессора. Все предыдущие версии были 16-разрядными. Новый интерфейс был значительно элегантнее, удобнее и красивее. Windows 95 имел встроенные программы, обеспечивавшие поддержку мультимедийных файлов. Однако, стабильностью она тоже не отличалась,
Продолжая работу над совершенствованием своего продукта, 25 июня 1998 г. разработчики выпустили в продажу новую версию уже Windows 98. Эта версия немногим отличалась от предыдущей. Изменения коснулись интерфейса, была встроена программа Internet Explorer, позволявшая работать с Интернетом.
Одновременно с линией «домашних» ОС Microsoft разрабатывал и профессиональные, ориентированные на работу в сетях.
В 1993 году появилась первая версия Windows NT.
Windows NT создавалась как надежная 32-разрядная система. Сбоев и зависаний там практически немного, поскольку эта ОС построена таким образом, что надежно разделяет работающие под ее управлением программы, не давая им возможности «драться» за ресурсы компьютера. В Windows 3.1/98/МЕ каждая загруженная программа считала себя полновластным хозяином памяти и ресурсов процессора, в результате чего система зависала. NT строго выделяла каждой программе свою долю ресурсов и не позволяла покушаться на большее. Хотя конечно за это пришлось заплатить усилением производительности процессора и памяти, поскольку для установки и работы это ОС требуется значительно больше ресурсов, чем для предыдущих версий. Кроме того, под ее управлением могут не работать программы, написанные под DOC и Windows 98.
В конце 1998 года Microsoft выпустила версию Windows NT 5.0 под названием Windows 2000, которая предполагалась как «универсальная операционная система» как для корпоративного рынка, так и для домашнего. Но высокая требовательность к ресурсам ПК оттолкнула от нее часть домашних пользователей. Тогда была создана Windows МЕ (Millennium Edition). В программу было внесено много изменений. В частотности программа сохраняет свой установочный пакет, что позволяет пользователю добавлять или удалять любые компоненты ОС. Добавлен ряд новых инструментов сохранности конфигурации и системных файлов. Пользователю предоставляется подробный календарь обновления ОС с указанием, какие программы изменялись.
Одновременно с этим, Microsoft не оставлял попыток создать единую операционную систему, и в 2001 году под именем Windows ХР миру были представлены три ее разновидности: «корпоративные» ОС Windows ХР server, Windows XP Professional и «домашняя»Windows ХР Home.
Windows ХР стала с полностью настраиваемым интерфейсом, меню «пуск» стало предлагать только те программы, которыми часто пользуются. Иконкименю аккуратно распределены по группам. Установлена поддержка записи CD и CD-RW дисков и с ними стало можно работать как с обычными дискетами.
Платой за это естественно стало требование роста оперативной памяти и быстродействия. Для надежной работы этой ОС необходимо не менее 128 Мбайт оперативной памяти, 1 Гбайта диска и частоты процессора не менее 700 — 800 МГц.
Кроме того, Microsoft разработал и версии ОС Windows СЕ для «карманных» компьютеров.
Новая операционная система Windows Vista
В 2007 году корпорация Microsoft разработала новую операционную систему Windows Vista. Основные её особенности следующие.
Безопасность. В Windows Vista включено множество функций, обеспечивающих безопасность, и прочих улучшений, направленных на защиту компьютеров пользователей от всевозможных угроз последнего поколения, включающих в себя червей, вирусов и malware (вредоносного программного обеспечения).
Управление учетными записями пользователей. Управление учетными записями пользователей в Windows Vista позволяет администраторам использовать «ограниченные» разрешения, которые никак не влияют на работу большинства необходимых приложений.
Для обеспечения такой комбинации безопасности и совместимости, Windows Vista автоматически виртуализирует настройки реестра и папок всего компьютера. Изменения, вносимые в виртуализированные настройки реестра и папок, видны только под той учетной записью пользователя, который внес эти изменения, и в тех приложениях, которые запущены под его учетной записью, тем самым обеспечивается более надежная защита компьютера.
Сетевой экран (Брандмауэр) и служба Windows Service Hardening (повышения Стойкости служб)
Встроенный в Windows Vista персональный брандмауэр основан на функциональности брандмауэра, который включен в Microsoft Windows XP Service Pack 2. Например, брандмауэр Windows Vista может блокировать весь входящий трафик до тех пор, пока на компьютер не будут установлены все последние пакеты обновлений. Однако брандмауэр, встроенный в Windows Vista является двусторонним, позволяя осуществлять фильтрацию как входящего, так и исходящего трафика. Всеми параметрами брандмауэра Windows Vista можно управлять централизовано через Групповые политики (Group Policy), тем самым обеспечивая неизменность настроек безопасности клиента
Anti-Malware (Средство противодействия вредоносным программам). Управление учетными записями пользователей, описанное ранее в данном документе, и улучшенная безопасность Internet Explorer (включающая новый Защищенный режим, который будет описан далее) позволяют уменьшить ущерб от инфекционного заражения malware (вредоносными программами) в Windows Vista. В дополнение к этим особенностям, Windows Vista теперь может сама обнаруживать и очищать систему от malware (вредоносных программ), таким образом, защищая целостность операционной системы и секретность данных пользователя.
Расширения Internet Explorer. Начальные настройки, заданные в Учетных записей пользователей системы Windows Vista, ограничивают Internet Explorer, предоставляя ему полномочия, которых хватает только для просмотра Web, но недостаточные, чтобы производить замену файлов пользователя или установок, заданных по умолчанию. Данное свойство системы Windows Vista, известное еще как Защищенный режим, будет доступно в версии Beta 2. В результате этого, даже если сайт, содержащий вредоносный код, попытается атаковать Internet Explorer через потенциально возможную уязвимость в нем, то у него не будет достаточных полномочий для установки программного обеспечения, копирования файлов в папку пользователя Автозагрузка или подмены настроек Internet Explorer, таких как начальная страница и страница поиска.
Чтобы помочь защитить информацию пользователя, Internet Explorer:
· Подсвечивает новую строку состояния безопасности, когда пользователь посещает Secure Sockets Layer-защищенный сайт, и позволяет пользователю легко проверить подлинность сертификата безопасности этого сайта.
· Имеет фишинг фильтр, который позволяет пользователям просматривать Интернет страницы более безопасно, сообщая пользователю, когда Web сайт пытается перехватить их конфиденциальную информацию. Данные, которыми пользуется фильтр, обновляются несколько раз в час, что является важным моментом, учитывая скорость, с которой фишинг сайты могут появляться в сети и собирать данные пользователей.
· Очищает все кэшированные данные в один щелчок мыши.
Защита доступа к сети. В состав Windows Vista включен агент, который может предоставить информацию о статусе работоспособного состояния клиентов сети и о настройках доступа к серверам и узлам сети. Клиенты, у которых отсутствуют текущие обновления безопасности, отсутствуют обновления антивируса, или другим образом не удовлетворяют тем необходимым требованиям, которые Вы предъявляете к понятию «работоспособное состояние», не могут работать в вашей частной сети.
Улучшения платформы. Возможности Windows Vista по аутентификации являются более гибкими, предоставляя широкий ассортимент в выборе специализированных механизмов аутентификации, таких как сканеры отпечатков пальцев и смарт карты. Инструменты развертывания и управления, такие как самообслуживаемый инструмент сброса личного идентификационного номера (PIN), позволяет проще управлять смарт картами и их развертывать. Теперь смарт карты также можно использовать и для входа в систему Windows Vista. Кроме этого, Windows Vista позволяет производить аутентификацию с использованием Internet протокола версии 6 (IPv6) или с использованием Web служб.
Подача заявок на сертификаты теперь сделана проще, поскольку Windows Vista включает в себя расширения Диспетчера Учетных данных (Credential Manager), позволяющего производить резервное копирование и восстановление учетных данных, сохраненных на локальном компьютере. Новая служба Digital Identity Management Service (DIMS) (Служба управления цифровыми удостоверениями) обеспечивает роуминг сертификатов и учетных данных внутри леса Active Directory и непрерывное сопровождение сертификата на протяжении его всего жизненного цикла с помощью управляющих сценариев.
Возможности Windows Vista по аудиту сейчас позволяют проще отслеживать действия пользователей. Категории аудита теперь включают множество подкатегорий, уменьшая количество несущественных событий. Встроенная в Windows Vista система перенаправления событий аудита накапливает и передает критические данные аудита в центральное хранилище, предоставляя возможность предприятиям лучше их систематизировать и анализировать.
Многоуровневая защита данных. Хищение или потеря корпоративной интеллектуальной собственности вызывают все большее беспокойство в организациях. Windows Vista имеет улучшенную поддержку для защиты данных в документах, файлах, директориях, и на разных уровнях оборудования. Встроенный клиент Управления правами (Rights Management) позволяет организациям принудительно устанавливать политику пользования документами. В файловую систему с шифрованием (Encrypting File System), обеспечивающую шифрование файлов и папок на основе данных о пользователе, было внесено расширение, позволяющее теперь хранить ключи шифрования на смарт картах, обеспечивая их лучшую защиту. Кроме того, новая функция для предприятия BitLocker добавляет защиту данных на уровне оборудования. Она обеспечивает шифрование всего системного тома, включая системные файлы Windows и файл (hibernation), создаваемый при использовании Спящего режима, тем самым помогая защитить данные, находящиеся на потерянном, похищенном ИЛИ СПИСАННОМ оборудовании. Чтобы обеспечить такое решение, которое можно было бы с легкостью разворачивать и управлять, используется чип Trusted Platform Module (TPM) 1.2 (Модуль Доверительной Платформы) для хранения ключей шифрования и дешифрования секторов на жестком диске Windows.
Надежность и производительность. Хотя Windows Vista наиболее полно раскрывает свой потенциал на современных вычислительных аппаратных средствах, она также быстро и более надежно работает на тех же компьютерах, на которых работает Windows XP. Операционная система более надежна сама по себе, а Restart Manager (Диспетчер Перезагрузок) позволяет сократить количество перезагрузок компьютера, которое необходимо выполнить пользователям. Приложения, которые выполняются в Windows Vista, теперь также более надежны, поскольку теперь они могут быть восстановлены из ситуаций зависания «намертво», а улучшенная система сообщения об ошибках позволяет разработчикам устранять наиболее общие проблемы. Теперь Windows Vista даже может помочь в обнаружении и восстановлении вышедших из строя жестких дисков и памяти.
Автоматическое восстановление. В Windows XP и более ранних операционных системах, восстановление из-за сбоя системы обычно требовало от пользователей перезагрузки своего компьютера. С Windows Vista, большинство системных ошибок являются незаметными для пользователей, поскольку Windows Vista автоматически перезапустит большинство служб в том маловероятном случае, если в них вдруг произойдет сбой. Для сохранения надежной работы операционной системы, в случае необходимости, Windows Vista также может автоматически обратиться к зависящим службам и так же их перезапустить. Ранее пользователи часто перезапускали свой компьютер, чтобы решить проблемы со службами, в которых произошел сбой, теперь автоматическое восстановление позволяет уменьшить количество таких перезагрузок.
Встроенная диагностика. Windows Vista может производить самодиагностику и решение многочисленных проблем общего характера самостоятельно. Например, Windows Disk Diagnostics (Диагностика диска) позволяет заблаговременно обнаруживать нависшие над диском неисправности и может сообщить в центр поддержки о необходимости замены неисправного жесткого диска еще до того, как он полностью выйдет из строя. При этом Windows Vista проведет администраторов через весь процесс копирования данных таким образом, что жесткий диск сможет быть заменен без потери данных.
Windows Vista также включает в себя средства по диагностике памяти, помогая администраторам выявить проблемы, вызванные ненадежной памятью. Ранее, утилиты для диагностики памяти нужно было отдельно загружать и они были сложны в использовании для многих IT профессионалов. В системе Windows Vista, если функция Windows Error Reporting (WER) (Сообщения об ошибках) или Microsoft Online Crash Analysis (MOCA) (Интерактивного Анализа Краха системы) решают, что сбой может быть вызван сбойной памятью, то Windows Vista запрашивает пользователя о необходимости запуска диагностики памяти. При этом нет необходимости дополнительно загружать диагностические утилиты или производить загрузку с загрузочного диска. Если диагностика выявит проблемы с памятью, то для обеспечения нормального запуска операционной системы и предотвращения краха приложений, Windows Vista может отказаться от использования сбойного участка физической памяти. После запуска, Windows Vista предоставляет легкий для понимания отчет, детально описывающий проблему.
Startup Repair Tool (Инструмент исправления при запуске). Windows Vista включает в себя Startup Repair Tool (StR) (Инструмент исправления при запуске) для автоматического устранения многих общих проблем, который также позволяет конечным пользователям и IT профессионалам произвести быструю диагностику и устранение более сложных проблем при запуске. Весь процесс практически не требует от пользователя никакого вмешательства.
После того, как операционная система будет восстановлена, Windows Vista сообщит пользователю об этом и предоставит отчет, чтобы IT профессионалы смогли точно определить, какие действия были выполнены StR.
Надежность приложений. Windows Vista спроектирована так, чтобы уменьшить частоту возникновения и последствия от возможных негативных действий пользователя. Она включает в себя возможности по устранению неполадок для известных случаев сбоев и зависаний, а также расширенный инструментарий, позволяющий более глубоко понять те причины, которые могут способствовать переводу системы в режим, в котором она не будет ни на что реагировать.
Информация о событиях, сообщение об ошибках и инструменты для их анализа. Управление системой Windows Vista реализовано проще, позволяя IT профессионалам экономить свое время и силы. Описание событий теперь содержит больше информации, что позволяет более точно определить причину возникшей проблемы.
Удобство, простота использования и более производительная работа конечных пользователей. Microsoft значительно улучшила удобство и простоту использование системы Windows Vista, внеся изменения в меню Пуск, Проводник Windows, и Панель управления. Например, в Панель управления теперь включен список особых задач, которые пользователь хотел бы выполнить, к примеру, изменение разрешение экрана. Теперь пользователи даже могут использовать текстовое поле Быстрый поиск, чтобы осуществлять поиск в меню Пуск или в списке особых задач Панели управления. Все эти улучшения в удобстве и простоте использования позволяют пользователям тратить меньше времени на освоение операционной системы и больше времени непосредственно на выполнение работы.
Пользовательский интерфейс AERO. Компьютеры, конфигурация которых соответствует требованиям системы Windows Vista, предоставляют пользователям профессиональную и привлекательную рабочую среду, основанную на теме полупрозрачного стекла. Даже те приложения, которые были разработаны до Windows Vista, станут более привлекательными внешне, благодаря наличию в Windows Vista улучшенных мастеров и общих диалоговых окон, которые доступны во всех приложений.
Обладатели мониторов с большой разрешающей способностью теперь смогут полностью почувствовать их преимущества, т. к. Windows Vista позволяет беспрепятственно изменять размер иконок и окон. Вследствие этого, пользователям теперь не нужно напрягать зрение, чтобы прочитать сообщение электронной почты на их новом ноутбуке с экранным разрешением 1600x1200. Те пользователи, которые ранее вынуждены были использовать низкое разрешение экрана, чтобы улучшить разборчивость читаемого текста, теперь могут увеличить разрешение экрана, прибавив в яркости и четкости изображения без ухудшения читаемости текста.
Проводники. Windows XP включала в себя несколько Проводников, позволяя пользователям улучшать работу с содержимым определенного типа, таким как Документы, Фотографии и Музыка. Windows Vista продолжает эту концепцию, включая в себя командные средства, средства, позволяющие в окне проводника выводить информацию в виде макета в соответствии с типом данных, а также средства, обеспечивающие лучшую организацию представляемой информации.
Способы отображения информации. Впервые новый Просмотрщик документов заменяет папку Мои документы, которая была в Windows XP, являясь при этом более мощным средством. Вместо простого представления документов в виде иконок, Проводник представляет содержимое документа в виде эскиза страниц высокого разрешения, позволяя осуществлять предварительный просмотр документа. Пользователи могут динамически подстраивать размеры эскизов страниц вплоть до 256x256 пикселей, что является достаточно большим значением, чтобы позволить пользователям понять нашли ли они тот документ, что искали, без его открытия.
Поиск. Пользователи могут осуществлять поиск документов, адресов электронной почты, контактов и адресов Web сайтов прямо на Рабочем столе. Возможности поиска системы Windows Vista не ограничены локальным поиском на компьютере, а включают также поиск в сетевых папках и в других сетевых ресурсах.
Меню Пуск. Меню Пуск в Windows Vista позволяет проще открывать и просматривать приложения. В меню Пуск есть поле Быстрого поиска и чтобы запустить приложение, пользователю достаточно набрать в нем всего несколько первых букв его названия.
Улучшение мобильности. Windows Vista предоставляет единый простой интерфейс для подключения к сетям любого типа, включая беспроводные локальные сети (WLANs), беспроводные глобальные сети (WWANs), беспроводные сети без точки доступа с соединением типа «каждый с каждым» (ad hoc wireless networks), и виртуальные частные сети (VPNs). Подключившись к сети, пользователь Windows Vista с помощью Network Explorer (Проводника сети) может просматривать такие ресурсы сети, как компьютеры, устройства, папки, к которым открыт общий доступ, а также видеть других подключенных пользователей. Скорость и надежность, с которой происходит обнаружение в сети компьютеров, серверов и устройств, значительно улучшены по сравнению с Windows XP.
В Windows Vista теперь появился новый заданный по умолчанию режим максимально сниженного энергопотребления, который называется Режим Сна (Sleep mode). Режим Сна сочетает в себе быстроту, с которой происходило восстановление работоспособности системы при использовании Ждущего режима (Standby mode) системы Windows XP с защищенностью данных и низкой потребляемой мощностью, которые обеспечивал Спящий режим (Hibernate). В Режиме Сна (Sleep state), Windows Vista производит запись содержимого оперативной памяти на жесткий диск, точно так же как и в Спящем режиме (Hibernate), однако непродолжительный промежуток времени все еще поддерживается питание оперативной памяти точно так же, как это было при использовании Ждущего режима (Standby mode) в Windows XP.
Операционная система Linux
Linux — многозадачная и многопользовательская операционная система для бизнеса, образования и индивидуального программирования.
Создана в 1991 году и официально выпущенная в 1994 Линусом Торвальдсом. Это единственная популярная ОС, созданная любителем. Поддерживается и дополняется сотнями энтузиастов всего мира.
Linux принадлежит семейству UNIX-подобных операционных систем, которая может работать на компьютерах Intel 80386,80486 и Pentium. Рекомендуемые конфигурации компьютеров: минимум — Intel 80386 DX 40MHz/4Mb (RAM) /80Mb (HDD); рекомендуемое — Pentium 100MHz/16Mb/540Mb; оптимальное — Pentium 133MHz/32Mb/1Gb. Linux поддерживает широкий спектр программных пакетов от TeX до X Windows, компиляторов GNU C/C++, протоколов TCP/IP. Это гибкая реализация ОС UNIX, свободно распространяемая под генеральной лицензией GNU. Linux может любой вышеназванный персональный компьютер превратить в рабочую станцию. Бизнесмены инсталлируют Linux в сетях машин, используют операционную систему для обработки данных в сфере финансов, медицины, распределенной обработки, в телекоммуникациях и т. д.
Linux — свободно распространяемая версия UNIX, первоначально была разработана Линусом Торвальдсом (Linus Torvalds). Linux был создан с помощью многих UNIX-программистов и энтузиастов из Internet, тех, кто имеет достаточно навыков и способностей развивать систему
5-го октября 1991 года Линус объявил первую «официальную» версию Linux, версия 0.02.
Системные характеристики Linux — это полная многозадачная многопользовательская операционная система (точно также как и другие версии UNIX). Linux достаточно хорошо совместим с рядом стандартов для на уровне исходных текстов, включая IEEE POSIX. 1, System V и BSD. Он создавался имея в виду такую совместимость. Другие специфические внутренние черты Linux включают контроль работ по стандарту POSIX (используемый оболочками, такими как csh и bash), псевдотерминалы (pty), поддержку национальных и стандартных клавиатур динамически загружаемыми драйверами клавиатур.
Приобретение и инсталляция Linux. Мы уже говорили, что не существует «официального» дистрибутива Linux. Существует много дистрибутивов, каждый из которых хорош для определенных целей. Эти дистрибутивы можно взять с ftp-серверов Internet, с BBS, на дискетах и CD-ROM. Если у вас есть доступ к Internet, простейший способ получить Linux — это по FTP. Если вы не имеете прямого доступа к Internet, то можно получить Linux через сервис ftpmail по электронной почте.
Сетевые ОС
Сетевые ОС — комплекс программ, обеспечивающих обработку, передачу и хранение данных в сети ПК. Сетевая ОС предоставляет пользователю различные виды сетевых услуг (электронная почта, выход в Internet, автоответчики и т.п.). Сетевые ОС используют архитектуру клиент-сервер или одно-ранговую архитектуру.
Вначале сетевые ОС поддерживали лишь локальные вычислительные сети (ЛВС), сейчас ОС распространяются на ассоциации локальных сетей. Наиболее распространены LAN Server, NetWare, VINES, Windows NT. Оцениваются по производительности, разнообразию возможностей связи.
Обзор сетевых операционных систем
Большое разнообразие типов компьютеров, используемых в вычислительных сетях, влечет за собой разнообразие операционных систем: для рабочих станций, для серверов сетей уровня отдела и серверов уровня предприятия в целом. К ним могут предъявляться различные требования по производительности и функциональным возможностям, желательно, чтобы они обладали свойством совместимости, которое позволило бы обеспечить совместную работу различных ОС.
Сетевые ОС могут быть разделены на две группы: масштаба отдела и масштаба предприятия. ОС для отделов или рабочих групп обеспечивают набор сетевых сервисов, включая разделение файлов, приложений и принтеров. Они также должны обеспечивать свойства отказоустойчивости, например, работать с RAID-массивами, поддерживать кластерные архитектуры. Сетевые ОС отделов обычно более просты в установке и управлении по сравнению с сетевыми ОС предприятия, у них меньше функциональных свойств, они меньше защищают данные и имеют более слабые возможности по взаимодействию с другими типами сетей, а также худшую
Корпоративная сетевая ОС должна поддерживать более сложные сервисы. Подобно сетевой ОС рабочих групп, сетевая ОС масштаба предприятия должна позволять пользователям разделять файлы, приложения и принтеры, причем делать это для большего количества пользователей и объема данных и с более высокой производительностью. Кроме того, сетевая ОС масштаба предприятия обеспечивает возможность соединения разнородных систем — как рабочих станций, так и серверов. Например, даже если ОС работает на платформе Intel, она должна поддерживать рабочие станции UNIX, работающие на RISC-платформах. Аналогично, серверная ОС, работающая на RISC-компьютере, должна поддерживать DOS, Windows и OS/2. Сетевая ОС масштаба предприятия должна поддерживать несколько стеков протоколов (таких как TCP/IP, IPX/SPX, NetBIOS, DECnet и OSI), обеспечивая простой доступ к удаленным ресурсам, удобные процедуры управления сервисами, включая агентов для систем управления сетью.
Важным элементом сетевой ОС масштаба предприятия является централизованная справочная служба, в которой хранятся данные о пользователях и разделяемых ресурсах сети. Такая служба, называемая также службой каталогов, обеспечивает единый логический вход пользователя в сеть и предоставляет ему удобные средства просмотра всех доступных ему ресурсов. Администратор, при наличии в сети централизованной справочной службы, избавлен от необходимости заводить на каждом сервере повторяющийся список пользователей, а значит избавлен от большого количества рутинной работы и от потенциальных ошибок при определении состава пользователей и их прав на каждом сервере.
Такие сетевые ОС, как Banyan Vines, Novell NetWare 4.x, IBM LAN Server, Sun NFS, Microsoft LAN Manager и Windows NT Server, могут служить в качестве операционной системы предприятия, в то время как ОС NetWare 3.x, Personal Ware, Artisoft LANtastic больше подходят для небольших рабочих групп.
Критериями для выбора ОС масштаба предприятия являются следующие характеристики:
· Органичная поддержка многосерверной сети;
· Высокая эффективность файловых операций;
· Возможность эффективной интеграции с другими ОС;
· Наличие централизованной масштабируемой справочной службы;
· Хорошие перспективы развития;
· Эффективная работа удаленных пользователей;
· Разнообразные сервисы: файл-сервис, принт-сервис, безопасность данных и отказоустойчивость, архивирование данных, служба обмена сообщениями, разнообразные базы данных и другие;
· Разнообразные программно-аппаратные хост-платформы: IBM SNA, DEC NSA, UNIX;
· Разнообразные транспортные протоколы: TCP/IP, IPX/SPX, NetBIOS, AppleTalk;
· Поддержка многообразных операционных систем конечных пользователей: DOS, UNIX, OS/2, Mac;
· Поддержка сетевого оборудования стандартов Ethernet, Token Ring, FDDI, ARCnet;
· Наличие популярных прикладных интерфейсов и механизмов вызова удаленных процедур RPC;
· Возможность взаимодействия с системой контроля и управления сетью, поддержка стандартов управления сетью SNMP.
Конечно, ни одна из существующих сетевых ОС не отвечает в полном объеме перечисленным требованиям, поэтому выбор сетевой ОС, как правило, осуществляется с учетом производственной ситуации и опыта. В таблице приведены основные характеристики популярных и доступных в настоящее время сетевых ОС.
Драйверы
К системным программам относятся так называемые драйверы — это один из важнейших классов системных программ. Их задача — расширить возможности OC DOS по управлению внешними устройствами.
Драйвером называется программа, управляющая отдельным внешним или внутренним устройством компьютера, например, принтером, сетевой картой.
Суть в том, что каждое внешнее устройство — принтер, мышь, сканер, модем и т. д. требуют свою собственную программу, которая умеет им управлять, поскольку управление каждым устройством строго индивидуально. Например, управление клавиатурой и печатающим устройством совершенно различно. Даже в одном классе внешних устройств, например принтеров каждый принтер управляется своей собственной программой, которая специально для него разрабатывается, записывается на дискету и передается пользователю при покупке устройства.
Большинство ОС содержит в своем комплекте немало драйверов и ОС устанавливает те драйверы при загрузке ПК, которые указаны пользователем для поддержки различных внешних устройств в файле AUTO EXE.BAT
Сервисное программное обеспечение
Называется набор дополнительно установленных программ, которые разделяются по функциональному признаку. Часто их называют утилитами — служат для выполнения вспомогательных операций обработки данных и обслуживания компьютеров. Рассмотрим наиболее распространенные
Программы диагностики компьютера — это программы, которые проверяют состояние и исправность как в целом всего ПК, так и отдельных его блоков. Эти программы позволяют проверить тип процессора, количества памяти, число дисков и их типы, а также внешние устройства ПК. Информация об этом выводится на дисплей. Они работают в среде DOS в для Windows.
Программы лечения дисков. Это программы, которые позволяют устранить логические дефекты на гибких и жестких дисках. Они проверяют состояние дорожек, секторов, кластеров. При повреждении какого-то кластера, они перемещают информация с него в исправный кластер, а поврежденный логически помечают, так чтобы при дальнейшей работе поврежденный кластер не использовался.
Программы оптимизации дисков позволяют обеспечить более быстрый доступ к информации на диске за счет оптимизации размещения данных на диске. Эти программы перемещают все участки каждого файла друг к другу, так как составные части одного и того же файла могут располагаться в разных частях диска, что замедляет их поиск и передачу данных пользователю (Speed Disk).
Программы сжатия дисков (динамического) Stacker фирмы Scat Electronics, Double Space/ Drive Space фирмы Microsoft. Эти программы позволяют увеличить количество информации, хранимой на дисках путем её динамического сжатия. Они создают виртуальные (псевдо) диски, с которыми пользователь работает, как с обычными дисками, но информация в них хранится в сжатом виде в виде файлов на обычном диске. При записи на «сжатый диск» данные автоматически сжимаются, а при чтении автоматически разжимаются и восстанавливаются в исходном виде. Эта программа для хранения программ дает увеличение ёмкости в 1,5 раза, а для баз данных оно может достигать 4—5 раз.
Программы — русификаторы — это программы, приспосабливающие программы на другом языке для работы с русскими буквами или текстами. Иногда переводятся на русский её меню и сообщения. Ранее эти программы были широко распространены, но сейчас наиболее распространенные программы переводятся на русский (при сохранении английского интерфейса) фирмами разработчиками. Однако, для ОС DOS, Windows русификаторы по-прежнему продаются, так как они порой удобнее штатных средств ОС. Обычно русификатор включает драйвер клавиатуры, обеспечивая ввод шрифтов и русских букв на экран.
Программы ограничения доступа — защищают ПК и отдельные его файлы или диски от нежелательных или не квалифицированных пользователей. Защита может осуществляться с помощью паролей, или предоставляя возможность работы с ПК в строго определенное время. Это необходимо для хранения строго конфиденциальной информации или для того, чтобы при неумелом пользовании не могли быть стёрты системные файлы. Однако в последнее время появились программы — взломщики или хакерные программы. Эти программы путем перебора комбинаций цифр и букв находят соответствующие пароли и тем самым взламывают запрет на доступ. Иногда эта программа полезна, в случае, если пользователь забыл правильный пароль. Пользуясь подобными программами необходимо учесть, что в некоторых странах, например в США действия хакеров строго наказываются, вплоть до тюремного заключения.
Анти–вирусные программы — осуществляют поиск и защиту программного обеспечения ПК от компьютерных вирусов. Доктор Web, антиспид, антивирус. Эти программы осуществляют поиск и проверку ПК на заражение вирусом, который может попасть туда через зараженные дискеты, компакт-диски или быть в составе нового программного продукта, прийти по сети. Иногда такие программы тестируют ПК в момент его включения.
Коммуникационные программы — предназначены для организации обмена информацией между ПК по телефонной сети, посылать и принимать факс — сообщения. Сейчас такие программы входят в состав пакетов Norton-Commander и Windows. Тоже можно проделать соединив ПК кабелем через посл. или паралл. порты.
Прикладные программы
Прикладные программы — это пользовательские программы, которых разработано великое множество для самых различных целей. В том числе и такие широко используемые программы, как электронная таблица Excel, система управления базами данных Access, текстовые редакторы для создания документов любой сложности Word, графические редакторы Paint, PhotoShop, CorelDraw, позволяющие создавать и обрабатывать на компьютере картинки, фотографии. Некоторые программы комплексно охватывают отдельные проблемы. Такие программы называют пакетами.
Пакеты прикладных программ
Пакеты прикладных программ (ППП) создаются для решения научно-технических и практических задач специалистами в данной области и программистами. Отличаются от обычных программ комплексным охватом проблемы. ППП разделяются по назначению (рис 20).
Проблемно ориентированные — это программы, которые сориентированы на одну определенную область использования. Например, бухгалтерия, кадры предприятия, управление производством, банковское дело. Эти программы предназначены для использования специалистами узкого профиля, имеющими навыки работы в данной области.
Методически — ориентированные ППП обеспечивают решение математических, статистических и физических задач не зависимо от области их применения. Например, MatchCAD обеспечивает решение большинства математических задач, автоматически решая заданные уравнения при заданных условиях, например, дифференциальные уравнения, матрицы и т. д.
ППП общего назначения предназначены для широкого круга пользователей и поддержки информационных технологий. Например, системы управления базами данных, составления и обработки отчетов с подведением итога, хранения информации и её обновления. К ним относятся различные словари, переводчики, медицинские справочники, обучающие программы, например английского языка, в том числе игровые, а также:
1) СУБД — системы управления базами данных на автономных компьютерах, включающих режимы конструктора — т.е. обеспечение возможности создания таблиц, форм, меню и т.д.;
2) серверы баз данных — предназначенные для создания и хранения баз данных при работе в сети в архитектуре клиент-сервер. Серверы баз данных всю обработку данных — хранение, поиск, извлечение и передачу клиенту ведут самостоятельно;
3) генераторы отчетов — обеспечивают формирование отчетов по запросам клиентов в архитектуре клиент — сервер;
4) текстовые процессоры — автоматически форматируют документы, вставляют рисунки, проверяют орфографию.
Системы искусственного интеллекта — реализуют отдельные функции интеллекта человека. Её основные компоненты — база знаний, интеллектуальный интерфейс с пользователем и программа формирования логических выводов. К ним относятся: программы — оболочки экспертных систем, системы анализа и распознавания речи, отпечатков пальцев и т. д.
ППП автоматизированного проектирования — предназначены для инженеров-конструкторов, технологов, чертежников. Упрощают процессы разработки чертежей, схем, диаграмм и графическое моделирование, дизайн. Например, AutoCAD — программа, позволяющая рисовать различные как машиностроительные, так и электрические чертежи с помощью встроенных функций и набора элементов стандартных, библиотеки часто меняющихся чертежей, демонстраций действия.
Офисные ППП предназначены для обеспечения организационного управления деятельностью офиса. Это чаще всего:
а) органайзеры (планировщики) для планирования рабочего времени, расписания, составления протоколов встреч, телефонов. В состав органайзеров чаще всего входят: калькулятор, часы, календарь;
б) программы обработки текста — перевода, сканирования, проверки орфографии, выбора шрифта и т.п.;
в) коммуникационные для организации взаимодействия пользователя с удаленными абонентами и ресурсами сетей, электронной почты. Они обеспечивают шифрование информации, ее прием и передачу, сохранение и оценку через абонентскую сеть, автоматический ответ, определение номера звонящего и соединение его или, наоборот, запрет. Например, программа определяет номер звонящего, уточняет можно ли его соединить по заложенной в нее информации и, получив запрет, посылать в ответ сигнал занятости (короткие гудки).
ППП средств мультимедиа предназначены для работы пользователя со звукозаписью, средствами видеотехники, голоса. Появился относительно недавно в связи с появлением лазерных дисков высокой плотности и по доступным ценам. Занимают лидирующее положение в сфере библиотечного дела, обучения, библиотек звукозаписи, создание аудио и видео информации.
Настольные издательские системы обеспечивают информационную технологию компьютерной издательской деятельности — редактирование, разбивка по форматам, верстку печатной страницы, дизайн, регулировку цветного оформления, расширяя возможности традиционной офисной печати, обработки фотографий.
В Windows имеется программный пакет Microsoft Office. В его состав входят:
· WORD — мощный текстовый редактор, позволяющий быстро создать документ любой сложности из разрозненных заметок и довести до совершенства информационный бюллетень или брошюру. Он является сегодня самой популярной в мире программой. Word начинен “ быстрыми “ командами и самыми современными средствами, такими как встроенная программа проверки правописания и словарь синонимов, которые помогают вам грамотно составлять документы, и готовыми шаблонами, позволяющими вам сводить воедино заметки, письма, счета и брошюры без больших усилий.
· EXCEL — производит с числами то же, что Word с существительными и глаголами. Каждый, кто работает с цифрами, почувствует себя в среде Excel как рыба в воде. Пользуйтесь программой Excel для составления бюджетов и финансовых отчетов, превращения сухих цифр в наглядные диаграммы и графики, проведения анализа типа “ А что будет, если? “ практически по любому вопросу, а также для сортировки длиннейших списков в считанные секунды. С помощью электронных таблиц Excel можно впечатывать числа строку за строкой и столбец за столбцом, будучи вполне уверенным в том, что Excel правильно сложит, вычтет, умножит, разделит и вообще обойдется с ними как следует.
· ACCESS — система управления базами данных (СУБД), с помощью которой создают и ведут обработку баз данных. Эта программа предоставляет значительные возможности по работе с хранящимися документами, их обработке и совместному использованию. Позволяет сортировать данные, вычислять итоговые значения, поддерживает экспорт и импорт данных из текстовых файлов и электронных таблиц.
· PowerPoint — позволит профессионально подготовить презентацию, щегольнув броской графикой и эффектно оформленными тезисами.
Презентация — это набор слайдов и спецэффектов, сопровождающих их показ на экране, раздаточный материал, а также конспект и план доклада, хранящиеся в одном файле, созданным с помощью PowerPoint.
Слайд — это отдельный кадр презентации, который может включать в себя заголовок, текст, графику, диаграммы и т. д. Созданное средствами Powerpoint слайды можно распечатать на черно-белом или цветном принтере.
Раздаточный материал — в качестве раздаточного материала служат распечатанные в компактном виде слайды презентации: два, четыре или
шесть слайдов на одной странице.
Конспект доклада — в процессе работы над презентацией в PowerPoint
можно получить конспект доклада, при печати которого на каждой странице будет выведено уменьшенное изображение слайда и текст, поясняющий его содержание.
Инструменты технологии программирования
В настоящее время бурно развивается направление технологии создания программных продуктов — программотехника — создание, отладка, внедрение программного обеспечения, которое требует своего инструмента — тоже программного обеспечения технологии программирования (ИТП). Ниже на схеме показана классификация этих инструментов (рис. 21).
Здесь средствами для создания приложений называется совокупность язы
ков и систем программирования, а также различные программы для отладки и поддержки создаваемых программ.
Язык программирования — формализованный язык для описания алгоритма решения задачи на компьютере. Различают машинные языки — воспринимаемые аппаратной частью ПК, машинно-ориентированные языки — которые отражают структуру конкретного типа компьютера (ассемблеры). Алгоритмические языки — не зависящие от архитектуры ПК и отражающие алгоритмическую структуру (Паскаль, Си). Процедурно — ориентированные языки, описывающие программы как совокупность процедур (подпрограмм). Системы программирования — это специальные программы, предназначенные для трассировки, анализа, отладки и компилирования других программ. Эти системы позволяют проверять наличие ошибок в создаваемой программе.
Инструментальная среда пользователя содержит библиотеки функций, конструкторы экранных форм, программные модули-вставки, например, окна.
Интегрированные среды разработки программ предназначены для повышения производительности труда программистов, разработка приложений для архитектуры клиент-сервер, запросов и отчетов.
CASE (Computer — Aided System Engineering) — технологией называется программный комплекс, автоматизирующий весь технологический процесс анализа, проектирования, разработки и сопровождение сложных программных систем. Разделяется:
— на встроенные в систему реализации — все решения по проектированию и реализации привязаны к выбранной системе управления базами данных (СУБД);
— независимые от средств реализации — все решения по проектированию ориентированы на создание средств документирования и обеспечения гибкости в выборе средств реализации.
Основное достоинство CASE-технологий — поддержка коллективной работы над проектом за счет возможности работы в локальной сети разработчиков, экспорта / импорта любых фрагментов проекта.
Основы программирования
Составление программы для ЭВМ и их эксплуатация — это сложный и трудоемкий процесс, который условно можно разбить на следующие этапы:
1. Постановка задачи — что дано, что найти;
2. Составление ее математической модели — как решить;
3. Составление алгоритма хода решения;
4. Программирование (написание программы и ее компиляция) — как сделать понятным для компьютера.
5. Отладка программы, тестирование ее.
Постановка задачи — это описание содержания работы, единиц измерения исходных величин и ожидаемых результатов. Задача должна быть поставлена конкретно, т.е. так, чтобы исходных данных было достаточно для ее решения. Четко формулируются исходные данные и условия задачи. «Что дано», «что найти». Здесь необходимо дать описание того, что требуется сделать и как. Какие единицы измерения исходных величин должны быть использованы, что ожидается после окончания всех работ. На этом этапе устраняются все тонкости и особенности данной проблемы, условия ее решения. Устанавливаются все связи и зависимости. Часто задача расчленяется на части и решается отдельными блоками, которые на конечном этапе соединяются вместе.
Математическое моделирование есть замена реального объекта, процесса или явления его математическим описанием с помощью формул математического аппарата. Математическая модель — формализует эту задачу в форме математических символов, в формулах. Например площадь прямоугольника выражается формулой S = L * H, площадь круга — S = П * R2. В более сложных случаях составляются системы дифференциальных уравнений, описывающих реальный объект, оговариваются допущения, постоянные и переменные. Затем изменяется значение отдельных переменных, исследуют их влияние на конечный результат и характер закономерностей этого влияния. Чем удачнее будет подобрана математическая модель, чем лучше она будет отражать характерные черты изучаемого явления, тем успешнее будет исследование и точнее полученный результат.
Математические модели имеют следующие свойства:
1.Модель не тождественна объекту;
2. Приближенная модель дает приближенный результат;
3. Для одной и той же задачи можно принять несколько различных моделей.
Общих способов построения математических моделей не существует. В каждом конкретном случае модель выбирается исходя из характера рассматриваемого явления, его целевой направленности, с учетом задачи исследования (какие параметры требуется определить и влияние каких факторов отразить). Математическая модель должна отражать важнейшие черты явления, все существенные факторы, от которых в основном зависит течение того или иного явления. Вместе с тем модель должна быть по возможности простой, не «засоренной» массой второстепенных факторов.
Поскольку математическая модель конкретной задачи не является единственно возможной, всегда полезно не верить слепо ни одной модели, а сличать результаты, полученные по разным моделям. При этом одну и ту же задачу решают не один раз, а несколько, пользуясь разной системой допущений, разным аппаратом, разными моделями. Если научные выводы от модели к модели меняются мало — это серьезный аргумент в пользу объективности исследования. Если они существенно расходятся, надо пересмотреть концепции, положенные в основу различных моделей, посмотреть, какая из них более адекватна действительности.
Составление алгоритма решения поставленной задачи начинается после разработки математической модели.
Алгоритмом называется конечная последовательность действий по решению задач по заданным правилам. Составление алгоритма — это разработка хода решения поставленной задачи. Алгоритм решения указывает порядок применения формул и очередность этапов решения проблемы.
Алгоритмы тоже имеют следующие свойства:
1.Дискретность; 2. Однозначность; 3. Конечность; 4. Результативность; 5.Массовость; 6.Правильность.
Дискретность означает, что все действия выполняются поэтапно.
Однозначность означает единственность толкования правил выполнения действий.
Конечность означает обязательность завершения каждого из действий, составляющих алгоритмы.
Результативность означает, что выполнение алгоритмов должно завершаться определенным результатом.
Массовость означает возможность применения алгоритмов для целого класса задач, отвечающих общей постановке задачи.
Правильность означает получение правильного результата.
При составление алгоритма чаще всего используют типовые модели алгоритмических структур. Различают типовые модели:
В линейной структуре все действия выполняются один за другим, и их последовательность не нарушается.
В разветвленной структуре последовательность действий разветвляется два направления. Здесь реализуется условие «если» или «да» — «нет».
В циклической структуре реализуется выполнение одного и того же действия до заданного предела.
Программирование шифрует разработанный алгоритм с помощью алгоритмических языков высокого уровня, который затем компилятор переводит на низкий уровень, шифруя все данные через язык единиц и нулей. Эта операция необходима по следующим причинам. Процессор компьютера работает на низком, двоичном ровне, понимая только значения 1 и 0. Создавать же программы на таком низком уровне очень неудобно и трудоемко. Поэтому программы пишутся на языках высокого уровня, например Паскаль, Си++, Делфи и других, что значительно ускоряет их написание. После написания программы на этих языках программа пере шифруется компилятором — специальной программой — на язык низкого уровня, где все описано только языком единиц и нулей. Программы, написанные на высокого уровня называются исходными (исходники). Эти программы хранятся разработчиком или владельцем, подтверждающим его авторское право. Это подобно тому, как хранят рукописи своих произведений писатели и поэты.
Поэтому алгоритмические языки бывают высокого и низкого уровня
К языкам низкого уровня относится ассемблер. К языкам высокого уровня относятся, как уже указывалось, Турбо Паскаль, Си + +, Delphi и др.
Рассмотрим основы программирования на языке «Паскаль». Этот язык разработан в конце 60-х годов Никлаусом Виртом (Niklaus Wirth), профессором Высшего технического училища в Цюрихе (Швейцария). Широкое распространение этот язык получил благодаря усилиям французского математика Филиппа кана (Philippe Kahn), разработавшего быстрый компилятор для него, который назвал Турбо Паскаль. В последствии он создал фирму (Borland International), которая занималась распространением этого языка.
Язык имеет алфавит, состоящий из символов, 26 заглавных букв латинского алфавита. Арабские цифры 1—10. 32 буквы русского алфавита.
Специальные символы: +, -, *, /, =,:,;, <,>,…
Библиотека зарезервированных слов — and, go to, Begin, write… и т.д., набора определенных стандартных функций.
Выражения строятся из арифметических констант, переменных функций, операторов и операций над ними.
Программа имеет структуру, состоящую из разделов в строго следующем порядке:
Заголовок;
Название меток;
Раздел констант;
Раздел описания типов;
Раздел переменных и их тип;
Раздел процедур и функций;
Раздел операторов.
Раздел операторов заключается в операторные скобки Begin… End.
В разделе констант указываются все постоянные, которые используются в программе.
Раздел описания типов используется, если в программе вводятся типы, отличные от стандартных.
В разделе переменных указываются переменные величины, которые меняются в зависимости от задач. Здесь же указывают тип этих переменных: целые (Integer), вещественные (Real), символьные (Char), логические (Boolean) и т. д.
В разделе процедур и функций записываются программы, которые используются в разделе операторов. Это заранее описанные программы, которые вставляются периодически в разные места тела основной программы. При этом указывается только ее имя, указанное в разделе процедур и функций.
Раздел операторов показывает сам порядок вычисления. Оператор — это процедура, задающая логическую последовательность выполнения определенных действий в расчетах тела программы. Различают операторы ввода — вывода, присваивания, ветвления, цикла и т. д. Операторы могут быть простые и сложные. В сложных операторах введены другие подпрограмммы. Здесь записывается основная программа решения поставленной задачи.
Например, поставлена задача — найти периметр прямоугольника.
Уясняем задачу — надо сложить размер основания с высотой и умножить на два. Единица измерения метр. Обозначим размер основания через «в», а высоту через «а». Математическая модель решения этой задачи будет следующей
Р = (а + в) * 2
Пусть исходные данные будут следующие а= 8, в= 10
Напишем программу.
PROGRAM периметр (input, output);
VAR
а,в,P: INTEGER;
BEGIN
A:= 8; (*сторона А*)
В:= 10; (*сторона В*)
Р:= (А+В) *2; (периметр*)
WRITE (IP); (*вывод значения Р*)
END.
Найти радиус шара (есть константа П)
V= (4/3) ПR3, где R=0.2 П=3.14
PROGRAM объем шара (input, output);
Const PI = 3.14;
VAR
R: REAL;
V: REAL;
Begin
R:=0.2;
V:=4*PI*R*R*R/3;
WRITELEN (*объем шара=:,V:8:3*);
END.
V:8:3*-формат 8-все числа, 3-надробную часть
При отладке программы находится оптимальный её вариант и вероятность ошибок при ее работе.
Основные программы редактирования и работы с текстами
К основным, наиболее широко используемым программам редактирования и работы с текстами, относятся текстовый редактор Microsoft Word, табличный редактор Excel и система управления базами данных Acces.
Текстовый редактор Microsoft Word
Интерфейс редактора Microsoft Word представлен четырьмя главными панелями (рис. 22):
1) панель имени редактируемого документа;
2) панель управления функциями редактора;
3) стандартная панель инструментов;
4) панель форматирования.
Каждая панель содержит функции управления, которые имеют свои подменю (ниспадающие меню), появляющиеся после установки курсора на кнопку данной функции панели.
Первая кнопка панели управления функциями есть кнопка «Файл» (рис. 12). Эта кнопка открывает ниспадающее меню для работы с файлами.
Создать — по этой команде открывается новый документ или web-страница. Документу автоматически присваивается номер 1. Следующему — номер 2 и т. д.
Открыть — по этой команде открывается диалоговое окно с перечнем папок и деревом каталога. При нажатии стрелки ПК выдает перечень дисководов. Если надо открыть файл с диска А, то курсором указывают дисковод, после чего на экране появится перечень файлов диска А. В нижней части окна будет строка запроса, где надо указать тип «Все файлы».
Сохранить как — открывает диалоговое окно с запросом имени файла и его типа. Если ранее имя файла не было указано, то автоматически, в качестве имени, компьютер берет первые слова напечатанного текста. Если необходимо сохранить документ на диске, то указывают его имя: А:,B:,C: и т. д.
Параметры страницы — открывает диалоговое окно указания размеров полей страницы от левого и правого края, а также от ee верха и низа. Здесь же устанавливается ориентация листа бумаги — книжная или альбомная (рис. 13).
Кнопка Размер бумаги на этой же панели задает формат бумаги, например, А4, А3 и т.д., ориентацию: книжная или альбомная, а также образец применения.
Отправить — отправляет документ по электронной почте, факсу, сети Internet.
Свойства — выводит диалоговое окно со статистикой: дату создания документа, его размер в Кбайтах, количество страниц, абзацев, строк, слов и т. д.
Предварительный просмотр — открывает внешний вид всех страниц набранного Вами документа (рис. 14). При этом, выбрав необходимый масштаб, можно просмотреть одну страницу, все страницы или часть отдельной страницы, увеличив ее размер либо кнопкой масштаба, либо щелчком кнопки мыши, установив курсор на нужную страницу. Причём при одном щелчке страница будет увеличиваться, а при другом — уменьшаться. При этом курсор будет иметь вид плюса или минуса.
Отсюда можно также осуществить печать документа, его запись в отдельный файл.
Кнопкой Подгонка страницы можно подогнать страницы так, что их число уменьшится.
Закрыть — закрывает режим просмотра документа и возвращает курсор к текущей странице редактора, с которой работали до просмотра.
все — печать подряд всех страниц документа;
текущая — печать только той страницы документа, с которой работает пользователь в данное время;
номера — печать той страницы документа, номер которой указан в окне;
число копий — указывается количество копий документа, который необходимо напечатать;
вывести на печать — указывается в окне, какие страницы печатаются (не чётные либо чётные или все подряд), что необходимо при двухсторонней печати документа;
печатать в файл — печать документа в специально созданный отдельный файл;
свойства — специальные настройки принтера, например, для цветной печати или печати повышенного качества.
Последняя строка — Выход из программы Word.
Далее идет перечень названия файлов и документов, которые были в работе при данном включении компьютера, например:
1) С:\ wowa. тхт
2) A:\ Вопросы
Их можно открыть простым нажатием на него, а не искать в каталогах, если Вам понадобилось к ним вернуться.
Следующее подменю — «Правка». Содержит функции :
Отменить ввод — отменяет последнюю команду, возвращая к предыдущему виду.
Повторить ввод — повторяет ввод.
Если текст выделить, то добавляются операции.
Вырезать — копирует выделенный блок в буфер обмена, одновременно удаляя его из текста.
Копировать — копирует блок в буфер обмена.
Буфер обмена — выводит панель, которая показывает содержание буфера обмена и даёт варианты выбора этого содержания.
Вставить — вставляет в указанное курсором место то, что скопировано последний раз в буфер обмена.
Специальная вставка — выводить диалоговую панель для выбора формата режима вставки.
Очистить — удаляет выделенный курсором блок.
Выделить все — выделяет весь документ до последнего символа. Этой функцией удобно пользоваться для копирования документа.
Найти — выводит диалоговое окно для поиска необходимой фразы, слова в тексте открытого документа.
Найти и заменить — выводит диалоговое окно замены отдельного слова, фразы или предложения на указанное в строчке в текущем документе.
Перейти — выводит диалоговое окно выбора перехода на нужную страницу, раздел или строчку. При этом вводится номер страницы в открытой строчке.
Подменю панели функций «ВИД» содержит следующие возможности.
Разметка страницы — дает разметку страницы: появляются вертикальные и горизонтальные линии с размерами.
Панели инструментов — выводит подменю.
Стандартная– выводит стандартную панель инструментов и открывает их.
Форматирование — устанавливает и удаляет панели форматирования верхней части экрана под панелью инструментов для работы с текстами, шрифтами, цветом, заливкой.
Рамки — выводит панель для установки рамок.
Рецензирование– выводит панель работы с текстом.
Рисование — выводит панель инструментов для рисования.
Содержит действия: группировать — все рисунки объединяются в один; разгруппировать — один рисунок разбивается на составляющие; порядок — перемещает объект на передний план, задний, вперед, назад, помещает перед текстом, за текстом; сдвиг, выровнять — управляет положением рисунка на странице; автофигуры — дает библиотеку различных структур: линии, стрелки, звездочки, блок–схемы, ленты, выноски; настройка объема — выводит панель работы с объемным изображением рисунков, придавая им объёмный вид. Форма объёмности выбирается из имеющихся в меню, показанном на рис. 21, а; настройка тени — выводит панель работы с тенью. Форма тени выбирается из имеющихся в меню.
Таблицы и границы — выводит диалоговое окно для работы с таблицами.
Настройка — выводит панель работы с инструментами, командами форматирования документов, параметрами.
Линейка — устанавливает изображения линейки на экране как вертикально, так и горизонтально.
Колонтитулы — выводит панель работы вставки автотекста.
Во весь экран — разворачивает документ во весь экран, убирая все дополнительные линейки и панели.
Масштаб — выводит диалоговую панель масштабирования документа.
Панель функций редактора Microsoft Word интерфейса редактора содержит также кнопки функций Вставка и Формат, при нажатии на которые появляются диалоговые окна для установки различных настроек.
Подменю Вставка даёт возможность настройки работы с текстом: проставить нумерацию страниц, вставить символ, отсутствующий на клавиатуре, вставить рисунок или другой объект; включает следующие функции.
Разрыв — начать новую страницу, новую колонку, новый раздел.
Номера страниц — выводит диалоговое окно для установки нумерации страниц и её формата:
положение — показывает, где ставится номер страницы: вверху или внизу;
выравнивание — слева, от центра, справа, внутри, снаружи;
формат номера страницы — при нажатии на эту кнопку выходит диалоговое окно для установления формата, например, 1,2,3,… или I, II, III… или a,b,c,… и т. д.
Дата и время — выводит диалоговое окно по установке формата даты и времени. Одновременно может устанавливать язык, на котором указывается дата и день недели.
Автотекст — выдаёт набор готовых фраз, необходимых для прощания или приветствия, или же предлагает их набрать.
Символ — открывает диалоговое окно с набором символов.
Например: ycfSW¹ÛÍË^§¨©ªâãÀÃÔÑÒ¯®¬X.
Примечание — добавляет в текст примечания и звуковой объект с записью через диалоговое окно.
Сноска — выводит диалоговое окно для установки сносок:
обычную — внизу страницы,
концевую — в конце документа.
Рисунок — выводит диалоговое окно вставки рисунков из картинок библиотеки, из отдельного файла, из автофигур, со сканера, и создание различных диаграмм (рис. 28).
Надпись — выводит диалоговое окно вставки надписи.
Файл — выводит диалоговое окно с перечнем файлов и папок, из которых можно сделать вставку в редактируемый или создаваемый текст.
Объект — выводит диалоговое окно для вставки объекта в документ (рис. 30), где указывается либо приложение (вкладка «Создать»), в котором создается объект, либо файл, содержащий этот объект (вкладка «Создать из файла»).
Закладка — выводит диалоговое окно закладок (рис. 31).
Название — выводит диалоговое окно для наименования рисунков.
Оглавление — устанавливает номера строк оглавления, список иллюстраций, работу с таблицами.
Функция формат — выводит подменю управления шрифтом, колонками, фоном.
Шрифт — выводит диалоговое окно работы со шрифтом
Абзац — выводит диалоговое окно работы с абзацами — их высотой, шириной.
Список — даёт выбор маркированного или нумерованного списка.
Границы и заливка — выводит диалоговое окно для установки рамок:
рамка — устанавливает рамку текста страницы;
тень — создаёт теневой фон текста страницы;
объёмная — создаёт объёмную форму рамки страницы;
тип — даёт выбор типа и толщины линий;
цвет — даёт выбор палитры цвета рамки.
Колонки — даёт разбивку текста на нужное число колонок.
Буквица — выводит диалоговое окно расположения первой заглавной буквы. Здесь же можно установить ее высоту, расстояние от текста (рис. 35).
Автоформат — выводит диалоговое окно форматирования текста с заданием параметров форматирования. При этом необходимо указать, простой это документ, письмо или почтовое сообщение.
Подменю «Сервис». Также содержит панели и окна работы с текстом
Правописание — выводит диалоговое окно исправления грамматических ошибок в тексте.
Язык — выводит диалоговое окно выбора языка, тезауруса (выбора вариантов или синонимов слова), а также автоматическую установку переноса.
Статистика– выводит диалоговое окно статистики текста — количество страниц, символов, строк и т. д.
Автореферат — выводит диалоговое окно для создания автореферата данного текста.
Автозамена– выводит диалоговое окно настроек автоматической установки при работе с текстом, например, автоматическая установка прописной буквы или исправления в случае написания двух подряд прописных букв в начале предложения и т. д.
Исправления — выводит диалоговое окно настройки работы с исправлениями, например, отмечает исправления красным шрифтом, сравнивает версии исправленного текста и бывшего ранее.
Объединить исправления — выводит диалоговое окно выбора файла для объединения с существующим.
Слияние — выводит диалоговое окно выбора слияния двух файлов и соединения их в один.
Конверты и наклейки — выводит диалоговое окно для работы с конвертами, их адресации и создания различного рода наклеек и этикеток.
Макрос — выводит диалоговое окно для работы с макросами.
Шаблоны и настройки — выводит диалоговое окно различных настроек, например, заголовков, стилей и т. п.
Настройка– выводит диалоговое окно настройки команд, панелей инструментов.
Параметры- выводит диалоговое окно настройки параметров работы с текстами, например, вывод рамки ограничения текста, рисунков, имя пользователя и т. д. Дает настройки параметров печати.
Подменю функции «Таблица». Выводит диалоговое окно по созданию различного рода таблиц и работе с ними, например, убрать одну ячейку, столбец или выровнять, выделить их (рис. 37).
Дает возможность преобразования таблицы, сортировки и вставки формул.
Нарисовать таблицу — выводит диалоговое окно по созданию и исправлению таблиц.
Подменю функции «Окно». Дает перечень всех задействованных документов и позволяет переходить через окно на любой из них.
Новое — создает новую копию созданного документа.
Упорядочить все — упорядочить весь документ.
Разделить — делит экран на два, размер которых устанавливается пользователем.
Снять разделение — снимает разделение экрана.
Создание таблиц
Текстовый редактор Microsoft Word, позволяет создавать таблицы различной сложности с помощью функции Таблица. Таблицы в этом редакторе можно построить двумя способами:
1) применив функцию Нарисовать таблицу, и с помощью карандаша и ластика нарисовать все необходимые графы (рис. 39, б); 2) используя функцию Добавить таблицу, в окне которой указать число строк и столбцов.
При нажатии на кнопку Таблица выходит ниспадающее меню с сервисом построения таблиц.
При вызове функции Нарисовать таблицу появляется диалоговое окно с изображением карандаша, ластика, кнопки задания вида линии и её толщины, цвета самой линии, задания внешних границ таблицы, заливки, добавления таблицы, выравнивания ячеек, разбиения ячеек и т. д. Можно также выровнять высоту строк, столбцов, задать автоформат и изменить направление текста на 90 градусов.
Нажимая соответствующие кнопки, можно оформлять таблицу в требуемом виде. Например, для установки вида линии нажимаем кнопку окна задания линии и в вышедшем меню выбираем необходимый тип — сплошная, пунктирная, двойная и т. д. Выбранный тип линии будет показан в окне линии. Так же точно устанавливается толщина линии, которыми будет чертиться таблица и ее цвет.
Нажав на кнопку установки границ, можно у таблицы добавить/убрать какие-либо границы, например, верхнюю, нижнюю или боковые.
Нажав на кнопку заливки ячеек таблицы, можно закрасить ячейки любым цветом.
Нажимая кнопку «Добавить таблицу», можно (к уже созданной таблице) добавить столбцы слева, справа или строки выше, ниже. Можно добавить ячейки, причём размер их может автоматически меняться по мере увеличения текста, если поставить добавление «По содержимому».
Если нажать кнопку «Добавить», то выйдет диалоговое окно для создания таблицы, число строк и столбцов которой можно задать заранее.
Причём здесь можно задать также автоматический подбор ширины столбцов. Кнопка «Автоформат» выводит диалоговое окно для форматирования таблицы.
Второй способ создания таблицы — использовать функцию «Добавить таблицу», в окне которой указать число строк и столбцов.
Создание рисунков
Текстовый редактор Microsoft Word, позволяет создавать рисунки различной сложности с помощью функции Рисование. Рисунки в этом редакторе можно выполнять с помощью панели рисования, которую можно открыть двумя способами:
1) нажав на кнопку «Рисунок» на стандартной панели инструментов;
2) используя функции Вид -Панели инструментов -строка Рисование.
В любом из этих вариантов выйдет панель рисования, чаще всего внизу экрана монитора.
С помощью этой панели можно вставлять всякие типовые фигуры, группировать рисунки, устанавливать тень, вносить в рисунок текст т. д. Поэтому при работе с этой панелью необходимо уметь правильно пользоваться функциями, которые в ней существуют.
Рассмотрим значение кнопок на этой панели. При нажатии на кнопку «Действия», выходит ниспадающее меню с операциями: «Группировать», «Разгруппировать», «Перегруппировать», «Порядок», «Сетка», «Сдвиг», «Выровнять/распределить», «Повернуть/отразить», «Обтекание тестом», «Изменить автофигуру», «По умолчанию для автофигур».
Операции: «Группировать», «Разгруппировать», «Перегруппировать» предназначены для формирования единого рисунка. Чаще всего рисунок создаётся из большого числа фигур и линий, которые существуют как отдельные элементы. При копировании или переносе рисунка он может распасться на части. Поэтому его группируют, т.е. объединяют в одно целое (так же можно сгруппировать несколько рисунков). Для этого нажимают на кнопку со стрелкой и этой стрелкой на экране обводят весь рисунок, после чего нажимают кнопку «Группировать». Если требуется внести исправления в уже созданный и сгруппированный рисунок, до вначале его необходимо разгруппировать, внести исправления, а потом опять сгруппировать.
Следующая кнопка «Порядок». С помощью этой кнопки изображение рисунка можно переместить, сделать за текстом или перед текстом, наложить рисунки друг на друга.
Кнопкой «Сетка» на поверхности редактируемого листа можно установить сетку любых размеров при помощи диалогового окна, которое откроется при нажатии на эту кнопку. Размеры ячейки сетки устанавливаются в диалоговом окне «Привязка к сетке» по вертикали и горизонтали, а для отображения её на экране или скрытия ставят галочку в соответствующем окне.
С помощью кнопок «Сдвиг», «Выровнять/распределить», «Повернуть/отразить» работают с размещением изображения.
При нажатии на кнопку «Автофигуры» выходит табличка с готовыми типовыми фигурами, из которых можно выбрать необходимую, например, стрелку, фигурную скобку, значок Луны или Солнца. Можно выбрать готовые заготовки для сносок, блок — схем.
Для форматирования и работы с рисунками необходимо вначале создать рисунок, затем, установив на него курсор, щёлкнуть по нему правой кнопкой мыши. После этого выходит диалоговое окно, где есть строчка «Отобразить панель настройки изображения». При нажатии на неё, появляется панель настройки изображения (рис. 54). С помощью этой панели можно добавить рисунок, усилить или ослабить изображение, изменить его контрастность, яркость, вырезать его часть, изменить толщину линий, установить обтекание текстом, сделать заливку.
Кроме того, нажав на кнопку «Обтекание текстом» можно добиться того, чтобы рисунок был в тексте, за текстом или в каком-либо другом месте.
Копирование рисунков
При работе с рисунками часто возникает необходимость их копирования или вырезки их части. Может также возникнуть необходимость получить копию рисунка с экрана. Делается это всё следующим образом.
Для копирования рисунка необходимо установить курсор на созданный рисунок и щёлкнуть правой кнопкой мыши. В появившемся диалоговом окне щёлкнуть по надписи «Копировать». Затем установить курсор туда, куда необходимо вставить рисунок, и вновь щёлкнуть правой кнопкой мышки, а в появившемся диалоговом окне щёлкнуть по надписи «Вставить». Если рисунок появится в другом месте, то, установив на нём курсор, и, удерживая его левой кнопкой мыши, перенести на нужное место.
Чтобы получить копию рисунка с экрана, необходимо нажать кнопку «Ctr» и, удерживая её, одновременно нажать кнопку «Print Screen SysRq» на клавиатуре.
При этом всё, что есть на экране монитора, скопируется в оперативную память компьютера. Например, как показано на рис. 57. Для вырезки части рисунка необходимо воспользоваться панелью настройки изображения, для чего установить курсор на созданный рисунок, щёлкнуть по надписи «Отобразить панель настройки изображения», и в ней выбрать кнопку обрезки.
Нанесение надписей внутри рисунков
Для нанесения надписей внутри рисунков необходимо воспользоваться кнопкой «Надпись» на панели рисования.
При нажатии на эту кнопку курсор примет вид крестика, и установив его, куда необходимо вставить рисунок, щёлкнуть правой кнопкой мыши. В появившейся рамке можно внести необходимую надпись.
Табличный процессор Excel
Данный редактор предназначен для создания, редактирования и форматирования таблиц. Главной особенностью EXCEL является возможность проводить расчеты, использовать различные функции и создавать диаграммы (графики).
Каждый документ представляет собой набор таблиц — рабочую книгу, которая состоит из одного или многих рабочих листов. Листы одной рабочей книги обычно связаны между собой тематически. В случае необходимости рабочая книга может содержать десятки, и даже сотни рабочих листов. Каждый рабочий лист имеет название. Это как бы отдельная электронная таблица. В зависимости от формы представления данных в Excel различают листы следующих типов:
— листы таблиц, в которых создаются и обрабатываются таблицы;
— листы диаграмм, предназначенные для размещения диаграмм;
— листы макросов, в которых хранятся макрокоманды автоматизации процесса обработки таблиц. По умолчанию рабочую книгу составляют 16 листов с именами ЛИСТ 1 — ЛИСТ 16. Excel позволяет увеличивать и уменьшать количество листов в книге и выполнять их переименование. Как правило, на одном листе создаётся одна таблица.
Столбцы обозначаются латинскими буквами: А, В, С… Если букв не хватает, используют двухбуквенные обозначения АА, АВ и далее. Максимальное число столбцов в таблице — 256.
Строки нумеруются целыми числами. Максимальное число строк, которое может иметь таблица — 65536.
Ячейки являются наименьшей структурной единицей для размещения данных внутри рабочего листа. Каждая ячейка может содержать данные в виде текста, числовых значений, формул или параметров форматирования. При вводе данных в Excel автоматически распознаётся тип данных и определяет перечень операций, которые могут с ними производиться. По своему содержимому ячейки делятся на исходные (влияющие) и зависимые. В последних вписаны формулы, которые имеют ссылки на другие ячейки таблицы. Следовательно, значения зависимых ячеек определяются содержимым других (влияющих) ячеек таблицы. Ячейка, выбранная с помощью указателя, называется активной или текущей ячейкой. Чтобы изменить высоту или ширину одной ячейки в таблице, нужно изменить ширину столбца или высоту строки, соответственно.
Адрес ячейки предназначен для определения местонахождения ячейки в таблице. Существует два способа записи адресов ячеек:
1) указанием буквы столбцы и номера строки таблицы, перед которыми может записываться знак $, говорящий об абсолютной адресации, например $A$1, $B$5 и т. д. Этот способ используется в Excel по умолчанию и называется стилем «А1» и указывает, что адрес ячейки не должен меняться при копировании, переносе данной ячейки;
2) указанием номера строки и номера столбца, следующих после букв R и С, соответственно. Номера строк и столбцов могут заключатся в квадратные скобки, которые указывают на относительную адресацию. Например, R5C3 адрес ячейки, стоящей на пересечении 5-й строки с 3-м столбцом (равнозначно адресу С5 при первом способе записи), R [1] C4, R3C [7], R [5] C [11] и т. д. Такой способ записи адресов называется стилем «R1C1» и выбирается настройкой параметров функционирования Excel.
Указатель ячейки — это рамка, с помощью которой выделяется активная ячейка таблицы. Указатель перемещается с помощью мыши или клавиш управления курсором.
Форматирование — это задание определённых параметров для внешнего представления данных, записанных в одной или нескольких ячейках. К параметрам форматирования относится вид и размер шрифта, рамка, цвет, выравнивание содержимого ячейки и др. Они задаются с помощью команд меню, контекстного меню или с помощью кнопок панели инструментов. Форматирование ячеек можно выполнить до и после ввода в них значений.
Примечание — как правило, это текст, используемый в качестве комментария к содержимому одной или нескольких ячеек. Примечание может быть также звуковым.
Внешний вид главного меню можно изменить выбором соответствующих параметров функционирования.
Поясним дополнительные элементы окна Excel, отсутствующие в редакторе Word:
Строка формул. Предназначена для отображения и редактирования содержимого текущей ячейки. Строка состоит из трёх частей. В правой части отображается содержимое ячейки, которое можно редактировать с помощью кнопок, расположенных в центре строки. Как правило, ввод данных в ячейку и редактирование ее содержимого осуществляется непосредственно в самой ячейке. Однако эти операции можно выполнить также с помощью курсора ввода, помещенного щелчком мыши в правую часть строки формул. В строке формул всегда отображается формула, записанная в текущей ячейке таблицы, в то время как в самой этой ячейке может наблюдаться результат вычисления по отображаемой формуле.
В левой части, которая называется полем имен, отображается адрес активной ячейки, имя или размер выделенного диапазона ячеек. Список имеющихся имен диапазонов ячеек открывается щелчком мыши по кнопке со стрелкой, расположенной в правой части этого поля. Выбор одного из имен в списке используется для быстрого выделения и перехода к соответствующему диапазону ячеек.
Ярлычки листов и кнопки их прокрутки предназначены для отображения и выбора соответствующего листа рабочей книги.
Строка состояния состоит из двух частей. В левой части появляется краткая справка о назначении выбранной команды меню. Здесь же отображается информация о текущей выполняемой операции.
Правая часть состоит из пяти полей, предназначенных для отображения статуса некоторых функций клавиатуры и текущего режима ввода.
Операции, выполняемые Excel с данными, задаются с помощью команд главного меню, контекстного меню или кнопок панелей инструментов.
Контекстное менюпоявляется на экране после щелчка правой кнопкой мыши на элементе окна программы или окна рабочей книги. Оно содержит команды, отражающие перечень возможных действий по отношению к выделенному элементу: ячейке, строке, столбцу или их диапазонах, панели инструментов и т. д. Вызов контекстного меню представляет собой один из способов выбора команды, выполняющей определенные действия с элементом. Во многих случаях эта же команда может быть инициирована и другими способами, например, нажатием соответствующей кнопки на панели инструментов или выбором этой команды в основном меню.
В зависимости от того, на каких элементах окна Excel или окна рабочей книги расположен указатель мыши, он приобретает разный внешний вид. Внешний вид указателя мыши определяет возможные операции, которые доступны пользователю при щелчке левой кнопкой мыши.
Пакет PowerPoint фирмы Microsoft
PowerPoint — это графический пакет подготовки презентаций и слайд-фильмов. Он предоставляет пользователю все необходимое — мощные функции работы с текстом, включая обрисовку контура текста, средства для рисования, построения диаграмм, широкий набор стандартных иллюстраций и т. п.
Презентация — это набор слайдов и спецэффектов, сопровождающих их показ на экране, раздаточный материал, а также конспект и план доклада, хранящиеся в одном файле, созданным с помощью PowerPoint.
Слайд — это отдельный кадр презентации, который может включать в себя заголовок, текст, графику, диаграммы и т. д. Созданное средствами PowerPoint слайды можно распечатать на черно-белом или цветном принтере.
Раздаточный материал — в качестве раздаточного материала служат распечатанные в компактном виде слайды презентации: два, четыре или шесть слайдов на одной странице.
Конспект доклада — в процессе работы над презентацией в PowerPoint можно получить конспект доклада, при печати которого на каждой странице будет выведено уменьшенное изображение слайда и текст, поясняющий его содержание.
Информационная безопасность
Проблемы информационной безопасности
В последние годы в мире наряду с позитивными процессами, связанными с глобальной информатизацией и созданием условий для построения информационного общества, идут негативные процессы, связанные с милитаризацией и криминализацией информационного пространства. Существо проблемы международной информационной безопасности коренится в лавинообразном характере процесса развития и внедрения новейших информационных и телекоммуникационных технологий. Сегодня к Internet подключено более 200 млн. ЭВМ в почти 250 странах мира на всех континентах. Обеспечивая беспрецедентные возможности накопления, обработки и использования информации, эти технологии одновременно создают фундаментальную зависимость от их нормального функционирования всех сфер жизнедеятельности общества и государства: экономики, политики, культуры, здравоохранения, национальной и международной безопасности. Сеть Internet de facto или потенциально связана с любыми компьютерными сетями от локальных бытовых до сетей силовых ведомств и сетей, используемых для управления национально значимыми отраслями экономики и сфер деятельности. Результаты враждебного воздействия на такие системы могут иметь катастрофические последствия.
Новые угрозы носят транснациональный и трансграничный характер. Информационное оружие не знает географических расстояний, подрывает традиционное понятие государственных границ, делая их технологически проницаемыми. Агрессия может осуществляться «чужими руками» или таким образом, что ответственность за информационное нападение будет возложена на невинное государство или организацию. К характерным чертам информационного оружия следует отнести его качественную универсальность, радикальность воздействия и доступность. Оно отличается широкой свободой в выборе места и времени применения, экономичностью.
Политика информационной безопасности
Политика безопасности определяется как совокупность документированных управленческих решений, направленных на защиту информации и ассоциированных с ней ресурсов. При разработке и проведении ее в жизнь целесообразно руководствоваться следующими принципами:
• невозможность миновать защитные средства;
• усиление самого слабого звена;
• невозможность перехода в небезопасное состояние;
• минимизация привилегий;
• разделение обязанностей;
• эшелонированность обороны;
• разнообразие защитных средств;
• простота и управляемость информационной системы;
• обеспечение всеобщей поддержки мер безопасности.
Поясним смысл перечисленных принципов. Если у злоумышленника или недовольного пользователя появится возможность миновать защитные средства, он, разумеется, так и сделает. Применительно к межсетевым экранам данный принцип означает, что все информационные потоки в защищаемую сеть и из нее должны проходить через экран. Не должно быть «тайных» модемных входов или линий, идущих в обход экрана.
Принцип невозможности перехода в небезопасное состояние означает, что при любых обстоятельствах, в том числе нештатных, защитное средство либо полностью выполняет свои функции, либо полностью блокирует доступ. Образно говоря, если в крепости механизм подъемного моста ломается, мост должен оставаться в поднятом состоянии, препятствуя проходу неприятеля.
Принцип минимизации привилегий предписывает выделять пользователям и администраторам только те права доступа, которые необходимы им для выполнения служебных обязанностей.
Принцип разделения обязанностей предполагает такое распределение ролей и ответственности, при котором один человек не может нарушить критически важный для организации процесс. Это особенно важно, чтобы предотвратить злонамеренные или неквалифицированные действия системного администратора.
Принцип эшелонированности обороны предписывает не полагаться на один защитный рубеж, каким бы надежным он ни казался. За средствами физической защиты должны следовать программно-технические средства и т. д.
Принцип разнообразия защитных средств рекомендует организовывать различные по своему характеру оборонительные рубежи, чтобы от потенциального злоумышленника требовалось овладение разнообразными и, по возможности, несовместимыми между собой навыками (например, умением преодолевать высокую ограду и знанием слабостей нескольких операционных систем).
Очень важен принцип простоты и управляемости информационной системы в целом и защитных средств в особенности. Только для простого защитного средства можно формально или неформально доказать его корректность. Только в простой и управляемой системе можно проверить согласованность конфигурации разных компонентов и осуществить централизованное администрирование.
Последний принцип — всеобщая поддержка мер безопасности — носит нетехнический характер. Если пользователи и/или системные администраторы считают информационную безопасность чем-то излишним или даже враждебным, режим безопасности сформировать заведомо не удастся. Следует с самого начала предусмотреть комплекс мер, направленный на обеспечение лояльности персонала, на постоянное обучение, теоретическое и, главное, практическое.
Как правило, следует придерживаться принципа «все, что не разрешено, запрещено», поскольку «лишний» сетевой сервис может предоставить канал проникновения в корпоративную систему. В принципе, ту же мысль выражает положение «все непонятное опасно».
Уровни режима информационной безопасности
Архитектура сетей подразумевает подключение к внешним открытым сетям, использование внешних сервисов и предоставление собственных сервисов вовне, что предъявляет повышенные требования к защите информации.
Формирование режима информационной безопасности — проблема комплексная. Меры по ее решению можно разделить на три уровня:
• законодательный (законы, нормативные акты, стандарты и т.п.);
• административный (действия общего характера, предпринимаемые руководством организации);
• программно-технический (конкретные технические меры).
Законодательный уровень
В настоящее время наиболее подробным законодательным документом в области информационной безопасности является Уголовный кодекс, точнее говоря, его новая редакция, вступившая в силу в мае 1996 года.
В разделе IX («Преступления против общественной безопасности») имеется глава 28 — «Преступления в сфере компьютерной информации». Она содержит три статьи — 272 («Неправомерный доступ к компьютерной информации»), 273 («Создание, использование и распространение вредоносных программ для ЭВМ») и 274 — «Нарушение правил эксплуатации ЭВМ, системы ЭВМ или их сети».
Уголовный кодекс стоит на страже всех аспектов информационной безопасности, доступности, целостности, конфиденциальности, предусматривая наказания за «уничтожение, блокирование, модификацию и копирование информации, нарушение работы ЭВМ, системы ЭВМ или их сети».
Административный уровень
Определяет порядок доступа к информации путём установления перечня лиц, допущенных к ней и условия этого допуска специальным приказом руководителя. Включает в себя:
1.Назначение ответственного за хранение и использование информации;
2.Устанавливается система изменения паролей,
3. Выдача специальных пропусков,
4.Заведение специальных журналов регистрации пользователей.
5.Разработку специальных процедур пользования конфиденциальной информацией, её хранение
В целом, людей, непосредственно связанных с хранящейся в ЭВМ информацией, можно разделить по уровню её использования на три группы.
1.Системные программисты.
Досконально знают устройство и принципы работы ЭВМ, способны использовать в своих целях все её ресурсы. В основном создают «средства производства» (инструментальные и языковые), т. е. ОС, системные утилиты, трансляторы, СУБД, интегрированные пакеты, оболочки экспертных систем, пакеты графики (в том числе средства защиты ПО и средства её снятия).
Эта категория наиболее опасна, так как от них скрыть информацию почти не возможно.
2.Разработчики прикладного ПО
Пользуясь продукцией системных программистов — «средствами производства», создают «предметы потребления», т. е. системы реального применения — базы данных, электронные таблицы под конкретные заказы, экспертные системы. Они владеют методами программирования и пишут программы, как правило, на языках высокого уровня: Си, Паскале, Прологе, Бейсике, и входных языках СУБД.
Эта категория менее опасна, так как они работают в основном уже созданными программами.
3. Пользователи. В системах, разработанных прикладными программистами, используют программы для получения разного рода информации и вычислительных услуг. Пользователи практически не связаны с программированием.
Эта категория наименее опасна, так как не владеют программированием.
Программно-технический уровень
Различают техническую или аппаратную защиту и программную. Меры программно-технического уровня включают в себя разработку специальных программ и аппаратно — технических устройств, препятствующих несанкционированному допуску посторонних лиц к конфиденциальной информации.
Технические или аппаратные меры защиты информации
Под аппаратными средствами защиты понимаются специальные средства, непосредственно входящие в состав технического обеспечения и выполняющие функции защиты как самостоятельно, так и в комплексе с другими средствами, например с программными. Можно выделить некоторые наиболее важные элементы аппаратной защиты:
1.Защита от сбоев в электропитании;
2.Защита от сбоев серверов, рабочих станций и локальных компьютеров, сетевых карт и т. д.
3.Защита от сбоев дисковых систем, устройств для хранения информации;
4.Защита от утечек информации, несанкционированного доступа.
Защита от сбоев в электропитании
Для защиты от сбоев в электропитании используют:
— источники бесперебойного питания (UPS);
— резервные бензо или дизель-генераторы;
— резервные линии электропитания.
Источники бесперебойного питания, различны по своим техническим и потребительским характеристикам, могут обеспечить питание всей локальной сети или отдельной компьютера в течение какого-то промежутка времени, достаточного для восстановления подачи напряжения или для сохранения информаци.
В противном случае используется следующая функция подобных устройств — компьютер получает сигнал, что UPS перешел на работу от собственных аккумуляторов и время такой автономной работы ограничено. Тогда компьютер выполняет действия по корректному завершению всех выполняющихся программ и отключается.
Большинство источников бесперебойного питания одновременно выполняют функции и стабилизатора напряжения, что является дополнительной защитой от скачков напряжения в сети. Многие современные сетевые устройства — серверы, концентраторы и т. д. — оснащены собственными дублированными системами электропитания.
Крупные организации имеют собственные аварийные электрогенераторы или резервные линии электропитания. Эти линии подключены к разным подстанциям, и при выходе из строя одной них электроснабжение осуществляется с резервной подстанции.
Защита от сбоев процессоров
Один из методов такой защиты — это резервирование особо важных компьютерных подсистем. Для резервирования процессоров применяют симметричное мультипроцессирование.
В системе используется более двух процессоров, и в случае сбоя одного из них, второй продолжает работу так, что пользователи вычислительной системы даже ничего не замечают. Естественно на такую защиту требуется гораздо больше средств, и она стоит дороже.
Защита от сбоев устройств хранения информации.
Организация надежной и эффективной системы резервного копирования и дублирования данных является одной из важнейших задач по обеспечению сохранности информации. Для защиты от сбоев устройств хранения информации применяют:
— на компакт-диски многоразового использования,
— флешь-карты;
— резервные переносные жесткие диски.
В крупных корпоративных сетях устанавливается специализированный архивационный сервер.
В небольших сетях, где установлены один-два сервера, чаще всего применяется установка системы резервного копирования непосредственно в свободные слоты серверов.
Специалисты рекомендуют хранить дубликаты архивов наиболее ценных данных в другом здании, на случай пожара или стихийного бедствия.
В некоторых случаях, когда подобные сбои и потеря информации могут привести к неприемлемой остановке работы, применяются система зеркальных винчестеров. Резервная копия информации формируется в реальном времени, то есть в любой момент времени при выходе из строя одного винчестера система сразу же начинает работать с другим.
В месте с тем, кроме аппаратных средств резервного копирования данных существуют и чисто программные средства архивации.
Защита от утечек информации в сетях
Компьютеры соединяются в сеть при помощи кабелей, проложенных зачастую на большие расстояния. Поэтому не исключается возможность подсоединения к ним злоумышленников для доступа к секретной информации. Поэтому предпочтительна прокладка кабелей на контролируемой территории.
Применение радио для связи между пользователями ПК также создает предпосылки для перехвата конфиденциальных сообщений.
Кроме того, прохождение электрических сигналов по цепям ПК и соединительным кабелям сопровождается возникновением побочных электромагнитных излучений (ПЭМИ) в окружающей среде. Распространение побочных электромагнитных излучений за пределы контролируемой территории на десятки, сотни, а иногда и тысячи метров, создает предпосылки для утечки информации, так как возможен ее перехват с помощью специальных технических средств контроля.
При контроле защиты информации ПК используются специально разработанные тестовые программы, а также специальная аппаратура контроля уровня излучения, которые определяют режим работы ПК, обеспечивающий совместно с другими техническими средствами скрытый режим работы для различных средств разведки.
Использование аппаратной защиты может быть и таким.
1. Установка на разъем специальной заглушки содержащей микросхему и, возможно, элемент питания. Программа проверяет наличие этой заглушки путем проведений специального протокола обмена между ними.
Снятие защиты заключается либо в имитации заглушки, либо в ее воспроизводстве, либо в обнаружении и нейтрализации подпрограммы проверки ее наличия.
2. Наличие платы защиты, вставляемой в слот ПЭВМ. Эту защиту практически невозможно обойти, но такая плата слишком дорога для широкого применения.
Программная защита информации
Программная защита информации сводится к созданию компьютерных программ, которые ограничивают доступ к информации, следят за её сохранностью и конфиденциальностью.
По принадлежности информацию разделяют на информацию разработчика и информацию пользователя.
Информация разработчика в основном защищается от несанкционированного копирования в целях сохранения авторских прав и коммерческой ценности. Разработчик программного обеспечения не боится, если вирус повредит разработанную им выходную программу, поскольку ее исходный вариант на языке программирования у него всегда хранится отдельно. В случае ее повреждения программист снова создаст ее новую, скомпилировав из исходных файлов.
Информация пользователя основном защищается, как конфидециальная, и защищается не только от несанкционированного копирования но и атак хакеров, вирусов. Пользователь боится вирусных атак, поскольку программа им приобретена у разработчика, и в случае ее повреждения возобновить ее он не сможет. Ему придется снова покупать ее у разработчика.
Средства защиты информации разработчика
Для защиты программного обеспечения от копирования разработчики применяют различные варианты схем защиты.
Защиту от несанкционированного копирования можно осуществить следующими способами:
— применением дискеты с дефектом,
— использованием ключевой дискеты,
— установкой серийного номера,
— применением счётчика числа копий,
— защитой от дезассамблирования,
— использование технических отличий компьютеров,
— введение пароля.
При применении дискеты с дефектом защищенные программы поставляются на дискетах, которые записаны каким-либо нестандартным образом или имеют физическое повреждение (например, царапину или прожженную лазером дырку на магнитном покрытии). Такие дискеты нельзя скопировать — их копии не будут полностью соответствовать оригиналам. При своей работе защищенные программы проверяют, находятся ли они на «правильной» дискете, т.е. имеет ли эта дискета особенности, которые были предусмотрены поставщиком программы.
При применении ключевой дискеты защищенные программы копируются на жесткий диск. Программу можно неограниченное число раз копировать на жесткий диск, но при запуске копии программы с жесткого диска необходимо, чтобы в дисковод была вставлена оригинальная дискета с программой («ключевая» дискета).
При защите с помощью серийного номера используется наличие уникального номера в каждом экземпляре программы. При размножении в нее заносится номер, который затем проставляется на экземпляре программы. При обнаружении копии программы у незарегистрированного пользователя можно найти источник похищения. По идеологии защита с использованием серийного номера близка к защите с помощью пароля.
При защите счетчиком установленных копий программы продают с заранее обговоренным числом копий, которые можно получить с дистрибутивной (поставочной) дискеты. Как правило, для такого продукта существует программа установки (инсталляции), которая при очередном копировании уменьшает счетчик числа копий. Если же основную программу скопировать без программы установки, то такая копия, в лучшем случае, не будет работать. Нельзя также скопировать и всю дискету с установочной программой, так как программа установки проверяет оригинальность дискеты, на которой она записана. В основном такую защиту применяют на игровых программах. Этот вид защиты может сочетаться с защитой серийным номером.
Программная защита от дезассемблирования делается следующим образом. Практически любую защиту можно снять или обойти. Поэтому необходимо принять меры, чтобы для «взлома» программы требовались такие же затраты, как и на создание программы, подобной защищаемой, или же покупка программы была бы дешевле. Программу компилируют так, что обратное дезассамблирование не дает реальных результатов и в дальнейшем для получения исходника требуется достаточно большое время..
При использование технических отличий в машине для программной защиты учитывается индивидуальные особенности в технических данных каждой машины.
Как правило, каждая модель ПЭВМ имеет свои индивидуальные особенности. Это можно использовать для проверки уникальности компьютера, на котором установлена программа. например, тактовая частота работы ПК имеет различия, доходящие до +0,001 и даже +0,01 МГц. Если точно измерить частоту, можно проверить уникальность ПЭВМ. Или ППЗУ (ROM) одинаково только для машин одного класса одной и той же фирмы. Поэтому подсчет контрольной суммы ПЗУ может ограничить использование программы одной модификацией машины.
Средства защиты информации пользователя
Информация пользователя защищается следующими способами:
1. Программами управления доступом к информации;
2. Средствами архивации данных (защита от потерь);
3. Антивирусными программами (от атак хакеров и вирусных атак);
4. Криптографическими средствами (шифровка информации);
5. Средства идентификации и аутентификации пользователей;
6. Протоколирование и аудит;
7. Программы защиты сетей.
Возможны также комбинации их.
Защита программами управления доступом к информации
Программы управления доступом к информации разделяются на
общие и специальные.
К общим относятся программы, входящие в состав операционной системы, которые позволяют создавать свою рабочую область в долговременной памяти компьютера (рабочий стол), вход в которую защищен специальным паролем, выбранным пользователем. К таким относятся общеизвестные Windows 2000, NT, XP и другие, подобные им.
К специальным относятся программы, которые создаются применительно к конкретным условиям пользователя или сети.
Особенности защиты паролями
Система парольного доступа сейчас используется повсеместно. В большинстве систем пользователи могут задавать собственные пароли. Выделяя им регистрационные имена, следует предупредить о недопустимости использования фамилий, имен, инициалов своих близких. Пароли, сконструированные на основе номеров телефонов, дат рождений, адресов и т.п., легко расшифровать. Хакеры обычно имеют словари наиболее распространенных паролей. Кроме того, пароль не должен быть очень коротким, так как существуют алгоритмы их быстрой расшифровки. Рекомендуется выбирать пароль не менее чем из семи символов.
Существуют специальные программы (утилиты), позволяющие реализовать механизм так называемого устаревания паролей. Такие системы принуждают пользователя периодически менять пароли. Для многочисленных непривилегированных пользователей этот механизм вряд ли стоит рекомендовать, так как их будет раздражать необходимость часто запоминать новые пароли, и они будут их лишь чередовать (а это еще более опасно, чем иметь один пароль — непривычный набор на клавиатуре легче подсмотреть). Но пароли администратора должны периодически меняться (лучше без использования утилит, а по специальному плану).
Теоретически наиболее безопасный пароль состоит из случайной последовательности букв, знаков препинания и цифр. Но такой пароль трудно запомнить, и администратор еговводит очень медленно, особенно вначале. В современном обществе считается, что медленный ввод пароля при считывании его с бумажки, не обеспечивает оптимального уровня безопасности системы.
Считается, что достаточно надежен пароль, состоящий из двух случайно выбранных слов, разделенных знаком препинания, или из первых букв какой-нибудь фразы, набранных на разных регистрах. Такой пароль соответствует требованиям, предъявляемым к паролям в некоторых сетях, где требуется, чтобы в него входили как строчные, так и прописные буквы, а также знаки препинания и спецсимволы.
Замена пароля должна проводиться по плану, который также не афишируется. Требования к плану замены пароля:
• замена проводится не реже чем раз в три месяца;
• каждый раз, когда увольняется кто-либо из сотрудников, знающих пароль;
• когда безопасность системы поставлена под угрозу.
Программы архивации информации
Иногда резервные копии информации приходится выполнять при общей ограниченности ресурсов размещения данных. В этих случаях используют программную архивацию.
Программами — архиваторами — наз. сервисные программы, предназначенные для сжатия и упаковки файлов в более компактную форму, требующего меньшего объема памяти для хранения информации.
Степень сжатия файлов характеризуется коэффициентом сжатия Кс, — отношением объема сжатого файла к объему исходного файла, и зависит от конкретной программы, метода сжатия и типа исходного файла.
К = Vсжатой / V исходной * 100%
Программы-архиваторы позволяют создавать и такие архивы, для распаковки которых не требуется специальные программы, так как они сами содержат программу распаковки. Такие файлы называют самораспаковывающимися. Их значок отличается от обычного.
Управлять программой-архиватором можно 2 способами:
1) С помощью командной строки, в которой записывается команда запуска с именем архиватора, ключи настройки и имена архивного и исходного файла. Это характерно для ARJ, ZIP, RAR и др.
2) В с помощью меню и функциональных клавиш, позволяющих вести управление в режиме диалога, что более комфортно.
Действие большинства средств архивации основано на использовании алгоритмов сжатия, предложенных в 80-х гг. Абрахамом Лемпелем и Якобом Зивом.
Наиболее известны и популярны следующие виды архиваторов:
ZIP, ARJ для операционных систем DOS. и Windows
TAR для операционной системы Unix
межплатформный формат JAR (Java ARchive)
RAR (все время растет популярность этого нового формата, так как разработаны программы, позволяющие использовать его в операционных системах DOS, Windows и Unix),
Имена архивных файлов обычно имеют расширения про имени программы:
· ZIP — для архивных файлов программ PKZIP\PKUNZIP;
· ARJ — для архивных файлов программ ARJ;
· A01, A02 — для многотомных архивов программы ARJ;
· RAR — для архиватора RAR.
Многофункциональный интегрированный архиватор RAR
Этот архиватор применяется сейчас наиболее часто и стал уже стандартом. Его преимущества:
1) Работает в двух режимах: с помощью меню и командной строки.
2) Поддерживает все другие архиваторы.
3) Высокая степень сжатия (на 10—15% выше обычного)
4) Шифрование с паролем.
Компьютерные вирусы и средства защиты от них
Компьютерными вирусами называются саморазмножающиеся программы, созданные для разрушения логической структуры ПК, уничтожения его программного обеспечения и создания помех или полной блокировки работы ПК.
Основными путями проникновения вирусов в ПК являются съемные диски, дискеты, переносные жесткие диски, которые используются для переноса большого объема информации с ПК на другой лазерный диск и компьютерные сети.
Если вирус попал в ПК, то важно быстрее его обнаружить (принцип медицины — чем раньше болезнь выявлена, тем легче лечить).
Наиболее ярко выраженные признаки наличия вируса в ПК следующие:
— частое зависание и сбои в работе ПК, до этого хорошо работавшего;
— неправильные действия программ, хорошо работавших ранее;
— искажение содержания файлов или их исчезновение;
— изменение размеров файлов;
— вывод на экран непонятных изображений, сообщений;
— появление странных звуковых сигналов;
— уменьшение размера свободного места в оперативной памяти;
— невозможность загрузки оперативной системы.
Различают вирусы по следующим признакам:
1) По среде обитания (сетевые, файловые, загрузочные, файлово-загрузочные):
а) сетевыми вирусами называются вирусы, распространяющиеся по компьютерным сетям и попадающие в ПК по сети;
б) файловыми КВ называются вирусы, которые заражают исполнительные файлы с расширением СОМ, ЕХЕ, а также вспомогательные программные файлы, загружаемые при выполнении других программ. Этот вирус начинает свою работу при запуске той программы, в которой он находится. Попав в другие типы файлов они не получают управления и теряют способности к размножению;
в) загрузочными вирусами называются КВ, которые внедряются в загрузочный сектор диска. Они начинают работу при запуске ПК с заражённого диска, внедрившись в программу запуска системного диска (Master Boot Record). Эти вирусы всегда бывают резидентными и заражают вставляемые дискеты. При этом дискета может быть и не загрузочной, не системной, т. к. на любой дискете есть в наличии сектор загрузчик ОС. Но на системной дискете он находит файлы ОС, загружает их и передаёт им управление, а на несистемной — не находит. Поэтому если в дисководе А осталась заражённая дискета, то в момент перегрузки вирус заразит жёсткий диск;
г) файлово-загрузочные вирусы заражают как загрузочные сектора, так и файлы. Встречаются также вирусы командных файлов, которые формируют (с помощью командных файлов) исполнительный файл на диске, запускают его, он выполняет размножение вируса и вредящие действия. После чего этот файл стирается. Эти вирусы начинают свою работу при выполнении командного файла.
Есть также КВ, заражающие драйверы (программы управления устройствами), перечисленные в файле CONFIQ.SYS при начальной загрузке ПК. Иногда драйверы используются как этап в стратегии распространения вируса. При запуске заражаются драйверы, а при запуске драйвера вирус становится резидентным и заражает файлы на дисках.
В 1995 году появились вирусы, поражающие документы WORD для WINDOWS 6.0 и 7.0. Ранее они не могли поражаться, так как они не содержали исполнительных программ. Однако программисты фирмы MICROSOFT встроили в документы WORD для WINDOWS мощный язык макрокоманд WORDBASIC. При этом команды не видны при редактировании документа и поэтому стало возможно их заражать.
2) По способу заражения среды обитания (резидентные, нерезидентные):
а) резидентные компьютерные вирусы оставляют при заражении в оперативной памяти свою резидентную часть, которая потом перехватывает обращения ОС к объектам заражения (файлам, загрузочным секторам дисков и т.д.) и внедряется в них. Эти вирусы являются активными до выключения ПК или перегрузки;
б) не резидентные вирусы не заражают памяти ПК.
3) По особенностям алгоритма (паразитические, репликаторы или черви, невидимки или стелс-вирусы, мутанты, троянские, полиморфные):
а) паразитические вирусы изменяют содержание файлов диска и могут быть достаточно легко обнаружены и уничтожены;
б) вирусы — репликаторы (иногда называют «червями») распространяются по компьютерным сетям, вычисляют адреса сетевых ПК и записывают по этим адресам свои копии;
в) вирусы-невидимки (стелс-вирусы) — перехватывают обращения операционной системы к пораженным файлам и подставляют вместо своего тела, не зараженные участки диска, почему их очень трудно обезвредить;
г) вирусы — мутанты содержат алгоритм шифровки-расшифровки цепочек байтов тела своей программы, благодаря которым копии одного и того же вируса не имеют ни одной повторяющейся цепочки байтов. Очень опасны;
д) троянские — маскируются под программу и разрушают файловую структуру дисков.
Вирус не может заразить защищенные от записи дискеты, не содержащие программ и исполнительных модулей. Он может их только испортить, но внедриться в них для дальнейшего размножения не может, например, файлы только TXT, графические файлы, документы простых редакторов и т. д. Вирус с них запуститься не может.
е) Полиморфные вирусы — вирусы, постоянно изменяющие (модифицирующие) свое тело для укрытия от обнаружения. В теле этих вирусов не имеется ни одной постоянной цепочки байтов, по которой можно было бы идентифицировать вирус. В частности, они меняют или шифруют свой код при создании каждой копии. Кроме того, они изменяют свою стартовую часть, которая служит для раскодировки остальных команд вируса. Некоторые вирусы подобного типа имеют очень сложный механизм самомодификации. В них каждая значащая команда передается одним из сотен тысяч возможных вариантов.
4) По опасности воздействия (не опасные, опасные, очень опасные):
а) не опасные вирусы — это КВ, которые не осуществляют сознательной порчи информации на ПК и лишь создают неудобства в работе. Например, неожиданный звуковой сигнал, выдача на экран рисунков, а также блокирование клавиатуры, несанкционированные перегрузки ПК;
б) опасные вирусы — это КВ, которые портят информацию, но не приводят к порче файлов более 64 Кбайт;
в) очень опасные вирусы — разрушают логическую структуру ПК, вплоть до несанкционированного форматирования диска, что приводит к полной потере данных.
Антивирусные программы
Антивирусными программами называются программы, осуществляющие обнаружение и защиту от вирусов.
Различают:
1) программы — детекторы;
2) программы — доктора или фаги;
3) программы — ревизоры;
4) программы — фильтры (сторожа);
5) программы — вакцины или иммунизаторы.
Программы — детекторы осуществляют поиск характерной для данного вируса цепочки последовательности байтов (сигнатуры вируса) в оперативной памяти в файлах и при обнаружении выдают соответствующее сообщение. Недостаток их — могут находить только те вирусы, которые известны разработчикам.
Программы — доктора или фаги, не только находят файлы, зараженные вирусами, но и «лечат» их, т.е. удаляют из файла тело программы вируса, возвращая файлы в исходное состояние. Часто такие программы создаются для поиска и уничтожения большого числа типов вирусов. Наиболее известны: Aidstest, Scan, Norton Antivirus. Эти программы также нуждаются в обновлении их версий, так как появляются новые КВ.
Программы — ревизоры, это программы, которые заполняют исходное состояние программ, каталогов и загрузочных областей диска тогда, когда ПК не заражен и периодически сравнивают их состояние с исходным. Обнаруженные различия выводятся на экран. Сравнение проводится сразу после загрузки ОС. При этом проверяются длина файла, дата и время модификации и т. д. Это наиболее надежные программы, которые обнаруживают стелс-КВ.
Программы — фильтры или «Сторожа» — это небольшие резидентные программы, предназначенные для обнаружения подозрительных действий при работе ПК, характерных для вирусов. Такими действиями могут быть:
а) попытка корректировки файлов с расширением COM и EXE;
б) изменение атрибутов файлов;
в) запись в загрузочные сектора;
г) загрузка резидентной программы.
При попытке программ произвести указанные действия «Сторож» посылает пользователю сообщение об этом и предлагает запретить или разрешить эти действия. «Фильтры» хороши тем, что обнаруживают вирус на самой ранней стадии его появления. Недостаток — не лечат и порой назойливы. Применяются редко.
Программа — ревизор ADINF позволяет выявлять появление любых вирусов, включая стелс-вирусы, мутанты и неизвестные сегодня. Программа создана в 1991 году Д. Ю. Мосшовым. Программа запоминает состояние системных областей дисков, длину и контрольную сумму файлов, дату и время создания файлов.
На протяжении работы ПК, программа следит за сохранностью этих характеристик. Работает очень быстро. Поэтому проверку с её помощью дисков выполняют при каждом включении ПК автоматически.
Эта программа может проверять диски не используя средства DOS, а обращаясь прямо в BIOS ПК, поэтому вирусы — невидимки не могут обмануть её, так как АDINF сравнивает информацию о файлах и системных областях диска, полученную от DOSа, и в случае расхождения сообщает о вирусе. Работает в диалоговом режиме (меню) и командной строкой.
Программа — детектор Dr. Web. Создана в 1994 году И. А. Даниловым. Это более сложная программа. Она снабжена эмулятором процессора, позволяющим имитировать выполнение программы; эвристическим анализатором, дающим возможность выявлять при такой имитации подозрительное поведение анализируемой программы, обнаруживая, тем самым, новые неизвестные Dr. Web вирусы. Её достоинства:
а) распознаёт полиаморфные вирусы;
б) выявляет значительную часть неизвестных ей вирусов;
в) умеет проверять и лечить файлы в архивах и упакованные.
Имеет три уровня эвристического анализа.
Работает в двух режимах:
1) в режиме полноэкранного интерфейса с использованием меню и диалоговых окон;
2) в режиме управления через командную строку.
По организации своей работы антивирусы делятся на две группы: сканеры и мониторы. Антивирусные сканеры проверяют систему только тогда, когда Вы их запускаете: анализируют содержимое оперативной памяти, прочёсывают диск, отыскивая заразу. Найдя оную, — лечат или стирают. Проработав, отключаются. Антивирусные мониторы (сторожа) работают постоянно (это называется «резидентно»), проверяя на лету всю информацию, которую программы собираются писать на диск или просто держат в памяти.
Основные меры защиты от КВ
1) Обязательное наличие антивирусных программ.
2) Перед считыванием информации с дискет необходимо проверять их антивирусными программами.
3) При переносе архивированных файлов следует проверять их сразу после распаковки.
4) Всегда нужно защищать от записи свои дискеты и только если есть необходимость, то снимать защиту.
5) Не оставлять в дисководе дискеты, при включении или перегрузке ПК.
6) Использовать антивирусные программы для контроля всех исполняемых файлов, получаемых из сетей.
7) Делать копии (архивные) всех файлов с ценной информацией.
Криптографические методы защиты
Криптографические методы защиты информации — это специальные методы шифрования, кодирования или иного преобразования информации, в результате которого ее содержание становится недоступным без предъявления ключа криптограммы и обратного преобразования.
Криптографический метод защиты, безусловно, самый надежный метод защиты, так как охраняется непосредственно сама информация, а не доступ к ней (например, зашифрованный файл нельзя прочесть даже в случае кражи носителя). Данный метод защиты реализуется в виде программ или пакетов программ.
Шифрование — преобразовательный процесс: исходный текст, который носит также название открытого текста, заменяется шифрованным текстом.
Дешифрование — обратный шифрованию процесс. На основе ключа шифрованный текст преобразуется в исходный.
Ключ — информация, необходимая для беспрепятственного шифрования и дешифрования текстов.
Шифрование данных может осуществляться в режимах On-line (в темпе поступления информации) и Off-line (автономном).
При автономном наиболее распространены два алгоритма.
Стандарт шифрования данных DES (Data Encryption Standart) был разработан фирмой IBM в начале 70-х годов и в настоящее время является правительственным стандартом для шифрования цифровой информации. Он рекомендован Ассоциацией Американских Банкиров. Сложный алгоритм DES использует ключ длиной 56 бит и 8 битов проверки на четность и требует от злоумышленника перебора 72 квадрилионов возможных ключевых комбинаций, обеспечивая высокую степень защиты при небольших расходах. При частой смене ключей алгоритм удовлетворительно решает проблему превращения конфиденциальной информации в недоступную.
Алгоритм RSA был изобретен Ривестом, Шамиром и Альдеманом в 1976 году и представляет собой значительный шаг в криптографии.
Если ключи DES можно сгенерировать за микросекунды, то примерное время генерации ключа RSA — десятки секунд. Поэтому открытые ключи RSA предпочитают разработчики программных средств, а секретные ключи DES — разработчики аппаратуры.
Основные направления использования криптографических методов — передача конфиденциальной информации по каналам связи (например, электронная почта), установление подлинности передаваемых сообщений, хранение информации (документов, баз данных) на носителях в зашифрованном виде.
Современная криптография включает в себя четыре крупных раздела:
1.Симметричные криптосистемы;
2.Криптосистемы с открытым ключом;
3.Электронная подпись;
4.Управление ключами.
Симметричные криптосистемы. В симметричных криптосистемах и для шифрования, и для дешифрования используется один и тот же ключ. На основе ключа шифрованный текст преобразуется в исходный и наоборот исходный текст заменяется шифрованным текстом.
Все многообразие существующих криптографических методов в симметричных криптосистемах можно свести к следующим 4 классам преобразований:
Многоалфавитная подстановка — символы шифруемого текста заменяются символами того же или другого алфавита в соответствии с заранее определенным правилом. Для обеспечения высокой криптостойкости требуется использование больших ключей.
Перестановка — символы шифруемого текста переставляются по некоторому правилу в пределах заданного блока передаваемого текста;
Аналитическое преобразование — шифруемый текст преобразуется по некоторому аналитическому правилу, например гаммирование — заключается в наложении на исходный текст некоторой псевдослучайной последовательности, генерируемой на основе ключа;
Комбинированное преобразование или блочные шифры — представляют собой последовательность (с возможным повторением и чередованием) основных методов преобразования, применяемую к блоку (части) шифруемого текста. Блочные шифры на практике встречаются чаще, чем «чистые» преобразования того или иного класса в силу их более высокой криптостойкости. Российский и американский стандарты шифрования основаны именно на этом классе.
Криптосистемы с открытым ключом. В системах с открытым ключом используются два ключа — открытый и закрытый, которые математически связаны друг с другом.
Информация шифруется с помощью открытого ключа, который доступен всем желающим, а расшифровывается с помощью закрытого ключа, известного только получателю сообщения. (Ключ — информация, необходимая для беспрепятственного шифрования и дешифрования текстов.)
Как бы ни были сложны и надежны криптографические системы — их слабое мест при практической реализации — проблема распределения ключей. Для того, чтобы был возможен обмен конфиденциальной информацией между двумя субъектами ИС, ключ должен быть сгенерирован одним из них, а затем каким-то образом опять же в конфиденциальном порядке передан другому. Т.е. в общем случае для передачи ключа опять же требуется использование какой-то криптосистемы.
Для решения этой проблемы на основе результатов, полученных классической и современной алгеброй, были предложены системы с открытым ключом.
Суть их состоит в том, что каждым адресатом ИС генерируются два ключа, связанные между собой по определенному правилу. Один ключ объявляется открытым, а другой закрытым. Открытый ключ публикуется и доступен любому, кто желает послать сообщение адресату. Секретный ключ сохраняется в тайне. Исходный текст шифруется открытым ключом адресата и передается ему. Зашифрованный текст в принципе не может быть расшифрован тем же открытым ключом. Дешифрование сообщения возможно только с использованием закрытого ключа, который известен только самому адресату
Электронная подпись. Системой электронной подписи. называется присоединяемое к тексту его криптографическое преобразование, которое позволяет при получении текста другим пользователем проверить авторство и подлинность сообщения.
В чем состоит проблема аутентификации данных? В конце обычного письма или документа исполнитель или ответственное лицо обычно ставит свою подпись. Подобное действие обычно преследует две цели. Во-первых, получатель имеет возможность убедиться в истинности письма, сличив подпись с имеющимся у него образцом. Во-вторых, личная подпись является юридическим гарантом авторства документа. Последний аспект особенно важен при заключении разного рода торговых сделок, составлении доверенностей, обязательств и т. д. Если подделать подпись человека на бумаге весьма непросто, а установить авторство подписи современными криминалистическими методами — техническая деталь, то с подписью электронной дело обстоит иначе. Подделать цепочку битов, просто ее скопировав, или незаметно внести нелегальные исправления в документ сможет любой пользователь. С широким распространением в современном мире электронных форм документов (в том числе и конфиденциальных) и средств их обработки особо актуальной стала проблема установления подлинности и авторства безбумажной документации.
Управление ключами. Это процесс составления и распределения ключей между пользователями.
Как бы ни была сложна и надежна сама криптосистема, она основана на использовании ключей. Если для обеспечения конфиденциального обмена информацией между двумя пользователями процесс обмена ключами тривиален, то если количество пользователей составляет десятки и сотни, управление ключами — серьезная проблема. Если не обеспечено достаточно надежное управление ключами, то завладев ею, злоумышленник получает неограниченный доступ ко всей информации. Управление ключами — информационный процесс, включающий в себя три элемента:
— генерацию ключей;
— накопление ключей;
— распределение ключей.
Генерация ключей. В серьезных информационных системах используются специальные аппаратные и программные методы генерации случайных ключей.
Идеальным генераторами являются устройства на основе «натуральных» случайных процессов. Например случайным математическим объектом являются десятичные знаки иррациональных чисел, которые вычисляются с помощью стандартных математических методов.
Накопление ключей. Под накоплением ключей понимается организация их хранения, учета и удаления.
Секретные ключи никогда не должны записываться в явном виде на носителе, который может быть считан или скопирован. В достаточно сложной ИС один пользователь может работать с большим объемом ключевой информации, и иногда даже возникает необходимость организации мини-баз данных по ключевой информации. Такие базы данных отвечают за принятие, хранение, учет и удаление используемых ключей. Итак, каждая информация об используемых ключах должна храниться в зашифрованном виде.
Ключи, зашифровывающие ключевую информацию называются мастер-ключами. Желательно, чтобы мастер-ключи каждый пользователь знал наизусть, и не хранил их вообще на каких-либо материальных носителях.
Очень важным условием безопасности информации является периодическое обновление ключевой информации в ИС. При этом переназначаться должны как обычные ключи, так и мастер-ключи. В особо ответственных ИС обновление ключевой информации желательно делать ежедневно. Вопрос обновления ключевой информации связан и с третьим элементом управления ключами — распределением ключей.
Распределение ключей. Распределение ключей — самый ответственный процесс в управлении ключами. К нему предъявляются два требования:
Оперативность и точность распределения
Скрытность распределяемых ключей.
Распределение ключей между пользователями реализуются двумя разными подходами:
1. Путем создания одного ли нескольких центров распределения ключей. Недостаток такого подхода состоит в том, что в центре распределения известно, кому и какие ключи назначены и это позволяет читать все сообщения, циркулирующие в ИС.
2. Прямой обмен ключами между пользователями информационной системы. В этом случае проблема состоит в том, чтобы надежно удостоверить подлинность субъектов. Для обмена ключами можно использовать криптосистемы с открытым ключом, используя тот же алгоритм RSA.
Проверка подлинности сообщения информации
(идентификация и аутентификация)
Методы, применяемые в открытых сетях для подтверждения и проверки подлинности сообщения следующие:
• Субъект демонстрирует знание секретного ключа, при этом ключ либо вообще не передается по сети, либо передается в зашифрованном виде.
• Субъект демонстрирует обладание программным или аппаратным средством генерации одноразовых паролей или средством, работающим в режиме «запрос-ответ». Нетрудно заметить, что перехват и последующее воспроизведение одноразового пароля или ответа на запрос ничего не дает злоумышленнику.
• Субъект демонстрирует подлинность своего местоположения, при этом используется система навигационных спутников.
Методы, применяемые в открытых сетях для подтверждения и проверки подлинности сообщения должны быть устойчивы к пассивному и активному прослушиванию сети.
Для исключения неавторизованного проникновения в компьютерную сеть используется комбинированный подход — пароль + идентификация пользователя по персональному «ключу». «Ключ» представляет собой пластиковую карту (магнитная или со встроенной микросхемой — смарт-карта) или различные устройства для идентификации личности по биометрической информации — по радужной оболочке глаза, отпечаткам пальцев, размерам кисти руки и т. д. Серверы и сетевые рабочие станции, оснащенные устройствами чтения смарт-карт и специальным программным обеспечением, значительно повышают степень защиты от несанкционированного доступа.
Смарт-карты управления доступом позволяют реализовать такие функции, как контроль входа, доступ к устройствам ПК, к программам, файлам и командам.
Реализация криптографических методов
Проблема реализации методов защиты информации имеет два аспекта:
разработку средств, реализующих криптографические алгоритмы, и методику использования этих средств.
Каждый из рассмотренных криптографических методов может быть реализован либо программным, либо аппаратным способом.
Возможность программной реализации обуславливается тем, что все методы криптографического преобразования формальны и могут быть представлены в виде конечной алгоритмической процедуры.
При аппаратной реализации все процедуры шифрования и дешифрования выполняются специальными электронными схемами. Наибольшее распространение получили модули, реализующие комбинированные методы.
Большинство зарубежных серийных средств шифрования основано на американском стандарте DES. Отечественные же разработки, такие как, например, устройство КРИПТОН, использует отечественный стандарт шифрования.
Основным достоинством программных методов реализации защиты является их гибкость, т.е. возможность быстрого изменения алгоритмов шифрования. Основным же недостатком программной реализации является существенно меньшее быстродействие по сравнению с аппаратными средствами (примерно в 10 раз). В последнее время стали появляться комбинированные средства шифрования, так называемые программно-аппаратные средства. В этом случае в компьютере используется своеобразный «криптографический сопроцессор» — вычислительное устройство, ориентированное на выполнение криптографических операций (сложение по модулю, сдвиг и т.д.). Меняя программное обеспечения для такого устройства, можно выбирать тот или иной метод шифрования. Такой метод объединяет в себе достоинства программных и аппаратных методов.
КОМПЬЮТЕРНЫЕ СЕТИ
Компьютерная сеть — это совокупность компьютеров, объединенных средствами передачи по каналам связи (телефонным, волоконно-оптическим, радио и т.п.).
На сегодняшний день в мире существуют миллионы компьютеров и более 80% из них объединены в различные информационно-вычислительные сети от малых локальных сетей в офисах до глобальных сетей типа Internet. Всемирная тенденция к объединению компьютеров в сети обусловлена рядом важных причин, таких как ускорение передачи информационных сообщений, возможность быстрого обмена информацией между пользователями, получение и передача сообщений (факсов, E — Mail писем и прочего), не отходя от рабочего места, возможность мгновенного получения любой информации из любой точки земного шара, а также обмен информацией между компьютерами разных фирм производителей работающих под разным программным обеспечением.
Стремительное развитие компьютерных сетей (КС) обусловлено также возможностями доступа любого пользователя КС к совокупным информационным ресурсам данной сети. В считанные секунды человек, находящийся в одном конце земного шара, может через КС получить возможность просмотреть каталог библиотеки, находящейся на другом конце земли. Пользователи, подключённые к сети, имеют доступ ко всем главным компьютерам, входящим в сеть, и, следовательно, получают возможность использовать память этих компьютеров для хранения данных и процессоры для их обработки.
Информационные связи между пользователями позволяют группам пользователей решать задачи моделирования сложных систем, выполнять проектные и другие работы, опирающиеся на распределённые между многими компьютерами программное обеспечение и базы данных. Таким образом, сетевая обработка и хранение данных — качественно новая организация обработки, при которой в значительной мере увеличиваются сложность и скорость решения задач, требующих участия большого числа пользователей.
Различают глобальные и локальные сети. Глобальные могут быть городскими, региональными, национальными и транснациональными. Самой известной глобальной сетью является Internet, представляющий собой объединение огромного числа сетей — национального, отраслевого и еще более узкого — регионального уровня. «„Малые“» сети имеющие выходы (шлюзы) в сети более высокого ранга, в согласованную систему адресов и протоколов (правил) передачи данных, так образуют Internet.
Локальные вычислительные сети позволяют объединять в систему большое количество рабочих мест, построенных на основе ЭВМ. При этом персонал таких рабочих мест может совместно использовать оборудование сети, программные средства и информацию. По существу, локальная вычислительная сеть может рассматриваться каждым ее участником как единый программно-аппаратный комплекс. В этом комплексе можно выделить следующие технологические преимущества:
• Разделение аппаратных средств. Например, доступ к лазерному принтеру обеспечивается со всех рабочих станций сети.
• Разделение данных. Со всех рабочих станций сети обеспечивается доступ к системе управления базой данных (СУБД).
• Разделение программных средств. Необходимые программы могут быть запущены с любой рабочей станции.
• Разделение ресурсов процессора файлового сервера. Процессор используется в режиме разделения времени. Его особенность заключается в том, что доступ к имеющимся ресурсам осуществляется не по принципу «кто первый захватит», а через специальный диспетчер.
• Мультипрограммный режим предоставляет возможность даже одному пользователю организовать работу одновременно с несколькими заданиями.
Электронная почта, с помощью которой происходит интерактивный обмен информацией между пользователями на рабочих станциях сети.
Организация локальной компьютерной сети (ЛКС)
Сеть, расположенная на сравнительно небольшой территории, называются локальной (LAN — Local Area Network).
Локальные компьютерные сети (ЛКС) с точки зрения организации взаимодействия компьютеров делят на одно-ранговые (peer-to-Peer Network или одноуровневые), и с выделенным сервером (Dedicated Server Network или многоуровневые, иерархические). В одно-ранговой сети каждый компьютер выполняет равноправную роль, и каждый имеет уникальное имя (имя компьютера), а также обычно пароль для входа в него во время загрузки ОС. Имя и пароль входа назначается владельцем ПК средствами ОС.
В сетях с выделенным сервером сервер выполняет главную роль, своего рода центральный компьютер, который управляет группой других.
Топологии вычислительной сети
Существует ряд принципов построения ЛВС. Такие принципы еще называют топологиями. Различают топологии типа звезда, кольцевая, шина, древовидная.
Топология типа звезда
Звезда — это соединение, при котором головная машина, сервер, получает и обрабатывает все данные с периферийных устройств как активный узел обработки данных. Вся информация между двумя периферийными рабочими местами проходит через центральный узел вычислительной сети.
Пропускная способность сети определяется вычислительной мощностью узла и гарантируется для каждой рабочей станции. Коллизий (столкновений) данных не возникает. Кабельное соединение довольно простое, так как каждая рабочая станция связана с узлом.
Топология в виде звезды является наиболее быстродействующей из всех топологий вычислительных сетей, поскольку передача данных между рабочими станциями проходит через центральный узел (при его хорошей производительности) по отдельным линиям, используемым только этими рабочими станциями. Частота запросов передачи информации от одной станции к другой невысока по сравнению с достигаемой в других топологиях.
Недостатками такой топологии является то, что затраты на прокладку кабелей высокие, особенно когда центральный узел географически расположен не в центре топологии. При расширении вычислительных сетей не могут быть использованы ранее выполненные кабельные связи: к новому рабочему месту необходимо прокладывать отдельный кабель из центра сети.
Производительность вычислительной сети, в первую очередь, зависит от мощности центрального файлового сервера. Он может быть узким местом вычислительной сети. В случае выхода из строя центрального узла нарушается работа всей сети.
Центральный узел управления — файловый сервер — позволяет реализовать оптимальный механизм защиты против несанкционированного доступа к информации. Вся вычислительная сеть может управляться из ее центра.
Кольцевая топология
При кольцевой топологии сети рабочие станции связаны одна с другой по кругу, то есть рабочая станция 1 с рабочей станцией 2, рабочая станция 3 с рабочей станцией 4 и т. д. Последняя рабочая станция связана с первой. Коммуникационная связь замыкается в кольцо.
Прокладка кабелей от одной рабочей станции до другой может быть довольно сложной и дорогостоящей, особенно если географически рабочие станции расположены далеко от кольца (например, в линию).
Сообщения циркулируют регулярно по кругу. Рабочая станция посылает по определенному конечному адресу информацию, предварительно получив из кольца запрос. Пересылка сообщений является очень эффективной, так как большинство сообщений можно отправлять «в дорогу» по кабельной системе одно за другим. Очень просто можно сделать кольцевой запрос на все станции. Продолжительность передачи информации увеличивается пропорционально количеству рабочих станций, входящих в вычислительную сеть.
Подключение новой рабочей станции требует краткосрочного выключения сети, так как во время установки кольцо должно быть разомкнуто. Ограничения на протяженность вычислительной сети не существует, так как оно, в конечном счете, определяется исключительно расстоянием между двумя рабочими станциями. Основная проблема при кольцевой топологии заключается в том, что каждая рабочая станция должна активно участвовать в пересылке информации, и в случае выхода из строя хотя бы одной из них, вся сеть парализуется. Неисправности в кабельных соединениях локализуются легко.
Специальной формой кольцевой топологии является логическая кольцевая сеть. Физически она монтируется как соединение звездных топологий.
Отдельные звезды включаются с помощью специальных коммутаторов (англ. Hub -концентратор), которые по-русски иногда называют «хаб». В зависимости от числа рабочих станций и длины кабеля между рабочими станциями применяют активные или пассивные концентраторы. Активные концентраторы дополнительно содержат усилитель для подключения от 4 до 16 рабочих станций. Пассивный концентратор является исключительно разветвительным устройством (максимум на три рабочие станции).
Управление отдельной рабочей станцией в логической кольцевой сети происходит так же, как и в обычной кольцевой сети. Каждой рабочей станции присваивается соответствующий ей адрес, по которому передается управление (от старшего к младшему и от самого младшего к самому старшему). Разрыв соединения происходит только для нижерасположенного (ближайшего) узла вычислительной сети, так что лишь в редких случаях может нарушаться работа всей сети.
Шинная топология
При шинной топологии среда передачи информации представляется в форме коммуникационного пути, доступного для всех рабочих станций, к которому они все должны быть подключены. Все рабочие станции могут непосредственно вступать в контакт с любой рабочей станцией, имеющейся в сети.
Рабочие станции в любое время, без прерывания работы всей вычислительной сети, могут быть подключены к ней или отключены. Функционирование вычислительной сети не зависит от состояния отдельной рабочей станции.
В стандартной ситуации для шинной сети часто используют тонкий кабель или кaбeль с тройниковым соединителем. Выключение и, особенно, подключение к такой сети требуют разрыва шины, что вызывает нарушение циркулирующего потока информации и зависание системы. Новые технологии предлагают пассивные штепсельные коробки, через которые можно отключать и / или включать рабочие станции во время работы вычислительной сети.
Благодаря тому, что рабочие станции можно включать без прерывания сетевых процессов и коммуникационной среды, очень легко прослушивать информацию, т.е. ответвлять информацию из коммуникационной среды. В ЛВС с прямой (не модулируемой) передачей информации всегда может существовать только одна станция, передающая информацию. Для предотвращения коллизий в большинстве случаев применяется временной метод разделения, согласно которому для каждой подключенной рабочей станции в определенные моменты времени предоставляется исключительное право на использование канала передачи данных.
Рабочие станции присоединяются к шине посредством устройств ТАР (англ. Terminal Access Point — точка подключения терминала). ТАР представляет собой специальный тип подсоединения к коаксиальному кабелю. Зонд игольчатой формы внедряется через наружную оболочку внешнего проводника и слой диэлектрика к внутреннему проводнику и присоединяется к нему.
Древовидная структура ЛВС
Наряду с известными топологиями вычислительных сетей кольцо, звезда и шина, на практике применяется и комбинированная, например, древовидная структура (рис. 63). Она образуется, в основном, в виде комбинаций вышеназванных топологий вычислительных сетей. Основание дерева вычислительной сети располагается в точке (корень), в которой собираются коммуникационные линии информации (ветви дерева).
Вычислительные сети с древовидной структурой применяются там, где невозможно непосредственное применение базовых сетевых структур в чистом виде. Для подключения большого числа рабочих станций соответственно к адаптерным платам применяют сетевые усилители и / или коммутаторы. Коммутатор, обладающий одновременно и функциями усилителя, называют активным концентратором. На практике применяют две их разновидности, обеспечивающие подключение соответственно восьми или шестнадцати линий.
Аппаратные средства ЛВС
Основными аппаратными компонентами ЛВС являются рабочие станции, серверы, кабели, интерфейсные платы (сетевые карты), концентраторы или разветвители, коммутаторы, маршрутизаторы.
Компьютер, подключенный к сети, называется рабочей страницей (Work-station). Рабочие станции (РС) — это, как правило, персональные ЭВМ, которые являются рабочими местами пользователей сети.
Компьютер, представляющий свои ресурсы называется сервером. Чаще всего этот компьютер имеет более мощные процессоры, большую память. Резервируется зеркальными жесткими дисками, источником бесперебойного питания. Другими словами имеет более мощные ресурсы и повышенную надежность. Серверы в ЛВС выполняют функции распределения сетевых ресурсов.
Различают две технологии использования сервера: технология файл-сервер и архитектуру клиент-сервер.
В первой модели используется файловый сервер, на котором хранится большинство программ и данных. По требованию пользователя ему пересылаются необходимая программа и данные. Обработка информации выполняется на рабочей станции.
В системах с архитектурой клиент-сервер обмен данными осуществляется между приложением-клиентом (front-end) и приложением-сервером (back-end). Хранение данных и их обработка производится на мощном сервере, который выполняет также контроль за доступом к ресурсам. Рабочая станция получает только результаты запроса.
Несколько компьютеров, расположенных в одном помещении или функционально выполняющих однотипную работу: бухгалтерский или плановый учет, регистрацию поступающей продукции и т.п., подключают друг к другу и объединяют в рабочую группу с тем, чтобы они могли совместно использовать различные ресурсы: программы, документы, принтеры, факс и т. п.
Как правило, в рабочею группу, объединяют 10—15 компьютеров, включая выделенный сервер — достаточно мощный компьютер, на котором располагается все совместно используемые каталоги и специальные программное обеспечение для управлением доступом ко всей сети или ее части.
При наличии в ЛВС нескольких серверов каждый из них управляет работой подключенных к нему РС. Совокупность компьютеров сервера и относящихся к нему РС часто называет доменом. Иногда в одном домене находится несколько серверов. Обычно один из них является главным, а другие — выполняет роль резерва (на случай отказа главного сервера) или логического расширения основного сервера. Пользователь домена может зарегистрироваться в сети на любой рабочей станции в этом документе и получить доступ ко всем его ресурсам.
РС и серверы в районе размещения сети соединяются друг с другом посредством линий передачи данных, в роли которых чаще всего выступают кабели. Кабельная система является фундаментом любой сети и качественная работа ее во многом зависит от качества кабельных сетей. Если в кабелях происходят замыкания, отходят контакты разъемов, то получить качественную связь будет невозможно.
В качестве средств коммуникации наиболее часто используются витая пара, коаксиальный кабель, оптоволоконные линии. При выборе типа кабеля учитывают следующие показатели:
• стоимость монтажа и обслуживания,
• скорость передачи информации,
• ограничения на величину расстояния передачи информации (без дополнительных усилителей-повторителей (репитеров)),
• безопасность передачи данных.
Подключение компьютеров к кабелю осуществляется с помощью интерфейсных плат — сетевых адаптеров, устанавливаемых в системный блок.
Сетевая карта или сетевой адаптер — это плата, вставляемая в разъем материнской платы (main board) компьютера. Также существуют сетевые адаптеры стандарта PCMCIA для ноутбуков (notebook), они вставляются в специальный разъем в корпусе ноутбука, или интегрированные на материнской плате компьютера, они подключаются по какой либо локальной шине. Появились Ethernet сетевые карты, подключаемые к USB (Universal Serial Bus) порту компьютера.
Функцией сетевого адаптера является передача и прием сетевых сигналов из кабеля. Адаптер воспринимает команды и данные от сетевой операционной системы (ОС), преобразует эту информацию в один из стандартных форматов и передает ее в сеть через подключенный к адаптеру кабель.
Сетевые платы характеризуются:
· Разрядностью: 8 бит (самые старые), 16 бит, 32 бита и 64 бит.
· Шиной данных, по которой идет обмен информацией между материнской платой и сетевой картой: ISA, EISA, VL-Bus, PCI и др.
· Микросхемой контроллера или чипом (Chip, chipset), на котором данная плата изготовлена, который определяет тип используемого совместимого драйвера и почти все остальное: разрядность, тип шины и т. д.
· Поддерживаемой сетевой средой передачи (network media), по-русски сказать: установленными на карте разъемами для подключения к определенному сетевому кабелю.
· Скоростью работы: Ethernet 10Mbit и/или Fast Ethernet 100Mbit, Gigabit Ethernet 1000Base-..
При выборе сетевого адаптера следует принять во внимание
следующие соображения:
· Тип шины данных, установленной компьютере (ISA, VESA, PCI или какой-либо еще). Узнать это можно, посмотрев в описании или на саму материнскую плату компьютера. Pentium, Pentium Pro, Pentium-2 и им подобные используют ISA и PCI шины данных, причем шина ISA — для совместимости со старыми картами.
· Тип сети к которой вы будете подключаться. Если, например, вы будете подключаться к сети на коаксиальном кабеле (10Base-2, «тонкий» Ethernet), то вам нужна сетевая карта с соответствующим разъемом (BNC).
· Еще надо учитывать поддержку вашего адаптера различными операционными системами. Существует целый ряд адаптеров, поддержка которых обеспечена практически во всех операционных системах. Для того, чтобы проверить какие сетевые карты поддерживает ваша операционная система надо посмотреть в «Compatibility List».
Для нормальной работы каждой сетевой платы необходимо конфигурирование ее, которое заключается в настройке ее на свободные адрес и прерывание, которые затем будут использоваться операционной системой. Адрес (i/o port) и прерывание для каждой сетевой платы должно быть свое, отличное от других устройств компьютера. Современные сетевые карты, поддерживающие технологию сами выполняют эту операцию, для всех остальных необходимо самим проделать ее.
Сетевая карта вставляется в соответствующий разъем шины данных, расположенный на материнской плате. Если сетевая карта предназначена для шины данных ISA, то вставлять ее надо в любой свободный разъем ISA. Если PCI, то в этот разъем.
Концентратор (concentrator), или хаб (Hub), или повторитель (repeator) имеет различное устройство, в зависимости от выполняемых им задач. Его основная задача, повторение кадра на всех или некоторых своих портах в соответствии с заданным алгоритмом программного обеспечения.
Он позволяет повысить пропускную способность связей в сети.
Обычно концентратор имеет много от 8 до 72 портов, к которым подключаются с помощью кабеля другие компьютеры. Кроме повторения кадров на всех портах, концентратор может реализовать и другие функции, например, отключение некорректно работающих портов, защиту от неразрешённого доступа и т. д.
Коммутатор (Switch) позволяет увеличить полосу пропускания и уменьшить время задержки обработки информации. С его помощью
можно сегментировать локальную сеть на канальном уровне. Порты коммутатора могут группироваться, обособляя тем самым некоторый сегмент. Это может быть выгодно, например, когда некоторая группа рабочих станций и серверов более интенсивно взаимодействует между собой, чем с другими элементами сети.
Маршрутизатор (router), строго говоря, разбивает логически единую по адресации сеть на подсети. Вообще, маршрутизатор служит либо для соединения сетей с различными протоколами, либо для соединения сетей TCP/IP с различным пространством адресов. В последнем случае его часто называют шлюзом {Gateway).
Аппаратные маршрутизаторы обычно бывают многопротокольными и очень дороги. В локальных сетях в качестве маршрутизатора можно использовать не очень мощный компьютер с двумя или более сетевыми картами, что является самым дешевым решением для расширения сети.
Программные средства локальных сетей
Для создания простейшей офисной сети можно использовать широко распространенную операционную систему (ОС) Windows 95 (98), разработанную компанией Microsoft, которая рассчитана, в первую очередь, на работу в одноранговых сетях, для поддержки работы компьютера в качестве клиента других сетей. Одноранговая сеть представляет собой сеть равноправных компьютеров, каждый из которых имеет уникальное имя (имя компьютера) и обычно пароль для входа в него во время загрузки ОС. Windows 95, как и Windows для рабочих групп, может выполнять функции сервера в сети.
Логическая структуризация локальной сети
Крупные локальные сети строятся с разделением их на отдельные независимые друг от друга логические сегменты, представляющие собой самостоятельные разделяемые среды с меньшим количеством рабочих станций. Такая сеть обладает более высокой производительностью и надежностью. Именно такие сети формируются с помощью концентраторов. Использование стандартных технологий на разделяемых средах приводит к экономичным и эффективным решениям.
Для построения такой сети с помощью специального программного обеспечения всю сеть разбивают на отдельные секторы, которые связываются между собой концентраторами, имеющими свои микропроцессоры.
Виртуальные локальные сети
Технология виртуальных локальных сетей (Virtual LAN, VLAN) появилась недавно. Появление их было обусловлено тем, что в обычных сетях пользовательский фильтр может запретить передачи кадров только по конкретным адресам. Широковещательный трафик он передает по всем сегментам сети.
В виртуальной локальной сети даже широковещательный трафик полностью изолируется на канальном уровне от других узлов сети, к которым подключены другие компьютеры. Внутри виртуальной локальной сети кадры передаются только на тот порт, который связан с адресом назначения кадра. Это облегчает процесс создания изолированных сетей и создает мощные барьеры на пути ошибочного трафика, предотвращает «затопление» всей сети от ошибочного широковещательного трафика. При этом коммутаторы позволяют создать полностью изолированные сегменты сети программным путем, не прибегая к физической коммутации.
Глобальные сети
Самой распространённой глобальной сетью на сегодня является Интернет (Internet).
Internet — глобальная компьютерная сеть, охватывающая весь мир, служившая когда-то исключительно исследовательским и учебным группам. Сегодня Internet имеет около 15 миллионов абонентов в более чем 150 странах мира и становится все более популярной в деловом мире. Ежемесячно размер сети увеличивается на 7—10%. Internet образует как бы ядро, обеспечивающее связь различных информационных сетей, принадлежащих различным учреждениям во всем мире, одна с другой.
Основное её преимущество — быстрота, дешевая глобальная связь, удобство для проведения совместных работ, доступные программы, уникальная база данных сети Internet. Internet предоставляет уникальные возможности дешевой, надежной и конфиденциальной глобальной связи по всему миру. Это оказывается очень удобным для фирм имеющих свои филиалы по всему миру, транснациональных корпораций и структур управления.
Эта сеть возникла следующим образом. В 1961 году Defence Advanced Research Agensy (DARPA) по заданию министерства обороны США приступило к проекту по созданию экспериментальной сети передачи пакетов. Эта сеть, названная ARPANET, предназначалась первоначально для изучения методов обеспечения надежной связи между компьютерами различных типов. Многие методы передачи данных через модемы были разработаны в ARPANET. Тогда же были разработаны и протоколы передачи данных в сети — TCP/IP. TCP/IP — это множество коммуникационных протоколов, которые определяют, как компьютеры различных типов могут общаться между собой.
Эксперимент с ARPANET был настолько успешен, что многие организации захотели войти в нее, с целью использования для ежедневной передачи данных. И в 1975 году ARPANET превратилась из экспериментальной сети в рабочую сеть. Ответственность за администрирование сети взяло на себя Defence Communication Agency (DCA), в настоящее время называемое Defence Information Systems Agency (DISA).
Фактически Internet состоит из множества локальных и глобальных сетей, принадлежащих различным компаниям и предприятиям, связанных между собой различными линиями связи. Internet можно представить себе в виде мозаики сложенной из небольших сетей разной величины, которые активно взаимодействуют одна с другой, пересылая файлы, сообщения и т. п.
В глобальных сетях имеется два режима информационного обмена. Диалоговый (или режим реального времени), называемый on-line, при котором обмен информацией идет в текущем варианте, подобно тому, как мы беседуем друг с другом лично или по телефону. Другой режим — пакетный, называемый off-line. При этом режиме информация передается порциями (или принимается). Разрыв во времени между двумя порциями может быть любым. Это подобно обмену письмами по почте.
Из российских телекоммуникационных сетей крупнейшей (фактически действующей во всех странах СНГ и Прибалтики) является сеть RELCOM созданная в 1990 г. Уже в 1996 г. она имела порядка 300 узлов и насчитывала десятки тысячи абонентов. Сеть является членом Европейского консорциума EUNET объединяющего многие сети Восточной Европы и Северной Африки, которая в свою очередь, является участником гигантского мирового сообщества INTERNET. Еще в 1994 г. пользователи RELCOM имели доступ к более чем миллиону компьютеров по всему миру. Шлюз, позволяющий RELCOM выходить в зарубежные сети, находится в Москве, оттуда информация, адресованная за рубеж, в Хельсинки — Амстердам — и далее по всему мира с использованием всех существующих видов связи. Для оптимизации работы сети RELCOM она, имея в основе форму звезды, включает, тем не менее, множество перекрестных соединений между узлами, что позволяет установить дублирующие каналы связи и резко увеличить надежность и «„живучесть“» сети.
Конечный пользователь включается в обмен по своему усмотрению в желаемое для него время. Он соединяется с ближайшей к нему хост-машиной, которая, в свою очередь, соединятся с другими хост-машинами в соответствии с адресом, указанным пользователем сети, затем происходит обмен информацией. Если пользователь работает в режиме on-line, то он сразу получает поступающую информацию и создает новые команды в сеть для получения новых порций информации. В режиме off-line пользователь сети при соединение с хост–машиной лишь передает свои сообщения и получает поступившую для него к этому времени информацию. Хост-машина хранит поступившие на нее сообщения до тех пор, пока пользователь их не заберет (или ограничивается разумным сроком хранения). Хост-машины постоянно связаны между собой по выделенным каналам связи и обмениваются информацией в автоматическом режиме под управлением специальных программ.
Структура доменной системы
Когда количество главных вычислительных машин Интернета было невелико, то подключения к ним производили с помощью указания IP-адреса. Однако в 1984 году число главных вычислительных машин превысило тысячу, и пользоваться числовыми кодами стало неудобно. Тогда в качестве стандарта были приняты имена, которые несут в себе больше смысла и которые проще запомнить. В соответствии с соглашением об именах — эти имена состоят из доменов разного уровня. Имя домена верхнего уровня располагают справа. В США оно обычно отражает тип организации, в которой установлен компьютер: com — коммерческая, edu — образовательная, gov — правительственная, mil — военная, net — сетевая, org — другая. В других странах оно может содержать краткое наименование страны (UK — Великобритания, AU — Австралия, Россия — Ru, Канада — Ca и так далее), причем тип организации указывается левее. Еще левее — через точку — располагается имя сети. Это имя каждый сетевой центр выбирает для себя самостоятельно, регистрируя его в вышестоящей сетевой организации. Еще левее — и опять через точку — располагается имя локальной сети. И, наконец, на крайнем левом фланге — также отделенное точкой — помещается конкретное имя пользователя (компьютера).
Программное обеспечение глобальных сетей. Браузеры
Браузером называется программа для просмотра Web-страниц в сети Internet. Выполняет две функции:
— функция клиента World-Wide-Web, связывая клиента с Web-сервером и запрашивая у него текст Web-документа, а также все, что ему сопутствует, например, иллюстрации;
— функция создания отображения документа на экране монитора так, чтобы удобно было его просматривать, а также загрузку файлов, хранение списка избранных страниц и т. д.
Другими словами основные функции браузера — загрузка информации из Интернета и отображение ее на экране компьютера пользователя.
Сегодня существует несколько версий браузеров. Это Internet Explorer 4.0, как неотъемлемая часть операционной системы Windows, созданная компанией Microsoft и является стандартной частью библиотеки компонентов Windows для работы с сетью.
Netscape Navigator компании Netscape. Это самые распространенные. Их недостаток — большой объем (десятки Мбайт каждая). Поэтому сейчас появляются небольшие новые, например, броузер Opera, NeoPlanet.
Поисковые системы
Для поиска необходимой информации в глобальных сетях существуют специальные программы, которые называются поисковыми системами.
Поисковые системы обычно состоят из трех компонент: агент, «паук» или кроулер, который перемещается по Сети и собирает информацию; база данных, которая содержит всю информацию, собираемую «пауками», и поисковый механизм, который люди используют как интерфейс для взаимодействия с базой данных.
Агенты, пауки и роботы используются для сбора информации о документах, находящихся в Сети Интернет. Это специальные программы, которые занимаются поиском страниц в Сети, извлекают гипертекстовые ссылки на этих страницах и автоматически индексируют информацию, которую они находят для построения базы данных.
Каждая поисковая система имеет собственный набор правил, определяющих, как собирать документы. Некоторые следуют за каждой ссылкой на каждой найденной странице и затем, в свою очередь, исследуют каждую ссылку на каждой из новых страниц, и так далее. Некоторые игнорируют ссылки, которые ведут к графическим и звуковым файлам, файлам мультипликации; другие игнорируют ссылки к ресурсам типа баз данных WAIS; третьи проинструктированы, что нужно просматривать, прежде всего, наиболее популярные страницы.
Агенты — самые «интеллектуальные» из поисковых средств. Они могут делать больше, чем просто искать: они могут выполнять даже транзакции от вашего имени. Уже сейчас они могут искать сайты специфической тематики и возвращать списки сайтов, отсортированных по их посещаемости. Агенты могут обрабатывать содержание документов, находить и индексировать другие виды ресурсов, не только страницы. Они могут также быть запрограммированы для извлечения информации из уже существующих баз данных. Независимо от информации, которую агенты индексируют, они передают ее обратно базе данных поискового механизма.
Общий поиск информации в сети осуществляют программы, известные как «пауки». «Пауки» сообщают о содержании найденного документа, индексируют его и извлекают итоговую информацию. Также они просматривают заголовки, некоторые ссылки и посылают проиндексированную информацию базе данных поискового механизма.
Кроулеры просматривают заголовки и возвращают только первую ссылку.
Роботы могут быть запрограммированы так, чтобы переходить по различным ссылкам различной глубины вложенности, выполнять индексацию и даже проверять ссылки в документе. Из-за их природы они могут застревать в циклах, поэтому, проходя по ссылкам, им нужны значительные ресурсы Сети. Однако имеются методы, предназначенные для того, чтобы запретить роботам поиск по сайтам, владельцы которых не желают, чтобы они были проиндексированы.
Когда кто-либо хочет найти информацию, доступную в сети Internet, он посещает страницу поисковой системы и заполняет форму, детализирующую информацию, которая ему необходима. Здесь могут использоваться ключевые слова, даты и другие критерии. Критерии в форме поиска должны соответствовать критериям, используемым агентами при индексации информации, которую они нашли при перемещении по Сети.
База данных отыскивает предмет запроса, основанный на информации, указанной в заполненной форме, и выводит соответствующие документы, подготовленные базой данных. Чтобы определить порядок, в котором список документов будет показан, база данных применяет алгоритм ранжирования. В идеальном случае, документы, наиболее релевантные пользовательскому запросу, будут помещены первыми в списке. Различные поисковые системы используют различные алгоритмы ранжирования, однако, основные принципы определения релевантности следующие:
• количество слов запроса в текстовом содержимом документа (т.е. в html-коде);
• тэги, в которых эти слова располагаются;
• местоположение искомых слов в документе;
• удельный вес слов, относительно которых определяется релевантность, в общем количестве слов документа.
База данных выводит ранжированный, подобным образом, список документов с HTML и возвращает его человеку, сделавшему запрос. Различные поисковые механизмы также выбирают различные способы показа полученного списка — некоторые показывают только ссылки; другие выводят ссылки с первыми несколькими предложениями, содержащимися в документе или заголовок документа вместе с ссылкой. Когда Вы щелкаете на ссылке к одному из документов, который вас интересует, этот документ запрашивается у того сервера, на котором он находится.
Современные поисковые системы
На сегодня существует немало поисковых систем, например, AltaVista, eXcite, Inktomi, InfoSeek, Lycos, Magellan, MetaCraweler, Open Text, Index, WebCrawler, Yahoo, и другие. Рассмотрим наиболее популярные.
Поисковая система Rambler (http://www.rambler.ru). Содержит информацию о более чем 12 миллионах документов, расположенных на серверах России и стран СНГ. Rambler обрабатывает ежесуточно не менее 500 тысяч поисковых запросов (в среднем — 5 запросов в секунду), сканируя 48 тысяч web-серверов и используя несколько одновременно работающих программ-роботов.
Для запроса набирают ключевые слова в специальном окне. Запрос может состоять из одного или нескольких слов, разделенных пробелами. Могут быть использованы как русские, так и английские слова и словосочетания. По умолчанию находятся только те документы, в которых встретились все введенные Вами слова. Чтобы найти документы, содержащие хотя бы одно слово из запроса, используйте логическую связку Or (см. ниже) или выберите на странице детального запроса: «Слова запроса: любое». Чтобы исключить документы, содержащие те или иные слова, укажите на странице детального запроса: «Исключить документы, содержащие следующие слова…».
Регистр набора не имеет значения, т.е. всё равно, с какой буквы написаны слова запроса: с прописной или строчной.
Слова запроса могут быть соединены логическими связками And («и»), Or («или»). Вместо связок (или в сочетании с ними) могут использоваться также символы '&», '|». Система поддерживает логические операции И, ИЛИ, НЕ, логические группы, метасимволы»?» и «*», заменяющие один символ или их группу, а также позволяет увеличивать и уменьшать значимость вводимых слов с помощью коэффициентов «+» и «-». Есть возможность поиска документов «похожих» на приглянувшийся среди найденных, а также поиска среди уже найденных документов. Особой популярностью пользуется служба Rambler’s Top 100, позволяющая каждому установить счетчик на своей страничке и участвовать в рейтинге.
Части запроса могут быть сгруппированы в логические группы с помощью круглых скобок. Возможна многократная вложенность скобок в сочетании с логическими операторами.
Rambler умеет искать слова во всех формах (например, аминокислота, аминокислоты, аминокислотой и т.д.). Чтобы слово находилось во всех формах, перед ним надо поставить служебный символ «#». В меню детального запроса такой режим может быть включен для всех слов: «Расширение запроса: все формы слов». Служебный символ '@' перед словом позволяет находить не только само это слово, но и однокоренные слова. В меню детального запроса символу '@' соответствует режим «Расширение запроса: все однокоренные».
По умолчанию система ищет слова запроса так, как их ввели, чтобы уменьшить «шум» в найденных документах. Если не помните, как пишется слово, или хотите расширить запрос, можно использовать метасимволы «*» и»?» для обозначения произвольной части слова и произвольного символа.
Ограничить поиск частями документов, такими как название документа, его заголовок, URL и т.п., можно через меню детального запроса «Искать в…».
Можно ограничить поиск документами только на русском или только на английском языке. Для этого надо выбрать соответствующий режим в меню детального запроса «Язык документа…". По умолчанию поиск выполняется по документам на всех языках.
По умолчанию найденные документы сортируются по релевантности (соответствию запросу). Однако можно потребовать, чтобы вместо этого в начало списка были помещены самые свежие (или, наоборот, самые старые) документы. Для этого надо выбрать соответствующую установку в меню «Сортировать по…» на странице детального запроса, например, «Сортировать по дате».
Вы можете также ограничить поиск документами, созданными в определенный период времени: для этого необходимо на странице детального запроса указать «От даты… до даты…».
Можно потребовать, чтобы Rambler возвращал только те документы, где слова из запроса находятся на минимальном расстоянии друг от друга. Режим «Ограничить расстояние между словами» может быть включен в детальном запросе. Все перечисленные выше правила могут быть использованы совместно друг с другом в необходимой Вам последовательности.
Выдача результатов — по умолчанию результаты поиска выдаются порциями по пятнадцать документов. Меню «Выдавать по…» на странице детального запроса позволяет увеличить это число до 30 или 50. Меню «Форма вывода…» позволяет получать описания документов с увеличенной или уменьшенной подробностью.
Поисковая система Yandex (http://www.yandex.ru). Ежедневно просматривает сотни тысяч Web-страниц в поисках изменений или новых ссылок. Коллекция ссылок постоянно растет. Yandex не требует знания специальных команд для поиска. Достаточно набрать вопрос («где найти дешевые компьютеры» или «нужны телефоны Москвы и Московской области»), и Вы получите результат — список страниц, где в
