автордың кітабын онлайн тегін оқу Обустройство вашего дома: вода, газ, отопление, электричество, отделка
Евгений Витальевич Симонов
Обустройство вашего дома. Вода, газ, отопление, электричество, отделка
Предисловие автора
Ваша мечта о собственном доме сбывается – вот-вот вы начнете его строить или уже приступили к строительству. Однако дом – это не только коробка из дерева, камня или кирпича под крышей. Строение, предназначенное для проживания, пусть даже сезонного, должно иметь минимальный набор удобств: воду и канализацию, электричество и отопление. Иначе жить в нем просто не захочется. Вряд ли вам понравится ходить за водой к колонке или колодцу, освещать комнаты с помощью свечей либо лучины (по примеру предков), гладить вещи утюгом, набитым углями, а телевизор смотреть через окно соседнего дома.
Инженерные коммуникации должны быть не только предусмотрены проектом, но и выполнены в соответствии с утвержденной документацией. О том, как это делается, вы узнаете на страницах данной книги. Пусть не все работы вы сможете выполнить самостоятельно, зато вам будет вполне по силам проконтролировать наемных рабочих и организовать все таким образом, чтобы добиться не только высокого качества, но и минимальных финансовых затрат.
Кроме инженерных коммуникаций дом нуждается во внутренней отделке – жилье должно быть красивым и уютным. Я расскажу, как выполнить отделочные работы по принципу «дешево и сердито», чтобы цена была как можно ниже, а результат – наилучшим.
Многие работы по внутренней отделке придется выполнять, если вы задумали ремонт. Так что, даже если ваш дом построен уже давно или имеется только городская квартира, эта книга будет вам полезна. Вы узнаете, как самостоятельно сделать качественный ремонт, какие материалы понадобятся и как с ними работать.
Глава 1
Инженерные коммуникации
Чаще всего об инженерных коммуникациях вспоминают, когда дело доходит до составления проекта дома. Причем в основном это размышления о том, сколько в доме должно быть санузлов, ванных комнат, потребителей электроэнергии и т. д. Однако вода для ванной не падает с неба, а электричество берется отнюдь не от разряда молнии. Нередко возникает ситуация, когда подключение к поселковому водопроводу невозможно по причине его отсутствия или недостаточного напора воды, а электроэнергии, которую выделит местная подстанция, хватит, лишь чтобы вскипятить чайник воды. Встречаются и другие проблемы. Например, вы изначально планируете «водную автономию», то есть собственную скважину, не желая зависеть от нестабильного водоснабжения поселка. При этом оказывается, что на вашем участке вода непригодна для питья, так как содержит вредные вещества. Или электроснабжение возможно, только если вы договоритесь с соседом, у которого есть своя подстанция, или установите собственную подстанцию.
Решение любой подобной проблемы обойдется недешево. Чтобы не пришлось нести дополнительные (незапланированные изначально!) расходы, об инженерных коммуникациях нужно думать еще на стадии приобретения земельного участка. Его выбор следует осуществлять, не только исходя из удобного месторасположения и красот пейзажа, но и учитывая другие особенности:
• тип грунта и уровень залегания грунтовых вод;
• рельеф участка;
• наличие на участке воды и коммуникаций (коллективного водоснабжения, индивидуального источника воды – колодца, скважины, централизованного газо– и электроснабжения, канализации, телефонной линии);
ПРИМЕЧАНИЕ
Необходимо проверить глубину залегания водоносного горизонта. Работы по бурению скважины глубиной более 30–40 м будут стоить немало.
• планируемое месторасположение дома по отношению к централизованной системе водоснабжения и канализации (если она есть);
• пригодность воды для бытового использования, содержание в ней бактериологических и/или химических примесей;
• количество киловатт энергии, выделяемой местной администрации на каждый дом;
ПРИМЕЧАНИЕ
По существующим нормам на один дом положено не более 9,6 кВт. Для сравнения: 1 кВт энергии потребляет электрический чайник. Для коттеджа небольшого размера (общей площадью 200–300 м2) требуется около 20–30 кВт (при условии, что электроэнергия не используется для отопления).
• кто является владельцем подстанции (муниципальные или районные сети, находится в частном владении);
• осуществляется ли централизованный вывоз мусора;
• осуществляется ли централизованная доставка почты;
• наличие медицинских учреждений (поликлиники, больницы, аптеки), магазинов и почты;
• осуществляется ли муниципальное обслуживание дорог.
Не все вышеуказанные особенности участка относятся к инженерным коммуникациям, но именно на это следует обратить внимание, собираясь сделать такую важную покупку, как участок для строительства дома.
Система водоснабжения и канализации
Вода и закон
Издревле люди нуждались в системе водоснабжения и канализации. Жили без электричества и газа, без бытовой техники, но без воды – никогда. Сегодня человек все так же зависим от воды, и строительство дома невозможно без сооружения хоть какой-либо системы водоснабжения и канализации. Вряд ли в качестве альтернативы можно рассматривать привоз воды в загородный дом или коттедж из города или ближайшего поселка. Конечно, если участок будет использоваться исключительно для устройства пикников, то воду можно брать и с собой. Однако когда речь идет о проживании, пусть даже сезонном, нерегулярном, то для участка и дома необходимы водоснабжение и канализация.
Вариантов системы водоснабжения может быть несколько:
• централизованная система водоснабжения;
• централизованная система водоснабжения в виде общественной колонки или колодца;
• индивидуальная система водоснабжения.
Если еще на стадии выбора участка вы не поинтересуетесь, как обстоят дела с водой и водоснабжением в данной местности, то рискуете получить второй вариант и в полной мере ощутить возврат к истокам. Придется приобретать коромысло, ведра, устанавливать бочки для дождевой (для полива огорода и сада) и питьевой воды. Да, такая система водоснабжения очень романтично проиллюстрирована в кинофильме «Белое солнце пустыни», когда товарищ Сухов среди барханов и басмачей упорно видел дорогую свою Катерину Матвеевну с коромыслом наперевес, но вряд ли вам понравится подобное в собственном доме или даже на даче.
Оптимально, если участок может снабжаться водой от централизованной системы водоснабжения. Вместе с тем здесь бывают различные нюансы. Так, в современных коттеджных поселках централизованная система водоснабжения чаще всего надежная и обеспечивает дома достаточным количеством воды как для бытовых, так и для хозяйственных нужд. Обычно для водоснабжения используется коллективная артезианская скважина, качество воды из которой довольно высокое. В старых поселках или дачных «городках» ситуация хуже. Даже если имеется коллективная артезианская скважина, с водоснабжением возможны перебои, особенно в весенне-летний период, когда огороды и сады активно поливаются. Кроме того, сама система, как правило, старая, нуждается в постоянном ремонте, а при активной эксплуатации (тот же полив огородов) нередко выходит из строя. Так что летом может оказаться, что у вас не просто слабый напор, но и полное отсутствие воды. Еще хорошо в этом случае, если колодец или колонка находятся в пределах видимости или у вас имеются соответствующие емкости, чтобы обеспечить доставку воды от колодца (колонки) на автомобиле. Однако бывает, что с коромыслом и ведрами приходится совершать прогулки до 3 км. Естественно, о поливке любимой клумбы в таких экстремальных условиях придется забыть. Хватило бы воды для умывания, приготовления пищи и мытья посуды.
Таким образом, сегодня будущие счастливые домовладельцы стремятся обеспечить «водную автономию». Иными словами, снабдить свой дом индивидуальным колодцем либо – оптимальный вариант – собственной скважиной.
С колодцем все просто. Закон Российской Федерации «О недрах» от 21 февраля 1992 года гласит: «Собственники, владельцы земельных участков имеют право, по своему усмотрению, в их границах осуществлять без применения взрывных работ добычу общераспространенных полезных ископаемых, не числящихся на государственном балансе, и строительство подземных сооружений для своих нужд на глубину до пяти метров, а также устройство и эксплуатацию бытовых колодцев и скважин на первый водоносный горизонт, не являющийся источником централизованного водоснабжения, в порядке, устанавливаемом соответствующими органами исполнительной власти субъектов Российской Федерации» (раздел 2 «Пользование недрами», ст. 19 «Добыча общераспространенных полезных ископаемых собственниками земельных участков, землепользователями, землевладельцами и арендаторами земельных участков»). Таким образом, колодец можно выкопать без всяких проблем с действующим законодательством.
Однако может оказаться, что колодец должен быть глубиной 30 м и более. Выкопать и обустроить подобный колодец своими силами практически нереально. Потребуются и техника, и специалисты, и финансовые затраты, а в итоге все сведется к тем же ведрам на коромысле. Одна радость: носить воду недалеко.
В таких условиях от колодца лучше отказаться и пойти по пути устройства индивидуальной скважины. Как следует из законодательства, если используется первый водоносный горизонт, то скважина, как и колодец, не требует дополнительных разрешений, согласований и лицензий.
Здесь прежде всего нужно обратить внимание на проблему качества воды на первом водоносном горизонте. Постоянные сбросы отходов различных промышленных предприятий, отсутствие должной переработки, очистки и утилизации отходов крупных городов за десятилетия привели к тому, что чаще всего вода первого водоносного горизонта (который законодательно разрешен к эксплуатации без дополнительных лицензий) оказывается загрязненной. Причем до такой степени, что ее не рекомендуется использовать даже для полива огорода (ведь употреблять в пишу фрукты и овощи после такого полива нельзя). Не всегда помогают даже самые современные методы очистки.
Если же первый водоносный горизонт оказался безводным, то для устройства индивидуального и независимого источника водоснабжения требуется использовать более низкие водоносные слои (известняк или артезианские скважины). Чтобы оборудование артезианской скважины было законным, необходимо следующее.
1. Лицензия на право пользования недрами (Закон РФ «О недрах»), для получения которой потребуется предоставление свидетельства о праве собственности на земельный участок или договор аренды.
2. Согласование расчета водопотребления из артезианской скважины (расчет выполняется по утвержденным нормативам) в отделе водных ресурсов соответствующего областного водного управления Федерального агентства водных ресурсов (например, для Московской области это отдел водных ресурсов по Московской области Московско-Окского бассейнового водного управления Федерального агентства водных ресурсов).
3. Заключение Роспотребнадзора о пригодности земельного участка для организации зоны санитарной охраны первого пояса скважины.
ПРИМЕЧАНИЕ
СанПиН 2.1.4.1110-02 (санитарные правила и нормы) устанавливает следующий размер для зоны санитарной охраны первого пояса артезианской скважины: 60 × 60 м. Эта зона должна быть огорожена, постройки отсутствовать. По согласованию с Роспотребнадзором зона может быть уменьшена, но не менее чем 30 × 30 м.
4. Заключение территориального Центра государственного мониторинга состояния недр на проектирование артезианской скважины.
5. Работы по бурению должны осуществляться специализированной организацией, имеющей соответствующую лицензию (эта же организация выполняет проект на бурение, который нужно сохранять вместе со всей документацией на земельный участок).
6. Приемка в эксплуатацию артезианской скважины осуществляется комиссией по госприемке, при этом необходимо заключение Роспотребнадзора о качестве подземных вод и возможности их использования для бытовых и хозяйственных нужд.
7. Постановка артезианской скважины на государственный учет, оборудование зоны санитарной охраны.
8. Представление документов на государственную геологическую экспертизу.
Бюрократические процедуры при оборудовании артезианской скважины – это еще полбеды. Основная проблема заключается в размерах зоны санитарной охраны первого пояса скважины – 60 × 60 м, или 36 соток. Кроме того, нужно предусмотреть место для подвода электричества к данному участку, значит, потребуется немногим меньше 40 соток. Далеко не на каждом участке под застройку (не говоря о дачных участках) найдется 40 соток земли, которые можно просто исключить из пользования. Зачастую площадь участков, предназначенных для строительства бюджетных коттеджей, не дотягивает до такой величины. Немаловажен и финансовый вопрос: устройство артезианской скважины обойдется как минимум в 300 тыс. рублей (без учета стоимости подвода электричества к зоне санитарной охраны).
Картина получается весьма печальная. Из положения есть два выхода. Во-первых, договориться с соседями, скооперироваться, организовать некоммерческую структуру и соорудить коллективный источник водоснабжения – закон это позволяет. Однако на эти работы может уйти от 5 до 10 лет при условии достижения договоренности со всеми соседями. Второй путь быстр, прост, относительно дешев, но незаконен.
ВНИМАНИЕ
Несанкционированное бурение артезианских скважин карается административным штрафом. Также может быть предписано ликвидировать скважину, ведь ее неправильное бурение и обустройство приводят к серьезным последствиям – загрязнению водоносного горизонта.
Итак, если вы хотите иметь воду на участке без проблем с законом, проверьте ее наличие и качество еще на стадии покупки земли.
Снабжаем дом водой
Водопровод может быть наружным и внутренним – в зависимости от места расположения. Наружный водопровод – это все, что находится вне дома: наружный ввод, трубопроводы, вентили. Соответственно, система внутреннего водопровода располагается внутри дома. Начну с рассказа об устройстве наружного водопровода.
Проще всего организовать водоснабжение дома, если поблизости от участка имеется централизованное водоснабжение. Оно не всегда бывает надежным, не во всех случаях (не во все сезоны) может обеспечивать дом необходимым количеством воды, но с точки зрения простоты организации водоснабжения и минимизации последующих эксплуатационных расходов является оптимальным вариантом. Самые предусмотрительные домовладельцы одновременно подключаются к централизованной системе водоснабжения и организуют собственную (как минимум – колодец на участке, а то и скважину мелкого залегания). Итак, чтобы присоединиться к централизованному водозабору, необходимо:
• обратиться в организацию, осуществляющую эксплуатацию водопровода (обычно это производственное управление водопроводно-канализационного хозяйства – УВКХ), представив заявление, проект дома, документы, подтверждающие право собственности на участок или аренду;
• получить разрешение этой организации, а также условия подключения (в них указываются место и схема присоединения, глубина заложения, гарантированный напор на вводе и т. д.);
• осуществить прокладку водопровода.
Помните, что прокладку водопровода должна осуществлять организация, имеющая лицензию на соответствующие виды работ.
Несмотря на то что самостоятельно подключиться к централизованному водозабору не получится (разве что у вас имеется лицензия на осуществление данных работ), можно сэкономить, а также проконтролировать качество работ, если знать о том, как такое подключение осуществляется.
Прежде всего проводится разбивка трассы водопровода на местности – этому пункту настоящий хозяин уделит особое внимание. Ведь трасса может оказаться там, где запланированы хозяйственные постройки, детская площадка, подъездная дорожка к гаражу и т. п. Поэтому следует сразу подкорректировать план подключения или планировку участка.
Затем подходит очередь земляных работ. Глубина выемки траншеи при отсутствии грунтовых вод должна быть:
• в супесях – не более 1,25 м;
• в глинистых и суглинистых грунтах – не более 1,5 м;
• в насыпных и песчаных грунтах – не более 1 м.
Прокладку водопроводных труб необходимо осуществлять на глубине, большей на 0,5 м, чем расчетная глубина промерзания грунта. Таким образом исключается образование ледяных пробок и наледей внутри и снаружи труб в холодные периоды года. Кроме того, сезонные подвижки грунта могут разрушить трубы, а ниже уровня промерзания грунт подобным воздействиям не подвержен.
Для траншей глубиной до 3 м регламентирован угол между направлением откоса и горизонталью:
• для суглинистого грунта – не более 63°;
• для глинистого грунта – не более 76°;
• для супесей – не более 56°;
• для насыпных и песчаных грунтов – не более 45°.
Если откосы по каким-либо причинам сделать невозможно (например, трасса водопровода прокладывается в стесненных условиях, при недостаточности места), то стенки траншеи укрепляются щитами или досками с зазорами. Ширина траншеи должна быть не менее 0,7 м.
По окончании земляных работ осуществляется монтаж водопровода. Перед выполнением укладки труб в траншею их необходимо осмотреть и проверить (для этого трубы простукивают). Укладка чугунных труб с трещинами, отколами концов, асбестоцементных труб с расслоением материала, поврежденными буртами в муфтах не допускается.
Кстати, трубы бывают не только чугунные или асбестоцементные, но и стальные, оцинкованные, пластмассовые, медные. Выбор довольно велик. О том, какие трубы предпочтительнее для устройства водопровода, я расскажу далее.
Прежде чем укладывать каждую трубу на место, роют приямки – при монтаже и заделке стыков соединяемых труб. После выполнения монтажных работ проводится гидравлическое испытание, и только затем траншеи и приямки засыпают.
В ходе зимней эксплуатации водопровода следует учесть, что вода при замерзании расширяется. На дачных участках отключают воду на зиму вовсе не из-за экономии или отсутствия водопотребления, ведь немало людей пользуется дачами и в зимний период. Проблема именно в замерзании воды. При отрицательных температурах трубы может просто разорвать.
Правда, в основном подобные эксплуатационные сложности возникают в надземном водопроводе. Однако в особо суровые зимы и в подземном водопроводе могут появляться ледяные пробки на каком-либо локальном участке (например, с иным типом грунта и, соответственно, другой глубиной промерзания). Самое худшее, что пробка имеет обыкновение увеличиваться, захватывая все больший объем, и может даже полностью перекрыть трубу.
Во избежание таких проблем следует озаботиться утеплением подземного водопровода с помощью теплоизоляции или специальных систем (в частности, нагревательного кабеля, который прокладывается либо снаружи, либо внутри трубы). Затраты на теплоизоляцию в момент прокладки водопровода окупаются при эксплуатации – ремонт водопровода в случае зимней аварии обойдется отнюдь не дешево.
Автономное водоснабжение
В ряде случаев водоснабжение из централизованного источника невозможно: либо трасса водопровода проходит слишком далеко от участка и подключение к ней нерентабельно, либо вообще нет централизованного водопровода, либо он настолько ненадежен, что вы не желаете тратить деньги и время на подключение к такому источнику. Остается одно – устройство автономного водоснабжения.
Напомню, что говорить об автономном водоснабжении, то есть о снабжении дома водой из независимого источника, можно только в том случае, если на вашем участке доступна вода (см. раздел «Вода и закон»), она соответствует всем санитарно-гигиеническим требованиям и пригодна для использования.
Решение об устройстве автономного водоснабжения следует принимать еще на стадии проектирования дома, так как данная система предполагает установку водонапорного бака. Обычно он монтируется на чердаке, что означает усиление чердачных перекрытий, утепление чердака, а это обязательно должно быть учтено в проекте. Исправление проекта на стадии строительства может привести к довольно существенным финансовым и временным затратам.
Для семьи из шести человек достаточный объем водонапорного бака – 180 л, если нет ванны, и 300 л, если ванна имеется. В дачном доме, предназначенном для сезонного проживания, вполне можно обойтись душевой кабиной. В этом случае нагрузка на перекрытия уменьшится, а строительство удешевится.
Простейший вариант водонапорного бака – металлическая бочка.
Изнутри и снаружи металл должен быть покрыт антикоррозийными составами, иначе вода из кранов будет ржавой. Бак монтируется на металлическом поддоне, предназначенном для защиты перекрытия от возможных протечек. В поддоне устраивается дренажное отверстие, к которому подключается водосливная труба (в нее попадают излишки воды). В верхней и нижней частях водонапорного бака располагаются переливная и спускная трубы. Заполнение бака водой осуществляется через подающую трубу, а поступление воды в краны – через отводящую трубу. Чаще всего вода в водонапорный бак подается насосом, поэтому требуется установка системы для регулировки уровня воды в баке.
Однако начинают устройство автономного водоснабжения отнюдь не с монтажа водонапорного бака на чердаке, а с оборудования колодца. Если у вас маленький участок, то здесь могут возникнуть проблемы. Дело в том, что колодец должен располагаться на расстоянии не менее 5 м от здания и не менее 10–20 м от выгребных ям, канализационных труб, компостных куч. Эти нормативы следует соблюдать не только из соображений необходимости оформления документов на источник водоснабжения, но и беспокоясь о собственном здоровье и здоровье членов семьи.
Пытаясь сэкономить на строительстве колодца, не забывайте, что в данном случае недопустимо использовать строительные материалы, бывшие в употреблении. Ведь вода – это ваше здоровье.
Наиболее часто устраивают шахтные колодцы.Они изготавливаются из железобетонных колец, плитнякового камня, полнотелого кирпича, бетонных блоков, дерева (надводную часть в этом случае выполняют из сосны, подводную – из дуба, вяза, ольхи). Лучшими считаются шахтные колодцы из железобетонных колец, как наиболее прочные, долговечные и простые в монтаже (разумеется, при наличии соответствующего оборудования и техники). При установке стен колодца из плитнякового камня, кирпича или бетонных блоков для укрепления используются арматурные стержни диаметром 10-150 мм, размещаемые в горизонтальных швах кладки. Дно колодца засыпают 20-сантиметровым слоем гравия или щебня.
Колодец углубляют настолько, чтобы приток воды был достаточным для обеспечения требуемого расхода. При этом в колодце должен сохраняться постоянный слой воды не менее 1 м.
Для подачи воды в водонапорный бак используются механические центробежные насосы, устанавливаемые прямо в колодце. В этих целях над водяным зеркалом (расстояние от воды 2–4 м) оборудуется специальная площадка (выполняется из дерева), на которой и располагается насос.
В доме, предназначенном для постоянного проживания, следует предусмотреть утепление шахтного колодца вместе с насосом, иначе при отрицательных температурах в насосе может замерзать вода. Для этого над колодцем строится утепленная будка.
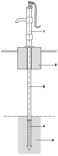
Если на участке грунтовые воды залегают достаточно глубоко, а водопотребление планируется относительно небольшое, то сооружают трубчатые колодцы –забивные или буровые.
Забивные колодцыиспользуются при залегании грунтовых вод на глубине до 4–6 м (рис. 1.1). Они продаются комплектами и устанавливаются либо в пробуренную скважину, либо простой забивкой. Когда грунтовые воды находятся глубже, устраивают буровые колодцы,при этом скважины крепятся обсадными трубами. Такие колодцы считаются более надежными.
В случае глинистого грунта вариант с буровым колодцем придется исключить – он быстро засорится и воды не будет.
Территорию вокруг колодца необходимо благоустроить: вымостить площадку плиткой (не менее 2 м) либо камнем с уклоном от колодца.
Выбираем трубы для наружного водопровода
Строительство наружного водопровода должна осуществлять организация, имеющая лицензию на проведение данного вида работ. Однако приобретение труб остается за владельцем участка. К выбору следует подойти со всей ответственностью, ведь именно от этого зависит большая часть эксплуатационных расходов на водоснабжение дома. Вообще, если не рассматривать разновидности внутри категорий, выбор нужно осуществить между двумя типами труб: металлическими и пластиковыми.
Более привычными являются металлические трубы,особенно когда речь идет о наружном водопроводе. Металлическая труба в траншее представляется основательной и надежной, способной служить столетия без ремонта. К сожалению, это не так.
Практически все металлические трубы подвержены коррозии. Исключение составляют медные,но устройство внешнего медного водопровода будет очень дорогим. Конечно, медные трубы обладают множеством положительных качеств. Они достаточно просты в монтаже, практически не подвержены коррозии (медь имеет естественную защиту от коррозии в виде окисной пленки, которая, образовавшись один раз, больше не растет и не отслаивается, как, например, окислы железа). Срок службы медных труб – до 200 лет. Кроме того, считается, что медь имеет бактерицидные свойства, так что вода в медном водопроводе еще и обеззараживается. Недаром в странах Евросоюза отдают предпочтение именно медным трубам, как самым долговечным и экологически безопасным.
Однако при ограниченности в средствах приходится делать выбор из более дешевых (и менее долговечных) вариантов.
Хорошей коррозионной устойчивостью обладают трубы из нержавеющей стали,но их стоимость также высока.
ПРИМЕЧАНИЕ
Коррозия металла опасна не только разрушением трубопровода, но и продуктами окисления (мельчайшими частицами ржавчины), которые приходят в дома вместе с водой. Далеко не каждый фильтр способен их задержать, так что вода из металлической трубы всегда будет содержать некоторое количество разнообразных металлических окислов. Коррозия приводит к еще одному весьма неприятному последствию: корродированный металл становится «рыхлым», пористым.
Чугунизначально отличается повышенной пористостью. Это означает ухудшение качеств металла, повышенную опасность его разрушения, а следовательно, и аварии на водопроводной линии. В порах металла размещаются различные отложения, начиная от неорганических веществ и заканчивая банальной органикой (ил, плесень, бактерии, микроорганизмы и т. д.). При ежегодной санации из металлических труб извлекают от 0,5 до 15 кг на погонный метр трубы различных отложений (в основном смесь окислов (ржавчины), железобактерий и кремнезема). Кроме того, чугун – металл хрупкий, то есть подверженный разрушению при различных механических воздействиях, сезонных подвижках грунта, перепадах температуры.
Следует отметить сложность монтажа металлических труб: требуется наличие специальных материалов и оборудования. Например, изогнуть металлическую трубу можно только на специальном станке, а ведь у трассы водопровода обязательно будут повороты (изгибы). Значит, нужно заказывать определенное количество изогнутых труб, что скажется на общей стоимости устройства водопровода.
Еще одним минусом металлических труб является то, что они требуют защиты от блуждающих токов.
Таким образом, трубы из металла отличаются недолговечностью, трудоемкостью монтажа, сложностями в последующей эксплуатации, низкой ремонтопригодностью. Через них в организм могут попадать различные вредные вещества. Недаром во многих странах мира с 1960-х годов металлические трубы не применяются для прокладки подземного водопровода. В настоящее время металл повсеместно вытесняется пластиком.
Пластиковые трубысовершенно инертны, они не подвержены коррозии под воздействием не только воды, но и соляной кислоты. Пластик устойчив к грибкам, бактериям, не покрывается плесенью. У пластиковых труб абсолютно гладкие стенки (чего нельзя сказать ни об одном виде металлических труб), что уменьшает гидравлическое сопротивление, а следовательно, увеличивает пропускную способность и снижает энергозатраты. Более того, это свойство сохраняется на протяжении всего срока эксплуатации.
Все знают, что пучинистость грунта может разрушить фундамент здания, но мало кто задумывается, каким образом движения грунта влияют на водопровод, тем более что он прокладывается ниже уровня промерзания грунта. Однако не на всем протяжении трубы пролегают на такой глубине, ведь нужно устроить и вход в дом. Здесь пучинистые грунты могут сыграть злую шутку: жесткие металлические трубы подвержены разрушению, на них появляются трещины при просадке дома. Пластиковые трубы достаточно гибкие и при просадке дома гнутся, но не трескаются и не ломаются. Эта особенность явилась причиной того, что в странах с высокой сейсмической активностью в законодательном порядке все металлические трубы подземной прокладки были заменены на пластиковые (подобную акцию провела, например, такая технологически высокоразвитая страна, как Япония).
Пластиковые трубы – это диэлектрик (а не проводник, как металлические), поэтому их не нужно защищать от блуждающих токов, что также снижает общую стоимость водопровода.
Монтаж пластикового водопровода, по сравнению с металлическим, очень прост. Любые работы можно выполнить в полевых условиях, то есть прямо на участке: изгиб, резку, сварку, склейку, механическое соединение. Это также сказывается на стоимости водопровода самым приятным образом – снижает ее.
Кроме того, пластиковые трубы дешевле даже самых недорогих металлических. Разница в стоимости водопровода с применением металлических и пластиковых труб составляет от 30 до 50 % в пользу пластика. Гарантийный срок эксплуатации таких труб – 50 лет. Все это время эксплуатационные свойства остаются неизменными.
ПРИМЕЧАНИЕ
У большинства металлических труб пропускная способность со временем уменьшается за счет зарастания трубы изнутри известковыми отложениями и другими осадками. Полиэтиленовые трубы, наоборот, даже несколько увеличиваются в диаметре в процессе эксплуатации.
Приобретая пластиковые трубы в специализированном магазине, фирме, на рынке, вы обнаружите, что нужно сделать выбор из различных вариантов: труб из полиэтилена высокого или низкого давления высокой плотности, полипропиленовых, поливинилхлоридных (ПВХ), полибутиленовых, металлопластиковых.
Оптимальным решением станут трубы, изготовленные из полиэтилена низкого давления высокой плотности. Они пригодны для устройства как наружного, так и внутреннего водопровода. Также с их помощью можно сделать «летний» водопровод (холодное водоснабжение, полив, напорная и самотечная канализация). Эти трубы отличает высокая ударная вязкость при перепадах температуры от +65° до -40 °C, так что ни в самое жаркое лето, ни в суровую зиму за водопровод можно не беспокоиться. При замерзании воды внутри трубы ничего страшного не случится, водопровод будет в целости и сохранности.
У этих труб также есть разновидности. Они могут быть напорными«питьевыми», изготовленными из первичного полиэтилена, или техническими,которые выпускают из вторичного сырья. Эксплуатационные свойства их различны. Качество технических труб далеко от того, которое требуется для устройства надежного и долговечного водопровода. Обычно эти трубы используются с другой целью – для экранирования проводки, монтажа вентиляции внутри здания. Они не рассчитаны на постоянное давление, кроме того, довольно быстро разрушаются под действием солнечных лучей, то есть непригодны и для устройства поливочного водопровода. Стоимость технических труб гораздо ниже напорных, что соблазняет многих покупателей. Однако строительство – не тот случай, когда можно покупать дешевые и не очень качественные стройматериалы. Если, конечно, вы не хотите платить за водопровод дважды.
ВНИМАНИЕ
Фальсификаторы, желая продать технические трубы дороже, по цене напорных, перекрашивают их в черный цвет (обычно технические трубы серые). Чтобы не ошибиться, нужно требовать у продавца сертификат качества – на технические трубы сертификаты не выдаются.
Маленький секрет: при устройстве надземного водопровода из полиэтиленовых труб, например для поливки участка, лучше использовать черные трубы (напорные трубы могут быть белыми, синими и черными, обычно предпочитают белые из эстетических соображений). Дело в том, что при изготовлении черных труб в качестве присадки используется сажа, чтобы воспрепятствовать разрушению полиэтилена под действием солнечной радиации. Синие и белые трубы такой защиты не имеют.
Приверженцы металлических труб, считающие металл самым прочным и долговечным материалом, в качестве альтернативы часто выбирают металлопластиковые трубы. Такие трубы достаточно бюджетны, легко монтируются, экологически безопасны, не подвержены коррозии, то есть обладают всеми достоинствами пластиковых труб. Слабым местом металлопластика являются соединения: возможно применение только металлических фитингов, которые не являются столь же коррозионно-устойчивыми, как металлопластик.
Устройство канализации
Любая канализация, даже знакомые всем «удобства во дворе», являетс
...