автордың кітабын онлайн тегін оқу Захваченные территории СССР под контролем нацистов. Оккупационная политика Третьего рейха 1941–1945
Александр Даллин
Захваченные территории СССР под контролем нацистов. Оккупационная политика Третьего рейха 1941—1945
Серия «За линией фронта. Военная история» выпускается с 2002 года
© Перевод, ЗАО «Центрполиграф», 2019
© Художественное оформление серии, ЗАО «Центрполиграф», 2019
Часть первая
Обстановка
Глава 1
Германия и Восток 22 июня 1941 г
«К этому решению я пришел с большим трудом, но теперь я вновь ощущаю духовную свободу», – писал Адольф Гитлер Бенито Муссолини, сообщая своему союзнику по нацистскому блоку о предстоящем вторжении в СССР. Беспокойные двадцать два месяца договора о ненападении между Германией и Советским Союзом подошли к концу. «Я наконец свободен от этих душевных терзаний».
Пока немецкие самолеты сбрасывали первые бомбы на советские города, Йозеф Геббельс, стоявший во главе нацистской пропаганды, вещал гитлеровское воззвание: «…Отягощенный заботами, обреченный на месяцы молчания, я наконец могу говорить свободно… Народ Германии! Прямо сейчас свершается один из величайших военных походов за всю историю… Сегодня я снова решил доверить судьбу рейха и нашего народа в руки наших солдат. Да поможет нам Бог, особенно в этой битве!»
22 июня 1941 г., незадолго до восхода солнца над протяженной границей между нацистской Германией и Советским Союзом, более трех миллионов немецких солдат двинулись на восток, в бесконечное пространство, которое на протяжении многих лет попеременно притягивало и отталкивало немецких мыслителей, солдат и государственных деятелей. Должно было произойти роковое столкновение, и весь мир в страхе затаил дыхание.
С начала осени 1939 г. Германия с невероятной быстротой покорила своих континентальных противников одного за другим. Пользуясь тем, что их тыл был в безопасности благодаря пакту Молотова – Риббентропа, немцы водрузили знамя со свастикой над мысом Нордкап в Норвегии, на Крите в Греции, в Варшаве в Польше и в Булони во Франции. Лишь Британия одиноко продолжала упрямо сопротивляться; США еще только начинали осознавать опасность роста влияния Германии. На востоке Европы Россия [СССР] и Германия контролировали обширные территории по обе стороны рубежа: от Петсамо (Печенги) в Арктике до устья Дуная. Древняя вражда и недавние междоусобицы были, казалось, забыты.
Теперь же скептически настроенный мир наблюдал за радикальным изменением ситуации. Титаны сцепились в схватке. Несмотря на многочисленные донесения разведки, Москва, кажется, была возмущена и сбита с толку внезапным «предательством» Гитлера. Британия, давно надеявшаяся на смену советского курса, теперь приветствовала своего единственного и главного союзника. Правительство Соединенных Штатов также одобрило вступление СССР в войну, несмотря на то что коммунизм для них считался «настолько же чуждым и недопустимым», как и нацизм. Так зародился шаткий и неуклюжий военный союз Москвы, Лондона и Вашингтона, а Адольф Гитлер стал его «крестным отцом».
Берлин, в свою очередь, выстраивал своих союзников и подчиненные ему государства в преддверии «великого похода на Восток». Румыния, Италия, Финляндия, Словакия, Венгрия, Хорватия и Албания одна за другой объявили войну СССР. От Испании и до Норвегии начался набор «добровольцев» на Восточный фронт. Германия бросила на передовую свои лучшие силы. Для всего мира Германия вновь стала несокрушимой силой.
Германия и Восток: предпосылки
На протяжении истории своего существования Германии и России постоянно приходилось выбирать между дружбой и враждой. Tertium non datur[1]. В обоих государствах были сторонники и той и той политики: сотрудничества и враждебности.
В Германии «пророссийская» точка зрения была сопряжена с историей, основными вехами которой являлись соглашение от 18 декабря 1812 г., когда Россия и Пруссия объединились против Наполеона, политика Бисмарка по налаживанию отношений с Востоком с целью получить больше свободы действий в Европе, а также Рапалльский договор 1922 г., где два проигравших государства объединились против победителей Первой мировой войны. Она была подкреплена представлениями об экономическом блоке, в котором Россия поставляла бы сырье и зерно, а Германия предоставляла бы промышленное оборудование и технологии. В 1920-х «восточное» направление в Берлине имело поддержку со стороны влиятельных элементов в правительстве и армии. Кульминацией этой политики явились масштабные секретные военные договоренности между Берлином и Москвой, благодаря которым Германия сумела обойти ограничения, налагаемые Версальским договором. Сторонники этой политики не видели препятствий для ее реализации в том, что Россией на тот момент управляли большевики. Это была не прокоммунистическая точка зрения, а сугубо утилитарная поддержка германо-российского сотрудничества.
Теоретическую основу для такого курса германский Генеральный штаб нашел в трудах и высказываниях «пророссийских» генералов, таких как Ханс фон Сект. Они утверждали, что основные усилия Германии должны быть направлены против Запада и взаимопонимание с Россией обеспечило бы защиту тыла рейха и укрепило бы экономический и военный потенциал Германии. Как заявила официальная нацистская газета «Фелькишер беобахтер» во время краткого периода затишья, наступившего после подписания пакта Молотова-Риббентропа в 1939 г.: «Германия и Россия всегда жили плохо, когда были врагами, и хорошо, когда были друзьями».
В то время как армейские сторонники «восточной» политики руководствовались прежде всего соображениями полезности, «пророссийское» крыло министерства иностранных дел Германии также включало в себя людей, которые не только приводили рациональные аргументы в отношении дополнительных политических и экономических ролей, которые могут играть континентальные державы, но также имели глубокую эмоциональную привязанность к русскому народу и культуре. Некоторыми из самых выдающихся таких людей были этнические немцы, рожденные в России. К этой группе, которая должна была оказать особое влияние во время Второй мировой войны, принадлежал и граф Вернер фон дер Шуленбург, последний посол Германии в Москве.
В этой группе не обошлось и без идеологов. Люди, верившие в «упадок Запада», считали Россию страной будущего. Даже часть мелкого немецкого дворянства поддержала эту точку зрения в смеси антизападных взглядов, немецкого национализма и левого «общественного сознания». Ex Oriente lux![2]
С другой стороны, «антирусская» школа также имела глубокие корни в Германии. Ее горячие сторонники ссылались на деяния Карла Великого, Тевтонского ордена и Ордена меченосцев, Ганзейского союза и колонистов, которые несли немецкие законы, язык, обычаи и грузы вглубь Восточной Европы. Пресловутый Drang nach Osten[3] стал очевидной судьбой рейха. Первая мировая война и Брест-Литовский договор 1918 г. стали вехами в реализации программы, предложенной миссионерами немецкой экспансии: Россия покоренная или завоеванная, уменьшенная или разделенная, зависимая от Берлина. После Октябрьской революции 1917 г. антикоммунизм предоставил этому крылу новый и в некоторых отношениях убедительный аргумент: «красная волна» должна была быть устранена до того, как накроет рейх. Однако эта группа не оказала большого влияния на политику Германии и не смогла предоставить какую-либо реалистичную и эффективную программу. Она уступила место национал-социализму, написавшему новую и роковую страницу в истории германороссийских отношений.
Натиск на Восток (нем.).
С Востока свет! (лат.)
Третьего не дано (лат.).
Россия в нацистском мире
Для Гитлера отношения с Россией были «пробным камнем политической способности молодого национал-социалистического движения ясно мыслить и решительно действовать». Время от времени он выводил очередной ряд постулатов и целей для борьбы с Востоком. Времени, проведенного в заключении, ему было достаточно, чтобы наметить свой фантастический курс. По его мнению, свобода существования нации зиждилась лишь на одной вещи: пространстве для жизни.
«…Даровать немецкому народу почву и территорию, на которые они имеют право претендовать… Это, пожалуй, единственная цель, которая оправдывала бы пролитие крови перед Богом и будущими поколениями».
И, продолжал Гитлер, «говоря о новых территориях, мы должны в первую очередь думать о России и тех окраинных государствах, которые ей подчинены».
Его любимой аналогией в этом отношении было сравнение будущего немецкого Востока с британской Индией. Индия в его понимании являлась наглядным примером колониальной эксплуатации и макиавеллианской виртуозности; она подпитывала его веру в то, что население «немецкой Индии» – Советского Союза – также было не более чем «белыми рабами», рожденными для того, чтобы служить расе господ. Придерживаясь своих континентальных взглядов, он провозгласил, что первые колонии Германии должны быть основаны не за океаном, а в России. Рабочая сила и ресурсы Востока должны были обеспечить материальное благосостояние немецкого народа.
«Если бы мы имели в своем распоряжении Урал с его изобилием сырья и леса Сибири, – объяснял он, – и если бы безграничные пшеничные поля Украины лежали в пределах Германии, наша страна процветала бы».
Этот экспансионизм, каким бы чрезмерным он ни казался, мог бы быть по душе ранним сторонникам Drang nach Osten. Новые элементы, введенные нацистскими лидерами, связывали его с расизмом, отказом от «цивилизаторской» миссии на Востоке и отречением от всяких моральных сомнений для достижения цели. Немцы были расой господ, а славяне – «кучкой прирожденных рабов». Русская история должна была быть – и была – переписана с точки зрения борьбы между высшим немецким и низшим восточным: Российское государство (в этой трактовке) было продуктом немецкой цивилизаторской деятельности среди «низшей расы». «Веками Россия питалась от немецкого ядра превосходящего ее сословия лидеров». Нацистская историография утверждала, что «вырождение славян» усугубилось после контакта с монголоидным Востоком. Действительно, российская революция, по словам главного идеолога нацистского крестового похода на Россию Альфреда Розенберга, была «победой бессознательных монголоидных элементов в российском организме над скандинавскими и искоренением этой [скандинавской] сущности, которая казалась им враждебной…».
Всего этого, возможно, было бы достаточно, чтобы оправдать в нацистском сознании цель покорения Востока. Но Москва, будучи очагом большевизма, стала еще одной темой пропаганды. Действительно, большевизм изображался как типичное выражение русского национального характера, плод византийской и монгольской традиции и царского авторитаризма, выражение извращенной «русской души» с ее мнимыми колебаниями между жестокостью и подобострастием, угнетением и анархизмом. В то же время он по сути своей выражал «стремление еврейства в XX в. добиться мирового господства». Розенберг ввел простую и эффективную формулу: «Россия = большевизм = еврейство».
В таких условиях отношения между Германией и Востоком обретали все признаки неудержимого конфликта, и Гитлер этого не скрывал: «Нордическая раса имеет право править миром, и это расовое право должно стать путеводной звездой нашей внешней политики. Именно по этой причине ни о каком сотрудничестве с Россией не может быть и речи, потому что на ее славяно-татарском теле поставлена еврейская голова».
Таким образом, миссия Германии на Востоке, как сформулировал Гитлер, была двойной, отражавшей одновременно чувство неполноценности и превосходства. С одной стороны, «восточная угроза» должна была быть устранена раз и навсегда путем «воздвижения дамбы против российского наводнения»; с другой стороны, Германия должна была завоевать право поселиться в новом Lebensraum[4]: «Мы должны создать для нашего народа условия, которые будут способствовать его преумножению». Какими бы ни были запреты, налагаемые на политику Германии в первые годы правления нацистов, эти взгляды на Восток оставались неизменными. Сам Гитлер заявил в своем «политическом завете» немецкому народу – в завещании, автор которого пытался стать его же исполнителем: «Будущая цель нашей внешней политики должна быть не прозападной и не провосточной, а восточной политикой, подразумевающей приобретение необходимой почвы для нашего немецкого народа».
В соответствии с этим мировоззрением фюрер начиная с 1933 г. отклонял предложения о вступлении в союз с СССР. Герман Геринг однажды объяснил, что немецкое перевооружение «началось с простой мысли о неизбежности столкновения с Россией». До самого нападения на Советский Союз нацистские лидеры остались верны заявлению своего фюрера: «Если мы хотим править, мы должны сперва покорить Россию».
Источники разногласий
Легко было говорить о сокрушении Российского государства и эксплуатации Востока. Другое дело – разработать комплексную политику и подобрать сплоченный персонал, готовый посвятить себя цели без конфликтов и сомнений. Возникновение некоторых источников разногласий едва ли можно было предсказать до начала Восточной кампании; другие же были побегами уже существовавших противоречий в немецкой Ostpolitik[5].
Ряд ненацистских чиновников пережил приход Гитлера к власти. Некоторые из них, формально став членами его партии, не подписывались на силлогизмы, предвещавшие немецкую политику и деятельность во время войны. Помимо тех, кто отказался принять некоторые аспекты нацистского экстремизма по моральным или религиозным соображениям, существовало два основных очага потенциальных диссидентов, которые продолжали работать в немецком государственном аппарате: министерство иностранных дел и армия. И хотя количество таких диссидентов было сведено к минимуму в обеих структурах, люди с европейским сознанием (например, фон Хассель), искренние друзья русского народа (такие как граф фон дер Шуленбург), а также восточноориентированные «реалисты» в традиции Секта (такие как генералы Эрнст Кестринг и Оскар фон Нидермайер) по-прежнему имели определенное влияние.
Внутри самого нацистского движения антикоммунизм не всегда был таким самоочевидным, как можно было бы предположить. Коммунисты и нацисты, две противоположные партии, неоднократно объединялись в борьбе против Веймарской республики. В 1920-х «революционные» элементы внутри национал-социалистического движения образовывали «национал-большевистское» крыло. Такую позицию поддерживали не только бывшие лидеры нацизма – достаточно указать на Штрассера и Рема, но и многие из ее бывших сторонников все еще числились в движении. Две ключевые фигуры в данной работе, Йозеф Геббельс, министр пропаганды, и гаулейтер Эрих Кох, грозный владыка Украины, когда-то принадлежали к прокоммунистической или пророссийской группе.
Другая группа была сформирована «геополитической» школой вокруг Карла Хаусхофера. Несмотря на сильное влияние на нацистское движение, его поддержка континентального блока «от Атлантики до Тихого океана» (включая Россию и Китай) не могла не столкнуться в противостоянии с ортодоксальным нацизмом. Хотя Гитлер и не гнушался заимствовать его формулировки, сам Хаусхофер остался в немилости, и только в течение краткого периода пакта Молотова – Риббентропа его последователи смогли снова выйти в свет и поприветствовать новое созвездие евразийской власти. Для них это предвещало новую эру, в которой рейх пойдет по пути «открытия Востока».
Однако в конечном счете концепция «открытия Востока» оказалась достаточно гибкой, чтобы угодить обеим сторонам. «Ожидаемое объединение России с Германией может быть мирным, а может потребовать завоевания», – справедливо замечает аналитик геополитики. Цель осталась неизменной, но после нападения Германии на СССР она «перешла от сферы добровольного союза к театру войны». В самом деле, это было разумное объяснение, которое оправдывало вторжение в умах многих немецких «русофилов». Раз уж «любви» между Германией и Россией не возникло, то союз надо было закрепить свадьбой «под дулом пистолета».
Следует выделить две разные группы среди политиков и «восточных экспертов» рейха. Обе они пришли с восточных окраин. Действительно, «было ли это всего лишь совпадением, – пишет немецкий наблюдатель, – что направление национал-социалистической Ostpolitik было задано австрийцем Гитлером и прибалтийским немцем Розенбергом?» Что касается фюрера, то его опыт в Австро-Венгерской империи зачастую влиял на его взгляды. «Я знаю славян из своей родной страны», – заявлял он. Подоплекой многих его гневных анти-украинских и антивенгерских высказываний были австрийские обиды, возникшие еще до 1918 г.
С другой стороны, прибалтийские немцы стали крупнейшим элементом немецких кадров, занимавшихся восточными вопросами. Они родились в прибалтийских землях в то время, когда те еще были частью Российской империи, и с русским языком и культурой были знакомы не понаслышке. Хотя некоторые из них были сильно привязаны к России, многие затаили обиду. Их можно было найти во всех основных лагерях, пока немцы перетягивали канат военной Ostpolitik.
За фасадом тоталитарного Gleichschaltung[6], ослепительного облика объединенной во имя победы нации и грандиозности нацистского триумфа бушевал конфликт, непостижимый для тех, кто считает современную диктатуру средой, в которой нет места разнообразию. В рейхе в тайне от всего мира разрасталось множество мнений, групп, соперничавших за власть и авторитет, людей, вымещавших друг на друге свои личные обиды, и чиновников, ратовавших за противоречивые политические курсы. Говоря о такой разнородности, ни в коем случае нельзя умалять важность общего состояния страны. Именно из-за ее тоталитарной структуры, в условиях отсутствия общественного мнения, внутренние конфликты должны были решаться (мирно или не очень) за кулисами, в атмосфере, которая отказывалась признавать их существование и в которой их разрешение сопровождалось характерной злобой и жестокостью.
В рассмотрении этих разногласий и их влияния на немецкую политику на востоке данная работа будет ссылаться на саму себя.
Жизненное пространство (нем.).
Насильственное приобщение к господствующей идеологии (в фашистской Германии). (Здесь и далее, кроме особо оговоренных, примеч. ред.)
Восточная политика (нем.).
Путь к войне
22 июня 1940 г. в Компьенском лесу Адольф Гитлер достиг пика своей политической деятельности: уполномоченные представители Петена согласились на условия, предложенные побежденной Франции. Год спустя, день в день, началось вторжение на Восток. История решения Гитлера о вторжении в Советский Союз хорошо рассказана в других книгах, и здесь достаточно будет рассмотреть только основные ее этапы. Самые ранние ссылки на решение Гитлера о подготовке к нападению на СССР датируются второй половиной июля 1940 г. Франция вышла из войны, Великобритания не желала сдаваться или идти на уступки, советское правительство наживалось на пакте Молотова – Риббентропа путем аннексии Прибалтики и Бессарабии[7], и Гитлер вернулся к своей старой концепции расширения на восток.
Разве он сам не говорил годом ранее своим генералам, что пакт был лишь временным соглашением?
«В настоящее время, – заявлял он, – Россия не опасна… Против России мы сможем выступить только тогда, когда обретем свободу действий на Западе… Сейчас у России нет причин отказываться от нейтралитета. Через восемь месяцев, год или даже несколько лет ситуация может измениться. Самая надежная мера предосторожности от возможной агрессии со стороны России заключается в немедленной демонстрации мощи Германии».
Старые чувства Гитлера возродились с неожиданной силой, и все, что их подпитывало, с готовностью воспринималось как очередное свидетельство предстоящего предательства Великой России. С рациональной точки зрения решение напасть на Советский Союз в то время, пока война с Великобританией шла с переменным успехом, а рейх получал значительную военную, экономическую и политическую выгоду от договора о ненападении, казалось абсурдом. Тем не менее оно, судя по всему, представлялось Гитлеру чрезвычайно привлекательным, так как он всегда рассматривал это как кульминацию своей исторической миссии. Хотя в конце июля Гитлер признавал, что «нет никаких признаков враждебной по отношению к нам деятельности со стороны России», главнокомандующему сухопутными войсками с 17 июля фельдмаршалу фон Браухичу и начальнику Генерального штаба сухопутных войск генералу Гальдеру было приказано немедленно начать подготовку к вторжению.
Нет никаких сомнений в том, что Гитлер всерьез собирался начать вторжение уже осенью 1940 г. Через несколько дней после приказа кампания была обрисована в общих чертах. 29 июля генерал Йодль донес до своих помощников решимость фюрера «устранить постоянную большевистскую угрозу в этой войне», поскольку «рано или поздно эта кампания в любом случае станет неизбежной». Военная необходимость вынудила отложить вторжение до весны 1941 г., равно как и высадку в Великобритании. Но Гитлер не терял уверенности. «С падением России последняя надежда Великобритании будет уничтожена… – обобщил Гальдер обращение Гитлера к своим старшим командирам. – Посему было решено: сокрушение России должно стать частью этой борьбы. Весна 1941 г. Чем быстрее Россия будет раздавлена, тем лучше… Если мы начнем в мае 1941 г., у нас будет пять месяцев, чтобы довести дело до конца. Лучше было бы начать вторжение уже в этом году, но нам необходимо время на подготовку».
С июля 1940 г. вторжение в Советскую Россию стало незыблемой нацистской повесткой дня. Гитлер мог бы воспользоваться военными приготовлениями, чтобы заставить Москву пойти на новые уступки, он мог бы отменить кампанию в любое время. Но ничего подобного он не сделал. Основополагающее решение было принято, и переговоры с министром иностранных дел Молотовым в ноябре 1940 г. особого значения уже не имели. Действительно, уже в августе Верховное командование начало разрабатывать детали кампании, и началось перемещение войск с запада к советской границе. 12 ноября во время визита Молотова в Берлин Гитлер подписал секретную «Директиву № 18», в которой четко указано, что «…приготовления к Восточной кампании должны проводиться в надлежащем порядке вне зависимости от результатов переговоров. Позднее, когда я увижу и одобрю основной план операций, последуют соответствующие указания».
На следующий день Генеральный штаб закончил свои «заметки для доклада фюреру» в отношении «запланированных [военных] целей Восточной кампании». К началу декабря их содержание было одобрено, и генерал Йодль представил Гитлеру окончательный план. В то время как Москва ожидала ответа на свою последнюю ноту об альянсе четырех держав с Германией, Италией и Японией, осознавая советские амбиции «в отношении Персидского залива», 18 декабря под грифом «совершенно секретно» Гитлер подписал приказ о проведении «операции Барбаросса».
«Барбаросса»: за и против
В 1190 г. Фридрих I, возможно самый известный немецкий император, после своего блестящего правления взял в руки крест и возглавил свои легионы в походе в Святую землю. В походе он утонул. Именно его прозвище Барбаросса стало кодовым именем кампании, призванной претворить в жизнь заветную мечту о завоевании непостижимого Востока. Знаменитая и часто цитируемая в последние годы «Директива № 21» на деле знаменует собой лишь один шаг – необходимый и логичный, разумеется – от сообщничества к двуличности.
Разбились мечты о сокрушении Англии одним ударом, испарились последние иллюзии германо-советской «дружбы, скрепленной кровью».
«Немецкая армия, – говорилось в директиве фюрера, – должна быть готова разгромить Советский Союз в ходе одной молниеносной кампании (операции «Барбаросса») еще до того, как будет окончена война с Англией. Для этого армия должна будет задействовать все имеющиеся формирования…»
В соответствии с планами операции, представленными Генеральным штабом, Гитлер постановил: «…основная масса советской армии в Западной России должна быть уничтожена в ходе быстрых и глубоких операций путем продвижения мощных подвижных группировок; отступление способных сражаться сил советской армии на просторы российской территории должно быть предотвращено… Конечной целью операции является создание линии обороны против азиатской России по линии Астрахань – Волга – Архангельск».
Все приготовления должны были быть закончены к 15 мая 1941 г.
Вот так несколько фраз перевернули новую страницу истории. У Гитлера не было причин отступать. Генералы, такие как Кейтель и Йодль, слепо верившие в своего фюрера, с воодушевлением готовились к кампании. Руководство партии точило зубы в предвкушении. Однако некоторым здраво рассуждавшим аналитикам это решение казалось абсурдным.
Адмирал Редер (гросс-адмирал с 1939 г.), главнокомандующий кригсмарине (ВМС) с 1935 по 1943 г., откровенно осуждал его. Настаивая на необходимости сосредоточить весь военный потенциал против Великобритании, он настоятельно призывал отложить Восточную кампанию хотя бы «до победы над Англией». Германия не могла одновременно вести обе кампании. Оппозиционные мнения были распространены и в Генеральном штабе сухопутных войск. Отношение начальника штаба генерала Гальдера к предстоящей кампании с самого начала было противоречивым. Он не переставал задавать вопросы и высказывать опасения с того момента, когда впервые услышал о плане Гитлера. Хоть он и делал все возможное для подготовки к вторжению, в своем дневнике со свойственной ему добросовестностью он все же пересказывал свои беседы с начальником ОКХ генералом фон Браухичем: «Цель не ясна. В борьбе с британцами это не поможет. Существенного улучшения нашего экономического потенциала мы не достигнем. Риск на Западе нельзя недооценивать».
Другие старшие командиры также выражали сомнения – не столько по поводу вторжения как такового, сколько по поводу его сроков и осуществимости. Даже столь блестящий и лояльный генерал Гудериан позднее заявлял (правда, уже в ретроспективе), что он и его коллеги были ошеломлены, когда их впервые посвятили в детали операции «Барбаросса». «Неужели произойдет то, что я считал невозможным? Гитлер, в такой резкой форме критиковавший немецкое правительство 1914 г. за то, что оно не смогло уберечь страну от войны на два фронта, теперь сам сознательно… толкает нас на пресловутую войну…»
И все же, вне зависимости от того, уверены они были в этом решении или сбиты с толку, генералитет оставался верным своему фюреру. Ведь и правда, Гитлер уже столько раз выставлял своих генералов дураками, игнорируя их предостережения, особенно в ходе Французской кампании, что теперь никто не осмеливался перечить. Сомневались они или нет, отданные им приказы они выполняли беспрекословно.
Предостережения немецкого дипломатического корпуса также не сыграли большой роли. Сотрудники посольства в Москве, включая Шуленбурга, даже докладывали о примирительных намерениях Сталина в более оптимистичном свете, чем было на самом деле, и не из-за какой-либо предвзятости по отношению к коммунизму, а просто потому, что они хотели, чтобы пакт о ненападении оставался в силе. Но Гитлер не доверял «допотопным хомбургцам» в министерстве иностранных дел, глава которого Иоахим фон Риббентроп, символ пакта о ненападении, был слишком ничтожным, чтобы возражать фюреру. Мрачный и угрюмый, он смирился с концом своей славы, подавляя свои тщеславные инстинкты, чтобы оставаться в ногу с проектами своего любимого хозяина. Не такая уж «старая школа». «Россия не является потенциальным союзником англичан», – писал Риббентропу статс-секретарь (второе лицо в МИД Германии) Вайцзеккер; что касается нынешней цели победы над англичанами, «победить Англию в России – это не программа». Как и многие его коллеги, он принципиально не возражал против войны, однако считал, что пользы это грандиозное начинание «нам тоже не принесет». Экономические эксперты, которые вырабатывали торговые соглашения с Москвой, также настаивали на том, что мирными средствами Германия сможет получить от Советского Союза больше продовольствия и сырья, а значит, в войне не было необходимости. Их аргументы были столь же тщетными, как и аргументы Шуленбурга и Вайцзеккера.
Таким образом, противники вторжения находились не только в ненацистских кругах. Более того, самый яркий пример недовольства, вызванного планом «Барбаросса», произошел в самом сердце нацистского руководства. Рудольф Гесс, личный заместитель Гитлера, 10 мая прилетел в Шотландию в отчаянной попытке подписать тот самый тевтонский пакт, о котором мечтал сам Гитлер. В отличие от Вайцзеккера его доводы против Российской кампании заключались не в том, что это ослабило бы немецкие военные силы на Западе; напротив, для него договор с Великобританией был логичным и необходимым условием для войны на Востоке. Если целью пакта Молотова – Риббентропа было избежание войны на два фронта, теперь Гесс ратовал за схожую политику, только в обратном направлении. «Он приехал в Англию не с гуманитарной миссией, а исключительно с одной целью: предоставить Германии возможность сражаться с Россией только на одном фронте».
Лояльная оппозиция видела, что над Германией сгущаются тучи – тучи, вызванные самим Гитлером. Но критики – не считая Гесса, который удалился со сцены, – были не более чем метеорологами, которые могли лишь записывать и иногда предсказывать изменения в политическом климате. Руки тех из них, кто был в состоянии что-то изменить, были связаны представлениями о долге и патриотизме.
В случае Бессарабии – возвращение отторгнутой в 1918 г. Румынией территории России, а Прибалтийские республики после всеобщих тайных выборов, где победили народные фронты, добровольно и по их просьбе были приняты в состав СССР.
Переход через Рубикон
Продолжалась упорная подготовка к войне. Вводя в заблуждение по поводу своих намерений не только Москву, но даже Италию и Японию, Гитлер регулярно проводил длительные совещания со своим генералитетом, перебирая альтернативные планы кампании. В апреле дата вторжения была перенесена с 15 мая на 22 июня в результате немецкой интервенции на Балканском полуострове – вмешательства в итало-греческую войну и разгрома оккупации Югославии и Греции. Возможно, роковое решение, помешавшее Германии достичь своих целей в России в 1941 г., – решение «разобраться» с Балканским полуостровом перед наступлением на Восток – было принято самим Гитлером. Гитлер назначил дату нападения на 22 июня. За два дня до вторжения втайне было распространено его обращение к солдатам, а в 3.15 22 июня немецкая армия пересекла советскую границу. Сбылось пророчество Гитлера: «Когда начнется «Барбаросса», весь мир затаит дыхание».
Ярким аспектом подготовки Германии к этой грандиозной кампании было пренебрежение основательным политическим планированием. Военные меры были изложены, обсуждены и осуществлены внимательно и спешно. Планы по быстрому использованию экономических ресурсов на оккупированных территориях СССР были разработаны с привычной тщательностью, и персонал для этих задач отбирался заблаговременно. Однако за исключением неопределенных заявлений о будущем немецкого Востока нет никаких свидетельств обсуждения на высоком уровне политических проблем – в частности, каких-либо попыток заручиться во время войны поддержкой советского населения – в течение всего периода с июля 1940 г. по март 1941 г. Внимание этой обширной области было уделено только в последние три месяца перед войной, но даже тогда германское руководство не смогло подготовиться к «политической войне».
Этот важный факт был логическим следствием предположения о том, что по срокам и сложности Восточная кампания лишь в количественном отношении будет отличаться от предыдущих молниеносных кампаний войны. С лета 1940 г. Гитлер и Верховное командование оценивали вероятные сроки кампании в три месяца. 30 апреля 1941 г. фельдмаршал фон Браухич даже заявил, что после «не более чем четырех недель» серьезных сражений останется лишь провести зачистку остатков «незначительного сопротивления». Основным принципом этой стратегии было быстрое уничтожение большей части советских войск. Следовательно, политические факторы, даже пропаганда, большой роли не играли. Недооценивая советское сопротивление в целом (и невзирая на предупреждения некоторых своих экспертов), Гитлер считал, что политические директивы были не нужны. Все, что требовалось, – это свод правил для управления оккупированными территориями. Никаких погрешностей в плане не предусматривалось. Если кампания затянется дольше ожидаемого или если потери противника будут недостаточными для стремительной победы, у рейха не было серьезных военных резервов для продолжения военных действий, не было плана по привлечению советского населения на сторону Германии, не было никакой концепции политического поведения, за исключением искоренения «нежелательных элементов» на оккупированных территориях.
Провал был неминуемым и зловещим.
Глава 2
Власть и персоналии: вражда и разногласия в восточном вопросе
Нацистская мозаика
Немецкая военная политика не была единой или хорошо согласованной. Это был результат беспрестанного перетягивания каната между враждующими блоками и коалициями различных элементов нацистского параллелограмма сил. В этой борьбе за власть принимало участие восемь основных «центров тяжести»:
1) Адольф Гитлер;
2) Мартин Борман и аппарат НСДАП;
3) Альфред Розенберг и министерство оккупированных восточных территорий; Генрих Лозе, рейхскомиссар «Остланда»; Эрих Кох, рейхскомиссар Украины;
4) Йозеф Геббельс и министерство пропаганды;
5) Иоахим фон Риббентроп и министерство иностранных дел;
6) Герман Геринг и четырехлетний план, а также другие органы экономики;
7) Генрих Гиммлер и империя СС;
8) Вооруженные силы, сами по себе разрываемые внутренними разногласиями.
Эта «большая восьмерка» и большая часть подконтрольных им ведомств зачастую конфликтовали друг с другом. Эти конфликты можно классифицировать по четырем категориям: личностные конфликты на почве личной неприязни (например, между Розенбергом и Риббентропом); борьба за власть и авторитет между отдельными участниками (например, Гиммлером, Геббельсом и Борманом) и между ведомствами (например, партией, государством, СС и армией); конфликты на почве юрисдикции (например, соперничество за право контроля над средствами связи на оккупированном Востоке); политические споры о тактике или принципах в отношении настоящего и будущего Востока (например, борьба за судьбу колхозов).
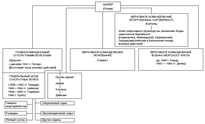
СТРУКТУРА ВЛАСТИ ТРЕТЬЕГО РЕЙХА (ВОСТОЧНЫЕ ТЕРРИТОРИИ)
Часто эти конфликты переплетались между собой. Предпосылкой некоторых споров являлась Восточная кампания; другие же главным образом были вызваны факторами, не связанными с войной. Некоторые участники объединялись в неофициальные альянсы – альянсы, которые сами, в свою очередь, были подвержены радикальным изменениям. Циники и реалисты, идеалисты и оппортунисты, люди ограниченных способностей и самородки, сильные и слабые – все они одновременно сотрудничали и враждовали друг с другом.
Первые шаги
В преддверии декрета «Барбаросса» Генеральный штаб задумался над будущей администрацией оккупированных территорий на Востоке. В январе 1941 г. оперативный отдел Генштаба постановил, что вопреки соображениям безопасности в «тыловые районы» будет направлено минимальное количество вооруженных сил. И в первой половине февраля генерал-квартирмейстер Эдуард Вагнер направил начальнику штаба вопрос о «создании военной администрации для «Барбароссы». Однако даже с учетом этого армия уделяла сравнительно мало внимания административным аспектам предстоящей оккупации. Причиной тому стало не только сосредоточение исключительно на военных вопросах. Ожидалось, что после завершения краткой кампании эти области больше не будут заботой Верховного командования. Более того – и это было дополнением к первому аргументу – с 1939 г. у армии уже был горький опыт в области военного управления.
Нежелание армии брать на себя «излишние» административные обязанности вполне совпадало с мировоззрением самого Гитлера. На совещании с Кейтелем 3 марта он заявил, что будущие задачи в оккупированной России настолько сложны, что их нельзя доверять военным. Потому захваченные территории должны быть как можно быстрее отданы под ответственность более надежной гражданской администрации. В результате этой дискуссии 13 марта Кейтель подписал особую директиву, которая учреждала основной порядок будущего управления Востоком. Сферы военного управления он сократил до минимума: «Зона военных действий, образовавшаяся по мере продвижения армии за пределы рейха вглубь соседних государств, должна быть как можно более ограниченной… Как только зона военных действий достигнет достаточной глубины, она будет ограждена с тыла. Недавно оккупированная территория в тылу зоны военных действий получит свое политическое управление».
Таким образом, военная оккупация должна была охватывать только ограниченные территории, расположенные вблизи линии фронта; срок военного управления должен был быть ограничен, все большая часть регионов должна была переходить под ответственность гражданской администрации по мере продвижения армии вглубь территории противника. Участие военной администрации должно было быть недолгим в угоду соображениям полезности. Гитлер наивно и безосновательно считал, что политические решения могут быть отложены до того момента, пока оккупированные территории не будут приведены в порядок.
Территории, расположенные в тылу зоны военных действий, находившиеся под «политическим управлением», должны были быть разделены по двум критериям: по секторам, принадлежавшим каждой из групп армий: «Север», «Центр» и «Юг»; и в соответствии с существовавшими этническими границами. Того, что эти два критерия исключали друг друга, немцы, очевидно, не учли. К тому моменту были выпущены только общие директивы. «На этих территориях, – гласил приказ, – политическое управление переходит к рейхскомиссарам, которые будут получать директивы от фюрера». Таким образом, захваченные территории должны были быстро быть переданы немецкой гражданской администрации, во главе которой стояли бы уполномоченные представители фюрера, получившие неуместное звание рейхскомиссаров. Ни о какой власти коренных народов, ни о какой перспективе возможной автономии или независимости речи не велось.
С одобрения Гитлера 31 марта был выпущен более полный указ «О едином исполнении» восточного задания, который несколько дней спустя был более подробно изложен кабинетом генерала Вагнера в ряде «Особых директив». «Систематическое управление и эксплуатация страны, – говорилось в нем, – потребует внимания только на более поздних этапах. Это задача не армии».
У военных не было причин возражать против этих указаний. Они наделяли армию ровно теми функциями, на которые она и рассчитывала, не больше и не меньше.
Теперь, после того как армия расставила приоритеты и определила границы своей юрисдикции, началась разработка функций гражданской администрации. В рамках реализации указа от 31 марта Альфреду Розенбергу 2 апреля было доверено формирование «политического бюро на Востоке». Его полномочия были расширены, когда 20 апреля Гитлер поручил ему «централизованно» заниматься всеми вопросами «восточноевропейского пространства». В его ранних меморандумах о планировании встречаются отсылки к предыдущим директивам. «Оккупация европейского Востока, – писал он, – будет проходить в два этапа: во-первых, непосредственно боевые действия, а во-вторых, как можно более быстрый переход от военной оккупации к гражданской администрации, то есть к различным рейхскомиссариатам».
К началу мая Розенберг собрал штат, который после подписания фюрером соответствующего указа мог стать (и вскоре после начала войны стал) министерством, ответственным за принадлежавшие теперь немцам территории СССР.
Альфред Розенберг
Розенберг, сын немецкого башмачника (по другим данным, купца), родился в 1893 г. в Ревеле (Таллине) в Эстляндии (Эстонии), тогда принадлежавшей Российской империи. Вот два фактора, которые привели к непоследовательности его дальнейшей карьеры.
Он воспитывался в немецком доме, где ему привили уважение к немецкому языку и традициям, но он также страстно увлекался культурой и обычаями России. В образовательном процессе молодого Розенберга Толстой и Мусоргский стояли в одном ряду с Бисмарком и сагами германской древности. Но учеба не приносила ему удовлетворения. Отвергая христианство, не уверенный в себе и несчастный в нижней части среднего класса Розенберг жаждал веры и власти.
В то время еще не проявлялись признаки его будущей «идеологии». Его круг общения включал в себя как русских, так и евреев. Во время Первой мировой войны он оказался на российской стороне фронта – это обстоятельство не вызвало у него сильных приступов самокопания. Даже русская революция не побудила его к участию в политической деятельности; он продолжал оставаться сторонним наблюдателем.
Только после немецкой революции он отправился в рейх. Покинув насиженное место, неприкаянный Розенберг оказался в романтической революционной атмосфере Мюнхена 1919 г. Вот магнит, привлекавший сборную солянку фанатичных идеалистов, деклассированных элементов и разочарованных политиков всех сортов и убеждений. Вскоре Розенберг оказался в русле новой и на тот момент еще окончательно не сформировавшейся группы вокруг Адольфа Гитлера. Он присоединился к ней и в 1921 г. стал редактором центрального органа молодой НСДАП, Volkischer Beobachter.
После драматического, но нелепого Пивного путча в ноябре 1923 г., в результате которого Гитлер попал в тюрьму, Розенберг смог утолить свою жажду власти, возглавив остатки партии. Однако у них с Гитлером возникли разногласия по поводу тактических вопросов, и после выхода из тюрьмы Гитлер держал «философа» на расстоянии вытянутой руки. Несмотря на унижение и недовольство, Розенберг остался в движении, продолжая подчиняться приказам фюрера. Он стал иностранным экспертом нацизма и его «идеологом»; его загадочное и малопонятное для многих обоснование сути расизма, «Миф XX века» (1930 г.), благодаря своей претензии на ученость и непостижимость прочно закрепило его авторитет в нацистских кругах. Однако полностью «реабилитироваться» Розенбергу так и не удалось.
Даже после того, как Гитлер взял на себя бразды правления, Розенберг не получил портфеля министра: Гитлер знал, что он не практический политик. Он руководил «идеологической пропагандой», но даже в этой области были те, кто успешно составлял ему конкуренцию, например Геббельс. Он руководил внешнеполитическим персоналом партии, но даже со связями и покровительством не смог вытеснить профессиональных донацистских дипломатов. Где бы Розенберг ни пробовал свои силы, везде он терпел неудачу. Договор о ненападении, казалось, положил конец его тщательно продуманному движению – антибольшевизму. Отвергнутый министерством иностранных дел, Розенберг также был не в ладах с СС, потому что водился со штурмовиками партии, СА, которые видели в СС соперников. Именно из СА он намеревался набрать основную часть своего штата, когда в 1941 г. наконец появились первые намеки на то, что Гитлер хотел, чтобы Розенберг – единственный в нацистской верхушке человек, имевший непосредственное отношение к Востоку, – взял под свой контроль обширные пространства, которые должны были быть захвачены германской армией.
Эта задача была ему по душе. Жадно, по-детски он потянулся за властью. С весны 1941 г. до последних дней нацистского государства он настаивал на своих прерогативах, на исключительной юрисдикции своего кабинета, на своем единоличном праве командовать и принимать решения. Однако вскоре он понял, что другие будут пытаться умалить роль германского самодержца, управляющего Востоком, которую он для себя уготовил. Неспособный плести интриги, но неспособный также и на прямолинейную откровенность по отношению к фюреру, он снова был обречен на разочарование и бесполезность. Формально он, может, и стоял во главе огромного министерства и даже более обширного штата, но на практике его игнорировали, обходили, с ним не считались. Гитлер, его начальник, как и его подчиненный Кох, делали что им вздумается, зачастую даже не удосуживаясь сообщать Розенбергу об этом. Теоретик от дьявола, философ немецкого величия, трибун антисемитизма стал бесполезным министром, который, хоть и носил высокое звание, был ограничен со всех сторон, стал отцом фантастического замысла, который не смог воплотить в жизнь.
Генрих Гиммлер
«СС» был общим термином для обозначения империи Генриха Гиммлера. По-разному организованные и реорганизованные, на самом деле они включали в себя, помимо изначальных отрядов охраны, полицию, гестапо и элитные боевые подразделения ваффен СС. РСХА (Reichssicherheitshauptamt, Главное управление имперской безопасности), которое также находилось под командованием Гиммлера, и его филиалы охватили широкий спектр разнообразных видов деятельности. Это была «империя внутри империи», и Гиммлер как рейхсфюрер СС был ее бесспорным вождем. Он обладал настоящей властью, более автономной, чем у его соперников, властью, которую боялись все, кому довелось с ней столкнуться, и те, кто соперничал с ним за почетное место в нацистской Валгалле.
«В его характере не было ничего ужасающего или взрывного», – высказывался один историк. Его холодность была «не ледяная, а бескровная. Он не восхищался жестокостью, он был равнодушен к ней; чужие угрызения совести были для него не презренными, а непонятными…». Он был Великим инквизитором, «политическим эзотериком, человеком, который был готов пожертвовать человечеством во имя абстрактного идеала». Если Гитлер считал себя хозяином нацизма, Гиммлер, по сути, считал себя слугой всего мифа – арийской чистоты, германской миссии и всего остального. «Наполовину наставник, наполовину псих» – так видел его Альберт Шпеер, но также лидер, заслуживший преданность своих последователей. Озабоченность древними рунами и черепными эмблемами не помешала ему превратить свою частную армию в мощное орудие.
ИМПЕРИЯ ГЕНРИХА ГИММЛЕРА
Окружая себя невежественными астрологами, массажистами, мясниками и проходимцами, которые «добились успеха» в СС, Гиммлер неустанно стремился к все большему количеству власти. Одно агентство за другим было поглощено лабиринтом политических компаний-учредителей и взаимосвязанных отделений, в которых Гиммлер держал долю. Разумеется, другие нацистские апостолы возненавидели этого человека. Гитлер уважал его, но теплых чувств к нему никогда не питал. Борман считал Гиммлера самым опасным конкурентом своей собственной слаженно работавшей клики. Армия видела в СС орду соперников, буянов и революционеров. Нацистская партия и СА – включая Розенберга – относились к Гиммлеру со смесью страха и отвращения. Против тайного ордена, коим являлся СС, был сформирован молчаливый и бесплодный фронт.
Гиммлеру удалось реализовать свою претензию на наследие Востока. Уже после первого обсуждения 3 марта 1941 г. Гитлер был склонен наделить его обширными прерогативами. На этом подготовительном этапе именно полицейские функции стали для него отправной точкой. Однако останавливаться на этом он не собирался: он не только назначал высокопоставленных лиц полиции и направлял вооруженные силы в области гражданского управления, но и «по указанию фюрера в зоне операций армии, – директива Кейтеля от 13 марта, – рейхсфюреру СС поручены особые задания по подготовке к политическому управлению; задачи, которые возникнут в результате окончательного столкновения двух противоположных политических систем. В рамках этих задач рейхсфюрер СС действует по своему усмотрению и под свою ответственность».
Таким образом, Гиммлер получил карт-бланш, позволивший ему расширить свою империю на Восток – империю, подотчетную лишь фюреру. Что это были за особые задания, можно было понять из ранних комментариев Гитлера: гиммлеровская СД (Sicherheitsdienst, служба безопасности) должна была сформировать особые айнзацгруппы (Einsatzgruppen, группы развертывания), чья задача заключалась в том, чтобы следовать по пятам за завоевательной армией, прочесывать завоеванные территории и беспощадно истреблять идеологических и расовых врагов. Это было так характерно для Гитлера: в то время как ничего еще не было решено в отношении будущей организации Востока, его приказы уже предусматривали убийство миллионов евреев и неопределенного количества других «расовых, уголовных и асоциальных» элементов, большевистских комиссаров, а также цыган.
Гиммлер, который отвечал за Дахау и Заксенхаузен, был подходящим человеком для этой должности. Он стал выдающимся представителем фракции, которая хотела, чтобы к славянам – и восточным народам вообще – относились как к низшей расе. Это новое задание он получил всего через несколько месяцев после того, как изложил на бумаге «некоторые идеи относительно обращения с чужеродными элементами на Востоке». За исключением небольшого «расово достойного» меньшинства[8], Восток должен был стать «резервом рабочей силы без собственного руководства, способным ежегодно поставлять Германии необходимое количество временных работников». Что еще можно было ожидать от этих восточников «без собственной культуры»?
Империя Гиммлера обрела независимую позицию на Востоке, на что армия, уже занимавшаяся подготовкой к предстоящей кампании, не хотела закрывать глаза. «Ряд директив в отношении операции «Барбаросса», – вспоминал фельдмаршал Кейтель после войны, – касательно управления и использования оккупированных регионов, привел к резким конфликтам из-за полномочий, предоставленных рейхсфюреру СС. Я понимал, что параллельно армии и ее главнокомандующему как единолично ответственной и исполнительной власти в отношении населения формируется полиция с исполнительными полномочиями, чья власть вызывала у меня сильные сомнения».
Тем не менее именно Кейтель издал вышеописанные указания от 13 марта. Кейтель – небезосновательно прозванный Лакейтель по аналогии с лакеем – слишком подобострастно относился к фюреру, чтобы перечить ему, даже когда искренне с ним не соглашался.
Примерно 25 % русских, 35 % украинцев – их планировалось онемечить.
Армия и приказ о комиссарах
Гитлер продолжал подчеркивать «идеологические» аспекты предстоящего конфликта. 30 марта 1941 г. в длинном обращении к своим ближайшим советникам он обрисовал направление, в котором стоило двигаться Германии. Гальдер изложил свои замечания в сжатой форме: «Столкновение двух идеологий. Уничтожающее порицание большевизма, отождествляемого с социальной преступностью. Коммунизм – это огромная опасность для нашего будущего. Мы должны забыть о понятии товарищества между солдатами. Коммунист не является товарищем ни до, ни после битвы. Это война на истребление… Мы воюем не для того, чтобы помиловать врага».
Люди Гиммлера хорошо подходили для осуществления этих планов. Но готова ли была немецкая армия с ее профессиональными традициями и добросовестностью к «войне на истребление»? Армия повиновалась, но генералы были возмущены как никогда, ведь политика истребления распространялась не только на СС, но и на армию. Гитлер призвал своих генералов «отбросить свои личные сомнения», чтобы понять, что «жесткость сегодня означает мягкость в будущем». Но приказать им «истреблять большевистских комиссаров и коммунистическую интеллигенцию» значило заставить их выбирать между совестью и послушанием. То, что предложил Гитлер, было новой концепцией карательной войны: определенная часть вражеских сил априори клеймилась преступниками, приговоренными к истреблению.
Несколько недель армия готовила проект «Директив об обращении с политическими комиссарами». 12 мая генерал Варлимонт передал Йодлю готовый текст. Было постановлено:
1) Политработники и лидеры (комиссары) должны быть ликвидированы.
2) В случае если таковые будут захвачены армией, принимать решение об их ликвидации должен офицер, уполномоченный налагать дисциплинарные взыскания. Достаточным основанием для такого решения будет то, что лицо является политработником.
3) Политические комиссары [Красной] армии не признаются военнопленными и должны быть ликвидированы; в крайнем случае в транзитных лагерях. Никакой передачи в тыл…
Это был пресловутый приказ о комиссарах. Несмотря на все свои предыдущие протесты, Йодль и Варлимонт приняли его без возражений. В поисках оправдания для нестандартного приказа под текстом Варлимонта Йодль подписал: «Мы должны расквитаться за возмездие против немецких летчиков; поэтому лучше всего изобразить все это как ответную меру». Розенберг же утверждал, что рядовые захваченные специалисты будут крайне необходимы немцам для управления оккупированными районами. Поэтому – отнюдь не возражая против убийств без суда как таковых – он попросил Верховное командование ограничиться истреблением только высших чинов. Судя по всему, Йодль и Варлимонт были готовы поддержать это предложение. Однако на следующий день, 13 мая, Гитлер принял решение, и Кейтель отдал соответствующие приказы: все комиссары должны быть убиты.
За несколько дней до этого 6 мая ОКХ издал аналогичный приказ об обращении с гражданским населением на Востоке. Приказ предусматривал «расстрел в бою или при бегстве» всех местных жителей, которые «участвуют или хотят участвовать во враждебных актах, которые своим поведением представляют собой прямую угрозу для войск или которые своими действиями оказывают сопротивление вооруженным силам Германии». В случае задержания они должны были предстать перед немецким офицером, который решит, будут ли они расстреляны. Уже на этом раннем этапе было санкционировано «применение силы» в населенных пунктах, «в которых совершаются скрытые злонамеренные действия любого рода». И наконец, немецкие солдаты, совершавшие «наказуемые деяния» на оккупированной земле «из-за горечи от зверств или подрывной работы носителей еврейско-большевистской системы», не подлежали преследованию.
Директивы в одобренном Гитлером виде оставались практически неизменными. Особый акцент делался на то, что «войска должны безжалостно защищаться против любой угрозы со стороны враждебного гражданского населения».
Эти меры и дискуссии вокруг них были показательными как в отношении основной ориентировки, с которой немецкие войска отправлялись на советскую территорию, так и в отношении сложности и амбивалентности мнений внутри Верховного командования. Высшие эшелоны (Кейтель, Йодль, Варлимонт) добровольно или не очень составляли и издавали указы по приказу фюрера. Генеральный штаб к одобрению этих приказов подходил с гораздо большей неохотой. К тому же возникали серьезные сомнения касательно того, будут ли командиры армии эти приказы выполнять.
ВЫСШЕЕ КОМАНДОВАНИЕ ВЕРМАХТА
Фельдмаршал фон Браухич, главнокомандующий сухопутными силами, позже свидетельствовал, что он обходил и игнорировал эти приказы. Некоторые генералы решили эту дилемму, просто не передав приказ о комиссарах своим подчиненным. Хотя Гитлер продолжал настаивать на том, что оккупационные силы должны были распространять «террор, который сам по себе отбил бы у населения всякое желание оказывать сопротивление», а командиры армии на местах несли личную ответственность за исполнение указа, на деле (что подтверждал даже маршал Паулюс, явившийся на Нюрнбергский процесс в качестве свидетеля обвинения) приказ не выполнялся из-за негласного сопротивления генералов. Генералы Остер и Бек, одни из главных заговорщиков 1944 г., при обсуждении указа с фон Хасселем сошлись во мнении, что «волосы встают дыбом, когда видишь неопровержимые доказательства… систематического превращения военного права в отношении завоеванного населения в неконтролируемый деспотизм – насмешка над законом как таковым».
Фон Тресков, блестящий молодой офицер оперативного отдела штаба группы «Центр» (а позднее лидер антигитлеровского движения), убедил своего командира подать протест в штаб армии. Другие генералы поступили так же. Продолжительная враждебность военных вынудила Кейтеля издать секретный указ, приказывавший генералам «уничтожить все копии… указа фюрера от 13 мая 1941 г.». Но он добавил: «Уничтожение копий не означает отмену приказа». Разрыв между политикой и практикой, а также между большим количеством генералов и послушных подхалимов вроде Кейтеля неумолимо увеличивался с началом Восточной кампании.
Предполагаемые наследники
Ранние замечания Гитлера навели всех на мысль, что каждый из трех основных претендентов на наследие Востока – Розенберг, Гиммлер и вермахт – получит долю в будущей администрации, причем основная тяжесть ляжет на гражданское население, а вермахт и СС будут выполнять конкретные, ограниченные функции. Однако вскоре стало очевидно, что на фактическое разделение власти влияли многочисленные интриги между конкурирующими группами. И жертвой этих интриг почти всегда был Розенберг.
Большую часть времени находившийся за кулисами Мартин Борман придерживался позиции, которую он мог продвигать, пользуясь своим авторитетом у Гитлера. «Злой гений Гитлера», «Мефистофель фюрера», «коричневый кардинал» – эти и подобные эпитеты отображают мнение других немецких лидеров о Бормане. Как и у Гиммлера, у Бормана тоже была своя личная империя – аппарат нацистской партии, – но он не был скован такими вещами, как преданность великой цели Гиммлера, соблюдение самодельных «принципов» Розенберга или традиции и щепетильность армии. Старательно скрываясь за кулисами, он был откровенным сторонником макиавеллизма, безудержным в своей ярости по отношению к любому, кто активно или пассивно стоял на его пути.
Борман презирал Розенберга как витавшего в облаках мечтателя и считал само собой разумеющимся, что Розенберг должен был быть использован в его (Бормана) интересах. Поэтому Борман был претендентом совсем другого кроя – эффективным, и не из-за какого-то его официального статуса в восточных делах, а из-за авторитета, которым он пользовался у самого Гитлера; у своего коллеги в штаб-квартире фюрера Ганса Генриха Ламмерса, начальника Имперской канцелярии; а позднее и у номинального подчиненного Розенберга гаулейтера Эриха Коха, рейхскомиссара Украины.
Некоторые в СС ожидали, что в соответствии со своим элитным статусом и растущим влиянием в Третьем рейхе Гиммлер станет главным политиком на будущем оккупированном Востоке. В СС уже намечались планы относительно роли, которую они сыграли бы в будущей администрации. Борман, однако, был намерен не допустить дальнейшего роста влияния СС. Потому он решительно поддержал кандидатуру Розенберга в имперском министерстве оккупированных восточных территорий – не потому, что уважал Розенберга, а именно потому, что знал, что он не опасный соперник.
У Бормана был шанс в апреле 1941 г., когда переговоры о координации действий между будущими отрядами СД и армией предоставили возможность для неофициальных обсуждений, в ходе которых СС выдвинули дополнительные требования. В чем СС и армия нашли точку соприкосновения, так это во враждебности к гражданским ветвям. Потому было вполне естественно, что некоторые офицеры СС пытались убедить ОКВ, что им следует поделить «восточный пирог» между собой, чтобы вермахт стал хозяином передовой зоны, а СС остались свободным корпусом, фактически ответственным за новый порядок на Востоке. Для армейских офицеров представители СС стремились изобразить будущую роль СД на Востоке как «передовых групп» будущих «комиссариатов». Этот план был обречен на неудачу. Военные боялись предоставить СС слишком много свободы, в то время как в самих СС происходили внутренние противоречия, так как ваффен СС требовали более привлекательной роли, чем роль «сторожа» в тылу. Более того, слишком длинной была история трений и подозрений между армией и СС, чтобы ее можно было так просто забыть; и Гитлер уже дал Розенбергу первое задание по подготовке будущей администрации. Таким образом, в середине мая, когда генерал Вагнер доложил о требованиях СС начальнику Генерального штаба сухопутных войск, Гальдер загадочно отметил в своем дневнике: «Отряды СС в тылу: в миссиях, запрошенных этими подразделениями, должно быть отказано».
Тем временем эта проблема была доведена до сведения Гитлера. Борман, стремясь повлиять на ход событий, убедил фюрера «обсудить дело со всеми, кого это касается» – что было характерно для Бормана – не на общем совещании, а с глазу на глаз. Как представитель партии, Борман возражал против роста влияния армии и СС; слухи о размещении войск на Востоке, как писал участник борьбы, сулили ненавистным для партийного аппарата армии и СС «такую власть, которая была бы проблематичной, а может быть, даже опасной» для партии. В этом отношении Розенберг и Борман были солидарны друг с другом.
«НСДАП как «носитель политической воли» немецкого народа должна была оказывать решающее влияние в управлении российскими территориями, – утверждает он [Борман], – т. е. гражданская администрация должна была быть создана нацистской партией и управляться ей же».
Борман успешно провоцировал Розенберга на противодействие схеме СС – настолько успешно, что человека, расстроившего его планы по гегемонии на Востоке, Гиммлер видел не в Бормане, а в Розенберге. И он так никогда и не простил будущего министра по делам оккупированных восточных территорий за этот удар в спину – удар, который на деле был нанесен Борманом.
6 мая Розенберг несколько напыщенно, но в целом без злых намерений сообщил Гиммлеру о своем назначении и попросил рейхсфюрера СС назначить посредника между ними. Гиммлер отреагировал со злобой. 21 мая он издал указ о функциях СС и СД на Востоке. Указ старательно игнорировал Розенберга и подчеркивал «содействие Верховного командования армии» в предлагаемых им мерах «по исполнению особых поручений, возложенных на меня фюрером в области политического управления». Пренебрежение к Розенбергу был налицо. Оно было выражено в четкой форме в письме Гиммлера Борману четыре дня спустя. Отказав Розенбергу в требовании утвердить все назначения персонала СС на Востоке, возмутившись его попытками посягнуть на полномочия рейхсфюрера СС и стремясь максимально расширить свою сферу действий, Гиммлер напомнил Борману, что «на мой вопрос в рейхсканцелярии фюрер сказал мне, что [в выполнении своих задач] я не обязан подчиняться Розенбергу».
«Из-за манеры, – заключил он, – с которой Розенберг подходит к данному вопросу, с ним, как обычно, бесконечно сложно работать один на один… Работать с Розенбергом, а уж тем более под его началом, – безусловно, самое трудное в НСДАП».
Тем временем Гитлер стоял на своем. Власть оставалась разделенной между его заместителями, и, вопреки протестам Розенберга, фюрер подтвердил, что полицейские вопросы на Востоке должны были решаться людьми Гиммлера.
Розенберг теперь рассматривал Гиммлера и Бормана как опасных врагов. Годы спустя в своей тюремной камере в Нюрнберге он с горечью вспоминал, как они сговорились против него. «Вот так, – писал он с жалостью к себе и неуместной иронией, – началась моя кропотливая борьба за благородную концепцию рокового восточного вопроса… Мартин Борман отстаивал интересы рейха с предвзятостью по отношению к слабому Розенбергу, который, возможно, по-прежнему симпатизировал славянам больше, чем того требовало проведение Ostpolitik в военное время. И Гиммлер поддержал эту точку зрения…»
Конфликт между Гиммлером и Розенбергом продолжался. Еще до начала вторжения СС запросили более широкие полномочия на Востоке. Розенберг, всегда видевший во всем подвох, быстро узрел в этом вызов своему политическому превосходству и сразу же отклонил предложенную поправку. Гиммлер вернулся с подправленной версией, которая позволила бы Розенбергу издавать декреты – в соответствии с директивами Гиммлера. Розенберг снова возразил. Вежливо доложив фюреру о том, что ведутся «длительные обсуждения отношения полиции к новому порядку на Востоке», он ясно дал понять, что предложенные СС изменения для него были неприемлемы. Со временем борьба между Розенбергом и Гиммлером становилась все более напряженной.
Экономические учреждения
Органы, занимавшиеся экономической эксплуатацией СССР, занимали особое место в конкурсе на власть. Министерство сельского хозяйства, министерство экономики, экономическое управление ОКБ под руководством генерала Георга Томаса и ведомства Германа Геринга – управление по четырехлетнему плану и особая полувоенная организация по эксплуатации Востока, Wirtschaftsstab Ost (Центральное торговое общество «Восток») – были заинтересованы в ограничении правомочий персонала Розенберга; все они были в разной степени не согласны с поддерживаемой им политикой.
К 10 декабря 1940 г. Верховное командование получило первый комплексный отчет о предполагаемом использовании восточных ресурсов. К февралю 1941 г. был набран штат «Ольденбурга» и была изложена его основная политика; это было кодовое название будущего торгового общества «Восток». Обозначая полномочия данной организации, генерал Томас «ясно дал понять, что она должна быть независимой от военных и гражданских администраций». Отчасти это было бюрократическое строительство империи, отчасти спрос был обусловлен рядом различных факторов. Не было ничего противоестественного в том, что конкретная организация, которой поручены вопросы экономической эксплуатации, поставит во главу угла свои собственные задачи. Но вермахт, Розенберг и Борман в кои-то веки сошлись во мнении: «Планы операций не должны подстраиваться под экономистов».
Продолжая свое планирование в условиях относительной секретности, «Ольденбург» подготовил отчет о целях, который затем был представлен другим ведомствам на утверждение. Набор аксиом, принятый 2 мая, представляет собой яркий образец крайнего экономического этноцентризма:
1) Войну можно проводить только в том случае, если к третьему году войны [начиная с сентября 1941 г.] вооруженные силы Германии можно будет полностью прокормить за счет России.
2) Таким образом, десятки миллионов, несомненно, погибнут от голода, если мы заберем из страны все, что нам нужно.
Такая точка зрения положила начало коалиции между экономическими эксплуататорами и сторонниками политики колонизации на Востоке. Позиция обоих подразумевала полное пренебрежение интересами населения Востока. Формировался своеобразный союз между различными ветвями, основанный на ведении неполитической войны на Востоке – неполитической в смысле отказа от «обещаний» или «уступок» советскому населению в попытке переманить его на сторону Германии; отказа признать местное население чем-то большим, чем объектом эксплуатации. В этом отношении с началом войны и СС, и высшие экономические эшелоны и «колонизаторы» вроде Бормана могли прийти к соглашению.
Пожалуй, наиболее претенциозными из экономических директив, отражавших эту позицию, были «Двенадцать заповедей», подготовленные Гербертом Бакке, статс-секретарем (и впоследствии министром) по вопросам продовольствия и сельского хозяйства. Россия, по его словам, «существовала только для того, чтобы кормить Европу». Для реализации его фантастических планов требовалось особое отношение со стороны нацистских чиновников.
«Лучше ошибочное решение, чем отсутствие решения… – наставлял Бакке немцев, которые должны были взять на себя ответственность за советское сельское хозяйство. – Краткие, четкие инструкции подчиненным в виде приказов; никаких объяснений или причин не давать… Всегда демонстрируйте единство немцев. Перед русским надо защищать даже ошибки немцев».
Провозглашая превосходство интересов Германии, Бакке читал лекции своим приспешникам: «Вам никогда не удастся переговорить русского или убедить его словами… Вы должны действовать. На русского могут произвести впечатление только действия, потому что русский – существо женственное и сентиментальное». В то же время он приказал: «Держитесь подальше от русских; они не немцы, они – славяне… Русский на основе многовекового опыта смотрит на немца как на превосходящее его существо».
«Низшие существа» – русские – не могли стать полноправными партнерами рейха. «Мы не хотим обращать русских на путь национал-социализма, мы хотим только сделать их орудием в наших руках». Выводы были очевидны: «Русский человек привык за сотни лет к бедности, голоду и непритязательности. Его желудок растяжим, поэтому не допускать никакой поддельной жалости!»
Бакке стал частью «Ольденбурга». Вальтер Функ также вступил в ряды врагов Розенберга. Как он позднее свидетельствовал, он «пытался помешать Розенбергу основать новую организацию (для управления советской экономикой), что тот намеревался сделать». Розенберг робко признавал, что в его отношениях с экономическими учреждениями «определенные проблемы» все еще оставались «нерешенными».
Министерство иностранных дел
Таким образом, Розенберг с самого начала был изолирован совокупностью сил, которые, хоть и состояли в разногласиях друг с другом, объединились в стремлении урезать границы полномочий, на которые он претендовал. Не все были такими же влиятельными, как Борман или Гиммлер.
С началом войны министерство иностранных дел, этакая «аристократическая аномалия в революционном мелкобуржуазном государстве», начало ощущать последствия стандартного процесса отхода от дипломатии в военное время – особенно остро проявлявшиеся из-за личных качеств его главы. Министерство иностранных дел даже не было приглашено к участию во «внутреннем круге» советников, которые занимались подготовкой к военной кампании против СССР. Это не помешало ему спроектировать и учредить еще в апреле 1941 г. ведомство Auswartiges Amt (министерство иностранных дел), состоявшее из ведущих немецких экспертов по делам СССР. Однако советник Георг Гросскопф, преданный спонсор ведомства (а впоследствии офицер связи у Розенберга), и не догадывался, что многие из его будущих членов занимали должности в других учреждениях, которые и сами планировали управлять завоеванными советскими территориями. Таким образом, так называемый «российский комитет» больше походил на правительство в изгнании. В глазах Гитлера они остались кучкой «обманутых дураков».
Министерство иностранных дел тем не менее продолжало пытаться выполнять свою функцию. 22 мая – за месяц до нападения – Гросскопф предложил план преодоления существовавших «резких расхождений» между ведомствами Германии путем назначения представителей министерства иностранных дел в каждом регионе оккупированного Востока. Однако Розенберг, как всегда, был врагом министерства иностранных дел, которое он в течение многих лет безуспешно пытался вытеснить своей собственной организацией. Но когда Розенберг заявил, что услуги министерства иностранных дел на Востоке не требуются, Риббентроп, также завидовавший его полномочиям, поспешил резко возразить: «Территория, которая будет оккупирована немецкими войсками, – писал он, – будет со многих сторон граничить с другими государствами, интересы которых будут затронуты в наибольшей степени… Министерство иностранных дел не может смириться с отсутствием на месте представителей, натасканных по вопросам внешней политики и разбирающихся в местных условиях».
Риббентроп хотел, чтобы офис Розенберга ограничился лишь административными вопросами, предоставив решение политических вопросов Auswartiges Amt.
Несмотря на решительный отказ от данного предложения, Розенберг не мог закрыть глаза на требования о назначении дипломатических представителей в качестве наблюдателей при передвижении армии и гражданского персонала на Восток. Вскоре после начала вторжения было учреждено соответствующее ведомство. Несмотря на то что Розенберг пошел на уступку – отчасти чтобы отделить дипломатический корпус от армии, – он остался верен своим политическим прерогативам. Поэтому в свойственной ему манере, когда ему казалось, что кто-то посягает на его безраздельную власть, он заявил, что «…фюрер поручил ему взять на себя ответственность за будущие политические условия в восточных регионах. Эта миссия, по его словам, не имела временных рамок, и он намеревался сформировать политические условия в этих регионах в соответствии с этой миссией. Поэтому он не мог позволить министерству иностранных дел вмешиваться…».
В каком-то смысле и Розенберг, и Риббентроп сражались с воображаемым оппонентом. Им обоим недоставало хитрости и напористости. Но Розенберг был новичком, набирающим популярность, а министерство иностранных дел уже находилось в упадке. Его роль в восточных вопросах была лишь вспомогательной.
