автордың кітабын онлайн тегін оқу Лучшие рецепты самогона
Агафья Звонарева
Лучшие рецепты самогона
От автора
Еще при Мишке Меченом я ни за что бы не решилась написать эту книжку: тогда за самогоноварение сажали.
Спасибо покойному Борису Николаичу! На рельсы не лег, но хоть что-то полезное сделал для россиян – в его царствие убрали статью из Уголовного кодекса…
Так что теперя гнать самогон можно.
Ну, во всяком случае, пока ничего не изменилось…
Запомни крепко, внучок: для себя гнать можно, для личного употребления, а не для продажи. А вот будешь торговать самогоном – накажут! У государевых людей на тебя сразу зуб появится:
– занимаешься нелегальным бизнесом,
– продаешь пойло неизвестно какого сорта и качества,
– утаиваешь доходы,
– не платишь налоги…
Ежели успеешь немного продать, то отштрафуют.
А если много – могут и рублем наказать, и отправить туда, куда Макар телят не гонял…
Все, что нужно для начала, есть в этой книге.
Остальные знания придут с опытом и от общения с «коллегами».
Как прочитаешь эту книгу, подумай, стоит ли овчинка выделки? А уж если решился, то надо:
– достать или смастерить самогонный аппарат,
– выбрать рецепт закваски,
– достать нужное сырье,
– подготовить сырье,
– изготовить брагу,
– залить брагу в аппарат,
– перегнать брагу в самогон,
– облагородить полученный напиток,
– разлить в тару,
– употреблять его в меру…
Не бойся, ничего сложного в приготовлении самогона нет! Если уж бабки в глухих деревнях его гонят, то и ты справишься! Ну, пару-тройку раз, быть может, сделаешь не совсем то, что хотелось. Зато потом набьешь руку!
Иногда самогон называют мутным.
Это брехня, внучок!
Ежели самогон мутный, с дурным запахом и противным вкусом, то это значит, что качество его очень низкое.
Самогон правильно приготовленный, хорошо очищенный и облагороженный – чист, как слеза младенца.
Употреблять его даже полезнее, чем покупную водку.
Один черт знает, какую водку тебе втюхают в магазине!
Глава 1 Самогонные аппараты
1
Аппарат для самогоноварения – штука сама по себе очень простая. Он состоит из котла (бражника), в него заливается брага. Брага – это такая жидкость, спирта в ней мало, не более 15 %. Под котел чаще всего используют металлический жбан объемом 15–20 л и более. Очень удобны молочные бидоны, доильные аппараты и скороварки – у них крышка плотная, и в то же время она легко снимается.
Если руки у тебя растут не из задницы и ты сам решил наладить бражник, то не забывай: он обязательно должен иметь съемную крышку. Так его легче мыть после перегонки…
В крышке котла-бражника нужно сделать две дырки с резьбой: туда вкручиваются термометр и отводящая трубка.
А еще лучше – три дырки (третья – для предохранительного клапана, излишки пара выпускать)…
Какой термометр лучше использовать? Любой. Лишь бы он был жидкостный, со шкалой до +120°.
Бражник можно нагревать как угодно: просто огнем, горелкой, электрической плиткой…
Лучше, конечно, электрический обогреватель – температуру легче регулировать.
Что у нас получается?
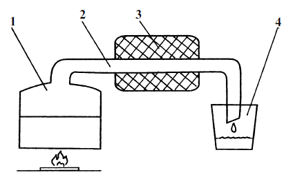
В одну дырку ввинчен термометр, в другую – предохранительный клапан, а в третью – длинная трубка, завитая спиралью (змеевик). Змеевик проходит через посудину с обычной холодной водой (холодильник).
Когда брага кипит в бражнике, пары идут в змеевик. В змеевике пары охлаждаются, и самогон тоненькой струйкой вытекает из свободного конца прямо в миску, которую ты туда поставишь…
Змеевик делается из трубки толщиной в 12–15 мм. Наружная толщина спирали змеевика – 80—120 мм. Длина змеевика 300–400 мм. Спиртоносные пары из бражника очень едкие, так что змеевик обязательно должен быть из нержавеющей стали.
Рис. 1. 1. Сосуд с брагой. 2. Трубка-змеевик. 3. Сосуд с водой. 4. Сосуд для сбора самогона
Другие детали охладителя – из любых жаростойких материалов. Размеры охладителя со змеевиком внутри: длина 400–500 мм, толщина – 104–159 мм. Поскольку вода в охладителе быстро нагревается, она (вода) должна быть проточной. Для этого в начале и конце охладителя ввари два штуцера для подвода и отвода воды.
Все, что я рассказала, относится к общей конструкции самогонного аппарата. В быту чаще употребляются иные конструкции.
2
У самого простого самогонного аппарата нет трубки-змеевика. Его можно соорудить из обычной кухонной посуды – это единственный плюс. Минусов намного больше:
– низкая производительность,
– самогон получается некрепкий,
– надо часто менять воду в тазике на более холодную,
– на сильную бражную вонь во время перегонки обязательно обратят внимание соседи,
– в самогоне слишком много сивушных масел.
Ну, сперва узнают соседи, а потом «звон» дойдет и до
участкового. И он начнет ерундой страдать – приходить, вымогать мзду, вести занудные «профилактические» беседы.
Когда брага, налитая на дно кастрюли, кипит, спиртовые пары поднимаются вверх. Охлаждаются на дне тазика с холодной водой и капают вниз, в миску. Как только миска переполнится, надо готовый самогон слить в какую-нибудь емкость и поставить миску на место. Воду в тазике не ленись, меняй почаще.
И сливать самогон и воду в тазике менять очень неудобно. Ведь для этого придется навроде как отдирать тазик от кастрюли…
Выглядит этот аппарат так:
Рис. 2. 1. Холодная вода. 2. Тазик. 3. Миска для сбора самогона. 4. Самогон. 5. Кастрюля для браги. 6. Брага. 7. Нагреватель.
Ах да, забыла сказать: щель между тазиком и верхним краем кастрюли надо замазать. Есть несколько рецептов замазки:
Мучная. Муку прожарить на сковороде. Развести водой до каши и замазать стыки этой массой.
Восковая. Делается из желтого воска. Поскольку желтый воск легко плавится, к нему надо добавить живицу хвойных деревьев (примерно 3 к 1).
Жирная. Сухую глину развести льняным маслом до каши. Эта каша легко пристает к металлу и стеклу, если они сухие.
Английская. Смешать две части измельченной окиси свинца, одну часть мелкого речного песка и одну часть мела. Развести льняным маслом…
Эти замазки пригодны для замазывания щелей и более сложных аппаратов – вплоть до мини-заводов.
3
Конструкция самогонного аппарата № 3 дополнена воронкой и отводной трубкой. Благодаря этому аппарат не надо разбирать на части, чтобы извлечь из него готовый самогон…
Воронка располагается в проволочной корзине или на металлическом треножнике, который установлен на дне посудины. Зазор между холодильником и емкостью намертво замазан свежей мучной замазкой.
Почему именно свежей?
Если давление резко подскочит, избыток паров найдет выход из системы через щели.
Если замазка засохнет и окаменеет, то аппарат может взорваться. Аппарат-то небольшой, и давление не больно высокое, так что квартиру тебе на куски не разнесет, а вот ошпаришься знатно…
Рис. 3. 1. Нагреватель. 2. Самогон. 3. Посудина для сбора самогона. 4. Брага. 5. Трубка. 6. Кусок трубы. 7. Посудина. 8. Проволочная корзина. 9. Воронка. 10. Пластина. 11. Замазка. 12. Холодильник. 13. Вода. 14. Подвод и отвод воды для холодильника.
4
Самогонные аппараты, изготовленные из доильных аппаратов или скороварок, участковые называют «чугунками». Нагрев их чаще всего осуществляется на обычной газовой плите. Подвод холодной воды – от крана с холодной водой в раковине.
Берется обычная скороварка. Клапаны на крышке заменяются пробками. В одну пробку вставлен термометр (2), в другую – трубка(З). Трубка снабжена краником (4). Она идет из крышки в систему водяного охлаждения.
Змеевик, расположенный в системе охлаждения (стеклянной колбе с двумя трубками для быстрой смены воды на более холодную), выходит из колбы в приемник готового продукта.
Рис. 4. 1. Крышка скороварки. 2. Термометр. 3. Трубка. 4. Кран. 5. Водяное охлаждение. 6. Приемник самогона. 7. Выток. 8. Водяная баня. 9. Нагреватель.
Если нет возможности достать змеевик со столь длинным хвостиком, то в змеевик просто вставляется дополнительная трубка.
Сам приемник стоит на дне посудины большего размера, наполненной холодной водой.
5
Если «чугунок» – устройство компактное, рассчитанное на городского жителя, то аппарат, о котором я сейчас расскажу, – это еще нечто более компактное.
Рис. 5,1. Штатив. 2. Асбестовое сито. 3. Сосуд с жидкостью. 4. Термометр. 5. Кран. 6. Соединительная трубка. 7. Холодильник. 8. Трубки для охлаждения жидкости. 9. Выток. 10. Сосуд с продуктом. 11. Водяная баня.
К его достоинствам относится миниатюрность и то обстоятельство, что все «детали» продаются в магазинах химических принадлежностей. Недостаток один – низкая производительность. Но если вам нужно за вечер изготовить пол-литра или литр самогона, а не ведро, он подойдет.
Асбестовое сито (2) крепко зажимают в лапке штатива (1). На асбестовое сито устанавливают хо
