Альтернативная чистка трубопроводов
Қосымшада ыңғайлырақҚосымшаны жүктеуге арналған QRRuStore · Samsung Galaxy Store
Huawei AppGallery · Xiaomi GetApps

автордың кітабын онлайн тегін оқу  Альтернативная чистка трубопроводов

Юрий Шевченко

Альтернативная чистка трубопроводов






12+

Оглавление

  1. Альтернативная чистка трубопроводов
  2. От автора
  3. Введение
  4. 1. Способы очистки внутренней поверхности трубопроводов
    1. 1.1. Чистка равнопроходных трубопроводов
    2. Очистные устройства с принудительным вращением
    3. Самовращающиеся очистные устройства
    4. Очистные устройства, оснащенные магнитами
    5. Устройства для чистки продуктопроводов
    6. Устройства для чистки трубопроводов малого диаметра
    7. Устройства для экологической чистки газопроводов
    8. Саморазрушающиеся очистные устройства
    9. Устройство для чистки и дефектоскопии внутренней поверхности трубопроводов
    10. Самоуплотняющиеся очистные устройства
    11. 1.2. Чистка трубопроводов переменного диаметра
    12. Очистные устройства из сдвоенных камер
    13. Очистные устройства со складывающимися манжетами
    14. Торообразные очистные устройства
    15. Промывка трубопровода газожидкостным методом
    16. Очистка трубопровода ударными волнами
    17. Очистные оболочки из эластомерных материалов
    18. Очистка внутренней полости трубопровода с применением пенообразующих материалов
  5. 2. Производство очистных резиновых оболочек
    1. Рецептура резин
    2. Изготовление резиновых смесей
    3. Профилирование листовых заготовок
    4. Изготовление вентилей
    5. Сборка очистных оболочек
    6. Вулканизация очистных оболочек
  6. 3. Альтернативная чистка трубопроводов с применением резиновых оболочек
    1. Общие положения
    2. Подготовительные работы
    3. Запасовка очистной оболочки в трубопровод
    4. Режим очистки
    5. Техника безопасности
    6. Чистка газопровода ДУ-720 с неравнопроходной запорной арматурой
    7. Чистка магистрального газопровода ДУ-720 с подкладными кольцами
    8. Чистка газопровода ДУ-1020, не оборудованного камерами приема-запуска
    9. Чистка участка заводского надземного паропровода ДУ-300
  7. ЛИТЕРАТУРА
  8. Послесловие

От автора

В настоящей монографии описана крупная программа по созданию производства очистных резиновых оболочек, которая включает не только исследования по конструкции, рецептуре и технологии, но и разработку методических указаний по применению очистных оболочек для альтернативной очистки внутренней полости трубопроводного транспорта.

Впервые описана альтернативная чистка магистральных газопроводов с неравнопроходной запорной арматурой, подкладными кольцами и поворотами под прямым углом от различных твердых и жидких загрязнений. Приведены примеры очистки магистральных газопроводов, примеры очистки сложных участков нефтепроводов от парафинов и асфальтено-смолистых веществ, а также паропроводов заводских тепловых коммуникаций.

На основании патентной проработки выявлены основные тенденции развития очистных устройств и способов очистки внутренней полости трубопроводов.

В целом монография послужит повышению стабильности работы трубопроводного транспорта.

Введение

Современная мировая система транспортных магистральных трубопроводов имеет такое же жизненно-важное значение для человечества, как и система кровеносных сосудов для человека.

Чистка трубопроводов является исключительно эффективным средством профилактики и лечения хронической болезни трубопроводов — засорения и закупоривания, этими своеобразными «холециститами» и «тромбофлебитами», угрожающими целостности и работоспособности системы.

Несовершенство современных чистящих устройств определяется заложенными в их основу механическими и химическими принципами, страдающими ограниченными возможностями, сложностью, дороговизной и экологической небезопасностью.

Несмотря на лавину изобретений и разработок, проблема чистки труб и трубопроводов все еще не поддается универсальному решению. Очевидно, в основу прогресса в технике и технологии чистки трубопроводов должен быть положен фундаментальный принцип адаптируемости к специфическим условиям применения. Этот принцип обеспечивается известным в теории газа и гидронаполненных оболочек свойством изменять форму и габариты под действием внутреннего давления или внешних нагрузок. На этой принципиальной основе появились решения, приближающиеся к идеальным прообразам и прототипам природного происхождения — мыльному пузырю и водяной капле. На практике принцип реализован в оболочках-трансформерах, приспосабливающихся к сложностям объекта и непредвиденным неожиданностям.

Чистящие оболочки-трансформеры прошли путь моделирования, лабораторно-стендовых испытаний и промышленного использования. Преимуществами таких оболочекпоршней являются: упрощенная запасовка, отсутствие ограничений по видам отложений, наличие сужений трубопроводов, существенно меньшая стоимость и трудоемкость.

Эти пионерские решения открывают перспективу коренного преобразования всей технологии чистки в направлении профилактических мер, введения в практику реверсивных чисток и совмещения с чистками химическими реагентами и механическими устройствами, агрегатирования со средствами диагностики. Это направление богато неисчерпанным научно-техническим потенциалом.

Людям креативным достаточно и намека; ищущим — указания направления; рачительным — возможности выбора.

Монография Шевченко Ю. Г., к.т.н., специалиста в области технологии переработки эластомеров; разработчика, испытателя и участника производственных чисток трубопроводов отвечает на запросы эксплуатационников нефтегазовых комплексов и послужит катализатором новейших разработок.

Член-корреспондент

Транспортной Академии Украины

Смирнов А. Г.

1. Способы очистки внутренней поверхности трубопроводов

При работе магистрального трубопровода происходит загрязнение его внутренней поверхности, в случае газопровода — окалиной, отслоившейся от труб, частицами породы, конденсатом, водой, метанолом и пр.; нефтепровода — запарафинивание частицами парафина и асфальтено-смолистых веществ, что, как в первом, так и во втором случаях, приводит к увеличению коэффициента гидравлического сопротивления и, соответственно, снижению пропускной способности магистрального трубопровода [1].

От таких загрязнений внутреннюю поверхность газопровода очищают периодическим пропусканием очистного поршня без прекращения перекачки газа или разовым пропусканием очистного поршня с прекращением подачи газа на очищаемом участке, установкой конденсатосборников и дренажей в пониженных точках трубопровода, повышением скоростей потоков газа в отдельных нитках системы газопровода и последующим улавливанием жидкости в пылеуловителях компрессорных станций. Наиболее эффективный способ очистки — периодическая очистка полости газопровода без прекращения подачи газа при помощи очистных устройств, пропускаемых по газопроводу. Этот способ позволяет постоянно поддерживать коэффициент гидравлического сопротивления газопровода равным первоначальному значению [2].

Эффективным способом очистки поверхности нефтепровода является механическая очистка с помощью скребков. Разработано много конструкций скребков, в которых чистящим элементом являются диски, ножи и проволочные щетки. Скребки разных конструкций различны по эффективности удаления отложений со стенок труб, по износостойкости и проходимости. Последние качество очень важно для нефтепроводов, имеющих хотя бы незначительные препятствия во внутренней полости в виде подкладных колец, грата и сужений в запорной арматуре [1].

Из многочисленных публикаций, посвященных конструктивным особенностям очистных устройств и способам чистки внутренней поверхности трубопровода можно выделить два основные направления:

— очистные устройства для трубопроводов с равнопроходной запорной арматурой, к которым можно отнести вращающиеся очистные устройства, устройства, оснащенные магнитами, устройства для чистки насосно-компрессорных труб и котлов атомных электростанций; экологически чистые очистные устройства, снабженные камерой сбора жидких загрязнений, а также саморазрушающиеся очистные устройства и устройства для чистки и дефектоскопии внутренней поверхности трубопровода;

— очистные устройства для чистки трубопроводов переменного диаметра с неравнопроходной запорной арматурой, подкладными кольцами и крутозагнутыми отводами. К этому виду можно отнести шарообразные и цилиндроподобные очистные оболочки из эластомерных материалов, очистные устройства из эластомерных сдвоенных камер и очистные устройства со складывающимися дисковыми манжетами.

1.1. Чистка равнопроходных трубопроводов

Очистка полости загрязненных равнопроходных трубопроводов весьма сложная техническая задача, связанная не только с разрушением твердых отложений в пристеночной области трубопровода, но также с удалением большой массы осадка, образующегося в процессе очистки.

Ждановым предложено устройство для очистки внутренней поверхности сильно загрязненных труб [3], содержащее корпус 1 с рабочим органом в виде набора пружинящих металлических пластин 2 (Рис. 1).

Рис. 1. Устройство для поэтапной очистки внутренней поверхности трубопровода, где 1 — корпус; 2 — пружинящие металлические пластины; 3 — скребки; 4 — очищаемый трубопровод; 5 — кожух; 6 — окна; 7 — опорный диск; 8 — винт; 9, 10 — пружины.


Перед введением устройства в очищаемую трубу, поворачивая винт 8, перемещают опорный диск 7, до тех пор, пока пружинящие металлические пластины 2 не уберутся через окна 6 кожуха 5 внутрь кожуха, из которых будут выступать лишь загнутые концы 3 пластин 2. В этом положении скребок легко вводится в очищаемую трубу. Затем винт 8 поворачивают в противоположную сторону до тех пор, пока пластины 2 не упрутся во внутреннюю поверхность очищаемой трубы 4.

С помощью троса, прикрепленного к проушине 10, а другим концом к лебедке, устройство протягивают через очищаемую трубу. В случае возникновения непреодолимых препятствий (камней, больших вмятин, изломов трубы), устройство извлекают из очищаемой трубы задним ходом с помощью троса, прикрепленного к проушине 9. Весьма существенным недостатком предложенного скребка является поэтапная чистка трубопровода малыми участками, а также отсутствие приспособлений для удаления образующего в процессе чистки осадка.

Курдов и Шириев предлагают [4] очистку и сбор шлама с внутренней полости трубопровода проводить при помощи конического стакана 1 (Рис. 2).

Рис. 2. Очистное устройство, оснащенное полостью для сбора шлама, где 1 — конический стакан; 2 — упругий гофрированный элемент; 3 — конический патрубок; 4 — очистной элемент из твердого сплава; 5 — отверстие; 6 — ребра жесткости; 7 — антифрикционные накладки; 8 — кольцевая сетка; 9 — жесткое основание; 10 — полость для сбора шлама.


Конический стакан выполнен из двух частей, сочлененных упругим гофрированным элементом 2, конического патрубка 3, и очистного элемента 4, оснащенного твердым сплавом.

Рабочий агент, подаваемый в очищаемый трубопровод, продвигает устройство в направлении стрелки. Очистной элемент 4 снимает слой загрязнений с внутренней поверхности трубопровода. Рабочий агент проходит между антифрикционными накладками 7 и огибает очистной элемент 4. В виду большой скорости потока в верхней части конического стакана 1 происходит «подсос» продукта через отверстие 5 в конический патрубок 3 и сбор шлама в полости 10.

Дытюк из ОАО «Оренбургнефть» предлагает для очистки внутренней поверхности трубопровода от асфальтено-парафиновых отложений устройство [5], эскиз которого представлен на рис. 3.

Рис. 3. Очистное устройство для разжижения и перемещения парафиновых пробок, где 1, 2 — части пустотелого корпуса; 3, 4 — направляющие; 5 — поршень; 6 — шток; 7 — стопорные кольца; 8 — гайка; 9 — пружина; 10 — стопорное кольцо; 11 — болты; 12 — конусообразные кольца (3 шт.); 13 — полость.


Устройство снабжено перепускными соплами для разжижения и перемещения накопившегося в процессе чистки осадка. Устройство выполнено в виде пустотелого корпуса из эластичного материала и состоит из двух частей 1 и 2. В каждую часть впрессованы фигурные гильзы 3 и 4, являющиеся направляющими для поршня 5.

Движение поршня ограничивается пружиной 9 и выступами гильзы. В тело устройства 2 впрессованы конусообразные сопла 12 (3 штуки), предназначенные для разжижения и перемещения парафиновых и асфальтено-смолистых скоплений.

Под действием перепада давлений устройство движется по трубопроводу. Когда максимальный перепад давления для его продавки достигает величины 3,6 МПа, срабатывает плунжерная пара 5. В результате транспортируемая жидкость из полости 14 поступает в канал 16 сопла 12, при этом разжижая и перемещая скопления парафина и асфальтено-смолистых веществ в область низкого давления очищаемого трубопровода. По мнению автора, технический результат достигается за счет повышения надежности работы устройства, устраняется застревание его в трубе и сокращается время чистки сильно загрязненных трубопроводов.

Очистные устройства с принудительным вращением

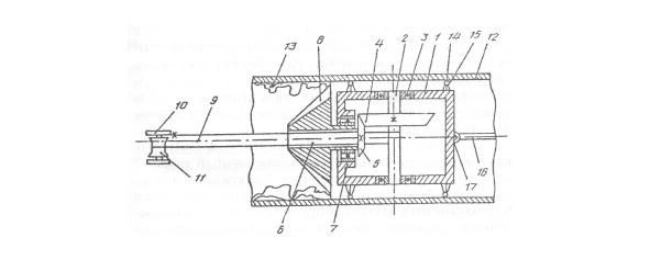
Для очистки внутренней поверхности трубопровода с высокой степенью загрязнения предложено устройство [6] с очистным элементом, выполненным в виде фрезы (8), закрепленной на пустотелом валу (6). Работает устройство следующим образом: в очищаемом трубопроводе вырезают участки на расстоянии 100 — 150 м и вводят очистное устройство внутрь трубы. Через очищаемый участок протаскивают трос 9, один конец которого подсоединяют к корпусу лебедки 10, а другой к барабану 11. Включают лебедку 10 (Рис. 4). Трос 9 придает поступательное движение очистному устройству и одновременно приводит во вращение ведущую шестерню 4 очистного устройства, которая придает вращение конической шестерне 5, приводящую во вращение пустотелый вал 6 и фрезу 8. Фреза врезается в отложения. В случае аварийной остановки, отключают лебедку 10 и вытаскивают устройство из трубы с помощью аварийного троса 16.

Рис. 4. Очистное устройство для поэтапной чистки внутренней поверхности трубопровода от твердых отложений, где 1 — корпус; 2 — ведущий вал; 3 — подшипник; 4 — ведущая шестерня; 5 — коническая шестерня; 6 — пустотелый вал; 7 — подшипник; 8 — фреза; 9 — приводной трос; 10 — лебедка; 11 — барабан; 12 — очищаемый трубопровод; 13 — твердые отложения; 14 — центровочные ролики; 15 — пружины; 16 — аварийный трос; 17 — пружина.


С целью повышения степени мобильности и автономности очистного устройства, а также для чистки трубопровода со сложным профилем Денисов с соавторами, разработали устройство для чистки внутренней поверхности труб [7], которое наряду с принудительным вращением, имеет возможность поступательного движения в обоих направлениях (Рис. 5).

...