автордың кітабын онлайн тегін оқу Судебно-энтомологические критерии определения продолжительности и условий постмортального периода. Монография
А. Н. Приходько, С. В. Шигеев, Е. Х. Баринов
Судебно-энтомологические критерии определения продолжительности и условий постмортального периода
Монография
Информация о книге
УДК 340.6
ББК 67.5
П77
Авторы:
Приходько А. Н., кандидат медицинских наук, начальник Бюро судебно-медицинской экспертизы Московской области;
Шигеев С. В., доктор медицинских наук, профессор кафедры судебной медицины и медицинского права Московского государственного медико-стоматологического университета им. А. И. Евдокимова, начальник Бюро судебно-медицинской экспертизы Департамента здравоохранения города Москвы;
Баринов Е. Х., доктор медицинских наук, профессор, заслуженный врач РФ, заслуженный деятель науки и образования РАЕ, профессор кафедры судебной медицины и медицинского права Московского государственного медико-стоматологического университета им. А. И. Евдокимова, профессор кафедры судебной медицины Российского университета дружбы народов, член Международной коллегии ученых МАН Сан-Марино, действительный член МАЕ, действительный член МАНЭБ, член-корреспондент РАЕ.
Рецензенты:
Мальцев А. Е., доктор медицинских наук, профессор, заведующий кафедрой судебной медицины и медицинского права Кировского государственного медицинского университета, начальник Кировского областного бюро судебно-медицинской экспертизы;
Путинцев В. А., доктор медицинских наук, доцент, доцент кафедры криминалистики Военного университета им. князя Александра Невского.
Монография посвящена проблеме судебно-медицинской энтомологии. Изучены характеристики и определен общий состав некрофильных насекомых южной части Карелии на трупах животных и человека в условиях помещения и естественного биоценоза. Выявлены особенности заселения некрофильными насекомыми трупов животных и человека. Разработан метод организации и проведения судебно-медицинских экспертиз давности смерти с некрофильным энтомологическим материалом и оценкой полученных результатов.
Монография рассчитана на врачей – судебно-медицинских экспертов, работников следствия, прокуратуры, суда, адвокатуры, студентов и аспирантов медицинских и юридических вузов.
Изображение на обложке с ресурса Photogenica.ru
УДК 340.6
ББК 67.5
© Приходько А. Н., Шигеев С. В., Баринов Е. Х., 2023
© ООО «Проспект», 2023
ВВЕДЕНИЕ
Одной из важных проблем следствия является обеспечение быстрого и полного раскрытия преступлений, а также установление обстоятельств смерти в случаях ее наступления в условиях неочевидности [20, 62, 93]. В таких ситуациях особую значимость приобретает установление продолжительности постмортального интервала, что может косвенно указывать на время совершения преступления [7, 64, 92, 99].
После 72-го часа с момента наступления смерти определение сроков ее возникновения становится затруднительным, так как стандартные методы судебной медицины в таких случаях оказываются неточными или бессильными, а определяемый постмортальный интервал может варьироваться от нескольких дней до нескольких месяцев [101, 119, 162].
На территории Российской Федерации метод судебно-энтомологического исследования известен, однако на практике применяется эпизодически и бессистемно, так как не проводились экспериментальные исследования по изучению разложения трупа целым комплексом некробионтов в наземной экосистеме различных регионов страны. Комплексы некробионтов в разных климатогеографических зонах отличаются. В настоящее время имеются данные по энтомофауне трупов животных в Ленинградской области [49], но они касаются отдельных групп, а не комплекса насекомых и только одного географического региона.
Эти сведения не могут быть корректно применены к другим районам, так как состав и особенности жизнедеятельности некробионтов во многом зависят от локальных климатогеографических условий [45, 47].
Кроме того, данные исследования проводились на трупах собак, анатомически существенно отличающихся от человека [46, 48].
На территории Республики Карелии изучение закономерного заселения трупа некрофильными насекомыми не проводилось, практика применения энтомологического метода отсутствует.
Кроме того, актуальность выбранной темы исследования обусловлена крайне малым количеством работ, посвященных определению давности смерти в позднем постмортальном периоде в судебной медицине [8, 22, 51, 114].
Какие-либо работы, посвященные методу проведения судебно-медицинских экспертиз с некрофильным энтомологическим материалом и оценке полученных результатов, в настоящее время отсутствуют.
Глава 1.
Состояние вопроса судебно-медицинского значения энтомофауны трупа для определения продолжительности постмортального интервала
1.1. Современное состояние вопроса установления продолжительности постмортального интервала в позднем посмертном периоде
Установление давности наступления смерти (ДНС) остается весьма актуальной и до сих пор полностью не решенной проблемой в судебной медицине [25, 67, 83].
Ранний посмертный период, продолжающийся примерно 2–3 суток с момента наступления смерти, хорошо изучен [27, 53, 85, 92]. Существуют различные методики с применением математического анализа, например процесс посмертного теплообмена. Они позволяют в рамках этого периода устанавливать время наступления смерти с приемлемой точностью в абсолютном большинстве случаев [10, 53, 99]. Между тем встречается и нетипичное развитие посмертных изменений в организме, что может приводить к ошибкам в определении времени смерти [62].
Определение ДНС в позднем постмортальном периоде для судебно-медицинского эксперта является непростой задачей, так как в этот период стандартные методы судебной медицины становятся неэффективными, а порой и бессильными, а давность смерти во многом определяется достаточно субъективно, причем, как правило, на основании комплекса макроскопических признаков, оцениваемых визуально [33].
Таким образом, проблема определения ДНС на стадии гниения трупа еще далека от окончательного решения [32].
Количество работ, посвященных изучению трупов на поздних сроках посмертного периода, меньше, чем аналогичных по тематике, касающейся изучения ранних трупных явлений [62, 80].
На сегодняшний день сравнительно мало разработано инструментальных, биофизических методов диагностики, применяемых на поздних сроках посмертного периода [181].
Например, предложена методика исследования электропроводящей способности стекловидного тела в позднем посмертном периоде [59] и его оптической плотности на различных диапазонах длины волн в динамике посмертного периода [34]. Изучалась возможность судебно-медицинской диагностики ДНС методом спиновых зондов при исследовании стекловидного тела [22]. Проводились работы по изучению на стадии гниения изменений внутреннего уха, легких, желудочно-кишечного тракта, динамики внутриглазного давления [81]. Определялись характер секрета молочных желез и морфологическая характеристика роговицы глаза в позднем постмортальном периоде [90, 91].
Поляризационная микроскопия использовалась для установления гнилостной трансформации в мышцах: на ультраструктурном уровне оценивались гнилостные изменения кожи и гепатоцитов трупа человека; исследовались микроскопические особенности эластического хряща ушной раковины гнилостно измененного трупа. Имеется ряд работ по изучению изменения светоотражения кожных покровов и трансформации тканей человека в зависимости от причины и давности наступления смерти [62].
Проводились спектральные исследования костной ткани с целью установления динамики распада в ней витаминов В1 и В2, а в мягких тканях и органах трупа — аскорбиновой кислоты [1].
Исследовались изменения адгезивных и поглощающих свойств печени [102], динамика электрического сопротивления сухожилия [54]. Разработаны критерии ДНС по анатомо-топографическим особенностям и электронно-парамагнитным спектрам языка при гнилостной трансформации. Доказано, что резко выраженная гнилостная трансформация существенно не влияет на параметры ЭПР-спектров гомогенатов языка, а установление ДНС в указанных условиях вполне осуществимо.
Определено, что ряд эндогенных и экзогенных факторов не препятствует установлению ДНС при гнилостной трансформации [10].
Поскольку обязательным условием процессов разложения органического вещества, а также мумификации и образования жировоска считаются процессы предварительной деструкции органики в период стадии «плато», или «тления», за счет последовательной смены аэробных микроорганизмов на анаэробные, сделана попытка классификации стадий разложения трупа относительно этапов микробной деструкции органики [9, 100].
Обращает на себя внимание ряд работ, направленных на объединение различных методик при исследовании трупа в стадии гнилостных изменений с целью определения ДНС, где авторы, используя комплексный поход, предлагают оригинальные методики.
Так, А. А. Теньков (2006) впервые предложил комплексное морфологическое и биофизическое исследование для определения ДНС в поздние сроки постмортального периода, которое включает определение диэлектрических показателей и магнитной восприимчивости интактных и травмированных мягких тканей трупов и их фрагментов по мере гнилостной трансформации и высыхания. Проведенными исследованиями установлены хронометрические изменения данных показателей изучаемых объектов в диапазоне температур +5…+70 °С в случаях нахождения объектов в воздушной среде и воде при длительности посмертного периода от 1 до 30 суток. Автор отмечает, что традиционные морфологические признаки гнилостной трансформации при условии их систематизации во временном аспекте применимы для ориентировочного суждения о ДНС.
Установлены крайние сроки, когда эти признаки еще не проявляются. Временные показатели их закономерного обнаружения при температурных режимах от +5 до +30 °С в воздушной и водной средах могут иметь разную степень выраженности. К данным признакам относятся изменения хроматических характеристик, включая трупную зелень, мацерацию кожи, гнилостную эмфизему, отслойку волос, деструкцию головного мозга, наличие транссудата в полостях [80].
К сожалению, результаты этих, несомненно, интересных работ не нашли широкого применения в экспертной практике либо из-за высокой вариабельности результатов исследования и их оценки, либо из-за необходимости использования недоступной рядовому эксперту сложной материально-технической базы, либо из-за ограниченности среды применения предлагаемых критериев.
Одной из причин «непопулярности» упомянутых методик является то, что они связаны с интерпретацией последствий разложения трупа, а не причин, их порождающих. К числу таких причин в первую очередь относится энтомофауна [95, 108, 118, 130].
Отечественный ученый М. И. Марченко (1987) впервые предложил подход к определению ДНС на основе комплексного биологического воздействия — энтомологического, микробиологического, микологического и др. Им изучен процесс разложения трупов насекомыми в природных условиях Северо-Запада европейской части СССР. В то же время очевидно, что для каждого региона со своими особенностями климата требуются специфические схемы и таблицы развития некробионтов [37, 40, 80]. Д. В. Богомоловым с соавторами (2014) предложены общие методические рекомендации по комплексному применению микологического и энтомологического методов исследования при проведении судебно-медицинской экспертизы трупа для установления ДНС и возможности посмертного перемещения тела. В национальном руководстве «Судебная медицина и судебно-медицинская экспертиза» под редакцией Ю. И. Пиголкина (2014) изложены основные правила, стандарты и описание методик Европейской ассоциации судебных энтомологов [79].
Несмотря на постоянную научную работу над выделением критериев установления ДНС в позднем посмертном периоде, указания на возможность использования предлагаемых методов исследования в практической судебно-медицинской деятельности, большинство судебных медиков определяют ее достаточно субъективно — на основе результатов макроскопического метода [61, 84].
Это свидетельствует о необходимости разработки новых и использовании имеющихся научно-практических средств для решения вопроса ДНС при экспертизах трупов, подверженных процессам гнилостной трансформации.
1.2. Стадии разложения трупа
Разложение трупа представляет собой непрерывный процесс, продолжительный по времени и необратимый [2, 11]. При этом сменяющие друг друга состояния характеризуются определенными изменениями биологических тканей, что позволяет выделять в нем определенные стадии [107, 127].
В судебной медицине принято рассматривать процесс гниения (путрификация трупа) как разложение органического вещества трупа под воздействием ферментных систем микроорганизмов (без участия насекомых) с образованием конечных неорганических продуктов. Изменения, происходящие в теле при гниении, описаны в специальной литературе достаточно подробно [50, 65, 85]. Однако термин «гниение» для процесса посмертных изменений трупа не совсем приемлем, так как в природе не существует гниения в изолированном виде [72, 76, 105].
Разрушение трупа, особенно в природных условиях, является комплексным процессом, происходящим в результате деятельности микроорганизмов, грибов, водорослей, насекомых, позвоночных животных, а также абиотических факторов. Еще Пьер Меньин (P. Megnin, 1894) указывал на тот факт, что процесс разложения трупа в значительной степени зависит от присутствия насекомых и каждая его стадия может характеризоваться наличием определенной группы [168].
Трупы лиц, к которым невозможен доступ насекомых, сохраняют свою внешнюю форму и характерные особенности многие месяцы после наступления смерти, оставаясь узнаваемыми. Вышеизложенное можно отнести и к трупам животных. В тоже время трупы лиц, доступные для заселения насекомыми, распадаются и исчезают в течение нескольких недель [170].
У мертвых тел, недоступных для насекомых, разложение протекает в совершенно иной форме, чем у тех, к которым насекомые получают доступ. Такой труп обладает характерный запах, его ткани расплавляются (разжижаются) очень медленно и имеют типичную клейкую консистенцию, «усадка» происходит постепенно, и в конечной фазе процесс может перейти в подобие мумификации.
Базируясь на данных специальной литературы, трудно точно указать, какое же реальное влияние оказывают насекомые на процесс разложения. Они значительно ускоряют деструкцию мертвой органики за счет воздействия секретируемых ими пищеварительных соков и питания личинок [52, 87, 98].
С помощью механических процессов туннелирования и закапывания насекомые изменяют состояние аэрации внутри трупа, а это, в свою очередь, влияет на распространение бактерий и соотношение аэробной и анаэробной микрофлоры [177, 179].
Ввиду этого необходимо подходить к процессу деструкции трупа комплексно, учитывая и его микробиологическую составляющую, и воздействие насекомых-некробионтов. Нужно подчеркнуть, что определение ДНС по характеру и выраженности гнилостных изменений можно проводить ориентировочно, тогда как использование насекомых позволяет уточнять продолжительность постмортального интервала [180].
В настоящее время существует множество точек зрения на то, сколько стадий включает в себя процесс разложения. Первым о последовательности заселения трупа насекомыми в процессе разложения высказался Пьер Меньин (Р. Megnin, 1894). Изучив трупную фауну крупных животных, в том числе человека, он сделал заключение об имеющейся сукцессии трупа — последовательной смене заселяющих его насекомых, выделил четыре основных этапа заселения трупа насекомыми и восемь сукцессионных стадий [168].
Однако существуют и другие предложения о стадиях разложения. Так, H. F. Howden (1958) выделил лишь две стадии, а M. E. Fuller (1934) из Австралии — три: I — с момента смерти до начала активного разложения; II — активное разложение, сопровождающееся сильным запахом гниения; III — высыхание трупных тканей с постепенным исчезновением запаха гниения. Автор обратила внимание на то, что такое деление с соответствующим описанием смены насекомых произведено для удобства изучения. Сам же процесс разрушения мертвой органики является непрерывным, а стадии, ассоциированные с обнаруживаемыми в них насекомыми, перекрывают друг друга. Следует отметить, что стадии были выделены по отношению к разложению туш мелких животных, разрушающихся достаточно быстро. В трупах крупных животных и человека, особенно в более умеренном климате, можно было бы выделить и большее число стадий [141, 152].
H. Reed (1958) из штата Коннектикут, L. Jiron и V. Cortin (1981) из Южной Америки, A. Lamia с соавторами (2009) из Египта выделили четыре стадии разложения:
1) стадия «свежего» разложения, которая начинается с момента наступления смерти и продолжается до тех пор, пока не появятся первые признаки вздутия тела; отсутствуют грубые морфологические изменения трупа и запах распада;
2) стадия вздутия трупа — тело увеличивается в размерах за счет скопления в тканях гнилостных газов, выделяемых микроорганизмами в процессе своей жизнедеятельности в полостях и органах умершего; изменяются его цвет и запах, отмечается выделение сукровичной жидкости;
3) стадия распада, характеризующаяся «сдуванием» трупа;
4) стадия сухого разложения — заключительный этап, на котором большая часть мягких тканей исчезает, отсутствует запах гниения, труп представляет собой фрагменты сухой кожи и костей, с крошащимися внутренними органами; после этой трансформации остаются только костные останки [158, 188].
Некоторые авторы предлагают различать пять стадий в основном за счет деления какой-то из вышеописанных позиций на две [122]. Например, G. Bornemissza (1957) из Австралии, G. Anderson и Sh. VanLaerhoven (1996) из Британской Колумбии, M. Horenstein и A. Linhares (2011), проводившие исследования в центральной части Аргентины, разделили стадию распада на два отдельных этапа: активный и дальнейший (продолжающийся) распад. M. Goff’ (2009) из США в четвертую стадию включил непосредственно сухое разложение (когда еще сохранены сухая кожа, хрящи и кости) и стадию скелетирования. Наконец, J. Payne (1965) из Южной Каролины предложил шесть стадий разложения трупа: свежего разложения, вздутия трупа, активного распада, дальнейшего (продолжающегося) распада, сухого разложения и скелетирования [106, 155]. Н. И. Шевченко с коллегами (2012) рекомендовано использовать новый подход к делению разложения на стадии, в котором учтены микробиологическая и биохимическая составляющие процесса, связь с кислородом и влажностью, его качественные и морфологические особенности (см. табл. 1).
Таблица 1
Стадии разложения трупа и их продолжительность1
| Стадии |
Длительность стадий, сут. |
| Аутолиз |
1–1,5 |
| Стадия нарастания процесса разложения |
1,5–4 |
| Стадия «цветущего» разложения |
5–8 |
| Стадия «плато», или «тления» |
9–14 |
| Стадия определения исхода |
15–30 и более |
| Стадия конечного разложения (в зависимости от исхода: микробное разложение, мумификация, жировоск, разложение насекомыми, птицами, животными и их комбинация) |
Срок зависит от вида исхода: от 1 месяца до 1–1,5 лет |
| Стадия костных останков |
Сотни лет |
Автор отмечает, что приведенные сроки посмертного периода значительно усреднены и объективны лишь для наиболее часто встречающихся условий разложения (среднесуточная температура +18…+20 °С и «нормальная» влажность). Однако для северных территорий, где средняя температура колеблется в интервале 0...+1,5 °С; +2…+3,4–3,6 °С, в зависимости от характера циркуляции атмосферы сильно отличается и устанавливается на 1–2° теплее или холоднее нормы; временные интервалы, а также специфика протекания стадий разложения трупа могут значительно меняться [100].
Таким образом, на сегодняшний день существует множество точек зрения относительно процесса распада мертвой органики. Это можно объяснить тем, что процесс разложения протекает плавно и жесткие границы между стадиями выделить достаточно трудно. К тому же исследования проводились в разных климатических поясах, где абиотические факторы существенно отличаются, а скорость разложения и скелетирования трупов сильно зависит от этих параметров [86, 88]. Между тем все исследователи обязательно выделяли такие характерные стадии разложения, как начальный этап активного разложения и сухое разложение (скелетирование) [77]. М. И. Марченко (1987–1992), проведя большое количество экспериментов с трупами животных (собак) в умеренной зоне (Ленинградская область), предложил пять этапов биологического разложения:
1) этап раннего микробного разложения следует за аутолитическими процессами и продолжается до первых яйцекладок мух и отрождения из них личинок;
2) этап активного разложения трупа насекомыми характеризуется жизнедеятельностью личинок мух и завершается с окончанием их развития; разлагается основная масса мягких тканей;
3) этап позднего разложения осуществляется преимущественно личинками жуков, которые уничтожают оставшиеся мягкие ткани;
4) этап микробиологического разложения трупа начинается со времени ухода личинок жуков-некробионтов с остатков трупа, осуществляется микроорганизмами и плесневым грибом и завершается распадом скелета на отдельные кости;
5) этап распада костной ткани осуществляется плесневыми грибами, покрывающими костные останки.
Продолжительность каждой стадии сильно варьируется в зависимости от доступности насекомым и наличия повреждений на трупе. Скорость разложения трупа, находящегося на поверхности почвы, зависит и от метеорологических условий [45].
Большое значение имеют условия теплообмена трупа с окружающей средой, а именно поглощение им части солнечной радиации и температура воздуха. Продолжительность разложения тканей трупа в разные сезоны и в разных биотопах определяется степенью инсоляции. Весной и осенью разложение быстрее проходит на склонах, расположенных перпендикулярно солнечным лучам, и более медленно — на горизонтальных участках местности [45].
В условиях Северо-Запада средние сроки уничтожения мягких тканей трупа осенью и весной близки, а в летний сезон время разложения сокращается в два раза. Это лишний раз убеждает в своеобразии жизнедеятельности трупной фауны в различных климатогеографических зонах [41].
Заселение и участие некрофильных насекомых рассмотрено в работах М. И. Марченко, В. И. Кононенко, 1991; Э. В. Туманова, Е. М. Кильдюшова, 2014; G. Anderson, Sh. VanLaerhoven, 1996 и других исследователей. Все ученые отмечают последовательную смену состава некрофильных насекомых в процессе разложения и их значение в деструкции оргастического вещества. Имеются также сведения об особенностях процесса разложения и состава насекомых в Европейской России [36, 38, 97].
Изучением процесса разложения трупа в земле и возможностей определения по костным останкам сроков захоронения трупа достаточно подробно занимался А. Ф. Рубежанский.
Им были выделены две основные стадии: разрушение мягких тканей и разрушение костной ткани. Если первая стадия протекает в сроки, исчисляемые несколькими годами, то вторая (разрушение костей) — это процесс, длящийся десятки, сотни и даже тысячи лет [75].
Гниению в почве сначала подвергаются суставные части; гораздо быстрее, чем трубчатые кости, изменяются лопатки, позвонки, кости таза, кистей рук и стоп ног, но дольше всего сопротивляются разрушению диафизы. Мозговое вещество внутри костномозговых каналов уничтожается микробами.
Некоторые исследователи обратили внимание на различие динамики разложения трупа в наземных условиях и водной среде. J. Payne и А. King (1972) показали, что процесс разложения трупа в водной среде включает шесть стадий, а именно:
1. Стадия свежего погружения — плавающий труп начинает погружаться в воду и вздуваться. Летом этот процесс начинается на 1–2-й день, осенью — на 2–3-ю неделю; из насекомых на этой стадии встречаются только гидрофильные жуки;
2. Раннее всплытие — появляется запах гниения; стадия по времени непродолжительна;
3. Гниение плавающего трупа — начинается через сутки после всплытия трупа;
4. Вздутие — продолжительна во времени;
5. Стадия плавающих останков — длится от четырех до 14 дней и заканчивается погружением останков;
6. Погружение останков — продолжается 10–30 дней; разложение осуществляется главным образом за счет бактерий и грибов. В грязных водоемах на трупах наблюдается обилие личинок комаров [179].
Разложение в воде происходит также за счет биологического компонента — это большая группа беспозвоночных животных [39, 198, 201]. Процесс имеет свою специфичность, которая существенно отличается от наземных условий. На особенности разрушающего действия энтомофауны трупа в водной среде обращают внимание J. Payne, A. King, 1972; J. Giertsen, 1977; D. Gennard, 2007.
Таким образом, приведенные данные свидетельствуют о том, что характеристика некробионтов нуждается в исследовании и диктует необходимость разработки организационных установок, которые помогут рационально использовать все данные о колонизации трупов некрофильными насекомыми и пригодности судебно-энтомологических критериев определения продолжительности и условий постмортального периода для совершенствования проведения судебно-медицинских экспертиз ДНС с некрофильным энтомологическим материалом и оценки полученных результатов.
1.3. Комплекс некрофильных насекомых, участвующих в разложении трупов
Использовать энтомологические данные в криминалистической практике начали в XIII веке, когда по факту заселения некрофильными мухами орудия убийства со следами крови было раскрыто преступление [95].
В конце XVIII века Пьером Меньином (P. Megnin, 1894) были проведены первые исследования, касающиеся практического применения энтомофауны трупов в судебной медицине, которые изложены в его работе «La faune des cadavres: application de l’entomologie a la medicine legale» («Фауна трупов: применение энтомологии в судебной медицине») [168].
В 1855 году французский исследователь M. Bergeret раскрыл преступление, связанное с находкой трупа младенца. Проведя детальный энтомологический анализ, он доказал, что смерть ребенка наступила несколько лет назад и к этому преступлению непричастны нынешние жильцы дома, а вина лежит на прежних его обитателях [119].
Разложение трупа в природных условиях является комплексным процессом, слагающимся из деятельности микроорганизмов, насекомых и позвоночных-мусорщиков. Наиболее эффективно разрушают труп насекомые, которые уничтожают большую часть тканей. В результате экспериментов, проведенных на трупах поросят, J. Payne (1965) выявил, что разложение трупа без доступа насекомых продолжается в течение месяца, а при их участии за шесть суток уничтожается 90% тканей [178].
Подробно видовой состав членистоногих-некробионтов на трупах крупных позвоночных животных рассмотрен в работах ряда ученых (М. Fuller,1934; Н. Reed, 1958; Т. Walker, 1957; J. Payne, 1965; R. Putman, 1978; М. Early, М. Goff, 1986; К. Smith, 1986; М. И. Марченко, 1980).
Важное место в утилизации трупов занимают жесткокрылые (Coleoptera) и двукрылые (Diptera). В засушливых местах и аридных районах основными утилизаторами трупных тканей являются жесткокрылые и их личинки [169].
Напротив, в районах, где трупы дольше сохраняют влагу, процесс разложения осуществляется главным образом за счет личинок двукрылых [40, 44, 56].
Рассматривая состав некробионтов, выделяют три группы: трупную, обычную, случайную [188, 194].
Классификации М. И. Марченко (1980) и L. Braack (1987) основаны на экологических связях насекомых с трупом. М. И. Марченко выделяет две группы:
1) собственно энтомофауну трупа, включающую некрофагов и виды, для которых труп является средой развития;
2) случайную энтомофауну, куда он отнес всех прочих.
L. Braack выделяет три экологические группы: облигатные (регулярно встречаются на трупах и связаны с падалью как главным источником питания и субстратом для размножения); факультативные (утилизируют труп в дополнение к другому пищевому источнику или труп является местом для их развития); случайные [123].
1.3.1. Основные отряды некрофильных насекомых.
Класс Insecta — Насекомые, отряд Diptera — Двукрылые (мухи)
Отряд двукрылых (Diptera), а именно их личинки, является основным утилизатором трупов животных и по численности особей занимает доминирующее положение среди всего комплекса некробионтов [162, 171, 174].
Эта важная группа изучена в России еще недостаточно, имеются только данные по Дальнему Востоку, Ямалу и Карелии ([4, 38, 57].
Цикл развития двукрылых состоит из стадий яйца, личинки, пупария и имаго (прил. 1, рис. 1). Взрослая муха откладывает яйца в виде белых крупинок на различные субстраты. Стадия яйца длится около двух дней, затем из них вылупляются личинки — мелкие, червеобразной формы. Личинки растут, периодически линяют. По мере роста у них выделяют три возраста: первый, второй и третий. Далее формируется ложнококон, внутри которого находится куколка. Из куколки выходит взрослая особь (имаго) [5].
Основными утилизаторами трупов являются личинки из семейств Calliphoridae, Muscidae, Fanniidae и Sarcophagidae, которые сильно разжижают мертвые ткани, усваивая до 70–80% субстрата [56, 167, 186]. Личинки двукрылых — основные утилизаторы мягких тканей трупа.
Самые многочисленные по числу особей — мясные мухи (Calliphoridae). Для судебной экспертизы они имеют важное значение, так как первыми обнаруживают труп и сразу откладывают яйца. Например, при благоприятных условиях зеленые падальные мухи (род Lucilia) встречаются на трупах через час после наступления смерти и немедленно приступают к откладке яиц в глаза, носовые ходы, рот, другие естественные отверстия и повреждения [40, 167, 191].
На трупах обильно встречается синяя падальница (Calliphora vicina = erythrocephala) — крупная, длиной до 7–14 мм, темно-синего цвета с металлическим отливом и серым налетом на брюшке. Входит в число доминирующих видов мух, потребляющих до 80% трупного материала. Самка откладывает яйца группами по 20–50 штук (до 400 яиц) преимущественно вокруг естественных отверстий (нос, рот, анус), наружных повреждений кожи или в местах с наиболее тонкой кожей, чтобы в дальнейшем облегчить внедрение появляющихся личинок в ткани трупа [13, 15].
Среднее количество яиц, отложенных на труп мыши массой 25–35 г мясной мухой, составляет 292 штук (варьируется в пределах от 100 до 400), но в результате конкуренции за пищу и истребления хищниками развивается не более 50 мух, т. е. 17,5% [185].
У питающихся мясом личинок каллифоры в средней кишке и в экскретах личинок люцилий образуется много протеаз и липаз, в них находится свободный аммиак, который создает необходимую для действия фермента щелочную среду [98].
За счет выделения аммиака, а также его соединений наиболее сильный запах ощущается во время разжижения трупа, когда биомасса личинок в трупе наибольшая, и наоборот, резкое ослабление запаха происходит в конце этой стадии и начале следующей, когда большинство крупных личинок покидает объект.
На трупах также многочисленна мясная муха новоземельская (Protophormia terraenovae) длиной 7–12 мм, синего цвета, в слабом светлом налете. Эти мухи чаще встречаются в естественных биоценозах (лес, луг), численность их на трупах в таких условиях намного выше, чем синей падальницы. В отличие от большинства мух, их личинки окукливаются прямо на поверхности трупа, а не отползают от него [57, 58, 167].
Муха мертвых (Сynomya mortuorum) — очень крупные особи, длиной 8–15 мм, с желтой головой и чаще с брюшком темно-синего цвета с металлическим отливом. Личинки являются типичными некрофагами, развиваются только на разлагающейся животной органике, однако на трупах они часто ведут себя скрытно, периодически мигрируя в почву рядом с трупом [42, 43].
Семейство настоящих мух (Muscidae) — небольшие мухи с темным или желтым телом, иногда с металлическим блеском (синим или зеленым). Некоторые виды являются синантропными, личинки развиваются в разлагающихся веществах растительного и животного происхождения. Они предпочитают уже гнилостно измененные ткани трупов. На трупах встречаются Muscina stabulans, Оphyra leucostoma, M. assimilis, Hydrotaea dentipes [40, 56, 167].
Виды семейства серых мясных мух (Sarcophagidae) приступают к освоению субстрата также на сравнительно поздней стадии его разложения. Многочисленны на трупах Sarcophaga portchinskyi, S. сaerulescens, S. argyrostoma. Это крупные мухи, 10–15 мм длиной, с серым шашечным рисунком. Являются живородящими, на труп отрождают большое число мелких личинок, которые вначале питаются мягкими тканями, а подрастая, переходят к хищничеству, нападая на других личинок [56].
Мухи семейства муравьевидок (Sepsidae) похожи на небольших муравьев с парой крыльев. Самки колонизируют трупы на поздних стадиях разложения, откладывая яйца на разжиженный субстрат, поэтому они имеют морфологические особенности — длинную дыхательную трубку. На последних стадиях разложения количество Nemopoda nitidula больше числа других некрофильных видов, колонизирующих труп. Численность их на трупе очень высока за счет плодовитости самок [58].
Представители семейства фаннид (Fanniidae) не являются истинными синантропами и обильно обитают в лесах. Личинки развиваются на подсохшем субстрате и не углубляются в труп, а ползают по его поверхности, соскабливая ротовыми крючками детритные частицы. Часто встречаются комнатная малая (Fannia canicularis) и лестничная (F. scalaris) мухи. Обитают в уборных, свином навозе, влажных отбросах, земле, пропитанной мочой [35].
Семейство пиофилид (Piophilidae) — небольшие мухи с блестящей темной окраской. Наиболее обычны на последних этапах разложения; встречаются на остатках кожи, костях. Личинки Parapiophila vulgaris, Stearibia nigriceps (foveolata), Piophila latipes развиваются в сильно разжиженных тканях [103].
Обычны на трупах мухи семейства горбаток (Phoridae) . Личинки связаны с различными субстратами — от гниющей травы до трупов теплокровных животных.
Представители семейства хиломизид (Dryomyzidae и Helomyzidae) — мухи средней величины, ржаво-желтой окраски; распространены повсеместно. Часто посещают трупы имаго Neuroctena analis и Helomyza serrata. Способны колонизировать трупы на любой из стадий разложения. Самки не только откладывают яйца, но и активно питаются мягкими тканями. Представители этих семейств предпочитают заселять трупы во влажных стациях (сильно затененные лиственные леса), а также обильны на трупах в пасмурную погоду [37, 103].
Некрофагия отмечена у личинок семейства Sphaeroceridae родов Leptocera, Copromyza, Sphaeroceridae. Они развиваются на трупах животных, хорошо адаптируются к различным условиям благодаря своему очень быстрому развитию и высокой плодовитости.
Личинки семейств Stratiomyidae, Phoridae, Dryomyzidae, Sepsidae, Piophilidae, Helomyzidae, Sphaeroceridae, Ephydridae, Anthomyiidae, Chloropidae, Calliphoridae в течение всего развития питаются разлагающимся субстратом.
Во время интенсивного роста личинок происходит выделение метаболического тепла, которое необходимо для их развития. Температура тканей трупа во время основного периода питания личинок достигает 45–46 ° С и поддерживается на таком уровне круглосуточно в течение нескольких дней [48, 193, 195].
В процессе разложения под влиянием пищеварительных ферментов, выделяемых насекомыми-некрофагами, происходит изменение и ложа трупа. Сильно изменяется среда почвы (pH) — от нейтральной (рН = 7,1) до щелочной (рН = 8,2), вследствие чего изменяется и фауна педобионтов, населяющих почву [122, 188].
Под трупом уменьшается численность Collembola и Acari, особенно в период повышенного питания насекомых. За счет механического воздействия и влияния активных веществ угнетается растительность, но после полного разложения плодородие почвы на этом месте увеличивается [46].
1.3.2. Отряд Caleoptera — Жесткокрылые (жуки)
Семейство мертвоедов (Silphidae) в природе является одним из основных деструкторов мягких тканей. На трупах встречаются личинки и имаго родов Nicrophorus (могильщики), Necrodes (мертвоеды), Oiceoptoma, Thanatophilus, Silpha. На гнилостно измененных трупах человека в природе может встречаться трупоед черный (Necrodes littoralis) — крупные особи, длиной 15–35 мм, полностью матово-черного цвета. Взрослые жуки и личинки мертвоеда красногрудого (Oiceoptoma thanatophilus) наблюдаются на протяжении всего периода разложения мягких тканей, преимущественно в лесных биоценозах или затененных местах [36, 71, 164, 187].
Семейство стафилин, или коротконадкрылых жуков (Staphylinidae), практически всегда обнаруживается на трупах. Стафилины отличаются высокой подвижностью и продолговатым телом, имеют длину от нескольких миллиметров до 4–5 см, чаще бурого или черного цвета. Основной тип питания — хищничество, однако среди них встречаются паразитоиды (Aleochara) и сапрофаги [82, 140]. Жуки заселяют трупы на ранних стадиях и остаются активными до конца разложения [38].
Почти все представители подсемейства Saprininae и большинство подсемейства Histerinae, входящих в семейство Histeridae, — карапузики; обитают на падали, помете и экскрементах. На падали Histeridae обычно появляются при аммиачном гниении, на стадии разжижения мягких тканей. Это жуки с овальным телом, умеренно выпуклой формы и хорошо развитыми копательными ногами, что связано с пребыванием и передвижением в почве под трупами или экскрементами, где они преследуют свою добычу [33]. Пищу составляют личинки мух — копрофаги, некрофаги, сапрофаги. Histeridae играют важную роль в регуляции плотности популяции мясных мух, связанных с гниющим субстратом [173]. Кроме личинок мух, карапузики могут поедать и других насекомых, а также способны кормиться и гниющим мясом [31].
Представители семейства кожеедов (Dermestidae) относятся к ксерофильным потребителям остатков животного происхождения. В южных районах страны, преимущественно в степях, данному семейству принадлежит ведущая роль в утилизации трупных тканей. В этих жарких, с сухим климатом местах, трупы частично или полностью мумифицируются и среди насекомых доминируют кожееды [23, 24].
Типичными кератофагами являются личинки и имаго родов Omosita, Nitidula (Nitidulidae) и представители семейства пестряков (Cleridae). Это небольшие или среднего размера (2–18 мм) жуки с яркой окраской тела. Поедая сухожилия, кости, которые недоступны для личинок двукрылых, они способствуют полной утилизации этих останков. Личинки и имаго рода Necrobia питаются и размножаются на трупах [173].
Отряд тараканов (Blattodea). Его представители также могут наносить посмертные повреждения. На трупах, длительно находящихся в помещениях, отмечено присутствие рыжего таракана (прусак, Blattella germanica). Его взрослые особи достигают длины 10–16 мм, окрашены в различные оттенки коричневого цвета. Повреждения, наносимые ими, представляют собой дефекты эпидермиса (как изолированные, так и сливающиеся между собой) с неровными фестончатыми краями и контурами, напоминающими географическую карту [16, 78].
Такого рода посмертные ссадины имеют желтоватый цвет, быстро подсыхают и приобретают пергаментную плотность, располагаясь чаще по границам контакта трупа с постельным бельем, одеждой. Иногда эксперт не может непосредственно фиксировать наличие тараканов на трупах и судит об их присутствии и возможности причинения ими повреждений по наличию рядом с трупом следов помета, оотек (яиц) [17].
Для судебного энтомолога блохи (отряд блох — Siphonaptera) и вши (отряд вшей — Anoplura) представляют незначительный интерес, поскольку эти облигатные гематофаги покидают тело мертвого человека, как только начинается снижение его температуры [95].
1.4. Возможности использования энтомологических данных в судебно-медицинской экспертизе
Судебная энтомология является частным разделом судебной медицины и энтомологии, рассматривающим особенности развития насекомых на трупе и морфологические характеристики вызываемых ими повреждений.
Энтомологические исследования постепенно входят в практику судебно-медицинской экспертизы, позволяя по некрофильным видам устанавливать дату наступления смерти [117, 130, 147]. Энтомологические данные дают возможность установить не только дату смерти, но и факт перемещения трупа в окружающей среде.
Существует два основных подхода при определении постмортального интервала с использованием насекомых как вещественного доказательства. Первый включает в себя изучение последовательной колонизации трупа насекомыми (сукцессия). Данные по сукцессии можно использовать от одного месяца до одного года после смерти или пока труп полностью не скелетируется. Второй подход базируется на развитии мух, которые заселяют труп вскоре после момента наступления смерти. Его можно использовать до одного месяца после смерти, очень редко — дольше месяца [69].
В первом случае подход основан на изучении заселения (сукцессии) трупа членистоногими, позволяет экспертам соотносить каждый отдельный вид или группу некробионтов с определенным сроком разложения.
Во втором — определение возраста осуществляется по размерам тела и массе личинок. Развитие личинок двукрылых легко визуализируется построением кривых роста при различных константных температурах, например изомегаленовой и изоморфеновой диаграмм [148, 194].
Диаграммы иллюстрируют изменения длины и массы личинок в период их развития в зависимости от времени и температуры окружающей среды. Если температура примерно постоянна (как в случаях нахождения трупа в закрытом помещении), то возраст личинок можно определить по их длине. Если температура варьируется (как в случаях обнаружения трупа в естественном биоценозе), возраст личинки можно вычислить по диаграмме как интервал между точками, в которых ее длина пересекается с минимальной и максимальной зафиксированными температурами.
Другой метод основан на ретроспективном определении начала развития насекомых на трупе с применением эффективных температур отдельного вида [12,49].
Для вычисления продолжительности развития мух используются следующие параметры: нижний порог развития, тепловая постоянная вида и сумма эффективных температур. Нижний порог развития — это крайнее значение температуры внешней среды (°C), ниже которого невозможна всякая жизнедеятельность вида насекомых. Тепловая постоянная представляет собой сумму эффективных температур (°C), необходимую для развития насекомого от яйца до взрослой особи, которая вычислена индивидуально для каждого вида [15].
Применение энтомофауны в судебной медицине для определения постмортального интервала заключается в том, что обнаруженные на трупе преимагинальные стадии развития насекомых находятся в лаборатории при температурной константе до выплода имаго.
В литературе описано немало случаев, когда рассчитанная энтомологом-экспертом дата гибели человека расходилась с датой, установленной в ходе проведенного судебно-медицинского исследования [6].
При использовании всех способов определения продолжительности постмортального интервала необходимо учитывать, что температурные параметры развития мух индивидуальны и зависят от географической адаптации каждого вида, воздействия факторов окружающей среды. В этой связи при вычислении возраста личинок и анализе сукцессии насекомых на трупе необходимо использовать имеющиеся сведения, полученные при изучении некробионтов данного географического района [149, 153].
Таким образом, большинство российских и зарубежных авторов придерживаются использования энтомологического метода для установления ДНС. Практические аспекты его применения рассмотрены в методических рекомендациях М. И. Марченко, В. И. Кононенко (1991) и в Национальном руководстве «Судебная медицина и судебно-медицинская экспертиза» (под ред. Ю. И. Пиголкина, 2014), где изложен алгоритм экспертного исследования с применением энтомологического метода [7, 49, 68].
Однако развитие и жизнедеятельность насекомых-некробионтов в разных климатогеографических районах имеют существенные различия, что побуждает к изучению особенностей региональных представителей, важных в судебно-медицинской практике [13, 15].
Как мы видим, несмотря на общие закономерности разложения трупа, отдельные его характеристики достаточно лабильны и зависят от ряда факторов, среди которых большое значение имеют условия окружающей среды и местонахождение трупа. Несомненно, это влияет на процесс деструкции за счет биообъектов, что следует учитывать при определении продолжительности постмортального интервала. Необходимость объективизации ДНС в позднем периоде обусловливает применение альтернативных методов, в частности энтомологического.
Многосторонние исследования, посвященные ДНС, процесс деструкции за счет биообъектов при определении продолжительности постмортального интервала не рассматривали.
Таким образом, обзор литературы показал, что не определены анатомо-топографические параметры колонизации трупов некрофильными насекомыми, пригодность судебно-энтомологических критериев определения продолжительности и условий постмортального периода, что непосредственно влияет на качество судебно-медицинских экспертиз при определении ДНС при наличии некрофильного энтомологического материала и оценке полученных результатов.
[1] Цит. по: Н. И. Шевченко, 2012.
Глава 2.
Материалы и методы исследования
Объектом исследования являлись некрофильные насекомые с трупов крупных животных массой более 30 кг (пять трупов свиней), потрошеных тушек домашних кур (Gallus gallus, Linnaeus) массой 1,5–2,0 кг (1758 тушек); а также с 17 трупов людей в стадии поздних постмортальных изменений.
Для достижения цели исследования и решения поставленных задач использовался экспериментальный метод в двух видах экосистем (естественный биоценоз и закрытое помещение) с изучением видового состава некрофильных насекомых, сроков заселения трупа, особенностей сукцессии и многофакторный анализ данных.
Исследование выполнялось в соответствии с международными этическими нормами, приведенными в Хельсинкской декларации Всемирной медицинской ассоциации: рекомендации для врачей по проведению биомедицинских исследований на людях, и требованиями, изложенными в основных нормативных документах (заключение Комитета по медицинской этике при Министерстве здравоохранения и социального развития РК и Петрозаводском государственном университете от 6 ноября 2015 г. № 35).
Экспериментальная часть работы проводилась на территории охотхозяйства Карельской региональной общественной организации охотников и рыболовов (КРОО ОиР). Согласно трехстороннему соглашению о сотрудничестве от 20 июня 2015 г. между ФГБОУ ВО «Петрозаводский государственный университет», ГБУЗ «Бюро СМЭ» РК и КРОО ОиР были разложены трупные приманки.
Исследование осуществлялось в несколько этапов, включающих анализ физико-географических особенностей местности, эксперимент, сбор и анализ данных.
2.1. Физико-географические особенности района исследования
Карелия располагается в пределах подзоны северной и средней тайги таежной зоны между 60°41′ и 66° 41′ и 66°39′ с. ш. Территория разделена на южную и северную части, граница проходит по 63° с. ш. Карелия относится к северной климатической области, для которой характерно влияние арктических и атлантических воздушных течений, способствующих смягчению температуры воздуха и увеличению количества осадков. Климат характеризуется продолжительной и относительно теплой зимой, коротким прохладным летом. Период со среднесуточной температурой выше 10 °С длится 115–140 дней, число дней со снежным покровом – 160. Средняя годовая температура воздуха в республике колеблется от 0,1 °С на севере до 3,0 °С на юге. Самым теплым месяцем является июль: средняя месячная температура воздуха составляет 16–21 °С; весна и осень носят затяжной характер. Вся территория республики относится к зоне избыточного увлажнения. В годовом ходе осадков минимум наблюдается в марте, максимум – в августе. Больше всего осадков бывает в теплый период – около 70% годовой суммы [18].
Рис. 1. Карта Карелии (розовым цветом выделен район исследований). Источник: www.maps-rf.ru
Территория Карелии расположена целиком в таежной зоне. Леса являются господствующим типом растительности. Ландшафты с преобладанием еловых массивов занимают 54,2% площади подзоны, сосновых – 45,8% [55].
Исследования проводились в южной части Республики Карелии (р-н Лососинное, 61°39´ с. ш. и 34°01´ в. д.) на территории г. Петрозаводска и Прионежского района (рис. 1).
Прионежский район расположен на юго-западном побережье Онежского озера, занимает площадь 3 665 кв. км. Ландшафт носит отпечаток деятельности последнего ледникового периода. Здесь много ледниковых отложений из песка, глины и камней, которые образуют высокие холмы и гряды (сельги). Вдоль побережья Онежского озера протянулась Шокшинская гряда с максимальными высотами до 240 м. Ледниковое происхождение имеют как многочисленные маленькие лесные озера – ламбушки, так и более крупные, например Кончезеро, Укшезеро и др.
Город Петрозаводск и его окрестности расположены на западном побережье Петрозаводской губы Онежского озера. Рельеф, сформировавшийся в результате воздействия ледников и ледниковых вод, среднехолмистый, с высотой над уровнем моря (абсолютная отметка) от 100 до 180 м.
Среднегодовая температура воздуха +2,2…+2,5 °С. Минимальная температура приходится на январь – февраль, максимальная – на июль. Территория Петрозаводска относится к зоне избыточного увлажнения, где за год выпадает 614 мм осадков: 46% годового количества составляют жидкие осадки, 33% – в твердом виде, 21% – в смешанном (снег с дождем или мокрый снег). Снежный покров образуется с середины октября и лежит до середины апреля с максимальной высотой в марте – 27 см (Климат Петрозаводска, 1982).
Таким образом, основным отличием экосистем Прионежского района и города Петрозаводска является выпадение последнего из зоны тайги как результат деятельности человека. Это дает основание заключить, что различающиеся экосистемы определяют и разный состав некробионтов.
2.2. Материалы исследования
Материалом исследования служил энтомологический материал, собранный с трупов крупных животных, потрошеных тушек домашних кур, а также человека.
Исследования проведены на пяти трупах свиней (Sus scrofa domesticus) массой более 30 кг. Только свиньи данного вида могут быть использованы как модели разложения трупа человека, в виду схожести структуры тканей (М.И. Марченко, В.И. Кононенко, 1991; S. Matuszewski et al., 2008; H. Šuláková, M. Barták, 2013 и др.).
Пять трупов свиней (Sus scrofa domesticus) массой 50–100 кг были помещены в различных биотопах (табл. 2). Они использовались как модели разложения трупа человека. Умерщвление животных было произведено таким образом, чтобы не нарушить анатомической целостности их кожных покровов.
Таблица 2
Дата закладки и количество приманок (трупы свиней) за период исследования
| Дата закладки |
Масса трупа свиньи (кг) |
Биотоп |
| 1. 03.06.2015 |
58 |
Ельник черничный |
| 2. 22.06.2015 |
70 |
Луг разнотравный |
| 3. 22.06.2015 |
60 |
Ельник черничный |
| 4. 05.10.2015 |
53 |
Ельник черничный |
| 5. 21.06.2016 |
100 |
Ельник черничный |
Следующий этап эксперимента проводили на потрошеных тушках домашних кур (Gallus gallus, Linnaeus) массой 1,5–2,0 кг (шесть потрошеных тушек).
Тушки закладывали в условия городской экосистемы (г. Петрозаводск) на территории плодово-культурных посадок частного сектора. Приманки раскладывали на поверхность почвы. Все приманки защищались от воздействия падальщиков с помощью клеток из металлической сетки с крупной ячеей. Брались три модельных варианта: термическая травма, колото-резаная травма и приманка без этих повреждений. Всего проаннотировано три варианта в двух повторностях (весна и лето). Интервал наблюдения составил шесть часов.
Параллельно материал собирался с поступивших в отдел экспертизы трупов г. Петрозаводска ГБУЗ «Бюро СМЭ» РК трупов людей в стадии поздних постмортальных изменений. Материал был собран с 17 трупов людей (табл. 3). На всех трупах присутствовали некрофильные насекомые разных стадий развития (яйца, личинки, пупарии).
Таблица 3
Характеристика трупного материала с наличием некрофильных насекомых (за период с октября 2014 по октябрь 2016 г.)
| Обнаружение |
Пол |
Категория смерти |
Состояние трупа |
Номер акта (заключения) исследования трупа |
|
| Дата |
Место |
||||
| 1. |
Квартира |
Ж |
Ненасильственная |
Мумификация |
от 29.09.2014 № 870 |
| 2. |
Квартира |
М |
Ненасильственная |
Гнилостно изменен |
от 16.06.2015 № 573 |
| 3. |
Квартира |
М |
Ненасильственная |
Гнилостно изменен |
от 06.07.2015 № 635 |
| 4. |
Квартира |
Ж |
Ненасильственная |
Гнилостно изменен |
от 16.07.2015 № 669 |
| 5. |
Лестничная клетка |
М |
Ненасильственная |
Визуально гнилостно не изменен |
от 15.09.2015 № 864 |
| 6. |
Квартира |
М |
Ненасильственная |
Влажная мумия |
от 01.10.2015 № 919 |
| 7. |
Территория гаражного кооператива |
Ж |
Насильственная |
Визуально гнилостно не изменен |
от 17.05.2016 № 464 |
| 8. |
Квартира |
М |
Насильственная |
Визуально гнилостно не изменен |
от 27.05.2016 № 500 |
| 9. |
Квартира |
М |
Ненасильственная |
Гнилостно изменен |
от 06.06.2016 № 528 |
| 10. 10.06.2016 |
Лесной массив города |
Ж |
Ненасильственная |
Гнилостно изменен |
от 14.06.2016 № 540 |
| 11. 21.06.2016 |
Квартира |
М |
Ненасильственная |
Визуально гнилостно не изменен |
от 25.06.2016 № 672 |
| 12. 08.07.2016 |
Квартира |
Ж |
Ненасильственная |
Гнилостно изменен |
от 11.07.2016 № 637 |
| 13. 25.07.2016 |
Лесной массив города |
М |
Ненасильственная |
Визуально гнилостно не изменен |
от 27.07.2016 № 682 |
| 14. 05.08.2016 |
Поселок Коткозеро |
М |
Насильственная |
Гнилостно изменен |
от 28.10.2016 № 157 |
| 15. 05.08.2016 |
Поселок Коткозеро |
Ж |
Насильственная |
Гнилостно изменен |
от 28.10.2016 № 158 |
| 16. 04.10.2016 |
Центр города |
М |
Насильственная |
Гнилостно изменен |
от 04.10.2016 № 919 |
| 17. 09.08.2016 |
Квартира |
Ж |
Насильственная |
Гнилостно изменен |
от 10.08.2016 № 728 |
Живой материал сразу (в день его забора) помещали в термостат с регулируемым освещением и температурой в специально подготовленные садки и банки. В качестве субстрата использовался песок, опилки или сфагнум, который заполнял емкость наполовину, сверху ее закрывали марлей или легкой тканью и плотно зажимали резинкой. Личинок докармливали мясом, печенью или рыбой.
Пупарии и куколок содержали отдельно от личинок, так как последних не надо докармливать. Собранные куколки и пупарии переносили в банку с песком и слегка прикрывали мхом. Сверху банку накрывали тканью и оставляли в лаборатории до выведения имаго. С трупов свиней выведено 5 163 особи двукрылых, с тушек домашних кур — 645, с трупов людей — 557 особей (см. прил. 1; табл. 1, 2, 3).
Сводные данные о проанализированном со всех типов объектов энтомологическом материале представлены в табл. 4.
Таблица 4
Сводные данные по собранному материалу
| Биологический объект |
Кол-во объектов |
Количество отмеченных особей в отрядах |
|||
| жесткокрылые |
двукрылые |
перепончатокрылые (муравьи*) |
тараканы |
||
| Труп человека |
17 |
111 |
557 |
+ |
** |
| Труп свиньи |
5 |
8920 |
10 335 |
+ |
20 |
| Труп курицы |
6 |
280 |
365 |
+ |
– |
| Всего |
28 |
9311 |
11 257 |
+ |
20 |
Примечания:
*Представлены в большом количестве;
**данные из архива ГБУЗ «Бюро СМЭ» РК.
2.3. Методы исследования
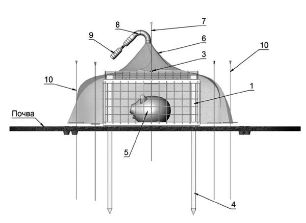
Для изучения комплекса некрофильных насекомых использовалось разработанное устройство (Патент на полезную модель № 168060).
Устройство состоит из следующих частей (рис. 2):
Клетка железная с крышкой и ушками для замка. Размеры клетки 120×80×60 см, размер ячеи сверху и сбоку 10 см, снизу — 20 см. После установки на месте исследования клетка фиксируется металлическими прутьями, вбитыми в землю на глубину до 1 м. Внутрь помещается крупная приманка, клетка закрывается крышкой и замком.
Пирамидальная ловушка из тонкого, светлого капрона. Ее размеры (длина и ширина) превышают в 1,5–2 раза размер клетки. Ловушка устанавливается над клеткой на высоту 1,0–1,5 м с помощью шеста, зафиксированного в земле (высота установки определяется возможностью беспрепятственного изъятия материала). В верхней части ловушки находится круглое отверстие, через которое насекомые попадают в ловчий стакан (можно использовать полупрозрачную полиэтиленовую бутылку). К последнему крепится при помощи полиэтиленовой крышки другая полупрозрачная бутылка с фиксатором. В качестве фиксатора обычно применяют этиловый спирт 96%-й концентрации или уксусную эссенцию. Емкость заполняют на 1/3. Концы капрона натягиваются и фиксируются колышками. Нижний край капрона располагается на высоте 30–35 см от поверхности земли. Используют почвенную ловушку для отлова летающих некрофильных насекомых.
Рис. 2. Устройство для изучения некрофильных насекомых на трупах крупных животных (вид спереди): 1 — металлическая клетка; 2 — крышка; 3 — ушки для замка; 4 — прутья для фиксации клетки; 5 — приманка; 6 — пирамидальная ловушка из капрона; 7 — шест для крепления пирамидальной ловушки; 8 — ловчий стакан; 9 — емкость с фиксатором; 10 — колышки для натягивания пирамидальной ловушки; 11 — почвенные банки-ловушки
Почвенная ловушка. Пол-литровую банку вкапывают в землю по горлышко. Ловушки располагают по краю ложа трупа. После установки их заполняют на 1/3 жидкостью (уксусной эссенцией, мыльным раствором или этиленгликолем). Почвенную ловушку можно заполнить опилками или песком, тогда отползающие с трупа личинки двукрылых для окукливания попадают внутрь. Такие ловушки устанавливаются в количестве не менее четырех штук. Используют почвенную ловушку для отлова почвенных некрофильных насекомых.
Данное устройство позволило вести исследование до полного разложения (исключая костную ткань, шерсть, копыта), на которое затрачивается несколько лет. Сбор материала осуществлялся через три-четыре дня в период активной фазы разложения и раз в неделю — в стадию скелетирования трупа. Насекомых (имаго и неполовозрелые стадии развития) собирали непосредственно с трупа и почвы, пропитанной продуктами трупного распада. Личинок двукрылых доращивали до взрослых особей в лабораторных условиях. Материал с почвенной ловушки собирали, не вынимая банку, с пирамидальной — меняли бутылку с фиксирующей жидкостью на новую и разбирали собранный материал в лабораторных условиях. Использование разного типа ловушек позволило производить раздельный сбор напочвенных и почвенных некробионтов. Взрослых насекомых (жуков, мух и др.) изучено 14 331 особь.
2.4. Статистическая обработка данных
Данные обрабатывали с применением методов описательной статистики, вычисления возможных распределений полученных значений и их анализом.
Статистическая обработка данных производилась совместно со специалистами физико-технического института Петрозаводского государственного университета.
Весь материал обработан вариационно-статистическим методом. Для установления значимости отличий частот отмеченных таксонов применяли стандартные показатели описательной статистики и проверяли при помощи критериев t-анализа (Стьюдента) и Пирсона, χ2. Математические расчеты и графические построения выполнены с помощью пакета программ Microsoft Office Excel 2010 и Past 2.17 (Ø. Hammer, 2001).
Таким образом, собранный в различных условиях эксперимента материал по своему составу и разнообразию позволил подойти к решению следующих задач:
1) определение структуры некрофильного энтомокомплекса в биотопах южной части Карелии;
2) установление особенностей анатомо-топографической колонизации трупов некрофильными насекомыми;
3) определение состава и особенностей деятельности некробионтов в естественном биоценозе южной части Карелии и закрытых помещениях;
4) определение сходства и различия состава некрофильных насекомых на трупах человека и животных;
5) подтверждение объективности судебно-энтомологических критериев для определения продолжительности и условий постмортального периода на территории южной части Карелии.
Информация, полученная при изучении указанных материалов исследования (при условии комплексного применения адекватных методов изучения материала), легла в основу выводов данной работы и позволила считать поставленные задачи полностью решенными.
Глава 3.
Судебно-медицинская оценка анатомо-топографической характеристики некрофильного энтомокомплекса
В настоящей главе мы приводим данные об особенностях анатомо-топографической колонизации и повреждений трупов некрофильными насекомыми.
Первыми трупы обнаруживают двукрылые мясные мухи (Calliphoridae), мелкие падальные жуки (Leiodidae) и жуки-мертвоеды (Silphidae). Обладая быстрым и маневренным полетом, мухи находят труп иногда сразу после гибели животного или человека. Двукрылые более активны в поисках субстрата, так как стремятся первыми отложить яйца.
3.1. Анатомо-топографические особенности колонизации трупов некрофильными насекомыми
На модельных объектах (тушки кур без повреждений, тушки с имитацией колото-резаных ран, с имитацией термической травмы) и при осмотрах трупа человека на месте его обнаружения установлено, что взрослые мухи предпочитают для яйцекладки скрытые места. Самки откладывают яйца в виде белых крупинок в различные области: складки кожи, естественные отверстия (глаза, нос, уши, вход во влагалище, анус), пространство между кожей и одеждой трупа (рис. 3).
Рис. 3. Обильные яйцекладки мух в скрытых местах (брюшная полость)
На трупах, значительно поврежденных пламенем, самки откладывали яйца на участках наименее измененных тканей (рис. 4); объем яйцекладок напрямую зависел от степени обугливания трупа. При наличии на модельном объекте ран наблюдалось отложение яиц в области их краев (рис. 5).
Рис. 4. Яйцекладки на участках неизмененных тканей модельного объекта с имитацией термической травмы
Рис. 5. Яйцекладки в ранах на модельном объекте с имитацией колото-резаных повреждений
Яйцекладки различной локализации по внешнему виду отличались в тех случаях, когда были сделаны разными видами мух. В среднем самка откладывает 100–150 яиц, некоторые виды мух — до 2000. Кроме того, бывают живородящие мухи, которые откладывают личинки в разлагающийся труп.
Время появления яйцекладок зависело от многих условий: значений температуры окружающей среды, влажности, нахождения трупа на открытом воздухе или в помещении. Установлено, что при закладке трупной приманки весной (май 2016 г.) первые яйцекладки в брюшной полости курицы появились на тушке без повреждений — на 4-й день наблюдения и были единичными; на тушке с имитацией термической травмы — на 5-й день, были единичными и располагались на участках неизмененных тканей. При закладке приманки летом (июнь 2016 г.) первые яйцекладки появились также в брюшной полости курицы: на тушке без повреждений — на 2-й день наблюдения, на тушке с имитацией термической травмы — на 3-й день. На тушке курицы с имитацией колото-резаных ран, обработанных сильным аттрактантом (трупная кровь), первые яйца появились на 5-й час наблюдения, причем в данном случае они были отложены и в брюшную полость приманки, и в края ран. Во всех случаях летом яйцекладки были гораздо более обильными, чем зафиксированные на приманках, заложенных весной (рис. 6–10). Данный факт объясняется сезонной динамикой численности двукрылых: они появляются в начале мая и остаются активными до конца сентября — начала октября. Пик их численности приходится на июнь и июль.
Рис. 6. Первые яйцекладки мух
на модельном объекте без повреждений, заложенном в мае 2016 г. (4-й день наблюдения)
Рис. 7. Первые яйцекладки мух
на модельном объекте без повреждений, заложенном в июне 2016 г. (2-й день наблюдения)
Рис. 8. Первые яйцекладки мух на модельном объекте с имитацией
колото-резаных ран, заложенном в июне 2016 г. (5-й час наблюдения)
На трупах, визуально гнилостно неизмененных, заселение личинками наблюдалось преимущественно на лице (отверстия рта, носа, ушей, глаз), в складках одежды и кожи (рис. 9).
Рис. 9. Личинки некрофильных двукрылых в области лица
гнилостно неизмененного трупа
На гнилостно измененных трупах человека их личинки встречались по всему телу (особенно под пленками отслаивающейся надкожицы), но более всего концентрировались в области головы (рис. 10). Иногда наблюдалась миграция личинок с внедрением их вглубь тела, особенно при понижении температуры окружающей среды.
Рис. 10. Скопления личинок на гнилостно измененном трупе:
1 — изменение морфологии колото-резаной раны на груди справа;
2 — перфорации личинками кожных покровов в области правой руки
Как указывалось выше, первыми труп обнаруживают и колонизируют двукрылые. По мере роста их личинок труп заселяют хищные виды — карапузики и коротконадкрылые жуки, сухие остатки трупа потребляют кожееды, кератофаги и сапрофаги. Личинки жесткокрылых и взрослые жуки появляются на трупе и скапливаются в местах, доступных для заселения, но покрытых одеждой, а также в ложе трупа. Активность жуков (сапрофагов и кератофагов) усиливается в процессе утилизации трупа, когда его ткани сильно разжижаются, в результате чего снижается привлекательность трупа для двукрылых и их численность.
Повреждения, которые могут быть причинены тараканами, чаще встречаются на трупах, обнаруженных в помещениях. Скопление их, как правило, отмечается в значительном количестве, чаще всего в местах, где наблюдается неухоженность. Отмечено, что повреждения в большинстве случаев располагаются по границам контакта с постельным бельем, одеждой, частями тела и т. д. В естественной среде (лес) тараканы также могут встречаться на трупах и наносить повреждения, но из-за низкой численности степень разрушения незначительна.
На трупах обнаружены и представители перепончатокрылых — муравьи. В лесных и луговых биоценозах они одними из первых обнаруживают трупы. На трупных приманках мелких животных отмечено, что появление муравьев в большом количестве часто приводит к резкому обеднению комплекса некробионтов и затягиванию всего процесса разложения. Муравьи препятствуют насекомым заселять труп, похищают их яйцекладки и уничтожают первых личинок. В наших исследованиях установлен факт питания муравьев F. polyctena «свежими» и сильно разложившимися тканями трупа. Трупы мышей (35–40 г), расположенные на муравьиной тропе, полностью утилизировались муравьями (при температуре +18 °С) в течение пяти дней. На куполе муравейника те же трупы перерабатывались до осевого скелета за сутки (рис. 11). При этом в течение первых четырех часов муравьи всегда обкладывают их хвоинками и затаскивают вглубь.
Рис. 11. Осевой скелет трупа мыши через 24 ч
(фото С. Н. Лябзиной, 2003)
Труп, не подвергавшийся термическому воздействию, активно посещали муравьи родов Myrmica и Lasius, отмечавшиеся с первых дней и на протяжении всего периода наблюдения. На обгоревшем трупе встречались мелкие мирмики с низкой численностью. Мы наблюдали случай скелетирования тела человека с полным уничтожением мягких тканей, труп которого находился вблизи муравейника, в срок около 30 дней в июле месяце при среднесуточной температуре воздуха +19 °С.
Таким образом, при изучении анатомо-топографических особенностей колонизации трупов некрофильными насекомыми выявлены различия в аттрактивности анатомических областей для некробионтов, сроках и последовательности заселения ими приманок, что связано с состоянием трупа, видовым составом насекомых и сезонной динамикой их численности. Двукрылые откладывают яйца в скрытые места: складки кожи, естественные отверстия (глаза, нос, уши, вход во влагалище, анус), области краев ран, пространство между кожей и одеждой. Личинки жесткокрылых и взрослые жуки скапливаются в местах, доступных для заселения, но покрытых одеждой, а также в ложе трупа.
3.2. Состав некрофильных насекомых, участвующих в разложении трупов
В результате проведенных исследований выявлено, что во всех случаях трупы, заложенные в летний период, заселялись некрофильными насекомыми. Установлена структура комплекса некробионтов в южной части Республики Карелии, выявлено, что ведущее место в энтомофауне трупов занимали представители отрядов жесткокрылых и двукрылых. В Карелии жесткокрылые представлены 65 видами из 11 семейств (прил. 1; табл. 2).
В сборах на исследуемых трупах животных численность жесткокрылых неодинакова (рис. 12).
Рис. 12. Доля (%) представителей некрофильных семейств жесткокрылых
и стандартное отклонение при доверительном интервале 95%
Рассматриваемые четыре семейства жесткокрылых, отмеченные на трупах свиней, в общей генеральной совокупности имеют стандартные отклонения (σ), входящие в допустимый уровень среднего значения ((M ± m) и достоверно значимые отличия критерия Стьюдента (td) (табл. 5).
Таблица 5
Вариационно-статистические значения таксонов жесткокрылых
| Таксон |
Средняя по доли и ошибка средней |
Стандартное отклонение (σ) |
Критерий Стьюдента (td) |
Число степеней свободы (df) |
| Cleridae |
14,0 ± 1,6 |
5,7 |
7,5 |
21 |
| Leiodidae |
14,0 ± 1,3 |
5,5 |
4,2 |
13 |
| Silphidae |
5,0 ± 1,7 |
2,8 |
3,6 |
45 |
| Staphylinidae |
57,0 ± 3,7 |
7,4 |
6,7 |
27 |
Отмечена высокая численность представителей семейства коротконадкрылых жуков (Staphylinidae), составляющая около 60% (рис. 13). В таких субстратах, как трупы животных, грибы, они часто доминируют не только по численности, но и по биомассе и могут занимать одно из ведущих мест. Являясь постоянной и многочисленной составляющей комплекса организмов, стафилиниды влияют на многие процессы, проходящие в этой сложной системе. Известно, что стафилиниды, имеющие облигатные или факультативные связи с трупом, участвуют в его утилизации, регуляции численности экзогенных фаз гельминтов, личинок и имаго Diptera. Жуки-некрофилы стафилиниды, приуроченные к трупам, — наиболее массовые виды. Мелкие некрофилы (Aleochara curtula и др.) уничтожают яйца трупных обитателей и питаются мертвыми тканями на начальной стадии разложения; в сборах они составляли около 14% (рис. 13). Высока в сборах численность Philonthus spp. и Atheta spp. (18 и 17% соответственно), которые также активно уничтожают ткани и посетителей трупа. Хищник серый (Creophilus maxillosus) в сборах представлен в количестве порядка 3%, но может регулировать численность личинок двукрылых (Muscidae) и сам является некрофагом.
Рис. 13. Доля (%) видов некрофильных жесткокрылых в сборах с трупов животных
Семейство мертвоедов (Silphidae) в природе является основным деструктором трупных тканей, в которых проявляется их жизнедеятельность. В сборах представлены личинки и имаго родов Nicrophorus, Necrodes, Oiceoptoma, Thanatophilus, в совокупности они составляют 5% (рис. 13). Представители рода могильщиков (Nicrophorus) встречались повсеместно и внешне очень сходны друг с другом. На крупных трупах они наблюдались не так часто — 2%, напротив, личинки и имаго рода Thanatophilus всегда отмечались как на мелких (курицы), так и на крупных (свиньи) приманках. Развитие личинок рода Necrodes связано исключительно с размерами трупов: наиболее часто их обнаруживали на трупах свиней и единично — на курах.
Мелкие падальные жуки семейства Leiodidae были многочисленны в сборах, большей частью представлены видом Sciodrepoides alpestris — 14%. Они встречались на самом трупе и вблизи него (в почвенном слое).
Некрофильные жуки — активные участники процесса разложения. Семейство коротконадкрылых жуков является самой многочисленной группой, составляя в сборах 57%. Среди них наиболее часто отмечаются представители родов Philonthus и Atheta. Другие семейства (Cleridae, Leiodidae, Silphidae) представлены в меньшем числе, но играют важную роль в деструкции.
В исследовании установлено, что насекомые на трупах представляют 12 видов некрофильных двукрылых, относящихся к шести семействам; наибольшая численность отмечалась у видов из семейств пиофилид (Piophilidae) и синих мясных мух (Calliphoridae) (рис. 14).
Рис. 14. Доля (%) представителей некрофильных семейств двукрылых
и стандартное отклонение при доверительном интервале 95%
Таблица 6
Вариационно-статистические значения таксонов двукрылых
| Таксон |
Средняя арифметическая |
Стандартное отклонение (σ) |
Критерий Стьюдента (td) |
Число степеней свободы (df) |
| Calliphoridea |
22,0 ± 3,7 |
14 |
5,5 |
21 |
| Fanniidae |
13,0 ± 2,1 |
8 |
7,2 |
11 |
| Muscidae |
12,0 ± 2,6 |
8 |
3,06 |
5 |
| Phoridae |
3,0 ± 1,1 |
5 |
2,9 |
4 |
| Piophilidae |
24,0 ± 4,2 |
16 |
8,04 |
27 |
| Sarcophagidae |
7,0 ± 0,9 |
2 |
5,11 |
8 |
Вариационно-статистические значения по некрофильным двукрылым, отмеченным на трупах в целой генеральной совокупности, имеют стандартные отклонения (σ), входящие в допустимый уровень среднего значения (M ± m), (табл. 6). Критерий Стьюдента (td) во всех случаях имеет достоверно значимые отличия, что подтверждает высокую степень взаимосвязей двукрылых с процессами гниения мягких тканей трупа.
Типичный некрофаг — муха мертвых (Cynomya mortuorum). Ее личинки развиваются только на разлагающейся животной органике. Относится к видам, имеющим важное судебно-медицинское значение. Присутствие Cynomya mortuorum на трупах позволяет применять методику ретроспективного анализа и устанавливать продолжительность постмортального интервала в тех случаях, когда трупы находятся на разных стадиях разрушения, а традиционные методы судебной медицины становятся неэффективными.
В Карелии муха мертвых обильно встречается в сельской местности. На урбанизированных территориях она предпочитает окраины, где, как правило, обычны участки с хорошо развитой травянистой растительностью. Вид может встречаться в открытых биоценозах (луга, вырубки), светлохвойных и смешанных лесах и избегает темнохвойных лесов. Установлено, что личинки способны развиваться на крупной падали и колонизировать трупы в начальный период разложения. В поставленных экспериментах в 2015–2016 гг. по изучению разложения в естественной среде на крупных трупах (домашняя свинья) было выведено 26 особей имаго, что составляет около 1% (рис. 15).
Рис. 15. Доля (%) видов некрофильных двукрылых в сборах с трупов животных
Все личинки были собраны на стадии раннего разложения — на 9–12-й день после закладки. Непосредственное участие личинок мухи мертвых в разложении трупов крупных животных и установление времени развития до имаго позволяет использовать эти сведения в судебно-медицинской практике. Кроме того, по присутствию личинок можно предполагать возможность перемещения трупа. Так, в результате наших исследований по изучению состава некрофильных двукрылых на трупах людей установлено, что личинки мухи мертвых не встречаются на трупах в помещении. Во всех случаях трупы людей были обнаружены в помещениях и находились в разной степени гнилостных изменений. Этим подтверждается распространение вида преимущественно в естественных биоценозах и его отсутствие в закрытых помещениях.
В массе на трупах наблюдались личинки четырех видов — Protophormia terraenovae, Fannia canicularis, Parapiohpila vulgaris и Stearibia nigriceps, что объясняется их экологической пластичностью и способностью развиваться в различных гниющих субстратах. Имаго и личинки встречались в процессе разложения мягких тканей. Самки откладывали большое число яиц, а личинки быстро росли на богатом питательном субстрате, тем самым разрушая структуру тела.
Самой многообразной по числу видов является группа двукрылых — факультативных некробионтов (более 90% представителей): синие мясные мухи (Calliphoridae), саркофагиды (Sarcophagidae), настоящие мухи (Muscidae). Например, взрослых особей и личинок синей падальницы (Calliphora vicina) регистрировали в большом количестве как в естественной среде, так и в помещениях, где они могли развиваться в различных гниющих органических субстратах.
Численность таких видов, как L. illustris и C. vomitoria, была невысокой. Вероятно, это зависит от температурного преферендума их индивидуального развития. Для нормального процесса им необходимо большее количество тепловой энергии, которую в наших климатических условиях они смогут получить преимущественно во второй половине лета. Так, температурные параметры у этих видов мух имеют более высокие значения нижнего порога развития и тепловой постоянной вида, чем, например, у C. Vicina (Е.Б. Виноградова, М. И. Марченко, 1984).
Численность на трупах серых мясных мух (Sarcophagidae), которые приступают к освоению субстрата на сравнительно поздней стадии его разложения, по нашим данным, была невысокая по сравнению с другими некрофильными видами. На сильно разложившихся трупах их личинки иногда оставались единственными.
По питанию личинки рода Hydrotaea (семейство настоящих мух), встречающиеся на трупах, являются факультативными хищниками: личинки I и II стадий питаются субстратом, на котором обитают, III — за счет других личинок, развивающихся в нем. На трупах свиней встречались в большом числе самки и самцы зубоножки обыкновенной (Hydrotaea dentipes) — 14%.
Представители рода Fannia (Fanniidaе) обильно обитали на трупах, составляя 15%. В большом числе встречалась муха комнатная малая (Fannia canicularis).
В исследованиях был отмечен один вид представителей горбаток (Phoridae) — Megaselia sp., численность его невысока — 3%. Вид встречался преимущественно на стадии скелетирования трупа, потому что личинкам достаточно для питания и развития незначительных по объему обезвоженных остатков мягких тканей. Например, D. B. Riversa с соавт. (2013) приводят данные о том, что некрофильный вид Megaselia scalaris (Loew, 1866) отличается максимальной устойчивостью к дегидратации заселяемых им тканей. Это соответствует способности имаго колонизировать на поздних стадиях распада трупных тканей, а их личинок — развиваться в этот период. Обильная же концентрация личинок и пупарий на волосистой части головы позволяют также сделать предположение, что они являются кератофагами и питаются дериватами кожи.
В проведенном исследовании отмечено сезонное изменение состава некрофильных двукрылых. В течение всего вегетационного периода трупы заселяли два вида — синяя падальница и мясная муха новоземельская. Вероятно, этим объясняется их доминирующее положение среди других двукрылых. В летний период на трупах появляются S. Argyrostoma и P. vulgaris. В естественных биотопах в начале сентября труп свиньи колонизировали имаго многих видов некрофильных двукрылых (Lucilia spp., Calliphora spp., Sepsis punctum, Muscina assimilis), но в тканях развивались только личинки мухи мертвых.
Таким образом, относительно высокой численности представителей семейства коротконадкрылых жуков (Staphylinidae) получен результат, аналогичный приведенным в работах, посвященных некрофильному сообществу, где говорится об их значительном количестве [106, 117, 122, 137].
Большинство выявленных нами в регионе видов личинок двукрылых являются факультативными некробионтами. Они обладают широкой экологической пластичностью и способны развиваться не только на трупах, но и в других субстратах. Например, синяя падальница предпочитает хорошо освещенные и прогреваемые места, в массовых количествах может встречаться на рыбе, мясе, фруктах, ягодах, мясных отбросах в мусорных ящиках, на фекалиях, свином навозе; личинки pода Hydrotaea наблюдаются преимущественно в больших скоплениях фекалий или навоза, особенно в местах с песчаной, хорошо впитывающей влагу почвой [103]. Развитие же личинок только в трупах известно для немногих видов, например мухи мертвых [42].
Все выявленные виды имеют важное судебно-медицинское значение, для некоторых из них вычислены показатели длительности развития при постоянных температурах [49]. Расчетный метод установления времени нахождения трупа на месте его обнаружения по энтомофауне проверен в ходе судебно-медицинской экспертизы [69]. По отдельным видам, конкретно — личинкам мухи мертвых (Calliphoridae), на практике была установлена ДНС [117].
3.3. Судебно-медицинская характеристика особенностей повреждений, причиняемых некрофильными насекомыми трупам человека и животных
Насекомые, такие как мухи, жуки, муравьи, тараканы, активно участвуют в разрушении трупа. Наибольшее значение имеют двукрылые, которые питаются в процессе своего развития тканями трупа. Цикл развития мух включает следующие периоды: яйцекладка, наличие на трупе личинок, окукливание и вылет взрослых особей (имаго). Яйца мух не причиняют повреждения тканям человека, продолжительность стадии развития составляет 1–2 суток. В этой связи их наличие позволяет сделать вывод, что некрофильные двукрылые обнаруживают труп не позднее двух суток.
Жизнь личинки начинается после выхода из яйца. Личинки, в зависимости от их массы и размерных параметров, разделяются на три возраста: первый, второй и третий. Сразу после вылупления личинка имеет мягкие покровы и часто еще лишена своей нормальной окраски, т. е. имеет беловатый цвет или является бесцветной. Однако у открыто живущих личинок затвердевание покровов и появление окраски происходят очень быстро, и личинка приобретает обычный вид. Затем она начинает усиленно питаться, растет и развивается. Рост и развитие сопровождаются периодическими линьками — сбрасыванием кутикулы. Благодаря им происходят увеличение тела и наружные его изменения. У мух число линек равняется трем. После каждой линьки личинка переходит в следующий возраст, поэтому линьки разделяют между собой возрасты личинок.
Увеличение массы тела с каждой последующей линькой иногда подчиняется правилу геометрической прогрессии со знаменателем q = 2. Таким образом, масса тела личинки n-го возраста определяется следующей формулой:
an = 2n–1a1 (1)
где a1 — масса тела в первом возрасте.
Однако такое положение наблюдается не во всех случаях — знаменатель прогрессии сильно зависит от условий питания и видовых особенностей [5]. Личинки разных возрастов не имеют резких отличий в морфологии их тела, но существует отличие в скорости утилизации и степени разрушения тканей.
Личинки имеют внекишечный способ пищеварения. Они выделяют гидролитические ферменты на пищевой субстрат, а затем коллективно поглощают уже предварительно переработанный жидкий субстрат. Так, вес личинок синей мясной мухи при этом увеличивается в 150–200 раз [15]. При развитии личинок в ранах происходит активная работа по уничтожению морфологической картины повреждения. На модельном объекте с имитацией колото-резаных ранений (рис. 16) было установлено, что к концу первых суток с момента закладки трупа в ранах наблюдались значительные скопления яиц двукрылых (рис. 17). Личинки после выхода их из яйца выделяли ферменты, активно росли, набивая раны своими телами. Макроскопически края этих повреждений были истончены, концы закруглены, определялся дефект ткани различной степени выраженности вне зависимости от вида травмирующего орудия (рис. 18).
Рис. 16. Модельный объект с имитацией колото-резаных ранений
Рис. 17. Модельный объект через сутки после закладки
Рис. 18. Модельный объект на 4-е сутки после закладки
При медико-криминалистическом исследовании без применения оптических приборов, а также с использованием непосредственной микроскопии (лупа 2х увеличения), стереомикроскопии (МБС-1 с увеличением от 3,5х до 88х), исследовании в фильтрованных ультрафиолетовых лучах каких-либо значимых признаков, позволяющих определить морфологические особенности повреждений, обнаружить не представилось возможным. И. В. Власюк, С. В. Леонов (2011) указывают, что при проведении стереоскопического исследования данных ран определялось: поры кожи были расширены, их стенки истончены, а в просвет выступали волокна дермы.
Также были установлены случаи перфорации и уничтожения личинками кожных покровов трупа и подлежащих тканей с образованием их дефектов различной формы и размеров: от 2,0×3,0 см в области груди и живота до 13,0×19,0 см в области головы и шеи. Края дефектов истончены, закруглены, в некоторых случаях представлялись неровными и волнистыми. Кровоизлияний в мягкие ткани в области их краев не установлено. Глубина дефектов на голове и конечностях определялась подлежащими костными образованиями, на туловище они проникали в грудную и брюшную полости. Образование дефектов кожи объясняется воздействием пищеварительных ферментов, растворяющих ткани. Такие дефекты по своим признакам (а именно по отсутствию четкой морфологии) могут быть очень схожи с колото-резаными ранами, изменившимися в результате жизнедеятельности в них личинок мух. Судебно-медицинским экспертам следует обращать на них особое внимание с целью проведения дифференциальной диагностики (дополнительных медико-криминалистического и гистологического исследований).
К концу второй недели личинки перестают питаться и окукливаются, образуя ложнококон, в котором находится куколка. Факт их наличия на трупе говорит об определенном количестве времени с момента заселения трупа двукрылыми. При наличии пупариев на трупе эксперту следует очень тщательно исследовать любые повреждения, так как они могут являться результатом травматического воздействия различных предметов, а их морфология изменяется в результате жизнедеятельности личинок. Затем через некоторое время (в зависимости от температуры окружающей среды) из куколок появляются имаго (взрослые особи).
В результате воздействия на кожу челюстей жуков образуются множественные мелкие дефекты округлой и овальной формы размерами от 0,1×0,2 до 0,6×0,7 см. Края дефектов относительно ровные, гладкие, глубина их от 0,1 до 0,5 см, все дефекты в пределах подкожной жировой клетчатки (рис. 19). Кровоизлияний в кожу, подкожную жировую клетчатку, подлежащие мышцы в области дефектов не выявлено.
Повреждения кожи от воздействия челюстей муравьев представляли собой множественные, мелкоочагового или сливного характера, дефекты эпидермиса с неровными, извилистыми краями, желтовато-коричневой окраски, располагающиеся на открытых участках тела бессистемно или по границам прилежащих предметов (одежда, поверхность земли и т. п.). Обильно такие повреждения можно было обнаружить в случае смерти вблизи муравейника или непосредственно попадания в него трупа. Повреждения быстро подсыхали, а на их поверхности иногда можно было наблюдать точечные кровавые корочки. Вследствие взаимодействия муравьиной кислоты, которую выделяют муравьи, с гемоглобином на поврежденных участках они могли приобретать бурую окраску. Данные повреждения можно принять за ссадины, причиненные незадолго до наступления смерти, однако при воздействии муравьев не наблюдается краевой отслойки эпидермиса. Кроме того, И. В. Власюк, С. В. Леонов (2011) для дифференциальной диагностики прижизненности повреждений рекомендуют производить гистологическое исследование тканей, при котором отсутствие кровоизлияний и начальных воспалительных изменений позволяет высказаться об их посмертном происхождении [17].
Рис. 19. Повреждение кожи от воздействия некрофильных жуков
Повреждению тараканами подвергаются открытые, доступные насекомым участки кожного покрова. В наших исследованиях морфологические повреждения кожи тараканами встречались как на лице, так и на теле, имели вид как изолированных (до 4,5×5,5 см), так и сливающихся друг с другом (до 20,0×30,0 см) дефектов поверхностного слоя кожи с неровными, мелко-, а при слиянии очагов — крупнофестончатыми краями и контурами, напоминающими географическую карту. Поверхность повреждений была желтовато-красного или желтовато-коричневого цвета, быстро подсыхала и приобретала пергаментную плотность; наблюдалось просвечивание подкожных сосудов. В некоторых случаях, когда при осмотре трупа на месте его обнаружения встречались единичные особи тараканов, на трупе в результате однократного прохода и сгрызания эпидермиса челюстями тараканов наблюдалось образование повреждений в виде «дорожек» длиной до 10 см, шириной 0,6–0,8 см, желтовато-коричневого цвета, с неровными мелкофестончатыми краями. И. В. Власюк и П. В. Евдокимов (2013) указывают, что наиболее часто повреждаются (в порядке убывания) лицо, шея, передняя поверхность груди и бедер, предплечья и кисти [16]. В этом случае повреждения на начальных этапах имеют ограниченную округлую, овальную и неправильную форму, затем они при последующих воздействиях сливаются, образуя причудливые ландкартообразные повреждения. Если травмируются участки кожного покрова, граничащие с прилегающими частями одежды, складками кожи, предметами, то повреждения приобретают линейную или дугообразную форму, в зависимости от рельефа складок кожи, очертания предметов и т. д.
Сроки разложения трупов при наблюдении за приманками различались и зависели от их массы и размеров, места закладки и сезона изучения. В естественном биоценозе в летний период трупы мышей утилизировались в течение от одного до 10 дней, мягкие ткани трупов крупных животных (свиней) разлагались в течение двух — четырех месяцев (в зависимости от степени участия в этом процессе позвоночных-падальщиков), а разрушение частей скелета и волосяного покрова затягивалось на несколько лет. По литературным данным, в наземных условиях на долю воздействия животных-мусорщиков в среднем приходится 39% (от общего числа разложенных приманок), при этом в открытых ландшафтах позвоночные обнаруживают трупы чаще (48%), чем в лесах (31%) [38]. Трупы мелких животных мусорщики большей частью растаскивают в течение 24 часов, а на крупной падали следы повреждений заметны и на поздних стадиях разложения.
В городской экосистеме, при условии защиты приманки от воздействия позвоночных-падальщиков, в весенний период трупы мышей и кур разлагались в среднем в течение 30 дней, в летний период на утилизацию было затрачено 14–15 дней. В литературе приводятся данные, что летом труп взрослого человека личинки уничтожали за 1–1,5 месяца, при несколько сниженной летней температуре — за 1,5–2 месяца, а труп ребенка до года — за две недели. Описаны случаи и более быстрого скелетирования трупа [20]. Следует отметить, что полное уничтожение трупов только насекомыми-некробионтами в условиях города случается редко, так как большая их часть растаскивается позвоночными-мусорщиками. В центре города на их долю приходится 90%, а в районе новостроек — 60% от общего числа разложенных приманок [38]. Редкость и недоступность для заселения насекомыми разлагающихся трупов животных в городских экосистемах приводит к обеднению комплекса некробионтных насекомых, уменьшению численности облигатных некрофагов и увеличению роли в утилизации мертвого вещества факультативных видов.
За период 2011–2015 гг. по отделу судебно-медицинской экспертизы трупов ГБУЗ «Бюро СМЭ» РК установлено 48 случаев посмертного причинения повреждений телу человека различными позвоночными животными. В наибольшем количестве случаев повреждения были причинены мелкими грызунами — крысами и мышами, также установлены случаи воздействия птиц, кошек, собак и др. Повреждения грызунами располагались в пределах мягких тканей, иногда затрагивали костную ткань. Поедаемые животными мягкие ткани не имели признаков гнилостных изменений, повреждались преимущественно кисти, стопы, лицо, складки кожного покрова в области шеи, молочные железы у женщин. Глубина повреждений данных областей определялась подлежащими костными образованиями. Раны, причиненные посмертно птицами, располагались на коже волосистой части головы, а на трупе новорожденного — и на передней стенке груди и живота, проникая в брюшную область с повреждением печени. Макроскопически установлено, что раны имели неопределенную форму размерами от 2,5×1,0 до 3,7×2,2 см, в одном случае при сведении краев раны определялась минус-ткань. Кожа вокруг ран была осаднена в виде неправильной формы овалов. Края ран представлялись ровными, несколько закругленными и слегка втянутыми внутрь. Внешние границы осаднения прерывистые, без четких линий. В области нижнего края одной из ран осадненный участок состоял из рядом расположенных, частично сливающихся между собой параллельных полос шириной до 0,1–0,2 см, длиной до 0,5 см.
Дифференциально-диагностические признаки повреждений, причиняемых различными насекомыми и позвоночными-падальщиками, приведены в табл. 7.
3.4. Сукцессия некрофильных насекомых в процессе разложения
Для рассмотрения сукцессии нами проводились длительные наблюдения на тушах свиней. Первыми трупы обнаруживают двукрылые мясные мухи Protophormia terraenovae, Calliphora vicina, Lucilia caesar.
Например, L. caesar может заселять трупы уже через несколько часов после смерти, P. terraenovae регистрировали в большом числе на второй день разложения. Жесткокрылые не так быстро находят труп, и первыми на приманку регистрировали Sciodrepoides alpestris (рис. 20).
Двукрылых из семейств настоящих мух, серых мясных мух привлекают подгнившие трупы, но численность мясных мух при этом остается очень высокой. Обилие личинок двукрылых увеличивает присутствие зоофагов (Creophilus maxillosus, Philonthus spp.) и паразитоидов (Aleochara curtula). Когда ткани трупа сильно разжижены, среди двукрылых многочисленны личинки Parapiophila vulgaris.
1 — некробионты в большом количестве, 2 — присутствие вероятно
Рис. 20. Сукцессия основных видов некрофильных насекомых в летний период (отмеченных на трупах свиней и человека): 1 — таракан Ectobius lapponicus; жесткокрылые: 2 — Necrobia violacea, 3 — Sciodrepoides alpestris, 4 — Necrodes littoralis, 5 — Nicrophorus spp., 6 — Oiceoptoma thoracica, 7 — Thanatophilus spp., 8 — Aleochara curtula, 9 — Atheta spp., 10 — Creophilus maxillosus, 11 — Tachinus spp., 12 — Philonthus spp.; двукрылые: 13 — Cynomya mortuorum, 14 — Calliphora vicina, 15 — C. vomitoria, 16 — Protophormia terraenovae, 17 — Lucilia caesar, 18 — Fannia canicularis, 19 — Hydrotaea dentipes, 20 — Megaselia sp., 21 — Parapiophila vulgaris, 22 — Stearibia nigriceps, 23 — Sarcophaga caerulescens, 24 — Sarcophaga argyrostoma; муравьи: 25 — pод Formica, 26 — pод Lasius.
Самки некрофильных двукрылых сразу откладывали яйца, и в последующем численность их увеличивалась. Изначально они откладывали яйца в скрытые места, а дальше — на волосы, поверхность тела, конечности и через 10 дней туша свиньи была полностью ими покрыта. Личинки мух активно питались мягкими тканями, быстро утилизируя их. При благоприятных условиях они быстро росли и окукливались на трупе или в почве. Часть собранных личинок успешно выводилась в лабораторных условиях, а часть — в естественной среде. Обилие по видовому составу наблюдалось со второй недели, где в большом числе встречались Stearibia nigriceps и представители родов Calliphora, Hydrotaea и Fannia (рис. 20).
В проведенных исследованиях с 10-го дня разложения была отмечена высокая численность видов рода Sarcophaga (рис. 20). Они являются хищниками и могут нападать на особей как своего, так и других видов.
Муравьи родов Formica и Lasius появляются одними из первых и присутствуют в течение всего периода разложения (рис. 20). На трупах они выступают и как регуляторы численности личинок двукрылых и жесткокрылых, и как деструкторы мертвых тканей.
Лапландский таракан (Ectobius lapponicus) встречался единично, но постоянно. Личинок и взрослых особей регистрировали со второй недели разложения (рис. 20).
В этот период также активны жуки-сапрофаги (Atheta spp., Tachinus spp.) и кератофаги (Necrobia violacea).
На следующий год регистрировали костные останки, шерсть и роговые образования (копыта). На этих фрагментах были отмечены в большом количестве имаго и неполовозрелые особи двух видов насекомых — двукрылых Parapiophila vulgaris и жука-костоеда (Necrobia violacea). Вероятно, они перезимовали на месте ложа трупа.
Сравнение наших исследований с сопоставимыми по условиям работами зарубежных коллег, проведенных в последнее время, подтвердило общие закономерности сукцессии и в то же время наглядно показало существенное отличие в деталях [161, 163, 166].
Таблица 7
Дифференциально-диагностические признаки повреждений,
причиняемых различными насекомыми и позвоночными-падальщиками
| Признак |
Двукрылые |
Жесткокрылые |
Тараканы |
Муравьи |
Позвоночные-падальщики |
| Места скопления на трупе |
Имаго — по всей поверхности тела; яйца — скрытые места (рот, нос, глаза, анус, влагалище, складки кожи и одежды). Личинки распространяются по всей поверхности тела |
Имаго — под одеждой, в ложе трупа |
По всей |
По всей |
На трупе |
| Локализация повреждений |
Возможна по всей поверхности тела |
Возможна по всей поверхности тела, преимущественно в области груди и живота, так как эти части обычно покрыты одеждой и имаго там обнаруживаются |
На открытых, |
На открытых участках тела бессистемно или по границам прилежащих |
Могут быть на любом, доступном для животного участке тела (преимущественно кисти, стопы, лицо) |
| Форма и размеры |
Различные, размерами от 2,0×3,0 до 13,0×19,0 см |
Округлая |
В виде изолированных (до 4,5×5,5 см) либо сливающихся (до 20,0×30,0 см) участков, напоминающих географическую карту, либо «дорожек» сгрызания эпидермиса длиной до 10 см, шириной 0,6–0,8 см |
Различной формы и размеров, с неровными, извилистыми краями, без краевой отслойки эпидермиса |
Различные |
| Глубина |
На конечностях — до подлежащих костей, в области груди и живота — проникающие в полости |
В пределах подкожной жировой клетчатки (от 0,1 до 0,5 см) |
В пределах эпидермиса |
В пределах кожи |
Различная, часто определяется подлежащими костными образованиями |
| Наличие дефекта тканей |
Наличие дефекта тканей различной степени выраженности |
Наличие дефекта кожи различной степени выраженности |
– |
– |
Наличие дефекта тканей различной степени выраженности |
| Вид поверхности повреждения |
– |
– |
Желтовато-красного или желтовато-коричневого цвета, пергаментной плотности, с просвечиванием подкожных сосудов |
Желтовато-коричневой или буроватой окраски, с подсохшей поверхностью точечными кровавыми корочками |
– |
| Края и концы |
Истончены, закруглены, в некоторых случаях неровные и волнистые, без кровоизлияний |
Относительно ровные, гладкие, без кровоизлияний |
– |
– |
Фестончатые, мелкозубчатые, неровные, скошенные, иногда ровные, несколько закругленные и слегка втянутые внутрь, без кровоизлияний |
Для изучения сукцессии насекомых G. Anderson и Sh. VanLaerhoven (1996) использовали трупы крупных животных (свиней) [106]. Исследование проводили в Британской Колумбии на протяжении 271 дня посмертного периода. Авторами установлено, что видовой состав насекомых-некробионтов включает 50 видов, относящихся к 29 семействам, пяти отрядам. Некоторые виды, в частности семейства Piophilidae, были собраны ранее в процессе разложения, чем в наших исследованиях.
H. Šuláková и M. Barták (2013) также провели исследования на трупах свиней для установления структуры комплекса и выделили наиболее значимые виды: Lucilia caesar, Calliphora vicina, Phormia regina, Protophormia terraenovae, L. illustris, L. ampullacea, C. vomitoria, L. sericata, L. silvarum и Cynomya mortuorum. Большая часть видов отмечена и в наших исследованиях [197].
S. Matuszewski и др. (2010, 2011) изучали процесс разложения и сукцессию насекомых на трупах свиней в разные времена года и в разных типах лесов Центральной Европы. Структура разложения была одинаковой почти во всех случаях и очень схожа с нашим регионом. В большинстве активный распад тканей был обусловлен личинками мясных мух с четкой сезонной сменой доминирующих таксонов. Тем не менее в некоторых случаях весной в ольховых лесах активный распад был вызван личинками жука мертвоеда черного (Necrodes littoralis). Как правило, наблюдалась мозаичность процесса разложения. Также авторами выявлены значительные различия между сезонами, но не найдено существенных отличий между типами лесов. Летом период присутствия насекомых на трупе значительно короче, чем весной и осенью. Последовательность появления насекомых на трупах была очень похожа в различные сезоны, леса и годы исследования.
S. Matuszewski и др. (2008), изучая разложение в разных типах лесов, определили, что скорость разложения в ольховом лесу выше, чем в сосново-дубовом. Выявленный ими состав фауны очень близок к результатам, полученным нами при изучении разложения трупов свиней. Ими также были установлены различия между типами лесов, касающиеся времени появления и периода активности особей некоторых видов [167, 155]. С. В. Пушкин (2004) охарактеризовал экологический комплекс некробионтов высокогорий Северо-Западного Кавказа [70]. Описан видовой состав групп, выявлены закономерности формирования некробионтного комплекса в зависимости от характера ландшафта и типа трупа. На трупах животных обнаружено около 300 видов, принадлежащих к отрядам перепончатокрылых, жесткокрылых, двукрылых. Ядро комплекса составляли насекомые семейств отряда жесткокрылых. Установлено, что видовой состав некробионтов мало зависит от пола и возраста трупа животного, состава земли, на которой он находится; заметное влияние на жизнедеятельность и видовой состав некрофагов оказывает эдафический фактор (ландшафтный), размер и тип трупа, стадия его разложения. Анализируя полученные данные, можно заключить, что на формирование энтомофауны трупа оказывают влияние условия окружающих их биотопов, из которых наиболее значимым является термогидрорежим. Менее важны в распределении видов разных таксонов специфика их питания и степень развития миграционных способностей, помогающих поиску субстрата, мест концентрации пищи.
Исследования, проведенные, например, в Аргентине (M. Horenstein, A. Linhares, 2011), Малайзии (H. Chin, 2008) также подтверждают наличие сукцессии в процессе разложения и значимость применения этих данных в судебной медицине [126, 139, 151, 156].
В процессе изучения разложения трупа свиньи установлены и изменения его температуры. В момент закладки температура трупа составляла +35 °C, окружающего воздуха +20 °C, почвы +13 °C (рис. 21). В последующие часы температура туши постепенно снижалась в среднем на 1° в час и концу первых суток составила 17 °C, что было на 2° ниже температуры окружающего воздуха. С седьмого дня разложения и в течение последующих трех недель температура трупа была выше, чем воздуха и почвы. Самый высокий температурный показатель в процессе разложения туши отмечен на 13–14-й день, он достиг 34 °C, при этом разница с воздухом была 13–15 °C. Далее температура трупа постепенно снижалась, через месяц после закладки максимально была приближена к значениям температуры почвы и не зависела от окружающего воздуха.
Рис. 21. Изменение температуры трупа и окружающей среды
в летний период в лесу: сплошная линия — трупа, пунктирная — воздуха, штрихпунктирная — почвы
Изменение температуры туши в процессе разложения — естественный процесс, который вызван личинками насекомых и микроорганизмами.
Резюме: в ходе изучения было прослежено последовательное заселение насекомыми в процессе разложения трупа свиньи. Более значимой для судебной медицины является группа насекомых, которая находит и заселяет трупы первыми: в условиях южной части Карелии это представители семейства синих мясных мух Cynomya mortuorum, Calliphora vicina, C. vomitoria, Protophormia terraenovae и Lucilia caesar.
Данные виды по своим эколого-биологическим особенностям быстро находят гниющий субстрат и имеют высокую численность на трупе.
Указанные особенности позволяют применить энтомологический метод в судебно-медицинской практике для определения ДНС.
Выявлены особенности анатомо-топографической колонизации трупов человека и животных некрофильными насекомыми: первыми труп обнаруживают и колонизируют двукрылые. По мере роста их личинок труп заселяют хищные виды — карапузики и коротконадкрылые жуки, сухие остатки трупа потребляют кожееды, кератофаги и сапрофаги. Личинки жесткокрылых и взрослые жуки появляются на трупе и скапливаются в местах, доступных для заселения, но покрытых одеждой, а также в ложе трупа. Активность жуков (сапрофагов и кератофагов) усиливается в процессе утилизации трупа, когда его ткани сильно разжижаются, в результате чего снижается привлекательность трупа для двукрылых и их численность.
Установлены особенности повреждений тканей некрофильными насекомыми:
1. Повреждения кожи от воздействия личинок мух: перфорации с образованием дефектов тканей различной формы и размеров, края дефектов истончены, закруглены, в некоторых случаях — неровные и волнистые. Кровоизлияний в мягкие ткани в области их краев не установлено. Глубина дефектов на голове и конечностях определялась подлежащими костными образованиями, на туловище они проникали в грудную и брюшную полости. Образование дефектов кожи объясняется воздействием пищеварительных ферментов, растворяющих ткани. Такие дефекты по своим признакам (а именно по отсутствию четкой морфологии) могут быть очень схожи с колото-резаными ранами, изменившимися в результате жизнедеятельности в них личинок мух. Судебно-медицинским экспертам следует обращать на них особое внимание с целью проведения дифференциальной диагностики (дополнительных медико-криминалистического и гистологического исследований).
2. Повреждения кожи от воздействия челюстей жуков: множественные мелкие дефекты округлой и овальной формы размерами от 0,1×0,2 до 0,6×0,7 см. Края дефектов относительно ровные, гладкие, глубина их от 0,1 до 0,5 см, все дефекты в пределах подкожной жировой клетчатки.
3. Повреждения кожи от воздействия челюстей муравьев: множественные, мелкоочагового или сливного характера дефекты эпидермиса с неровными, извилистыми краями, желтовато-коричневой окраски, располагающиеся на открытых участках тела бессистемно или по границам прилежащих предметов (одежда, поверхность земли и т. п.). Вследствие взаимодействия муравьиной кислоты, которую выделяют муравьи, с гемоглобином на поврежденных участках бурая окраска.
4. Повреждения кожи от воздействия тараканов: изолированных (до 4,5×5,5 см) и сливающихся друг с другом (до 20,0×30,0 см) дефектов поверхностного слоя кожи с неровными, мелко-, а при слиянии очагов — крупнофестончатыми краями и контурами, напоминающими географическую карту. Поверхность повреждений была желтовато-красного или желтовато-коричневого цвета, пергаментная плотность; просвечивание подкожных сосудов. При воздействии единичных особей тараканов — образование повреждений в виде «дорожек» длиной до 10 см, шириной 0,6–0,8 см, желтовато-коричневого цвета, с неровными мелкофестончатыми краями.
В результате изучения динамики изменения температуры трупа в процессе его разложения установлено, что при активных процессах гнилостной трансформации температура трупа может существенно повышаться.
Это связано в большей степени с активной жизнедеятельностью микроорганизмов и в меньшей — с деятельностью личинок некрофильных насекомых. Выявленный факт повышения температуры трупа, находящегося в состоянии гнилостных изменений, нуждается в дальнейшем теоретическом осмыслении и практической апробации в разных климатогеографических районах.
Данные о структуре некрофильного энтомокомплекса в биотопах, особенностях некробионтного состава насекомых в разных условиях (помещения и естественные биоценозы), пригодности судебно-энтомологических критериев определения продолжительности и условий постмортального периода приведены в следующей главе.
Глава 4.
Характеристика судебно-энтомологических критериев определения продолжительности и условий постмортального периода
4.1. Особенности состава и деятельности некробионтов в естественном биоценозе и помещениях
В естественных биоценозах отмечено 25 видов некрофильных насекомых на тушах свиней и 15 видов на трупах человека; только в помещениях на трупах людей обнаружено восемь видов (табл. 8). Тем не менее нельзя установить строгую специфичность между изучаемыми группами насекомых. Так, вполне вероятно, что таракан лесной (Ectobius lapponicus), отмеченный на тушах свиней, может встречаться и на трупах людей при схожих условиях. Это может относиться к некрофильным видам двукрылых (Parapiophila vulgaris, Stearibia nigriceps), жесткокрылых мертвоедов (Thanatophilus, Oiceoptoma thoracica) и костоеда синего (Necrobia violacea) и др.
Сходство по видовому составу определяется главным образом среди некрофильных двукрылых, которые по своим эколого-биологическим особенностям относятся к синантропной фауне. Структура заселения мух при сравнении двух эмпирических распределений (двух условиях нахождения трупа) имеет значимые отличия отличия (χ2 > 302,8; df = 8; р < 0,001).
В естественных биоценозах обилие некробионтов приводит к полноценной и быстрой утилизации трупных тканей.
Как в лесных, так и на открытых местах присутствуют все трофические группировки некробионтного комплекса: некрофаги, энтомофаги, паразитоиды, кератофаги и т. д. Таким образом, в естественных биоценозах комплекс представлен полноценно из-за отсутствия антропогенного воздействия — основного фактора, влияющего на его состав.
Напротив, в помещениях не отмечены некрофильные жесткокрылые, которые могут быть представлены, например, кожеедами; отсутствуют жуки-некрофаги, кератофаги, присутствуют лишь пантофаги — таракан домашний (прусак). Предполагается, что некрофильные двукрылые, отмеченные на трупах, проникали с улицы, так как во всех случаях, как правило, были открыты форточки или окна. Тем не менее некоторые некрофильные двукрылые, такие как муха комнатная малая (Fannia canicularis), синяя падальница (Calliphora vicina), являются синантропными видами и могут развиваться в бытовых отходах, что не мешает им проникать и через вентиляционные отверстия.
Таблица 8
Встречаемость некрофильных насекомых в исследуемых естественных биоценозах и помещениях
| Представитель |
Труп домашней свиньи |
Труп человека |
|
| всего |
только в помещениях |
||
| Тараканы |
|||
| Ectobius lapponicus |
+ |
||
| Blattella germanica |
+ |
+ |
|
| Жуки |
|||
| Necrobia violacea |
+ |
||
| Sciodrepoides watsoni |
+ |
||
| Necrodes littoralis |
+ |
+ |
|
| Nicrophorus spp. |
+ |
+ |
|
| Oiceoptoma thoracica |
+ |
||
| Thanatophilus spp. |
+ |
||
| Aleochara curtula |
+ |
+ |
|
| Atheta spp. |
+ |
+ |
|
| Creophilus maxillosus |
+ |
+ |
|
| Tachinus spp. |
+ |
||
| Philonthus spp. |
+ |
+ |
|
| Двукрылые |
|||
| Cynomya mortuorum |
+ |
||
| Calliphora vicina |
+ |
+ |
+ |
| C. vomitoria |
+ |
+ |
+ |
| Protophormia terraenovae |
+ |
+ |
+ |
| Lucilia caesar |
+ |
+ |
+ |
| Fannia canicularis |
+ |
+ |
+ |
| Hydrotaea dentipes |
+ |
||
| Megaselia sp. |
+ |
+ |
+ |
| Parapiophila vulgaris |
+ |
||
| Stearibia nigriceps |
+ |
||
| Sarcophaga caerulescens |
+ |
||
| Sarcophaga argyrostoma |
+ |
+ |
|
| Муравьи |
|||
| Pода Formica, Lasius |
+ |
* |
|
| Всего |
25 |
15 |
8 |
Примечание: *отмечен в актах исследования без родовой принадлежности.
Мухи активно колонизируют трупы животных и человека, но между ними выявлены достоверные отличия (df = 8, X² = 234). Так, массовым видом, выведенным с трупов свиней, является мясная муха новоземельская (Protophormia terraenovae), количество выведенных особей — 211; в меньшем числе — синяя падальница (Calliphora vicina), 66 особей (рис. 22). На трупах человека, наоборот, преобладающим видом является синяя падальница; количество выведенных особей — 134. Другой вид — мясная муха новоземельская — по численности уступает, всего выведено 46 особей (рис. 22).
Обилие синей падальницы в помещениях связано с тем, что она является типичным представителем синантропной фауны. Помимо трупов, способна развиваться в экскрементах, кухонных отходах и в некоторых продуктах питания.
Рис. 22. Абсолютная численность некрофильных двукрылых, выведенных
с трупов человека, найденных в помещении, и трупа свиньи,
размещенного на лугу (данные за 2014–2015 гг.)
На лугу на трупах свиней в небольшом числе отмечены Parapiophila vulgaris и муха мертвых (Cynomya mortuorum) (рис. 22). Развитие этих мух только в тканях трупа свиньи, вероятнее, связано с местонахождением приманки. По литературным данным, личинки развиваются в трупах животных и человека, а имаго чаще встречаются в естественных биоценозах и в меньшей степени связаны с жилищем человека [103].
В работе установлен видовой состав некрофильных двукрылых, развивающихся на трупах, находившихся в помещениях. Отмечены шесть видов мух. Как и в естественных биоценозах, большую часть в сборах составляли синяя падальница и мясная муха новоземельская. На гнилостно измененных трупах человека их личинки встречались по всему телу (особенно под пленками отслаивающейся надкожицы), но более всего концентрировались в области естественных отверстий (рот, нос, глаза). На трупе визуально гнилостно неизмененном заселение личинками наблюдалось лишь на лице.
Только с трупов, находившихся в помещениях, в 2014–2015 гг. были выведены зеленая падальница (Lucilia caesar), серая мясная муха (Sarcophaga argyrostoma) и горбатка (Megaselia sp.). По литературным данным, эти виды могут быть отмечены и в естественных биоценозах [57, 103, 109].
Нахождение трупа в помещении затрудняет доступ к нему некрофильных насекомых, следовательно, процесс его разложения происходит преимущественно за счет гниения (под воздействием микробов). Такой способ утилизации тканей более длительный, а в некоторых случаях развивается консервация трупа.
Все выявленные показатели длительности развития при постоянных температурах [49]. Расчетный метод установления времени нахождения трупа на месте его обнаружения по энтомофауне проверен в ходе судебно-медицинских исследований.
4.2. Особенности состава некрофильных насекомых на трупах человека
За период 2014–2016 гг. изучение некрофильных насекомых проведено на 17 трупах (прил. 1; табл. 3). Двукрылые отмечены во всех случаях, жесткокрылые — только в двух. Встречаемость некрофильных насекомых представлена в табл. 9. На трупах людей отмечены шесть видов жуков, семь видов двукрылых, тараканы (Blattella germanica) и муравьи (родов Formica и Lasius). Среди общего числа насекомых в наибольшем количестве выявлены мухи видов синяя падальница (Calliphora vicina) (47%) и мясная муха новоземельская (Protophormia terraenovae) (11%), а также жуков Atheta spp. (11%).
Таблица 9
Состав и общее количество насекомых, отмеченных на трупах человека (в помещениях и естественных биоценозах)
| Таксон |
Абсолютное количество |
Доля (%) |
| Тараканы |
||
| Blattella germanica |
* |
* |
| Жуки |
||
| Necrodes littoralis |
6 |
1 |
| Nicrophorus spp. |
10 |
2 |
| Aleochara curtula |
23 |
5 |
| Atheta spp. |
56 |
11 |
| Creophilus maxillosus |
3 |
> |
| Philonthus spp. |
13 |
2 |
| Двукрылые |
||
| Calliphora vicina |
250 |
47 |
| C. vomitoria |
8 |
1 |
| Protophormia terraenovae |
58 |
11 |
| Lucilia caesar |
43 |
8 |
| Fannia canicularis |
3 |
> |
| Megaselia sp. |
37 |
6 |
| Sarcophaga argyrostoma |
20 |
4 |
| Муравьи |
||
| родов Formica, Lasius |
* |
* |
| Всего |
530 |
100 |
*Количество не выявлено, вид отмечен лишь в актах исследования трупов.
Численность видов двукрылых на трупах неодинакова. В большом числе встречались синяя падальница (31%), зеленая падальница обыкновенная (21%) и мясная муха новоземельская (18%) (рис. 23). Их обилие связано с тем, что они могут развиваться и в других разлагающихся субстратах (кухонные отбросы, фекалии и пр.). Другие виды — муха комнатная малая, синяя муха живородящая — тоже связаны с жилищем человека, но представлены в малом количестве. Личинки Fannia canicularis, имеющие небольшие размеры (0,3–0,5 см), вели себя более скрытно, чем личинки Protophormia terraenovae, которые крупнее (около 0,7 см) и очень активны на поверхности биообъекта.
Рис. 23. Доля (%) некрофильных двукрылых, выведенных с трупов человека
(* — указаны виды, не имеющие достоверных отличий,
критерий Стьюдента (td ) меньше табличного значения)
Вариационно-статистические значения по двукрылым, выведенным с трупов человека [стандартные отклонения (σ), среднее арифметическое значение (М ± m)], и критерий Стьюдента (td) представлены в табл. 10.
Среди девяти выявленных видов пять (Calliphora vomitoria, Lucilia illustris, Megaselia sp., Sarcophaga argyrostoma, Fannia canicularis) не имеют достоверно значимых отличий по критерию Стьюдента. Различия между сравниваемыми величинами, обилие и встречаемость их на трупах несущественны. При оценке уровня достоверности других представителей (Calliphora vicina, Protophormia terraenovae, Lucilia caesar, L. silvarum) на трупах человека отличия максимальны. Вычисленные значения критерия Стьюдента (td) имеют высокие показатели (при уровне 0,05), следовательно, различия по обилию и встречаемости этих видов необходимо считать достоверными.
Таблица 10
Вариационно-статистические значения таксонов двукрылых, выведенных с трупов человека
| Вид |
Средняя арифметическая |
Стандартное отклонение (σ) |
Критерий Стьюдента (td) |
Число степеней свободы (df) |
| C. vicina |
17,0 ± 3,7 |
5,2 |
5,5 |
7 |
| C. vomitoria* |
2,0 ± 2,1 |
1,2 |
6,2 |
5 |
| P. terraenovae |
21,0 ± 2,6 |
9,1 |
3,06 |
11 |
| L. caesar |
25,0 ± 2,5 |
5,7 |
5,7 |
14 |
| L. illustris* |
1,0 ± 0,5 |
1,0 |
1,5 |
2 |
| L. silvarum |
15,0 ± 3,1 |
5,1 |
9,2 |
5 |
| F. canicularis* |
2,0 ± 0,3 |
1,01 |
2,9 |
4 |
| Megaselia sp.* |
2,0 ± 0,2 |
1,03 |
4,04 |
1 |
| S. argyrostoma* |
4,0 ± 0,9 |
1,02 |
2,4 |
2 |
Примечание: * Указаны виды, не имеющие достоверных отличий (td 0,05).
Установлены отличия присутствия некрофильных двукрылых на трупах людей в зависимости от степени выраженности гнилостных изменений тканей. Характер гнилостного состояния мертвых тканей определяет видовой состав некрофильных двукрылых. Наибольшее количество видов некробионтов отмечено на трупах, находившихся в периоде активного разложения. В массе встречались те из них, которые по типу питания относятся к некрофагам и в процессе своего питания утилизируют основную массу тканей трупа. Прежде всего, это представители семейства мясных мух — C. vicina, P. terraenovae, L. caesar, L. illustris, L. silvarum (табл. 11).
Таблица 11
Встречаемость личинок некрофильных насекомых на различных этапах разложения трупа
| Вид |
Этапы разложения трупа (Цит. по: М. И. Марченко) |
||||
| Раннее микробное разложение |
Активное разложение насекомыми |
Позднее разложение |
Микробиологическое разложение |
Распад костной ткани* |
|
| C. vicina |
– |
++ |
+ |
– |
|
| C. vomitoria |
– |
++ |
+ |
– |
|
| P. terraenovae |
– |
++ |
+ |
– |
|
| L. caesar |
– |
++ |
+ |
– |
|
| L. illustris |
– |
++ |
+ |
– |
|
| L. silvarum |
– |
++ |
+ |
– |
|
| F. canicularis |
– |
+ |
++ |
– |
|
| Megaselia sp. |
– |
– |
++ |
+ |
|
| S. argyrostoma |
– |
+ |
++ |
– |
|
Примечание: — вид не отмечен, + присутствует единично, ++ присутствует в массе, * труп на этом этапе разложения не обследован.
В период, когда трупы находились в состоянии выраженных гнилостных изменений, на них обильно встречались мухи из семейств Sarcophagidae, Fanniidae, представители которых являются некроэнтомофагами. Их личинки младших возрастов питаются тканями, а затем переходят к хищничеству: чаще всего добычей становятся личинки жуков и других мух. По-видимому, некоторые виды являются серьезными энтомофагами, поскольку уничтожают большое количество некробионтов. Замечено, что при обнаружении на трупах личинок Sarcophaga argyrostoma другие виды отсутствуют.
В период гнилостного расплавления тканей трупа с явлениями частичной их мумификации на волосистой части головы в большом количестве были обнаружены личинки и пупарии двукрылых Megaselia sp. Пупарии имели небольшие крючки, которые позволяли им закрепляться непосредственно на самих волосках.
Рассматривая видовой состав некрофильных двукрылых, колонизирующих трупы людей, которые находились в разных условиях, установили, что на трупах, обнаруженных в помещениях (квартира, лестничная площадка жилого дома, сарай), встречались восемь видов мух, в то время как в лесной зоне — пять (табл. 12). Видовая особенность заселения мухами трупов в помещении и в лесной зоне города имеет значимые отличия (χ2 > 302,8; df = 8; р < 0,001).
Таблица 12
Состав некрофильных двукрылых на трупах, находящихся в разных условиях
| Вид |
В помещении |
Лесная зона города |
||
| Абсолютное значение |
Доля (%) |
Абсолютное значение |
Доля (%) |
|
| Calliphora vicina |
140 |
39 ± 7 |
35 |
17 ± 4 |
| C. vomitoria |
2 |
> 1 |
7 |
3 ± 1 |
| Lucilia caesar |
36 |
10 ± 4 |
82 |
41 ± 4 |
| L. illustris |
4 |
> 1 |
– |
– |
| L. silvarum |
– |
– |
65 |
32 ± 6 |
| Protophormia terraenovae |
88 |
25 ± 4 |
10 |
5 ± 4 |
| Fannia sp. |
– |
– |
3 |
> 1 |
| Megaselia sp. |
70 |
20 ± 5 |
– |
– |
| Sarcophaga argyrostoma |
15 |
4 ± 1 |
– |
– |
| Всего |
358 |
100 |
199 |
100 |
| Число исследуемых трупов |
12 |
5 |
||
Примеч. Прочерк — вид не отмечен.
Некрофильные жуки были отмечены на трупах, найденных в лесных зонах в летний период (июнь — июль) 2016 г. Степень заселения ими достаточно высока. В массе обнаружены мелкие Atheta spp., а также мертвоед черный (Necrodes littoralis), могильщики (Nicrophorus spp.). Эти жесткокрылые располагались под одеждой или в ложе трупа. На открытых участках тела в естественных отверстиях находились личинки двукрылых. При осмотре места происшествия эксперты мало обращают внимания на факт наличия жесткокрылых на трупе. Между тем эта информация имеет важное значение, так как существует жесткая приуроченность некрофильных жуков к определенным биотипам, что может указывать на факт перемещения трупа.
Резюме: Установлена структура некрофильного энтомокомплекса в биотопах и определены особенности видового состава некрофильных насекомых на трупах человека и животных в естественных условиях и помещениях применительно к южной части Карелии: в естественных условиях — некрофаги, энтомофаги, паразитоиды, кератофаги; в условиях помещения — пантофаги [таракан домашний (прусак), некрофильные двукрылые], отмеченные на трупах, проникали с улицы, так как во всех случаях, как правило, были открыты форточки или окна.
Тем не менее некоторые некрофильные двукрылые, такие как муха комнатная малая (Fannia canicularis), синяя падальница (Calliphora vicina), являются синантропными видами и могут развиваться в бытовых отходах, что не мешает им проникать в том числе через вентиляционные отверстия.
Все выявленные виды мух входят как неотъемлемая часть структуры комплекса некрофильных насекомых в группу, имеющую важное судебно-медицинское значение, что подтверждает объективность судебно-энтомологических критериев определения продолжительности и условий постмортального периода.
Глава 5.
Практическое использование энтомологических данных в судебно-медицинской экспертизе для определения продолжительности постмортального периода (по результатам собственных исследований)
Случаи использования энтомологических данных в практике судебно-медицинского эксперта довольно редки. Между тем применение их часто становится единственной возможностью достаточно точно установить время наступления смерти. Определение ДНС в позднем посмертном периоде (после 72 ч) для судебно-медицинского эксперта иногда является затруднительным.
Результаты наших исследований, а именно:
– структура некрофильного энтомокомплекса в биотопах южной части Карелии,
– особенности видового состава некрофильных насекомых на трупах человека и животных в естественных условиях и помещениях применительно к южной части Карелии,
– объективность судебно-энтомологических критериев определения продолжительности и условий постмортального периода применительно к южной части Карелии,
позволили применить энтомологический метод на практике.
Период проведения экспертиз был ограничен климатическими условиями региона и длился с мая по сентябрь. Преступления во всех случаях были совершены в условиях неочевидности. Забор энтомологических образцов проводился в ходе осмотра мест происшествий. Проводимые судебно-медицинские экспертизы являлись комплексными, базовым экспертным учреждением выступало ГБУЗ «Бюро СМЭ» РК. Транспортировку энтомологических образцов в течение часов от момента осмотра осуществляли следователи СК. Также следователями предоставлялись справки о погодных условиях (посуточная температура окружающего воздуха в дневное и ночное время, влажность, наличие и вид осадков, направление и скорость ветра) за период не менее 12 месяцев, предшествовавших обнаружению трупа. В ходе экспертиз наряду с энтомологическим методом проводилась оценка ДНС стандартными методами, принятыми в судебно-медицинской практике.
В 2016 году в ГБУЗ «Бюро СМЭ» РК проведены две комплексные экспертизы с привлечением в состав комиссии судебно-медицинских экспертов и специалиста-энтомолога из ФГБОУ ВО «Петрозаводский государственный университет». Случаи отличались тем, что трупы были обнаружены в разных условиях (на улице и в помещении) и находились в разных стадиях выраженности поздних посмертных изменений. Объектами исследования являлись личинки некрофильных насекомых, собранные в ходе осмотра места происшествия, протоколы осмотров места происшествия, заключения судебно-медицинской экспертизы трупов и справки о погоде Карельского ЦГМС.
При исследовании использовались визуальный, логико-аналитический и энтомологический методы. Энтомологический метод установления ДНС основан на ретроспективном определении начала развития насекомых на трупе при использовании формулы суммы эффективных температур. Собранных с трупов личинок двукрылых (мух) помещали в термостат и содержали на говяжьей печени до выплода имаго (взрослых особей) при постоянной температуре (20 °C) и освещении (12:12). По физиологическим параметрам (эффективная температура, нижний порог развития и температура внешних условий) выведенных видов вычисляли количество дней, в течение которых они развивались вне лаборатории, т. е. на трупе. Физиологические параметры имеют как видовые, так и температурные особенности, поэтому необходимо содержать собранный материал в лабораторных условиях при заданной постоянной температуре и освещении.
Экспертный случай 1. Труп гражданки А. обнаружен на территории гаражно-строительного кооператива 16 мая примерно в 14 часов. На трупе обнаружены явные признаки насильственной смерти: 13 ран в области лица и шеи. В ходе осмотра места происшествия с трупа были собраны личинки некрофильных насекомых для передачи эксперту-энтомологу.
На разрешение экспертизы поставлены следующие вопросы:
1) Какие виды некрофильных насекомых обнаружены на трупе?
2) Какова давность заселения трупа некрофильными насекомыми?
3) Какова давность наступления смерти гражданки А. с учетом интервала заселения ее трупа некрофильными насекомыми?
Эксперту-энтомологу в течение суток был предоставлен контейнер, опечатанный листом бумаги с оттиском круглой печати СО по г. Петрозаводску с подписью следователя. В контейнере находились личинки двукрылых первого возраста (0,5–1,0 мм), которые были помещены в термостат.
В результате выведено 10 особей, принадлежащих к виду синяя падальница (Calliphora vicina R.-D. = erythrocephala, семейство мясных мух, отряд двукрылых). Согласно литературным данным, синяя падальница быстро находит мертвые ткани и сразу откладывает яйца (М.И. Марченко, В. И. Кононенко, 1991; С. Н. Лябзина, 2011). В связи с тем, что на трупе обнаружено множество ран и кровоподтеков, а кровь является сильным аттрактантом для этих мух и труп находился на улице, скорость его обнаружения данными насекомыми значительно возрастает. Таким образом, дата заселения трупа мухами считается приближенной к дате наступления смерти.
На основе математических расчетов и физиологических параметров вида установлено, что до момента обнаружения трупа гражданки А. 16 мая продолжительность развития личинок синей падальницы на нем составляла семь дней. Таким образом, начало заселения трупа мухой происходило со второй половины 9 мая. С этого момента личинки постоянно находились на трупе. В расчетах также была использована представленная метеослужбой средняя температура воздуха окружающей среды по ближнему участку.
На основании изучения имеющихся материалов, с учетом обстоятельств дела и в соответствии с поставленными вопросами экспертная комиссия сделала следующие выводы:
A. Трупные пятна находятся в фазе имбибиции. Таким образом, ДНС свыше 24–48 ч (Н.П. Туровец, 1956; Ю. Л. Мельников, В. В. Жаров, 1978).
B. Трупное окоченение было в стадии полного разрешения — давность наступления смерти в пределах 3–7 суток (М.И. Райский, 1953).
C. Термометрия трупа при температуре окружающего воздуха +16 °C, ректальная температура трупа +14 °С — давность наступления смерти свыше 19 ч (А.А. Солохин, Ю. А. Солохин, 1997).
D. На трупе гражданки А. обнаружены некрофильные насекомые — синяя падальница (Calliphora vicina).
E. Давность заселения трупа гражданки А. некрофильными насекомыми составляет семь дней до начала лабораторных работ, т. е. со второй половины 9 мая.
F. С учетом интервала заселения трупа некрофильными насекомыми смерть гражданки А. могла наступить 9 мая, что не противоречит данным развития трупных явлений, зафиксированных при осмотре тела на месте происшествия.
Экспертный случай 2. Труп гражданина Б. обнаружен в комнате общежития с явными признаками насильственной смерти. На трупе установлены множественные колото-резаные раны в области грудной клетки и живота. В ходе осмотра места происшествия 26 мая с трупа собраны личинки некрофильных насекомых.
Энтомологу-эксперту в течение нескольких часов после осмотра предоставлен контейнер с собранным материалом, опечатанный листом бумаги с оттиском круглой печати СО по г. Петрозаводску с подписью следователя. В контейнере находились личинки двукрылых размером 3–5 мм в количестве около 20 особей. Для дальнейших расчетов личинки сразу были помещены в термостат.
В лаборатории выведено 10 особей синей падальницы (Calliphora vicina). Дата заселения трупа мухами определяется на основе применения формулы расчета суммы эффективных температур для выведенного вида и средней температуры окружающей среды (места нахождения трупа). Из протокола осмотра места происшествия известно, что температура воздуха на уровне трупа составляла +20 °C. В результате математических расчетов установлено, что время развития личиночных стадий мух на трупе составило 3,5 дня до начала лабораторных работ, т. е. в ночь на 22 мая. Однако активность этих мух происходит в светлое время суток, поэтому начало заселения трупа мухой происходило, наиболее вероятно, во второй половине дня 22 мая и в первой половине дня 23 мая. Необходимо учитывать тот факт, что труп находился в помещении, и неизвестно, был ли прямой доступ насекомых к мертвому телу. Кроме того, в весенний период численность некрофильных насекомых низкая, а время обнаружения приманки длительнее, чем в летний и осенний периоды. С учетом этих факторов можно сделать предположение, что на обнаружение трупа в помещении мухам необходимо время, в данном случае 1–2 суток. Таким образом, наиболее вероятно, что смерть гражданина Б. наступила 21 мая.
На основании изучения представленных материалов, с учетом обстоятельств дела и в соответствии с поставленными вопросами экспертная комиссия сделала следующие выводы:
A. Трупные пятна находятся в фазе имбибиции — ДНС свыше 24–48 ч (Н.П. Туровец, 1956; Ю. Л. Мельников, В. В. Жаров, 1978).
B. Трупное окоченение в стадии полного развития — ДНС в пределах 24–48 ч (М.И. Райский, 1953).
C. Термометрия трупа при температуре окружающего воздуха +20 °C, ректальная температура трупа +20 °C — ДНС свыше 19 ч (А.А. Солохин, Ю. А. Солохин, 1997).
D. На трупе гражданина Б. обнаружены некрофильные насекомые — синяя падальница (Calliphora vicina).
E. Давность заселения трупа гражданина Б. некрофильными насекомыми — 3,5 дня до начала лабораторных работ, т. е. начало заселения трупа мухой происходило, наиболее вероятно, во второй половине дня 22 мая и в первой половине дня 23 мая.
F. С учетом интервала заселения трупа некрофильными насекомыми смерть гражданина Б. могла наступить 21 мая, что также не противоречит стадии развития трупных явлений, зафиксированных при осмотре трупа на месте происшествия.
В обоих случаях полученные в ходе расследования преступлений сведения полностью подтвердили выводы экспертной комиссии в отношении рассчитанных дат наступления смерти.
Резюме: Установлено, что комплексная судебно-медицинская и энтомологическая экспертиза имеет высокую доказательную значимость при расследовании убийств в условиях неочевидности, когда труп находится в разной степени выраженности гнилостных изменений и традиционные методы судебной медицины по определению ДНС становятся неэффективными.
Метод пригоден как при обнаружении трупов в естественных биоценозах, так и в помещениях. Для определения давности наступления смерти в случаях, когда труп находится в разной степени выраженности гнилостных изменений, необходимо проводить забор энтомологических образцов в ходе осмотров мест происшествий с последующим определением начала развития насекомых на трупе при использовании формулы суммы эффективных температур.
Таким образом, метод организации и проведения судебно-медицинских экспертиз с некрофильным энтомологическим материалом с оценкой полученных результатов позволяет рекомендовать использование комплексной судебно-медицинской и энтомологической экспертизы в случаях, когда труп находится в разной степени выраженности гнилостных изменений и традиционные методы судебной медицины по определению давности наступления смерти становятся неэффективными.
ЗАКЛЮЧЕНИЕ
Несмотря на постоянную научную работу над выделением критериев установления ДНС в позднем посмертном периоде, указания на возможность использования предлагаемых методов исследования в практической судебно-медицинской деятельности, большинство судебных медиков определяют ее достаточно субъективно — на основе результатов макроскопического метода [63, 72, 75].
Это требует разработки новых и использования имеющихся научно-практических средств для решения вопроса установления ДНС при экспертизах трупов, подверженных процессам гнилостной трансформации.
Обзор литературы показал, что не определены анатомо-топографические параметры колонизации трупов некрофильными насекомыми, пригодность судебно-энтомологических критериев определения продолжительности и условий постмортального периода, а это непосредственно влияет на проведение судебно-медицинских экспертиз с некрофильным энтомологическим материалом и оценку полученных результатов [88].
По архивным данным отдела судебно-медицинской экспертизы трупов ГБУЗ «Бюро СМЭ» РК, где исследуются трупы лиц, умерших в г. Петрозаводске, Прионежском и Пряжинском районах Республики Карелии, за период 2010–2014 гг. было установлено 529 трупов лиц, смерть которых наступила в условиях неочевидности, что составило около 9% от общего количества исследованных трупов. В состоянии разной степени выраженности гнилостных изменений находилось 94 трупа, из них с присутствием двукрылых определено 33 трупа.
Это свидетельствует о достаточном количестве случаев смерти лиц, обнаруженных в состоянии разной степени выраженности гнилостных изменений и с наличием двукрылых, что подтверждает необходимость разработки методики проведения судебно-энтомологических экспертиз.
Исследования проводились в южной части Республики Карелии (р-н Лососинное, 61°39´ с. ш. и 34°01´ в. д.): г. Петрозаводск и Прионежский район.
Прионежский район расположен на юго-западном побережье Онежского озера, занимает площадь 3665 кв. км. Ландшафт носит отпечаток деятельности последнего ледникового периода. Здесь много ледниковых отложений из песка, глины и камней, которые образуют высокие холмы и гряды (сельги). Вдоль побережья Онежского озера протянулась Шокшинская гряда с максимальными высотами до 240 м. Ледниковое происхождение имеют как многочисленные маленькие лесные озера — ламбушки, так и более крупные, например Кончезеро, Укшезеро и др.
Петрозаводск и его окрестности расположены на западном побережье Петрозаводской губы Онежского озера. Рельеф, сформировавшийся в результате воздействия ледников и ледниковых вод, среднехолмистый, с высотой над уровнем моря (абсолютная отметка) от 100 до 180 м.
Среднегодовая температура воздуха +2,2…+2,5 °С. Минимальная температура приходится на январь — февраль, максимальная — на июль. Территория Петрозаводска относится к зоне избыточного увлажнения, где за год выпадает 614 мм осадков: 46% годового количества составляют жидкие осадки, 33% — в твердом виде, 21% — в смешанном (снег с дождем или мокрый снег). Снежный покров образуется с середины октября и лежит до середины апреля с максимальной высотой в марте — 27 см (Климат Петрозаводска, 1982) [73].
Таким образом, основным отличием экосистем Прионежского района и г. Петрозаводска является выпадение последнего из зоны тайги в результате деятельности человека. Это дает основание заключить, что различающиеся экосистемы определяют и разный состав некробионтов.
Объектом исследования являлся энтомологический материал — некрофильные насекомые, собранные с трупов крупных животных, потрошеных тушек домашних кур и человека:
– трупы крупных животных массой более 30 кг (пять трупов свиней);
– потрошеные тушки домашних кур (Gallus gallus, Linnaeus) массой 1,5–2,0 кг (шесть тушек);
– с 17 трупов людей в стадии поздних постмортальных изменений в южной части Республики Карелии.
Для достижения цели исследования и решения поставленных задач использовался экспериментальный метод в двух видах экосистем (естественный биоценоз и закрытое помещение) с изучением видового состава некрофильных насекомых, сроков заселения трупа, особенностей сукцессии и многофакторный анализ данных.
Исследование выполнялось в соответствии с международными этическими нормами, приведенными в Хельсинкской декларации Всемирной медицинской ассоциации: рекомендации для врачей по проведению биомедицинских исследований на людях, и требованиями, изложенными в основных нормативных документах (заключение от 6 ноября 2015 г. № 35 Комитета по медицинской этике при Министерстве здравоохранения и социального развития РК и Петрозаводском государственном университете).
Исследование осуществлялось в несколько этапов, включавших анализ физико-географических особенностей местности, эксперимент, сбор и анализ данных.
Экспериментальная часть работы выполнялась на территории охотхозяйства Карельской региональной общественной организации охотников и рыболовов (КРОО ОиР). Согласно трехстороннему соглашению о сотрудничестве от 20 июня 2015 года между ФГБОУ ВО «Петрозаводский государственный университет», ГБУЗ «Бюро СМЭ» РК и КРОО ОиР, были разложены трупные приманки.
Для изучения комплекса некрофильных насекомых использовалось разработанное устройство (Патент на полезную модель № 168060).
Устройство состоит из следующих частей:
1. Клетка железная с крышкой и ушками для замка. Размеры клетки 120×80×60 см, размер ячеи сверху и сбоку 10 см, снизу 20 см. После установки на месте исследования клетка фиксируется металлическими прутьями, вбитыми в землю на глубину до 1 м. Внутрь помещается крупная приманка, клетка закрывается крышкой и замком.
2. Пирамидальная ловушка из тонкого светлого капрона. Ее размеры (длина и ширина) превышают в 1,5–2 раза размер клетки. Ловушка устанавливается над клеткой на высоту 1,0–1,5 м с помощью шеста, зафиксированного в земле (высота установки определяется возможностью беспрепятственного изъятия материала). В верхней части ловушки находится круглое отверстие, через которое насекомые попадают в ловчий стакан (можно использовать полупрозрачную полиэтиленовую бутылку). К последнему крепится при помощи полиэтиленовой крышки другая полупрозрачная бутылка с фиксатором. В качестве фиксатора обычно применяют этиловый спирт 96%-й концентрации или уксусную эссенцию. Емкость заполняют на 1/3. Концы капрона натягиваются и фиксируются колышками. Нижний край капрона располагается на высоте 30–35 см от поверхности земли. Используют почвенную ловушку для отлова летающих некрофильных насекомых.
3. Почвенная ловушка. Пол-литровую банку вкапывают в землю по горлышко. Ловушки располагают по краю ложа трупа. После установки их заполняют на 1/3 жидкостью (уксусной эссенцией, мыльным раствором или этиленгликолем). Почвенную ловушку можно заполнить опилками или песком, тогда отползающие с трупа личинки двукрылых для окукливания попадают внутрь. Такие ловушки устанавливаются в количестве не менее четырех штук. Используют почвенную ловушку для отлова почвенных некрофильных насекомых.
Данное устройство позволило вести исследование до полного разложения (исключая костную ткань, шерсть, копыта), на которое затрачивается несколько лет. Сбор материала осуществлялся через три-четыре дня в период активной фазы разложения и раз в неделю — в стадию скелетирования трупа. Насекомых (имаго и неполовозрелые стадии развития) собирали непосредственно с трупа и почвы, пропитанной продуктами трупного распада. Личинок двукрылых доращивали до взрослых особей в лабораторных условиях. Материал с почвенной ловушки собирали, не вынимая банку, с пирамидальной — меняли бутылку с фиксирующей жидкостью на новую и разбирали собранный материал в лабораторных условиях. Использование разного типа ловушек позволило производить раздельный сбор напочвенных и почвенных некробионтов. Взрослые насекомые (жуки, мухи и др.) изучены в количестве 14 331 особь.
Данные обрабатывали с применением методов описательной статистики, вычисления возможных распределений полученных значений и их анализом.
В результате проведенных исследований установлена структура видов энтомофауны, колонизирующих трупы различных млекопитающих; выявлена структура и динамика развития видов энтомофауны трупа в отдельных биотопах Республики Карелии.
Так, группа облигатных некробионтов по видовому составу немногочисленна. В нее входят, например, жуки кератофаги (Nitidulidae, Cleridae), мертвоеды (Silphidae), муха мертвых (Cynomya mortuorum). Личинки этих насекомых развиваются исключительно на мертвом органическом субстрате, а взрослые особи могут питаться и другими веществами.
Муха мертвых относится к видам, имеющим важное судебно-медицинское значение. В Карелии, как и на других территориях севера Европейской России, она отнесена к полупоселковым видам, а ее встречаемость и плотность невысоки. По типу имагинального питания муху мертвых можно отнести к факультативным некрофагам, так как отмечен переход к полифагии. Личинки C. mortuorum, напротив, являются облигатными некробионтами, их питание имеет более строгую специфичность.
Для двукрылых личиночное питание приобретает большое значение и влияет на скорость развития, а в дальнейшем — на потенциальную плодовитость этих насекомых. Установлено, что они не развиваются на говяжьей печени, предпочитают птицу, мелких млекопитающих и рыбу.
В деструкции трупов важную роль играют личинки мухи мертвых. Небольшие трупы рыб, полевок они утилизировали в срок до 10 дней, оставляя только фрагменты скелета и шерсти. На крупных трупах также выявлено их присутствие, но плотность уже не так высока, как, например, мухи новоземельской (Protophormia terraenovae), а периодическое перемещение в почву затрудняло их отлов. Возможно, это являлось причиной отсутствия C. mortuorum на крупных трупах во многих исследованиях: изучая фауну тел крупных животных, личинок не находили и отлавливали лишь имаго на поздних стадиях разложения.
Факультативные некробионты — самая многочисленная по составу группа. Такие виды, как Calliphora spp., Lucilia spp., P. terraenovae, Geotrupes spp., развиваются и на трупах, и в кухонных отбросах, экскрементах и других эфемерных субстратах. В утилизации вещества они играют основную роль. К этой группе также относятся паразитоиды, сапрофаги и зоофаги, которые обладают широкой экологической пластичностью и могут встречаться в других разлагающихся субстратах (грибах, гниющих растительных остатках, экскрементах человека и животных). Установлено, что в процессе деструкции трупа происходит последовательная смена разных по питанию групп насекомых. Изначально встречаются некрофаги, далее — зоофаги и паразитоиды, сукцессию завершают сапро- и кератофаги.
К случайной фауне принадлежит небольшое число видов, например жужелицы, личинки щелкунов. Из-за своей малочисленности они не влияют на сроки разложения. Вероятно, что личинки щелкунов, утилизируя погребенные останки, могут относиться к фауне захороненных трупов, видовой состав и скорость гниения которых имеют свои особенности. Также в сборах обнаруживали кожеедов рода Anthrenus, которые не относятся к трупной фауне.
В исследовании выявлены различия аттрактивности анатомических областей для некробионтов, в видовом составе, сроках и последовательности заселения ими приманок. Существенных различий в скорости утилизации трупов не установлено.
У большинства посетителей трупов наблюдается меж- и внутривидовая конкуренция за субстрат, им необходимо как можно быстрее найти труп и его монополизировать. В лесу отмечено большее число видов, но разложение происходит медленнее, чем на лугах. Во всех биоценозах в него вовлечено значительное число некробионтов, которые осуществляют полную деструкцию гниющих тканей. При распаде трупа происходит изменение как его тканей, соответственно, и внешнего вида, так и напрямую связанного с этим процессом количественного и видового состава некрофильных насекомых.
В ходе изучения было отмечено последовательное заселение насекомыми в процессе разложения трупа свиньи. Более значимой для судебной медицины является группа насекомых, которая находит и заселяет трупы первыми: в условиях южной части Карелии это представители семейства синих мясных мух Cynomya mortuorum, Calliphora vicina, C. vomitoria, Protophormia terraenovae и Lucilia caesar.
Указанные особенности позволяют применить энтомологический метод в судебно-медицинской практике для определения ДНС.
На трупах людей, находившихся в разных условиях окружающей среды, выявлены девять видов некрофильных двукрылых, относящихся к четырем семействам. Наибольшее судебно-медицинское значение имеют синяя падальница (Calliphora vicina), зеленая падальница обыкновенная (Lucilia caesar) и мясная муха новоземельская (Protophormia terraenovae).
Выявлены особенности анатомо-топографической колонизации трупов человека и животных некрофильными насекомыми. Двукрылые откладывают яйца в скрытые места: складки кожи, естественные отверстия (глаза, нос, уши, вход во влагалище, анус), области краев ран, пространство между кожей и одеждой. Личинки жесткокрылых и взрослые жуки скапливаются в местах, доступных для заселения, но покрытых одеждой, а также в ложе трупа. Эти данные позволяют обеспечить целенаправленный и полноценный поиск насекомых.
Установлены особенности повреждений тканей некрофильными насекомыми:
1. Повреждения кожи от воздействия личинок мух: перфорации с образованием дефектов тканей различной формы и размеров, края дефектов истончены, закруглены, в некоторых случаях — неровные и волнистые. Кровоизлияний в мягкие ткани в области их краев не установлено. Глубина дефектов на голове и конечностях определялась подлежащими костными образованиями, на туловище они проникали в грудную и брюшную полости. Образование дефектов кожи объясняется воздействием пищеварительных ферментов, растворяющих ткани. Такие дефекты по своим признакам (а именно отсутствию четкой морфологии) могут быть очень схожи с колото-резаными ранами, изменившимися в результате жизнедеятельности в них личинок мух. Судебно-медицинским экспертам следует обращать на них особое внимание с целью проведения дифференциальной диагностики (дополнительных медико-криминалистического и гистологического исследований).
2. Повреждения кожи от воздействия челюстей жуков: множественные мелкие дефекты округлой и овальной формы размерами от 0,1×0,2 до 0,6×0,7 см. Края дефектов относительно ровные, гладкие, глубина их от 0,1 до 0,5 см, все дефекты в пределах подкожной жировой клетчатки.
3. Повреждения кожи от воздействия челюстей муравьев: множественные, мелкоочагового или сливного характера дефекты эпидермиса с неровными, извилистыми краями, желтовато-коричневой окраски, располагающиеся на открытых участках тела бессистемно или по границам прилежащих предметов (одежда, поверхность земли и т. п.). Вследствие взаимодействия муравьиной кислоты, которую выделяют муравьи, с гемоглобином на поврежденных участках появляется выраженная бурая окраска.
4. Повреждения кожи от воздействия тараканов: изолированных (до 4,5×5,5 см) и сливающихся друг с другом (до 20,0×30,0 см) дефектов поверхностного слоя кожи с неровными, мелко-, а при слиянии очагов — крупнофестончатыми краями и контурами, напоминающими географическую карту. Поверхность повреждений была желтовато-красного или желтовато-коричневого цвета, пергаментная плотность; просвечивание подкожных сосудов. При воздействии единичных особей тараканов — образование повреждений в виде «дорожек» длиной до 10 см, шириной 0,6–0,8 см, желтовато-коричневого цвета, с неровными мелкофестончатыми краями.
Установлена структура некрофильного энтомокомплекса в биотопах южной части Карелии и определены особенности видового состава некрофильных насекомых на трупах человека и животных в естественных условиях и помещениях: в естественных условиях — некрофаги, энтомофаги, паразитоиды, кератофаги; в условиях помещения — пантофаги [таракан домашний (прусак), некрофильные двукрылые], отмеченные на трупах, проникали с улицы, так как во всех случаях, как правило, были открыты форточки или окна. Тем не менее некоторые некрофильные двукрылые, такие как муха комнатная малая (Fannia canicularis), синяя падальница (Calliphora vicina), являются синантропными видами и могут развиваться в бытовых отходах, что не мешает им проникать в помещения через вентиляционные отверстия и т. п.
Все выявленные виды мух как неотъемлемая часть структуры комплекса некрофильных насекомых входят в группу видов, имеющих важное судебно-медицинское значение, что подтверждает объективность судебно-энтомологических критериев определения продолжительности и условий постмортального периода.
На основе экспериментальных данных разработан и внедрен метод проведения комплексных судебно-медицинских и энтомологических экспертиз при обнаружении трупов в состоянии поздних посмертных изменений, вплоть до скелетирования.
Случаи отличались тем, что трупы были обнаружены в разных условиях (на улице и в помещении), в разное время года (ранней и поздней весной, летом, осенью), находились в разных стадиях выраженности поздних посмертных изменений.
В исследовании использовались классические судебно-медицинские и энтомологический методы. Первые основаны на анализе трупных явлений, возможных к изучению в данном конкретном случае:
A. Трупные пятна находятся в фазе имбибиции — давность наступления смерти свыше 24–48 часов (Н.П. Туровец, 1956; Ю. Л. Мельников, В. В. Жаров, 1978).
B. Трупное окоченение в стадии полного разрешения — давность наступления смерти в пределах 3–7 суток (М.И. Райский, 1953).
C. Термометрия трупа при температуре окружающего воздуха +16 °С, ректальная температура трупа +14 °С — давность наступления смерти свыше 19 часов (А.А. Солохин, Ю. А. Солохин, 1997).
D. Трупные пятна не определяются на фоне измененного цвета кожных покровов. Трупное окоченение в стадии полного разрешения — давность наступления смерти свыше 3–7 суток (М. И. Райский, 1953).
E. Термометрия трупа не проводилась. Труп находится в состоянии поздних трупных явлений — явные признаки гниения: наличие трупной зелени, гнилостной венозной сети, отслойки волос, трупной эмфиземы. Время развития трупного разложения в пределах 8–20 суток (Н.В. Попов, 1938).
Таким образом, на момент осмотра мертвого тела на месте происшествия были зафиксированы выраженные поздние трупные явления, которые исключают возможность установления ДНС по стадии развития трупных пятен и посмертной ректальной термометрии.
Анализ литературных источников, базирующихся на классических учебниках и руководствах, свидетельствует о невозможности формирования полноценных экспертных выводов без учета результатов изучения трупных явлений.
Примененный нами на практике метод энтомологического анализа сводится к установлению ДНС, основанному на ретроспективном определении начала развития насекомых на теле умершего при использовании формулы суммы эффективных температур насекомых, развивающихся на трупе. При этом надо иметь в виду, что использование данного подхода зависит от ряда внешних факторов: сезона года, климата, ложа трупа (на открытом месте или в помещении) и пр.
Для определения видовой принадлежности мух использовался способ их доращивания до имаго в условиях содержания и подкормки при постоянной температуре. Собранные с трупов личинки двукрылых (мух) помещали в термостат и содержали на говяжьей печени до выплода имаго (взрослых особей) при постоянной температуре (+20 °C) и освещении (12:12). По физиологическим параметрам (эффективная температура, нижний порог развития и температура внешних условий) выведенных видов вычисляли количество дней, которые они развивались вне лаборатории, т. е. на трупе. Физиологические параметры для основных некрофильных насекомых рассчитывали по табличным значениям, приведенным в пособиях по судебной медицине. Вышеуказанные показатели имеют как видовые, так и температурные особенности, поэтому необходимо было содержать собранный материал в лабораторных условиях при заданной постоянной температуре и освещении.
Далее фиксировали вылет мух. Он мог быть достаточно продолжительным в связи с предоставлением материала (личинок) разных стадий развития (личиночных возрастов) из-за длительного нахождения трупа в среде, где есть доступ и возможность активного заселения его насекомыми. Расчет давности заселения трупа конкретными видами мух производился по отношению к особям, вылетевшим первыми. Дата заселения трупа мухами определялась на основе метода ретроспективного определения начала развития насекомых на трупе, основанного на применении эффективных температур.
Для вычисления продолжительности развития мух использовали следующие параметры: нижний порог развития, тепловую постоянную вида и сумму эффективных температур. Нижний порог развития — это крайнее значение температуры внешней среды (°C), ниже которого невозможно поступательное развитие вида насекомых. Тепловая постоянная представляет собой сумму эффективных температур (°C), необходимую для развития насекомого от яйца до взрослой особи, которая вычисляется индивидуально для каждого вида.
Для расчета применяли формулу вычисления суммы эффективных температур:
С = (t – t1) × n (2)
где С — сумма эффективных температур (°C);
t –наблюдаемая температура (°C);
t1 — нижний порог развития вида (°C);
n — дни наблюдения.
Для основных видов некрофильных двукрылых имеются вычисленные значения тепловой постоянной вида и нижнего порога развития. Сначала по вышеуказанной формуле определяли значение суммы температур, израсходованной видом на развитие в лабораторных условиях (Слаб) при постоянной температуре +20 °C, и установленное количество дней с момента помещения личинок в термостат до вылета первых взрослых особей.
Далее по разности тепловой постоянной конкретного вида и Слаб получили Свнеш, т. е. показатель, указывающий на количество тепла, затраченного личинкой на развитие во внешней среде (на трупе до забора материала). Для данных расчетов необходимо было знать среднюю температуру окружающей среды (места нахождения трупа), информацию о которой получали в случаях обнаружения трупов в помещении из протоколов их осмотра, при обнаружении трупов вне их — из справок Карельского ЦГМС о температуре воздуха и количестве атмосферных осадков в районе их обнаружения за определенные промежутки времени.
При расчете времени заселения трупа некрофильными двукрылыми учитывались не только данные о сукцессии основных видов некрофильных насекомых в летний период, но и их эколого-биологические особенности. Например, известно, что активность и заселение трупов мухами видов C. vicina и C. erythrocephala происходит только в теплое, сухое время. Соответственно, если в интервал заселения трупа, полученный энтомологическим методом, шел дождь, то, скорее всего, мухи колонизировали труп со времени улучшения погодных условий. Принимаются в расчет и сведения о морфологии изученного энтомологического материала. Так, если были представлены яйца и личинки двукрылых преимущественно небольших размеров, то можно сделать предположение, что их возраст не превышал трех дней (яйца развиваются в течение 1–2 дней, начальная стадия развития личинок — около дня).
Место обнаружения также играет важную роль в анализе времени заселения трупа. Факт, что труп находился в помещении, свидетельствует о том, что создавалось некое препятствие быстрому обнаружению его насекомыми. Однако если на теле были установлены повреждения, которые сопровождались наружным кровотечением, а кровь является сильным аттрактантом для двукрылых, то заселение мухами происходило сразу с момента доступа их к трупу.
Проведен анализ энтомологических данных, когда выведены виды мух, встречающиеся на уже гниющих тканях. При осмотре места происшествия на останках и предполагаемом ложе трупа не отмечены насекомые, развивающиеся на ранних стадиях разложения. По этим признакам можно предположить, что труп находился во внешней среде с доступом заселения насекомыми в течение нескольких месяцев.
Если личинки насекомых обнаружены на костных останках ранней весной, то с учетом сведений о температуре воздуха и количестве атмосферных осадков в данном районе республики можно предположить, что невысокая температура и обильные осадки ограничивали активность насекомых и колонизация трупа некробионтами в основном происходила до середины сентября. Осенью их личинки не смогли закончить полного цикла развития и перешли в стадию диапаузы (покоя), что является приспособлением для перенесения суровых зимних условий. В то же время установлено, что представители поздней трупной фауны при низких температурах могут сохранять жизнеспособность и при изменении условий продолжить свое развитие. Весной, во время осмотра места происшествия, отмеченные виды двукрылых относились к личинкам раннего возраста, что предполагает их недлительный период нахождения на трупе (до наступления неблагоприятных условий). Собранные преимагинальные стадии некрофильных мух в лабораторных условиях завершили свой метаморфоз в течение двух-трех недель.
Таким образом, применение энтомологического метода для определения продолжительности нахождения трупа на месте его обнаружения с помощью некрофильных насекомых позволяет предположить, что тело находилось во внешней среде с середины августа прошлого года.
Типовые выводы по результатам комплексной судебно-медицинской и энтомологической экспертизы представляется целесообразным формулировать следующим образом:
1. На трупе гр-на … обнаружены некрофильные насекомые: вид …, семейство …, отряд двукрылых (Diptera).
2. Давность заселения трупа гр-на … некрофильными насекомыми составила около … дней до начала лабораторных работ.
Подпись (биолог): …
3.С учетом интервала заселения трупа некрофильными насекомыми, считаем, что смерть гр-на … могла наступить …, что также не противоречит стадии развития «классических» трупных явлений, зафиксированных при осмотре трупа на месте происшествия.
Подпись (судебно-медицинский эксперт (эксперты)): ...
Или:
1. Некрофильные личинки, собранные в обоих случаях со скелетированных останков при осмотре места происшествия и в ходе дополнительного осмотра места происшествия, принадлежат к двум видам: …, отряд двукрылых (Diptera).
2. С учетом погодных условий основное заселение некрофильными насекомыми трупа происходило до … Из-за низких температур окружающей среды их личинки не закончили полного цикла развития, поэтому были обнаружены на костных останках и в грунте предполагаемого ложа на следующий год при осмотре места происшествия. Таким образом, применяя энтомологический анализ для определения продолжительности нахождения трупа с помощью некрофильных насекомых по времени их заселения, установлено, что труп находился в среде для доступа насекомых с середины августа до 16 сентября 20.. года.
Подпись (биолог): …
3. 3. Установленные энтомологическим методом сроки заселения трупа некрофильными насекомыми не противоречат данным о степени выраженности трупных явлений, полученных классическими методиками судебной медицины. Следовательно, смерть человека могла наступить в период времени с 15 августа по 16 сентября 20.. года.
Подпись (судебно-медицинский эксперт (эксперты)): …
Во всех случаях проведения таких экспертиз полученные в ходе расследования преступлений сведения полностью подтвердили выводы экспертной комиссии в отношении рассчитанных дат наступления смерти.
Установлено, что комплексная судебно-медицинская и энтомологическая экспертиза имеет высокую доказательную значимость при расследовании убийств в условиях неочевидности, когда труп находится в разной степени выраженности гнилостных изменений и традиционные методы судебной медицины по определению ДНС становятся неэффективными.
Метод пригоден как при обнаружении трупов в естественных биоценозах, так и в помещениях. Для определения ДНС в случаях, когда труп находится в разной степени выраженности гнилостных изменений, необходимо проводить забор энтомологических образцов в ходе осмотров мест происшествий с последующим определением начала развития насекомых на трупе при использовании формулы суммы эффективных температур.
По результатам проведенного анализа была разработана укладка для забора энтомологических образцов. Она имеет целевое назначение — оснащение дежурного судебно-медицинского эксперта — и является расходным материалом (прил. 1).
Применение этой укладки в практике дежурного врача — судебно-медицинского эксперта позволит стандартизировать работу судебно-медицинского эксперта на месте происшествия, повысить эффективность сбора энтомологического материала для последующего судебно-энтомологического анализа, что повышает точность установления продолжительности постмортального интервала в позднем посмертном периоде.
Таким образом, использование предложенного метода организации и проведения судебно-медицинских экспертиз с некрофильным энтомологическим материалом с оценкой полученных результатов позволяет определить ДНС в случаях, когда труп находится в разной степени выраженности гнилостных изменений и традиционные методы судебной медицины по определению ДНС становятся неэффективными.
